2
07
11110000MB1503996K
北京市规划和自然资源委员会
抵押权注销登记
11110000MB1503996K200071500101404
11110000MB1503996K2000715001014
0
0f52be07-84af-4ab5-9bc6-9dcd1d755c93
4f464787-787d-4264-836a-d914ab23ea2e
2^3
07
市规划自然资源委
110000000000
北京市规划和自然资源委员会
法定工作日: 上午08:30 - 12:00、下午12:00 - 17:30; 周六:上午:08:30 - 12:30(需预约);法定节假日不对外服务。;法定工作日: 上午: 09:00 - 12:00; 下午: 12:00 - 17:00; (延时服务时间: 工作日上午08:30 - 09:00; 下午17:00 - 17:30; 周六上午09:00 - 13:00; )...
北京市政务服务中心:北京市丰台区西三环南路1号(六里桥西南角)综合窗口 北京城市副中心政务服务中心:北京市通州区新华东街48号二区(东南角)综合窗口
已经登记的抵押权,发生下列情形之一的,当事人可以申请抵押权注销登记: 1.主债权灭失的; 2.抵押权已经实现的; 3.抵押权人放弃抵押权的; 4.因人民法院、仲裁委员会的生效法律文书导致抵押权灭失的; 5.法律、行政法规规定抵押权灭失的其他情形。 6.申请登记事项在本登记部门的登记职责范围内; 7.申请材料形式符合要求; 8.申请人与依法应当提交的申请材料记载的主体一致; 9.申请登记的不动产权利与登记原因文件记载的不动产权利一致; 10.申请内容与询问记录不冲突。
{"IS_GUIDE":"1","ONLINE_DECLARE_SYSTEM_MODE":"99","ITEM_REALITY_USELEVEL":"","SERVICE_OBJCT":"","IS_CONSTRUCTION":"0","CL_SERVICE_TYPE":"","APP_CODE_ID":"","YESNO_CITY_UNICOM":"0^1","CROSS_AREA":"","ISSHOHCENTER":"0","WECHAT_CODE_ID":"","FINANCIAL":"","LITTLEPROGRAM_CODE_NAME":"","CROSS_AREA_ALL":"","CROSS_PROVINCE":"","ALIAS_NAME":"[\"抵押权登记\"]","EAR_DISABILITY_GRAD":"","LIB_DISABILITY_GRAD":"","SPEAK_DISABILITY_GRAD":"","REGISTER":"","ONLINE_HANDLING_DEPTH_STANDARD":"05","APPROVAL_TYPE":"1","MIND_DISABILITY_GRAD":"","ACCEPTSERVICE":"99","YWBLX_ID":"35127c77-ee58-4834-a7ed-651515d85237","ONLINE_DECLARE_SYSTEM_DEPT":"","CONSTRUCTION_EXPANSION":"0","EMPOWER":"0","EXEMPT_MATERIALS":"","LITTLEPROGRAM_CODE_ID":"","EYE_DISABILITY_GRAD":"","ISMONVEINCENTER":"1","DATA_FLAG":"","BUSINESS_APPROVAL_DEPT":"北京市规划和自然资源委员会","POWER_NAME":"不动产统一登记","ITEM_ATTRIBUTE":"01^04^05^11^13","CROSS_AREA_ATEXT":"","AGE":"","BGSYSTEM_APPROVAL_OTHER":"北京市不动产登记信息系统v2.0","WIT_DISABILITY_GRAD":"","WECHAT_CODE_NAME":"","POWER_CODE":"H1202810","DISABILITY_TYPE":"","IS_ENABLE_CERTIFICATE_SHARE":"","POWER_ATTRIBUTE":"1","ONLY_ID":"11d4645d-81ed-11ea-8de7-fa163e4f9ad9","YES_NO_OPEN":"1","BGSYSTEM_APPROVAL_NAME":"其他","APP_CODE_NAME":"","HOLDER":"","VERSION":"20241125"}
[{"ID":7855564,"TASKGUID":"0f52be07-84af-4ab5-9bc6-9dcd1d755c93","T_ID":"e52dfdcc-11a4-4fd2-9662-6153716c2e8d","P_ID":"","NAME":"申请人身份","NODE_LEVEL":1,"NODE_PATH":"/e52dfdcc-11a4-4fd2-9662-6153716c2e8d","CHILD_COUNT":12,"ORDER_NUM":1,"SERIAL_NUMBER":"1","CONDITION_ATTR":"01","IS_RADIO":"1","IS_SUPPORT":"","SUMMARY":"1 申请人身份\n\t1.1 境内自然人\n\t\t1.1.1 是否成年\n\t\t\t1.1.1.1 是\n\t\t\t1.1.1.2 否\n\t\t1.1.2 是否为个体工商户或农村承包经营户\n\t\t\t1.1.2.1 是\n\t\t\t1.1.2.2 否\n\t1.10 香港特别行政区、澳门特别行政区、台湾地区的法人或非法人组织\n\t1.11 境外法人或非法人组织\n\t1.12 外国驻华使(领)馆和外国驻华办事机构、国际组织驻华代表机构\n\t1.2 香港、澳门特别行政区自然人\n\t1.3 台湾地区自然人\n\t1.4 华侨\n\t1.5 外籍自然人\n\t1.6 境内营利法人\n\t1.7 境内非营利法人\n\t1.8 境内特别法人\n\t1.9 境内非法人组织","CD_TIME":"Dec 5, 2025 11:52:18 AM","CD_BATCH":"2025120500015","DISTRIBUTETAG":"all-data^non-investment^11110000MB1503996K^110000000000^non-construction^11110000MB1503996K^non-construction_expansion","DATAJSONTEXT":"{\"VERSION\":\"20220810\",\"TREE_TYPE\":\"\",\"CONSULTATION_QA\":\"\"}","parOrder":"","proOrder":"1","newOrderNum":"001","itemGuideConditionRelatedList":[]},{"ID":7855544,"TASKGUID":"0f52be07-84af-4ab5-9bc6-9dcd1d755c93","T_ID":"57618482-5619-48d2-a3d7-a34546e63d1a","P_ID":"e52dfdcc-11a4-4fd2-9662-6153716c2e8d","NAME":"境内自然人","NODE_LEVEL":2,"NODE_PATH":"/e52dfdcc-11a4-4fd2-9662-6153716c2e8d/57618482-5619-48d2-a3d7-a34546e63d1a","CHILD_COUNT":2,"ORDER_NUM":1,"SERIAL_NUMBER":"1.1","CONDITION_ATTR":"02","IS_RADIO":"","IS_SUPPORT":"","SUMMARY":"","CD_TIME":"Dec 5, 2025 11:52:18 AM","CD_BATCH":"2025120500015","DISTRIBUTETAG":"all-data^non-investment^11110000MB1503996K^110000000000^non-construction^11110000MB1503996K^non-construction_expansion","DATAJSONTEXT":"{\"VERSION\":\"20220810\",\"TREE_TYPE\":\"\",\"CONSULTATION_QA\":\"\"}","parOrder":"","proOrder":"","newOrderNum":"001.001","itemGuideConditionRelatedList":[]},{"ID":7855551,"TASKGUID":"0f52be07-84af-4ab5-9bc6-9dcd1d755c93","T_ID":"7c3171ac-acab-4f4d-9dd4-09fffd7e8384","P_ID":"57618482-5619-48d2-a3d7-a34546e63d1a","NAME":"是否成年","NODE_LEVEL":3,"NODE_PATH":"/e52dfdcc-11a4-4fd2-9662-6153716c2e8d/57618482-5619-48d2-a3d7-a34546e63d1a/7c3171ac-acab-4f4d-9dd4-09fffd7e8384","CHILD_COUNT":2,"ORDER_NUM":1,"SERIAL_NUMBER":"1.1.1","CONDITION_ATTR":"01","IS_RADIO":"1","IS_SUPPORT":"","SUMMARY":"","CD_TIME":"Dec 5, 2025 11:52:18 AM","CD_BATCH":"2025120500015","DISTRIBUTETAG":"all-data^non-investment^11110000MB1503996K^110000000000^non-construction^11110000MB1503996K^non-construction_expansion","DATAJSONTEXT":"{\"VERSION\":\"20220810\",\"TREE_TYPE\":\"\",\"CONSULTATION_QA\":\"\"}","parOrder":"1","proOrder":"1","newOrderNum":"001.001.001","itemGuideConditionRelatedList":[]},{"ID":7855543,"TASKGUID":"0f52be07-84af-4ab5-9bc6-9dcd1d755c93","T_ID":"540e3150-c81e-4efc-a091-8a54cdcec3f2","P_ID":"7c3171ac-acab-4f4d-9dd4-09fffd7e8384","NAME":"是","NODE_LEVEL":4,"NODE_PATH":"/e52dfdcc-11a4-4fd2-9662-6153716c2e8d/57618482-5619-48d2-a3d7-a34546e63d1a/7c3171ac-acab-4f4d-9dd4-09fffd7e8384/540e3150-c81e-4efc-a091-8a54cdcec3f2","CHILD_COUNT":0,"ORDER_NUM":1,"SERIAL_NUMBER":"1.1.1.1","CONDITION_ATTR":"02","IS_RADIO":"","IS_SUPPORT":"","SUMMARY":"","CD_TIME":"Dec 5, 2025 11:52:18 AM","CD_BATCH":"2025120500015","DISTRIBUTETAG":"all-data^non-investment^11110000MB1503996K^110000000000^non-construction^11110000MB1503996K^non-construction_expansion","DATAJSONTEXT":"{\"VERSION\":\"20220810\",\"TREE_TYPE\":\"\",\"CONSULTATION_QA\":\"\"}","parOrder":"","proOrder":"","newOrderNum":"001.001.001.001","itemGuideConditionRelatedList":[{"ID":26487457,"TASKGUID":"0f52be07-84af-4ab5-9bc6-9dcd1d755c93","T_ID":"540e3150-c81e-4efc-a091-8a54cdcec3f2","G_ID":"5d5c0a72-5dc8-4a13-83ad-64d82a9ba434","M_CODE":"320006","MATERIAL_ID":"fdf84bf4-9b14-4b88-b7b0-7092bed2b914","CD_TIME":"Dec 5, 2025 11:52:18 AM","CD_BATCH":"2025120500015","DISTRIBUTETAG":"all-data^non-investment^11110000MB1503996K^110000000000^non-construction^11110000MB1503996K^non-construction_expansion","DATAJSONTEXT":"{\"VERSION\":\"20210903\"}"}]},{"ID":7855558,"TASKGUID":"0f52be07-84af-4ab5-9bc6-9dcd1d755c93","T_ID":"ad8e9d3f-7c12-4ca0-b478-1f153221a4d5","P_ID":"7c3171ac-acab-4f4d-9dd4-09fffd7e8384","NAME":"否","NODE_LEVEL":4,"NODE_PATH":"/e52dfdcc-11a4-4fd2-9662-6153716c2e8d/57618482-5619-48d2-a3d7-a34546e63d1a/7c3171ac-acab-4f4d-9dd4-09fffd7e8384/ad8e9d3f-7c12-4ca0-b478-1f153221a4d5","CHILD_COUNT":0,"ORDER_NUM":2,"SERIAL_NUMBER":"1.1.1.2","CONDITION_ATTR":"02","IS_RADIO":"","IS_SUPPORT":"","SUMMARY":"","CD_TIME":"Dec 5, 2025 11:52:18 AM","CD_BATCH":"2025120500015","DISTRIBUTETAG":"all-data^non-investment^11110000MB1503996K^110000000000^non-construction^11110000MB1503996K^non-construction_expansion","DATAJSONTEXT":"{\"VERSION\":\"20220810\",\"TREE_TYPE\":\"\",\"CONSULTATION_QA\":\"\"}","parOrder":"","proOrder":"","newOrderNum":"001.001.001.002","itemGuideConditionRelatedList":[{"ID":26486775,"TASKGUID":"0f52be07-84af-4ab5-9bc6-9dcd1d755c93","T_ID":"ad8e9d3f-7c12-4ca0-b478-1f153221a4d5","G_ID":"c833701b-3458-4749-af9e-e41aa8da6fef","M_CODE":"340593","MATERIAL_ID":"d73e6929-bac7-469b-8149-c779f163f906","CD_TIME":"Dec 5, 2025 11:52:18 AM","CD_BATCH":"2025120500015","DISTRIBUTETAG":"all-data^non-investment^11110000MB1503996K^110000000000^non-construction^11110000MB1503996K^non-construction_expansion","DATAJSONTEXT":"{\"VERSION\":\"20210903\"}"},{"ID":26487326,"TASKGUID":"0f52be07-84af-4ab5-9bc6-9dcd1d755c93","T_ID":"ad8e9d3f-7c12-4ca0-b478-1f153221a4d5","G_ID":"be93c992-ebcf-4d66-ae98-943e3a4e7e1b","M_CODE":"320006","MATERIAL_ID":"34f82d9b-d372-43ed-bf86-f2c9b3a61a6a","CD_TIME":"Dec 5, 2025 11:52:18 AM","CD_BATCH":"2025120500015","DISTRIBUTETAG":"all-data^non-investment^11110000MB1503996K^110000000000^non-construction^11110000MB1503996K^non-construction_expansion","DATAJSONTEXT":"{\"VERSION\":\"20210903\"}"}]},{"ID":7855553,"TASKGUID":"0f52be07-84af-4ab5-9bc6-9dcd1d755c93","T_ID":"866b8421-ef61-4765-ae0d-fda2641e9cfd","P_ID":"57618482-5619-48d2-a3d7-a34546e63d1a","NAME":"是否为个体工商户或农村承包经营户","NODE_LEVEL":3,"NODE_PATH":"/e52dfdcc-11a4-4fd2-9662-6153716c2e8d/57618482-5619-48d2-a3d7-a34546e63d1a/866b8421-ef61-4765-ae0d-fda2641e9cfd","CHILD_COUNT":2,"ORDER_NUM":2,"SERIAL_NUMBER":"1.1.2","CONDITION_ATTR":"01","IS_RADIO":"1","IS_SUPPORT":"","SUMMARY":"","CD_TIME":"Dec 5, 2025 11:52:18 AM","CD_BATCH":"2025120500015","DISTRIBUTETAG":"all-data^non-investment^11110000MB1503996K^110000000000^non-construction^11110000MB1503996K^non-construction_expansion","DATAJSONTEXT":"{\"VERSION\":\"20220810\",\"TREE_TYPE\":\"\",\"CONSULTATION_QA\":\"\"}","parOrder":"1","proOrder":"2","newOrderNum":"001.001.002","itemGuideConditionRelatedList":[]},{"ID":7855559,"TASKGUID":"0f52be07-84af-4ab5-9bc6-9dcd1d755c93","T_ID":"b8c03653-b01f-45c1-a85e-b22dc0b8ee22","P_ID":"866b8421-ef61-4765-ae0d-fda2641e9cfd","NAME":"是","NODE_LEVEL":4,"NODE_PATH":"/e52dfdcc-11a4-4fd2-9662-6153716c2e8d/57618482-5619-48d2-a3d7-a34546e63d1a/866b8421-ef61-4765-ae0d-fda2641e9cfd/b8c03653-b01f-45c1-a85e-b22dc0b8ee22","CHILD_COUNT":0,"ORDER_NUM":1,"SERIAL_NUMBER":"1.1.2.1","CONDITION_ATTR":"02","IS_RADIO":"","IS_SUPPORT":"","SUMMARY":"","CD_TIME":"Dec 5, 2025 11:52:18 AM","CD_BATCH":"2025120500015","DISTRIBUTETAG":"all-data^non-investment^11110000MB1503996K^110000000000^non-construction^11110000MB1503996K^non-construction_expansion","DATAJSONTEXT":"{\"VERSION\":\"20220810\",\"TREE_TYPE\":\"\",\"CONSULTATION_QA\":\"\"}","parOrder":"","proOrder":"","newOrderNum":"001.001.002.001","itemGuideConditionRelatedList":[{"ID":26486930,"TASKGUID":"0f52be07-84af-4ab5-9bc6-9dcd1d755c93","T_ID":"b8c03653-b01f-45c1-a85e-b22dc0b8ee22","G_ID":"9180af5e-f7bf-4fbc-8019-efa681f0013e","M_CODE":"209630","MATERIAL_ID":"144bad7f-644c-49b0-8df9-38fdf1a1dd6a","CD_TIME":"Dec 5, 2025 11:52:18 AM","CD_BATCH":"2025120500015","DISTRIBUTETAG":"all-data^non-investment^11110000MB1503996K^110000000000^non-construction^11110000MB1503996K^non-construction_expansion","DATAJSONTEXT":"{\"VERSION\":\"20210903\"}"}]},{"ID":7855549,"TASKGUID":"0f52be07-84af-4ab5-9bc6-9dcd1d755c93","T_ID":"7259b5f2-425f-48a9-82d7-84af2b2bdd85","P_ID":"866b8421-ef61-4765-ae0d-fda2641e9cfd","NAME":"否","NODE_LEVEL":4,"NODE_PATH":"/e52dfdcc-11a4-4fd2-9662-6153716c2e8d/57618482-5619-48d2-a3d7-a34546e63d1a/866b8421-ef61-4765-ae0d-fda2641e9cfd/7259b5f2-425f-48a9-82d7-84af2b2bdd85","CHILD_COUNT":0,"ORDER_NUM":2,"SERIAL_NUMBER":"1.1.2.2","CONDITION_ATTR":"02","IS_RADIO":"","IS_SUPPORT":"","SUMMARY":"","CD_TIME":"Dec 5, 2025 11:52:18 AM","CD_BATCH":"2025120500015","DISTRIBUTETAG":"all-data^non-investment^11110000MB1503996K^110000000000^non-construction^11110000MB1503996K^non-construction_expansion","DATAJSONTEXT":"{\"VERSION\":\"20220810\",\"TREE_TYPE\":\"\",\"CONSULTATION_QA\":\"\"}","parOrder":"","proOrder":"","newOrderNum":"001.001.002.002","itemGuideConditionRelatedList":[]},{"ID":7855563,"TASKGUID":"0f52be07-84af-4ab5-9bc6-9dcd1d755c93","T_ID":"e1af69fe-5ad4-4b38-b970-1a4e27230bc4","P_ID":"e52dfdcc-11a4-4fd2-9662-6153716c2e8d","NAME":"香港、澳门特别行政区自然人","NODE_LEVEL":2,"NODE_PATH":"/e52dfdcc-11a4-4fd2-9662-6153716c2e8d/e1af69fe-5ad4-4b38-b970-1a4e27230bc4","CHILD_COUNT":0,"ORDER_NUM":2,"SERIAL_NUMBER":"1.2","CONDITION_ATTR":"02","IS_RADIO":"","IS_SUPPORT":"","SUMMARY":"","CD_TIME":"Dec 5, 2025 11:52:18 AM","CD_BATCH":"2025120500015","DISTRIBUTETAG":"all-data^non-investment^11110000MB1503996K^110000000000^non-construction^11110000MB1503996K^non-construction_expansion","DATAJSONTEXT":"{\"VERSION\":\"20220810\",\"TREE_TYPE\":\"\",\"CONSULTATION_QA\":\"\"}","parOrder":"","proOrder":"","newOrderNum":"001.002","itemGuideConditionRelatedList":[{"ID":26486653,"TASKGUID":"0f52be07-84af-4ab5-9bc6-9dcd1d755c93","T_ID":"e1af69fe-5ad4-4b38-b970-1a4e27230bc4","G_ID":"abb07a8e-5ff2-42b7-9af2-83a23a882af8","M_CODE":"345889","MATERIAL_ID":"70634b00-4934-47c8-9fb3-4af395e7bb3e","CD_TIME":"Dec 5, 2025 11:52:18 AM","CD_BATCH":"2025120500015","DISTRIBUTETAG":"all-data^non-investment^11110000MB1503996K^110000000000^non-construction^11110000MB1503996K^non-construction_expansion","DATAJSONTEXT":"{\"VERSION\":\"20210903\"}"},{"ID":26486716,"TASKGUID":"0f52be07-84af-4ab5-9bc6-9dcd1d755c93","T_ID":"e1af69fe-5ad4-4b38-b970-1a4e27230bc4","G_ID":"255db1be-501a-4129-8d52-eb7d1e7f584b","M_CODE":"347022","MATERIAL_ID":"de27b420-9c5a-4780-86a5-1078c324dcb4","CD_TIME":"Dec 5, 2025 11:52:18 AM","CD_BATCH":"2025120500015","DISTRIBUTETAG":"all-data^non-investment^11110000MB1503996K^110000000000^non-construction^11110000MB1503996K^non-construction_expansion","DATAJSONTEXT":"{\"VERSION\":\"20210903\"}"},{"ID":26486771,"TASKGUID":"0f52be07-84af-4ab5-9bc6-9dcd1d755c93","T_ID":"e1af69fe-5ad4-4b38-b970-1a4e27230bc4","G_ID":"bdad8cc3-2b2e-4c05-bd1c-3068aa576ac0","M_CODE":"346621","MATERIAL_ID":"37e7f5ea-5bee-4e69-bfe7-68e83636160e","CD_TIME":"Dec 5, 2025 11:52:18 AM","CD_BATCH":"2025120500015","DISTRIBUTETAG":"all-data^non-investment^11110000MB1503996K^110000000000^non-construction^11110000MB1503996K^non-construction_expansion","DATAJSONTEXT":"{\"VERSION\":\"20210903\"}"},{"ID":26486798,"TASKGUID":"0f52be07-84af-4ab5-9bc6-9dcd1d755c93","T_ID":"e1af69fe-5ad4-4b38-b970-1a4e27230bc4","G_ID":"f82fd4ae-5545-4468-9dde-4b1807c0a63b","M_CODE":"206127","MATERIAL_ID":"2eee490c-c9dc-485e-bc03-614c42ea216d","CD_TIME":"Dec 5, 2025 11:52:18 AM","CD_BATCH":"2025120500015","DISTRIBUTETAG":"all-data^non-investment^11110000MB1503996K^110000000000^non-construction^11110000MB1503996K^non-construction_expansion","DATAJSONTEXT":"{\"VERSION\":\"20210903\"}"},{"ID":26486894,"TASKGUID":"0f52be07-84af-4ab5-9bc6-9dcd1d755c93","T_ID":"e1af69fe-5ad4-4b38-b970-1a4e27230bc4","G_ID":"38fec917-5505-4173-8b55-32739dc49994","M_CODE":"347360","MATERIAL_ID":"5260e7e4-be12-45d5-af2e-c2462bfb6861","CD_TIME":"Dec 5, 2025 11:52:18 AM","CD_BATCH":"2025120500015","DISTRIBUTETAG":"all-data^non-investment^11110000MB1503996K^110000000000^non-construction^11110000MB1503996K^non-construction_expansion","DATAJSONTEXT":"{\"VERSION\":\"20210903\"}"},{"ID":26486992,"TASKGUID":"0f52be07-84af-4ab5-9bc6-9dcd1d755c93","T_ID":"e1af69fe-5ad4-4b38-b970-1a4e27230bc4","G_ID":"b3a8bc1b-f635-44e8-8a7c-0540bed1e277","M_CODE":"340580","MATERIAL_ID":"0edf56fc-a59b-4d25-828a-086b7bdfd7f3","CD_TIME":"Dec 5, 2025 11:52:18 AM","CD_BATCH":"2025120500015","DISTRIBUTETAG":"all-data^non-investment^11110000MB1503996K^110000000000^non-construction^11110000MB1503996K^non-construction_expansion","DATAJSONTEXT":"{\"VERSION\":\"20210903\"}"}]},{"ID":7855560,"TASKGUID":"0f52be07-84af-4ab5-9bc6-9dcd1d755c93","T_ID":"bc5fe922-fd48-4f33-b6aa-bd1dc52ce807","P_ID":"e52dfdcc-11a4-4fd2-9662-6153716c2e8d","NAME":"台湾地区自然人","NODE_LEVEL":2,"NODE_PATH":"/e52dfdcc-11a4-4fd2-9662-6153716c2e8d/bc5fe922-fd48-4f33-b6aa-bd1dc52ce807","CHILD_COUNT":0,"ORDER_NUM":3,"SERIAL_NUMBER":"1.3","CONDITION_ATTR":"02","IS_RADIO":"","IS_SUPPORT":"","SUMMARY":"","CD_TIME":"Dec 5, 2025 11:52:18 AM","CD_BATCH":"2025120500015","DISTRIBUTETAG":"all-data^non-investment^11110000MB1503996K^110000000000^non-construction^11110000MB1503996K^non-construction_expansion","DATAJSONTEXT":"{\"VERSION\":\"20220810\",\"TREE_TYPE\":\"\",\"CONSULTATION_QA\":\"\"}","parOrder":"","proOrder":"","newOrderNum":"001.003","itemGuideConditionRelatedList":[{"ID":26486642,"TASKGUID":"0f52be07-84af-4ab5-9bc6-9dcd1d755c93","T_ID":"bc5fe922-fd48-4f33-b6aa-bd1dc52ce807","G_ID":"80261f8f-0fdd-4087-a506-43d798fd24f8","M_CODE":"340581","MATERIAL_ID":"3e3fb05d-38ea-4447-b287-78adfc693184","CD_TIME":"Dec 5, 2025 11:52:18 AM","CD_BATCH":"2025120500015","DISTRIBUTETAG":"all-data^non-investment^11110000MB1503996K^110000000000^non-construction^11110000MB1503996K^non-construction_expansion","DATAJSONTEXT":"{\"VERSION\":\"20210903\"}"},{"ID":26487035,"TASKGUID":"0f52be07-84af-4ab5-9bc6-9dcd1d755c93","T_ID":"bc5fe922-fd48-4f33-b6aa-bd1dc52ce807","G_ID":"66f8cf0c-c118-46b3-a02a-703c5cd2df9c","M_CODE":"345560","MATERIAL_ID":"95e5f84b-92e4-4e39-9480-7a4a0645af81","CD_TIME":"Dec 5, 2025 11:52:18 AM","CD_BATCH":"2025120500015","DISTRIBUTETAG":"all-data^non-investment^11110000MB1503996K^110000000000^non-construction^11110000MB1503996K^non-construction_expansion","DATAJSONTEXT":"{\"VERSION\":\"20210903\"}"}]},{"ID":7855550,"TASKGUID":"0f52be07-84af-4ab5-9bc6-9dcd1d755c93","T_ID":"73b33034-b8bd-4023-a17d-66e7f8c4c2fc","P_ID":"e52dfdcc-11a4-4fd2-9662-6153716c2e8d","NAME":"华侨","NODE_LEVEL":2,"NODE_PATH":"/e52dfdcc-11a4-4fd2-9662-6153716c2e8d/73b33034-b8bd-4023-a17d-66e7f8c4c2fc","CHILD_COUNT":0,"ORDER_NUM":4,"SERIAL_NUMBER":"1.4","CONDITION_ATTR":"02","IS_RADIO":"","IS_SUPPORT":"","SUMMARY":"","CD_TIME":"Dec 5, 2025 11:52:18 AM","CD_BATCH":"2025120500015","DISTRIBUTETAG":"all-data^non-investment^11110000MB1503996K^110000000000^non-construction^11110000MB1503996K^non-construction_expansion","DATAJSONTEXT":"{\"VERSION\":\"20220810\",\"TREE_TYPE\":\"\",\"CONSULTATION_QA\":\"\"}","parOrder":"","proOrder":"","newOrderNum":"001.004","itemGuideConditionRelatedList":[{"ID":26486748,"TASKGUID":"0f52be07-84af-4ab5-9bc6-9dcd1d755c93","T_ID":"73b33034-b8bd-4023-a17d-66e7f8c4c2fc","G_ID":"74ac00ed-c773-49ea-80e2-acff51e25e6d","M_CODE":"209630","MATERIAL_ID":"4ee88951-2bb7-42eb-92b4-341f2e8d36e2","CD_TIME":"Dec 5, 2025 11:52:18 AM","CD_BATCH":"2025120500015","DISTRIBUTETAG":"all-data^non-investment^11110000MB1503996K^110000000000^non-construction^11110000MB1503996K^non-construction_expansion","DATAJSONTEXT":"{\"VERSION\":\"20210903\"}"},{"ID":26487218,"TASKGUID":"0f52be07-84af-4ab5-9bc6-9dcd1d755c93","T_ID":"73b33034-b8bd-4023-a17d-66e7f8c4c2fc","G_ID":"806fec15-9a0e-4add-a1f4-5d0759cdc9a1","M_CODE":"340576","MATERIAL_ID":"89404eca-0039-4813-8554-684a386d4a89","CD_TIME":"Dec 5, 2025 11:52:18 AM","CD_BATCH":"2025120500015","DISTRIBUTETAG":"all-data^non-investment^11110000MB1503996K^110000000000^non-construction^11110000MB1503996K^non-construction_expansion","DATAJSONTEXT":"{\"VERSION\":\"20210903\"}"}]},{"ID":7855538,"TASKGUID":"0f52be07-84af-4ab5-9bc6-9dcd1d755c93","T_ID":"2209c331-ceaf-40a5-b5c7-14b9277619d1","P_ID":"e52dfdcc-11a4-4fd2-9662-6153716c2e8d","NAME":"外籍自然人","NODE_LEVEL":2,"NODE_PATH":"/e52dfdcc-11a4-4fd2-9662-6153716c2e8d/2209c331-ceaf-40a5-b5c7-14b9277619d1","CHILD_COUNT":0,"ORDER_NUM":5,"SERIAL_NUMBER":"1.5","CONDITION_ATTR":"02","IS_RADIO":"","IS_SUPPORT":"","SUMMARY":"","CD_TIME":"Dec 5, 2025 11:52:18 AM","CD_BATCH":"2025120500015","DISTRIBUTETAG":"all-data^non-investment^11110000MB1503996K^110000000000^non-construction^11110000MB1503996K^non-construction_expansion","DATAJSONTEXT":"{\"VERSION\":\"20220810\",\"TREE_TYPE\":\"\",\"CONSULTATION_QA\":\"\"}","parOrder":"","proOrder":"","newOrderNum":"001.005","itemGuideConditionRelatedList":[{"ID":26486727,"TASKGUID":"0f52be07-84af-4ab5-9bc6-9dcd1d755c93","T_ID":"2209c331-ceaf-40a5-b5c7-14b9277619d1","G_ID":"202ddcf3-69dc-42f8-8fd4-3d48f21251b9","M_CODE":"344780","MATERIAL_ID":"98b22919-b16e-45b8-adf9-5dc680074f89","CD_TIME":"Dec 5, 2025 11:52:18 AM","CD_BATCH":"2025120500015","DISTRIBUTETAG":"all-data^non-investment^11110000MB1503996K^110000000000^non-construction^11110000MB1503996K^non-construction_expansion","DATAJSONTEXT":"{\"VERSION\":\"20210903\"}"},{"ID":26486901,"TASKGUID":"0f52be07-84af-4ab5-9bc6-9dcd1d755c93","T_ID":"2209c331-ceaf-40a5-b5c7-14b9277619d1","G_ID":"86c2cbd1-26c8-4797-88fb-4968682f39cd","M_CODE":"345804","MATERIAL_ID":"8f4999ed-5d7d-4e64-bf34-4065efd593d4","CD_TIME":"Dec 5, 2025 11:52:18 AM","CD_BATCH":"2025120500015","DISTRIBUTETAG":"all-data^non-investment^11110000MB1503996K^110000000000^non-construction^11110000MB1503996K^non-construction_expansion","DATAJSONTEXT":"{\"VERSION\":\"20210903\"}"}]},{"ID":7855546,"TASKGUID":"0f52be07-84af-4ab5-9bc6-9dcd1d755c93","T_ID":"6b4a5004-6519-4ced-9cae-7cb7d9b2440c","P_ID":"e52dfdcc-11a4-4fd2-9662-6153716c2e8d","NAME":"境内营利法人","NODE_LEVEL":2,"NODE_PATH":"/e52dfdcc-11a4-4fd2-9662-6153716c2e8d/6b4a5004-6519-4ced-9cae-7cb7d9b2440c","CHILD_COUNT":0,"ORDER_NUM":6,"SERIAL_NUMBER":"1.6","CONDITION_ATTR":"02","IS_RADIO":"","IS_SUPPORT":"","SUMMARY":"","CD_TIME":"Dec 5, 2025 11:52:18 AM","CD_BATCH":"2025120500015","DISTRIBUTETAG":"all-data^non-investment^11110000MB1503996K^110000000000^non-construction^11110000MB1503996K^non-construction_expansion","DATAJSONTEXT":"{\"VERSION\":\"20220810\",\"TREE_TYPE\":\"\",\"CONSULTATION_QA\":\"\"}","parOrder":"","proOrder":"","newOrderNum":"001.006","itemGuideConditionRelatedList":[{"ID":26487080,"TASKGUID":"0f52be07-84af-4ab5-9bc6-9dcd1d755c93","T_ID":"6b4a5004-6519-4ced-9cae-7cb7d9b2440c","G_ID":"980ce0fc-44c9-41cf-8003-2ed6b376601c","M_CODE":"341898","MATERIAL_ID":"5f867734-381f-443b-b714-2c00e9488bb7","CD_TIME":"Dec 5, 2025 11:52:18 AM","CD_BATCH":"2025120500015","DISTRIBUTETAG":"all-data^non-investment^11110000MB1503996K^110000000000^non-construction^11110000MB1503996K^non-construction_expansion","DATAJSONTEXT":"{\"VERSION\":\"20210903\"}"}]},{"ID":7855567,"TASKGUID":"0f52be07-84af-4ab5-9bc6-9dcd1d755c93","T_ID":"fd596397-57ee-472c-af8a-091ea5541460","P_ID":"e52dfdcc-11a4-4fd2-9662-6153716c2e8d","NAME":"境内非营利法人","NODE_LEVEL":2,"NODE_PATH":"/e52dfdcc-11a4-4fd2-9662-6153716c2e8d/fd596397-57ee-472c-af8a-091ea5541460","CHILD_COUNT":0,"ORDER_NUM":7,"SERIAL_NUMBER":"1.7","CONDITION_ATTR":"02","IS_RADIO":"","IS_SUPPORT":"","SUMMARY":"","CD_TIME":"Dec 5, 2025 11:52:18 AM","CD_BATCH":"2025120500015","DISTRIBUTETAG":"all-data^non-investment^11110000MB1503996K^110000000000^non-construction^11110000MB1503996K^non-construction_expansion","DATAJSONTEXT":"{\"VERSION\":\"20220810\",\"TREE_TYPE\":\"\",\"CONSULTATION_QA\":\"\"}","parOrder":"","proOrder":"","newOrderNum":"001.007","itemGuideConditionRelatedList":[{"ID":26486693,"TASKGUID":"0f52be07-84af-4ab5-9bc6-9dcd1d755c93","T_ID":"fd596397-57ee-472c-af8a-091ea5541460","G_ID":"7cf02efc-4250-48ed-9df5-b02b6876c253","M_CODE":"203760","MATERIAL_ID":"03a99690-6228-49a2-83be-0c0b24b055c0","CD_TIME":"Dec 5, 2025 11:52:18 AM","CD_BATCH":"2025120500015","DISTRIBUTETAG":"all-data^non-investment^11110000MB1503996K^110000000000^non-construction^11110000MB1503996K^non-construction_expansion","DATAJSONTEXT":"{\"VERSION\":\"20210903\"}"},{"ID":26486977,"TASKGUID":"0f52be07-84af-4ab5-9bc6-9dcd1d755c93","T_ID":"fd596397-57ee-472c-af8a-091ea5541460","G_ID":"599036d8-2ff7-4015-adba-002aa683ca6e","M_CODE":"340675","MATERIAL_ID":"e1703346-5836-486b-a752-eac0134a32ee","CD_TIME":"Dec 5, 2025 11:52:18 AM","CD_BATCH":"2025120500015","DISTRIBUTETAG":"all-data^non-investment^11110000MB1503996K^110000000000^non-construction^11110000MB1503996K^non-construction_expansion","DATAJSONTEXT":"{\"VERSION\":\"20210903\"}"},{"ID":26487045,"TASKGUID":"0f52be07-84af-4ab5-9bc6-9dcd1d755c93","T_ID":"fd596397-57ee-472c-af8a-091ea5541460","G_ID":"90090e49-5328-453b-b3fc-1af3981e37e2","M_CODE":"340680","MATERIAL_ID":"9bc970d6-92fa-438c-966f-ecc9d6b301a8","CD_TIME":"Dec 5, 2025 11:52:18 AM","CD_BATCH":"2025120500015","DISTRIBUTETAG":"all-data^non-investment^11110000MB1503996K^110000000000^non-construction^11110000MB1503996K^non-construction_expansion","DATAJSONTEXT":"{\"VERSION\":\"20210903\"}"},{"ID":26487063,"TASKGUID":"0f52be07-84af-4ab5-9bc6-9dcd1d755c93","T_ID":"fd596397-57ee-472c-af8a-091ea5541460","G_ID":"b900792b-ae67-43e2-a9eb-e8e726e21c8a","M_CODE":"209630","MATERIAL_ID":"a5b6f574-473d-4747-8fca-0c7e794756d9","CD_TIME":"Dec 5, 2025 11:52:18 AM","CD_BATCH":"2025120500015","DISTRIBUTETAG":"all-data^non-investment^11110000MB1503996K^110000000000^non-construction^11110000MB1503996K^non-construction_expansion","DATAJSONTEXT":"{\"VERSION\":\"20210903\"}"},{"ID":26487263,"TASKGUID":"0f52be07-84af-4ab5-9bc6-9dcd1d755c93","T_ID":"fd596397-57ee-472c-af8a-091ea5541460","G_ID":"f3ac1fcd-1327-46d6-8e1a-7e1fc577579b","M_CODE":"344352","MATERIAL_ID":"a563c57e-cd12-4ecf-929a-0fc8c417adb5","CD_TIME":"Dec 5, 2025 11:52:18 AM","CD_BATCH":"2025120500015","DISTRIBUTETAG":"all-data^non-investment^11110000MB1503996K^110000000000^non-construction^11110000MB1503996K^non-construction_expansion","DATAJSONTEXT":"{\"VERSION\":\"20210903\"}"},{"ID":26487582,"TASKGUID":"0f52be07-84af-4ab5-9bc6-9dcd1d755c93","T_ID":"fd596397-57ee-472c-af8a-091ea5541460","G_ID":"5da6df97-8c8e-4890-aa53-3807a80f0f80","M_CODE":"345025","MATERIAL_ID":"8c4c2844-a22b-4aed-a6cd-d3fea7e4130e","CD_TIME":"Dec 5, 2025 11:52:18 AM","CD_BATCH":"2025120500015","DISTRIBUTETAG":"all-data^non-investment^11110000MB1503996K^110000000000^non-construction^11110000MB1503996K^non-construction_expansion","DATAJSONTEXT":"{\"VERSION\":\"20210903\"}"}]},{"ID":7855540,"TASKGUID":"0f52be07-84af-4ab5-9bc6-9dcd1d755c93","T_ID":"26cba82f-2210-4fc2-a2f0-d1a78cdc3b3f","P_ID":"e52dfdcc-11a4-4fd2-9662-6153716c2e8d","NAME":"境内特别法人","NODE_LEVEL":2,"NODE_PATH":"/e52dfdcc-11a4-4fd2-9662-6153716c2e8d/26cba82f-2210-4fc2-a2f0-d1a78cdc3b3f","CHILD_COUNT":0,"ORDER_NUM":8,"SERIAL_NUMBER":"1.8","CONDITION_ATTR":"02","IS_RADIO":"","IS_SUPPORT":"","SUMMARY":"","CD_TIME":"Dec 5, 2025 11:52:18 AM","CD_BATCH":"2025120500015","DISTRIBUTETAG":"all-data^non-investment^11110000MB1503996K^110000000000^non-construction^11110000MB1503996K^non-construction_expansion","DATAJSONTEXT":"{\"VERSION\":\"20220810\",\"TREE_TYPE\":\"\",\"CONSULTATION_QA\":\"\"}","parOrder":"","proOrder":"","newOrderNum":"001.008","itemGuideConditionRelatedList":[{"ID":26486941,"TASKGUID":"0f52be07-84af-4ab5-9bc6-9dcd1d755c93","T_ID":"26cba82f-2210-4fc2-a2f0-d1a78cdc3b3f","G_ID":"cbbc0c1f-c4c8-4e3a-8a3f-fb7dcec3485a","M_CODE":"203376","MATERIAL_ID":"427d8531-6d31-4f07-9ce9-a579011cb6b1","CD_TIME":"Dec 5, 2025 11:52:18 AM","CD_BATCH":"2025120500015","DISTRIBUTETAG":"all-data^non-investment^11110000MB1503996K^110000000000^non-construction^11110000MB1503996K^non-construction_expansion","DATAJSONTEXT":"{\"VERSION\":\"20210903\"}"},{"ID":26487214,"TASKGUID":"0f52be07-84af-4ab5-9bc6-9dcd1d755c93","T_ID":"26cba82f-2210-4fc2-a2f0-d1a78cdc3b3f","G_ID":"ab3885af-dda8-4e7a-a7ab-f3460567dc9e","M_CODE":"320084","MATERIAL_ID":"9f9c763d-4997-447f-95fd-871e91775b28","CD_TIME":"Dec 5, 2025 11:52:18 AM","CD_BATCH":"2025120500015","DISTRIBUTETAG":"all-data^non-investment^11110000MB1503996K^110000000000^non-construction^11110000MB1503996K^non-construction_expansion","DATAJSONTEXT":"{\"VERSION\":\"20210903\"}"},{"ID":26487318,"TASKGUID":"0f52be07-84af-4ab5-9bc6-9dcd1d755c93","T_ID":"26cba82f-2210-4fc2-a2f0-d1a78cdc3b3f","G_ID":"0244ee6f-fd88-4758-8444-b8b5b86ef6c0","M_CODE":"346738","MATERIAL_ID":"42ea267a-8cfb-4371-8005-734d3593a216","CD_TIME":"Dec 5, 2025 11:52:18 AM","CD_BATCH":"2025120500015","DISTRIBUTETAG":"all-data^non-investment^11110000MB1503996K^110000000000^non-construction^11110000MB1503996K^non-construction_expansion","DATAJSONTEXT":"{\"VERSION\":\"20210903\"}"},{"ID":26487337,"TASKGUID":"0f52be07-84af-4ab5-9bc6-9dcd1d755c93","T_ID":"26cba82f-2210-4fc2-a2f0-d1a78cdc3b3f","G_ID":"7f05c6bb-5a50-4843-83ff-9cd525c4a386","M_CODE":"346737","MATERIAL_ID":"503f2f1a-bebb-4405-86c2-1bd48a5cc230","CD_TIME":"Dec 5, 2025 11:52:18 AM","CD_BATCH":"2025120500015","DISTRIBUTETAG":"all-data^non-investment^11110000MB1503996K^110000000000^non-construction^11110000MB1503996K^non-construction_expansion","DATAJSONTEXT":"{\"VERSION\":\"20210903\"}"},{"ID":26487539,"TASKGUID":"0f52be07-84af-4ab5-9bc6-9dcd1d755c93","T_ID":"26cba82f-2210-4fc2-a2f0-d1a78cdc3b3f","G_ID":"ee03ee65-6991-4242-b9b4-2454ae97f785","M_CODE":"345097","MATERIAL_ID":"d5baf46a-900f-411e-adc4-fe7eb43354e1","CD_TIME":"Dec 5, 2025 11:52:18 AM","CD_BATCH":"2025120500015","DISTRIBUTETAG":"all-data^non-investment^11110000MB1503996K^110000000000^non-construction^11110000MB1503996K^non-construction_expansion","DATAJSONTEXT":"{\"VERSION\":\"20210903\"}"}]},{"ID":7855554,"TASKGUID":"0f52be07-84af-4ab5-9bc6-9dcd1d755c93","T_ID":"86870437-88a2-4027-96c8-f2a9c06a767f","P_ID":"e52dfdcc-11a4-4fd2-9662-6153716c2e8d","NAME":"境内非法人组织","NODE_LEVEL":2,"NODE_PATH":"/e52dfdcc-11a4-4fd2-9662-6153716c2e8d/86870437-88a2-4027-96c8-f2a9c06a767f","CHILD_COUNT":0,"ORDER_NUM":9,"SERIAL_NUMBER":"1.9","CONDITION_ATTR":"02","IS_RADIO":"","IS_SUPPORT":"","SUMMARY":"","CD_TIME":"Dec 5, 2025 11:52:18 AM","CD_BATCH":"2025120500015","DISTRIBUTETAG":"all-data^non-investment^11110000MB1503996K^110000000000^non-construction^11110000MB1503996K^non-construction_expansion","DATAJSONTEXT":"{\"VERSION\":\"20220810\",\"TREE_TYPE\":\"\",\"CONSULTATION_QA\":\"\"}","parOrder":"","proOrder":"","newOrderNum":"001.009","itemGuideConditionRelatedList":[{"ID":26486975,"TASKGUID":"0f52be07-84af-4ab5-9bc6-9dcd1d755c93","T_ID":"86870437-88a2-4027-96c8-f2a9c06a767f","G_ID":"51ed8ca4-b102-4760-a24e-6850f336ef03","M_CODE":"209630","MATERIAL_ID":"9df8fe55-51c6-4aa4-84c1-9f9ffdec2bb8","CD_TIME":"Dec 5, 2025 11:52:18 AM","CD_BATCH":"2025120500015","DISTRIBUTETAG":"all-data^non-investment^11110000MB1503996K^110000000000^non-construction^11110000MB1503996K^non-construction_expansion","DATAJSONTEXT":"{\"VERSION\":\"20210903\"}"},{"ID":26487475,"TASKGUID":"0f52be07-84af-4ab5-9bc6-9dcd1d755c93","T_ID":"86870437-88a2-4027-96c8-f2a9c06a767f","G_ID":"ed669f98-5beb-4244-9399-842d774cf830","M_CODE":"341898","MATERIAL_ID":"fd0533d5-d663-472c-acb0-117790874140","CD_TIME":"Dec 5, 2025 11:52:18 AM","CD_BATCH":"2025120500015","DISTRIBUTETAG":"all-data^non-investment^11110000MB1503996K^110000000000^non-construction^11110000MB1503996K^non-construction_expansion","DATAJSONTEXT":"{\"VERSION\":\"20210903\"}"}]},{"ID":7855539,"TASKGUID":"0f52be07-84af-4ab5-9bc6-9dcd1d755c93","T_ID":"2344203b-fbdd-40a9-8f94-fe46e29cd265","P_ID":"e52dfdcc-11a4-4fd2-9662-6153716c2e8d","NAME":"香港特别行政区、澳门特别行政区、台湾地区的法人或非法人组织","NODE_LEVEL":2,"NODE_PATH":"/e52dfdcc-11a4-4fd2-9662-6153716c2e8d/2344203b-fbdd-40a9-8f94-fe46e29cd265","CHILD_COUNT":0,"ORDER_NUM":10,"SERIAL_NUMBER":"1.10","CONDITION_ATTR":"02","IS_RADIO":"","IS_SUPPORT":"","SUMMARY":"","CD_TIME":"Dec 5, 2025 11:52:18 AM","CD_BATCH":"2025120500015","DISTRIBUTETAG":"all-data^non-investment^11110000MB1503996K^110000000000^non-construction^11110000MB1503996K^non-construction_expansion","DATAJSONTEXT":"{\"VERSION\":\"20220810\",\"TREE_TYPE\":\"\",\"CONSULTATION_QA\":\"\"}","parOrder":"","proOrder":"","newOrderNum":"001.010","itemGuideConditionRelatedList":[{"ID":26487390,"TASKGUID":"0f52be07-84af-4ab5-9bc6-9dcd1d755c93","T_ID":"2344203b-fbdd-40a9-8f94-fe46e29cd265","G_ID":"a3997a35-cfb5-4704-a314-373f98f57389","M_CODE":"203379","MATERIAL_ID":"8ad054e3-9b8a-48ee-ae4a-b94b4a2a1766","CD_TIME":"Dec 5, 2025 11:52:18 AM","CD_BATCH":"2025120500015","DISTRIBUTETAG":"all-data^non-investment^11110000MB1503996K^110000000000^non-construction^11110000MB1503996K^non-construction_expansion","DATAJSONTEXT":"{\"VERSION\":\"20210903\"}"},{"ID":26487511,"TASKGUID":"0f52be07-84af-4ab5-9bc6-9dcd1d755c93","T_ID":"2344203b-fbdd-40a9-8f94-fe46e29cd265","G_ID":"58940c4c-16f8-4786-93a0-18cc51926237","M_CODE":"203426","MATERIAL_ID":"5215d512-f7dc-4aca-8bce-f5b40b585b35","CD_TIME":"Dec 5, 2025 11:52:18 AM","CD_BATCH":"2025120500015","DISTRIBUTETAG":"all-data^non-investment^11110000MB1503996K^110000000000^non-construction^11110000MB1503996K^non-construction_expansion","DATAJSONTEXT":"{\"VERSION\":\"20210903\"}"},{"ID":26487543,"TASKGUID":"0f52be07-84af-4ab5-9bc6-9dcd1d755c93","T_ID":"2344203b-fbdd-40a9-8f94-fe46e29cd265","G_ID":"5c91ef07-8515-4cfc-b549-0cc1f933e4c8","M_CODE":"203425","MATERIAL_ID":"da475962-de87-4de2-9324-1bd0d11d67bd","CD_TIME":"Dec 5, 2025 11:52:18 AM","CD_BATCH":"2025120500015","DISTRIBUTETAG":"all-data^non-investment^11110000MB1503996K^110000000000^non-construction^11110000MB1503996K^non-construction_expansion","DATAJSONTEXT":"{\"VERSION\":\"20210903\"}"}]},{"ID":7855537,"TASKGUID":"0f52be07-84af-4ab5-9bc6-9dcd1d755c93","T_ID":"01e3be54-7b88-4bb0-8773-ed7d06bfd5d7","P_ID":"e52dfdcc-11a4-4fd2-9662-6153716c2e8d","NAME":"境外法人或非法人组织","NODE_LEVEL":2,"NODE_PATH":"/e52dfdcc-11a4-4fd2-9662-6153716c2e8d/01e3be54-7b88-4bb0-8773-ed7d06bfd5d7","CHILD_COUNT":0,"ORDER_NUM":11,"SERIAL_NUMBER":"1.11","CONDITION_ATTR":"02","IS_RADIO":"","IS_SUPPORT":"","SUMMARY":"","CD_TIME":"Dec 5, 2025 11:52:18 AM","CD_BATCH":"2025120500015","DISTRIBUTETAG":"all-data^non-investment^11110000MB1503996K^110000000000^non-construction^11110000MB1503996K^non-construction_expansion","DATAJSONTEXT":"{\"VERSION\":\"20220810\",\"TREE_TYPE\":\"\",\"CONSULTATION_QA\":\"\"}","parOrder":"","proOrder":"","newOrderNum":"001.011","itemGuideConditionRelatedList":[{"ID":26486641,"TASKGUID":"0f52be07-84af-4ab5-9bc6-9dcd1d755c93","T_ID":"01e3be54-7b88-4bb0-8773-ed7d06bfd5d7","G_ID":"c687aee0-80b2-48ae-b1c7-a5bb08394802","M_CODE":"203425","MATERIAL_ID":"eef575d5-12ff-45f8-8b62-135abd1960c2","CD_TIME":"Dec 5, 2025 11:52:18 AM","CD_BATCH":"2025120500015","DISTRIBUTETAG":"all-data^non-investment^11110000MB1503996K^110000000000^non-construction^11110000MB1503996K^non-construction_expansion","DATAJSONTEXT":"{\"VERSION\":\"20210903\"}"},{"ID":26486778,"TASKGUID":"0f52be07-84af-4ab5-9bc6-9dcd1d755c93","T_ID":"01e3be54-7b88-4bb0-8773-ed7d06bfd5d7","G_ID":"999bd8de-50a2-4946-82ec-3302d3720f86","M_CODE":"203426","MATERIAL_ID":"1b9f8f77-8431-4350-b0d8-84ba672a4f99","CD_TIME":"Dec 5, 2025 11:52:18 AM","CD_BATCH":"2025120500015","DISTRIBUTETAG":"all-data^non-investment^11110000MB1503996K^110000000000^non-construction^11110000MB1503996K^non-construction_expansion","DATAJSONTEXT":"{\"VERSION\":\"20210903\"}"},{"ID":26487223,"TASKGUID":"0f52be07-84af-4ab5-9bc6-9dcd1d755c93","T_ID":"01e3be54-7b88-4bb0-8773-ed7d06bfd5d7","G_ID":"6964eb7f-2ea2-449b-8a2c-7e5e55012e0c","M_CODE":"203378","MATERIAL_ID":"bd2dae7a-009a-4728-8472-e3432b96f09f","CD_TIME":"Dec 5, 2025 11:52:18 AM","CD_BATCH":"2025120500015","DISTRIBUTETAG":"all-data^non-investment^11110000MB1503996K^110000000000^non-construction^11110000MB1503996K^non-construction_expansion","DATAJSONTEXT":"{\"VERSION\":\"20210903\"}"}]},{"ID":7855556,"TASKGUID":"0f52be07-84af-4ab5-9bc6-9dcd1d755c93","T_ID":"9185ea60-a1b9-4371-ada6-a12fddd753ed","P_ID":"e52dfdcc-11a4-4fd2-9662-6153716c2e8d","NAME":"外国驻华使(领)馆和外国驻华办事机构、国际组织驻华代表机构","NODE_LEVEL":2,"NODE_PATH":"/e52dfdcc-11a4-4fd2-9662-6153716c2e8d/9185ea60-a1b9-4371-ada6-a12fddd753ed","CHILD_COUNT":0,"ORDER_NUM":12,"SERIAL_NUMBER":"1.12","CONDITION_ATTR":"02","IS_RADIO":"","IS_SUPPORT":"","SUMMARY":"","CD_TIME":"Dec 5, 2025 11:52:18 AM","CD_BATCH":"2025120500015","DISTRIBUTETAG":"all-data^non-investment^11110000MB1503996K^110000000000^non-construction^11110000MB1503996K^non-construction_expansion","DATAJSONTEXT":"{\"VERSION\":\"20220810\",\"TREE_TYPE\":\"\",\"CONSULTATION_QA\":\"\"}","parOrder":"","proOrder":"","newOrderNum":"001.012","itemGuideConditionRelatedList":[{"ID":26487183,"TASKGUID":"0f52be07-84af-4ab5-9bc6-9dcd1d755c93","T_ID":"9185ea60-a1b9-4371-ada6-a12fddd753ed","G_ID":"5501e336-6cd6-4ecd-a154-07f91713ef28","M_CODE":"209630","MATERIAL_ID":"4fd0a8ce-815b-43aa-86d6-12df6f18beff","CD_TIME":"Dec 5, 2025 11:52:18 AM","CD_BATCH":"2025120500015","DISTRIBUTETAG":"all-data^non-investment^11110000MB1503996K^110000000000^non-construction^11110000MB1503996K^non-construction_expansion","DATAJSONTEXT":"{\"VERSION\":\"20210903\"}"}]},{"ID":7855566,"TASKGUID":"0f52be07-84af-4ab5-9bc6-9dcd1d755c93","T_ID":"efef6cb2-5cb2-415b-816b-ca38c15427bf","P_ID":"","NAME":"是否为在京中央单位申请不动产登记","NODE_LEVEL":1,"NODE_PATH":"/efef6cb2-5cb2-415b-816b-ca38c15427bf","CHILD_COUNT":2,"ORDER_NUM":2,"SERIAL_NUMBER":"2","CONDITION_ATTR":"01","IS_RADIO":"1","IS_SUPPORT":"","SUMMARY":"2 是否为在京中央单位申请不动产登记\n\t2.1 是\n\t2.2 否","CD_TIME":"Dec 5, 2025 11:52:18 AM","CD_BATCH":"2025120500015","DISTRIBUTETAG":"all-data^non-investment^11110000MB1503996K^110000000000^non-construction^11110000MB1503996K^non-construction_expansion","DATAJSONTEXT":"{\"VERSION\":\"20220810\",\"TREE_TYPE\":\"\",\"CONSULTATION_QA\":\"\"}","parOrder":"","proOrder":"2","newOrderNum":"002","itemGuideConditionRelatedList":[]},{"ID":7855562,"TASKGUID":"0f52be07-84af-4ab5-9bc6-9dcd1d755c93","T_ID":"e089f3d0-3cf2-4304-96c8-540fcea12c0d","P_ID":"efef6cb2-5cb2-415b-816b-ca38c15427bf","NAME":"是","NODE_LEVEL":2,"NODE_PATH":"/efef6cb2-5cb2-415b-816b-ca38c15427bf/e089f3d0-3cf2-4304-96c8-540fcea12c0d","CHILD_COUNT":0,"ORDER_NUM":1,"SERIAL_NUMBER":"2.1","CONDITION_ATTR":"02","IS_RADIO":"","IS_SUPPORT":"","SUMMARY":"","CD_TIME":"Dec 5, 2025 11:52:18 AM","CD_BATCH":"2025120500015","DISTRIBUTETAG":"all-data^non-investment^11110000MB1503996K^110000000000^non-construction^11110000MB1503996K^non-construction_expansion","DATAJSONTEXT":"{\"VERSION\":\"20220810\",\"TREE_TYPE\":\"\",\"CONSULTATION_QA\":\"\"}","parOrder":"","proOrder":"","newOrderNum":"002.001","itemGuideConditionRelatedList":[{"ID":26487356,"TASKGUID":"0f52be07-84af-4ab5-9bc6-9dcd1d755c93","T_ID":"e089f3d0-3cf2-4304-96c8-540fcea12c0d","G_ID":"74b86f9f-30cb-4afe-b603-548d8f0e7161","M_CODE":"345081","MATERIAL_ID":"d494c409-4a9d-4524-97f6-d82402412cbf","CD_TIME":"Dec 5, 2025 11:52:18 AM","CD_BATCH":"2025120500015","DISTRIBUTETAG":"all-data^non-investment^11110000MB1503996K^110000000000^non-construction^11110000MB1503996K^non-construction_expansion","DATAJSONTEXT":"{\"VERSION\":\"20210903\"}"}]},{"ID":7855565,"TASKGUID":"0f52be07-84af-4ab5-9bc6-9dcd1d755c93","T_ID":"e89f1bf0-f6b3-4c37-a1f7-8fbc3aab6ed9","P_ID":"efef6cb2-5cb2-415b-816b-ca38c15427bf","NAME":"否","NODE_LEVEL":2,"NODE_PATH":"/efef6cb2-5cb2-415b-816b-ca38c15427bf/e89f1bf0-f6b3-4c37-a1f7-8fbc3aab6ed9","CHILD_COUNT":0,"ORDER_NUM":2,"SERIAL_NUMBER":"2.2","CONDITION_ATTR":"02","IS_RADIO":"","IS_SUPPORT":"","SUMMARY":"","CD_TIME":"Dec 5, 2025 11:52:18 AM","CD_BATCH":"2025120500015","DISTRIBUTETAG":"all-data^non-investment^11110000MB1503996K^110000000000^non-construction^11110000MB1503996K^non-construction_expansion","DATAJSONTEXT":"{\"VERSION\":\"20220810\",\"TREE_TYPE\":\"\",\"CONSULTATION_QA\":\"\"}","parOrder":"","proOrder":"","newOrderNum":"002.002","itemGuideConditionRelatedList":[]},{"ID":7855555,"TASKGUID":"0f52be07-84af-4ab5-9bc6-9dcd1d755c93","T_ID":"914935fa-deb0-4807-a596-c074c8d8bae2","P_ID":"","NAME":"是否为抵押权人与抵押人共同申请注销登记","NODE_LEVEL":1,"NODE_PATH":"/914935fa-deb0-4807-a596-c074c8d8bae2","CHILD_COUNT":2,"ORDER_NUM":3,"SERIAL_NUMBER":"3","CONDITION_ATTR":"01","IS_RADIO":"1","IS_SUPPORT":"","SUMMARY":"3 是否为抵押权人与抵押人共同申请注销登记\n\t3.1 是\n\t3.2 否","CD_TIME":"Dec 5, 2025 11:52:18 AM","CD_BATCH":"2025120500015","DISTRIBUTETAG":"all-data^non-investment^11110000MB1503996K^110000000000^non-construction^11110000MB1503996K^non-construction_expansion","DATAJSONTEXT":"{\"VERSION\":\"20220810\",\"TREE_TYPE\":\"\",\"CONSULTATION_QA\":\"\"}","parOrder":"","proOrder":"3","newOrderNum":"003","itemGuideConditionRelatedList":[]},{"ID":7855541,"TASKGUID":"0f52be07-84af-4ab5-9bc6-9dcd1d755c93","T_ID":"3e220b24-4562-433a-8083-811a4645b0fe","P_ID":"914935fa-deb0-4807-a596-c074c8d8bae2","NAME":"是","NODE_LEVEL":2,"NODE_PATH":"/914935fa-deb0-4807-a596-c074c8d8bae2/3e220b24-4562-433a-8083-811a4645b0fe","CHILD_COUNT":0,"ORDER_NUM":1,"SERIAL_NUMBER":"3.1","CONDITION_ATTR":"02","IS_RADIO":"","IS_SUPPORT":"","SUMMARY":"","CD_TIME":"Dec 5, 2025 11:52:18 AM","CD_BATCH":"2025120500015","DISTRIBUTETAG":"all-data^non-investment^11110000MB1503996K^110000000000^non-construction^11110000MB1503996K^non-construction_expansion","DATAJSONTEXT":"{\"VERSION\":\"20220810\",\"TREE_TYPE\":\"\",\"CONSULTATION_QA\":\"\"}","parOrder":"","proOrder":"","newOrderNum":"003.001","itemGuideConditionRelatedList":[{"ID":26487179,"TASKGUID":"0f52be07-84af-4ab5-9bc6-9dcd1d755c93","T_ID":"3e220b24-4562-433a-8083-811a4645b0fe","G_ID":"87661372-0cd7-46ab-acfb-fc0428340a5b","M_CODE":"345091","MATERIAL_ID":"4cf7c9ce-c0bd-45e2-bc13-560285ce9ece","CD_TIME":"Dec 5, 2025 11:52:18 AM","CD_BATCH":"2025120500015","DISTRIBUTETAG":"all-data^non-investment^11110000MB1503996K^110000000000^non-construction^11110000MB1503996K^non-construction_expansion","DATAJSONTEXT":"{\"VERSION\":\"20210903\"}"}]},{"ID":7855542,"TASKGUID":"0f52be07-84af-4ab5-9bc6-9dcd1d755c93","T_ID":"4db52926-471d-4860-b796-67d68df70a84","P_ID":"914935fa-deb0-4807-a596-c074c8d8bae2","NAME":"否","NODE_LEVEL":2,"NODE_PATH":"/914935fa-deb0-4807-a596-c074c8d8bae2/4db52926-471d-4860-b796-67d68df70a84","CHILD_COUNT":0,"ORDER_NUM":2,"SERIAL_NUMBER":"3.2","CONDITION_ATTR":"02","IS_RADIO":"","IS_SUPPORT":"","SUMMARY":"","CD_TIME":"Dec 5, 2025 11:52:18 AM","CD_BATCH":"2025120500015","DISTRIBUTETAG":"all-data^non-investment^11110000MB1503996K^110000000000^non-construction^11110000MB1503996K^non-construction_expansion","DATAJSONTEXT":"{\"VERSION\":\"20220810\",\"TREE_TYPE\":\"\",\"CONSULTATION_QA\":\"\"}","parOrder":"","proOrder":"","newOrderNum":"003.002","itemGuideConditionRelatedList":[]},{"ID":7855561,"TASKGUID":"0f52be07-84af-4ab5-9bc6-9dcd1d755c93","T_ID":"ca984598-5e56-478c-bd23-d4f06fc6a464","P_ID":"","NAME":"是否为单方申请注销登记","NODE_LEVEL":1,"NODE_PATH":"/ca984598-5e56-478c-bd23-d4f06fc6a464","CHILD_COUNT":2,"ORDER_NUM":4,"SERIAL_NUMBER":"4","CONDITION_ATTR":"01","IS_RADIO":"1","IS_SUPPORT":"","SUMMARY":"4 是否为单方申请注销登记\n\t4.1 是\n\t\t4.1.1 申请人类型\n\t\t\t4.1.1.1 抵押权人单方申请注销登记\n\t\t\t4.1.1.2 抵押人等当事人单方申请注销登记\n\t4.2 否","CD_TIME":"Dec 5, 2025 11:52:18 AM","CD_BATCH":"2025120500015","DISTRIBUTETAG":"all-data^non-investment^11110000MB1503996K^110000000000^non-construction^11110000MB1503996K^non-construction_expansion","DATAJSONTEXT":"{\"VERSION\":\"20220810\",\"TREE_TYPE\":\"\",\"CONSULTATION_QA\":\"\"}","parOrder":"","proOrder":"4","newOrderNum":"004","itemGuideConditionRelatedList":[]},{"ID":7855547,"TASKGUID":"0f52be07-84af-4ab5-9bc6-9dcd1d755c93","T_ID":"6c02e086-c0c5-48ce-871f-6914cdab05ed","P_ID":"ca984598-5e56-478c-bd23-d4f06fc6a464","NAME":"是","NODE_LEVEL":2,"NODE_PATH":"/ca984598-5e56-478c-bd23-d4f06fc6a464/6c02e086-c0c5-48ce-871f-6914cdab05ed","CHILD_COUNT":1,"ORDER_NUM":1,"SERIAL_NUMBER":"4.1","CONDITION_ATTR":"02","IS_RADIO":"","IS_SUPPORT":"","SUMMARY":"","CD_TIME":"Dec 5, 2025 11:52:18 AM","CD_BATCH":"2025120500015","DISTRIBUTETAG":"all-data^non-investment^11110000MB1503996K^110000000000^non-construction^11110000MB1503996K^non-construction_expansion","DATAJSONTEXT":"{\"VERSION\":\"20220810\",\"TREE_TYPE\":\"\",\"CONSULTATION_QA\":\"\"}","parOrder":"","proOrder":"","newOrderNum":"004.001","itemGuideConditionRelatedList":[]},{"ID":7855545,"TASKGUID":"0f52be07-84af-4ab5-9bc6-9dcd1d755c93","T_ID":"64db8322-cc92-4414-8017-4ab0ce1730ac","P_ID":"6c02e086-c0c5-48ce-871f-6914cdab05ed","NAME":"申请人类型","NODE_LEVEL":3,"NODE_PATH":"/ca984598-5e56-478c-bd23-d4f06fc6a464/6c02e086-c0c5-48ce-871f-6914cdab05ed/64db8322-cc92-4414-8017-4ab0ce1730ac","CHILD_COUNT":2,"ORDER_NUM":1,"SERIAL_NUMBER":"4.1.1","CONDITION_ATTR":"01","IS_RADIO":"1","IS_SUPPORT":"","SUMMARY":"","CD_TIME":"Dec 5, 2025 11:52:18 AM","CD_BATCH":"2025120500015","DISTRIBUTETAG":"all-data^non-investment^11110000MB1503996K^110000000000^non-construction^11110000MB1503996K^non-construction_expansion","DATAJSONTEXT":"{\"VERSION\":\"20220810\",\"TREE_TYPE\":\"\",\"CONSULTATION_QA\":\"\"}","parOrder":"4","proOrder":"1","newOrderNum":"004.001.001","itemGuideConditionRelatedList":[]},{"ID":7855557,"TASKGUID":"0f52be07-84af-4ab5-9bc6-9dcd1d755c93","T_ID":"95cab27a-6943-4021-a9d2-861787b4aa4d","P_ID":"64db8322-cc92-4414-8017-4ab0ce1730ac","NAME":"抵押权人单方申请注销登记","NODE_LEVEL":4,"NODE_PATH":"/ca984598-5e56-478c-bd23-d4f06fc6a464/6c02e086-c0c5-48ce-871f-6914cdab05ed/64db8322-cc92-4414-8017-4ab0ce1730ac/95cab27a-6943-4021-a9d2-861787b4aa4d","CHILD_COUNT":0,"ORDER_NUM":1,"SERIAL_NUMBER":"4.1.1.1","CONDITION_ATTR":"02","IS_RADIO":"","IS_SUPPORT":"","SUMMARY":"","CD_TIME":"Dec 5, 2025 11:52:18 AM","CD_BATCH":"2025120500015","DISTRIBUTETAG":"all-data^non-investment^11110000MB1503996K^110000000000^non-construction^11110000MB1503996K^non-construction_expansion","DATAJSONTEXT":"{\"VERSION\":\"20220810\",\"TREE_TYPE\":\"\",\"CONSULTATION_QA\":\"\"}","parOrder":"","proOrder":"","newOrderNum":"004.001.001.001","itemGuideConditionRelatedList":[]},{"ID":7855548,"TASKGUID":"0f52be07-84af-4ab5-9bc6-9dcd1d755c93","T_ID":"6f281b54-531a-4ca6-94ed-ce4dec7d67f6","P_ID":"64db8322-cc92-4414-8017-4ab0ce1730ac","NAME":"抵押人等当事人单方申请注销登记","NODE_LEVEL":4,"NODE_PATH":"/ca984598-5e56-478c-bd23-d4f06fc6a464/6c02e086-c0c5-48ce-871f-6914cdab05ed/64db8322-cc92-4414-8017-4ab0ce1730ac/6f281b54-531a-4ca6-94ed-ce4dec7d67f6","CHILD_COUNT":0,"ORDER_NUM":2,"SERIAL_NUMBER":"4.1.1.2","CONDITION_ATTR":"02","IS_RADIO":"","IS_SUPPORT":"","SUMMARY":"","CD_TIME":"Dec 5, 2025 11:52:18 AM","CD_BATCH":"2025120500015","DISTRIBUTETAG":"all-data^non-investment^11110000MB1503996K^110000000000^non-construction^11110000MB1503996K^non-construction_expansion","DATAJSONTEXT":"{\"VERSION\":\"20220810\",\"TREE_TYPE\":\"\",\"CONSULTATION_QA\":\"\"}","parOrder":"","proOrder":"","newOrderNum":"004.001.001.002","itemGuideConditionRelatedList":[{"ID":26486906,"TASKGUID":"0f52be07-84af-4ab5-9bc6-9dcd1d755c93","T_ID":"6f281b54-531a-4ca6-94ed-ce4dec7d67f6","G_ID":"8bf9d3a4-dd52-4601-a217-394c9933c830","M_CODE":"203519","MATERIAL_ID":"94bb41d6-85e9-4f51-8efd-9d5c572bfddf","CD_TIME":"Dec 5, 2025 11:52:18 AM","CD_BATCH":"2025120500015","DISTRIBUTETAG":"all-data^non-investment^11110000MB1503996K^110000000000^non-construction^11110000MB1503996K^non-construction_expansion","DATAJSONTEXT":"{\"VERSION\":\"20210903\"}"}]},{"ID":7855552,"TASKGUID":"0f52be07-84af-4ab5-9bc6-9dcd1d755c93","T_ID":"7f2c69a6-c942-41d3-a028-9dfd087f7f38","P_ID":"ca984598-5e56-478c-bd23-d4f06fc6a464","NAME":"否","NODE_LEVEL":2,"NODE_PATH":"/ca984598-5e56-478c-bd23-d4f06fc6a464/7f2c69a6-c942-41d3-a028-9dfd087f7f38","CHILD_COUNT":0,"ORDER_NUM":2,"SERIAL_NUMBER":"4.2","CONDITION_ATTR":"02","IS_RADIO":"","IS_SUPPORT":"","SUMMARY":"","CD_TIME":"Dec 5, 2025 11:52:18 AM","CD_BATCH":"2025120500015","DISTRIBUTETAG":"all-data^non-investment^11110000MB1503996K^110000000000^non-construction^11110000MB1503996K^non-construction_expansion","DATAJSONTEXT":"{\"VERSION\":\"20220810\",\"TREE_TYPE\":\"\",\"CONSULTATION_QA\":\"\"}","parOrder":"","proOrder":"","newOrderNum":"004.002","itemGuideConditionRelatedList":[]}]
2
1^2^3^4^5^6^9
https://bjt.beijing.gov.cn/renzheng/open/login/goUserLogin?client_id=100100000228&redirect_uri=http://bdc.ghzrzyw.beijing.gov.cn/eo/user/bjtLogin&state=PC_140000001&response_type=code&scope=user_info;https://yzt.beijing.gov.cn/am/oauth2/authorize?service=bjzwService&response_type=code&client_id=000026681_04&scope=cn+uid+idCardNumber+reserve3+extProperties+credenceClass&redirect_uri=http%3A%2F%2Fbdc.ghzrzyw.beijing.gov.cn%2Feo%2Fuser%2FyztLogin%3Fstate%3D140000001

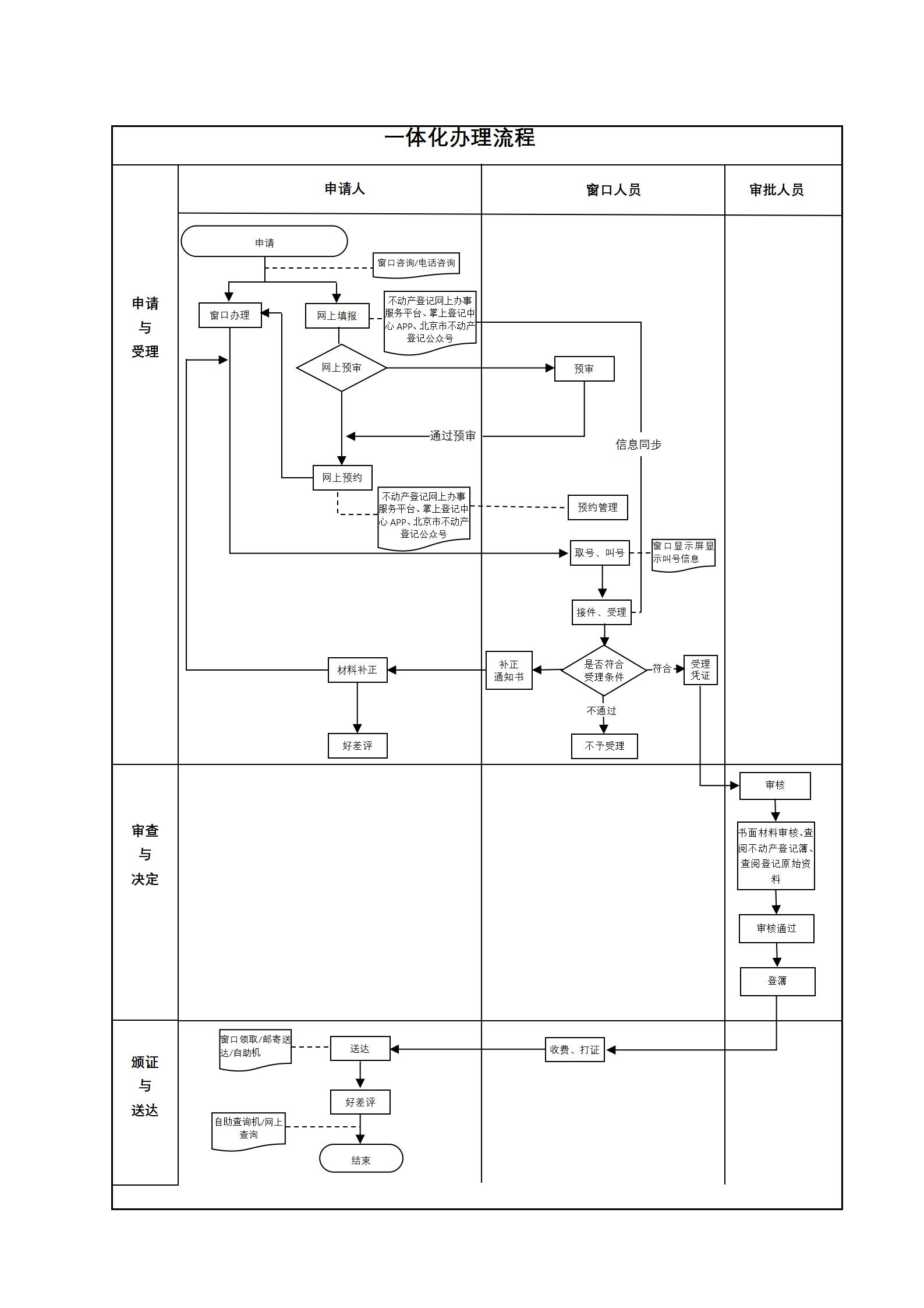
政务服务> 办事指南

抵押权注销登记

北京市

切换简洁版

  • 即办件

    办件类型

  • 0

    到现场次数

  • 30工作日

    法定办结时限

  • 1工作日

    承诺办结时限

好差评

5.0

办件承诺办结时限说明:当日办结(承诺时限为办理流程中“审查与决定”环节的计时时限)

办件承诺办结时限说明:

当日办结(承诺时限为办理流程中“审查与决定”环节的计时时限)

基本信息

实施主体 北京市规划和自然资源委员会 服务对象
事项类型 行政确认 办理形式
受理条件 已经登记的抵押权,发生下列情形之一的,当事人可以申请抵押权注销登记: 1.主债权灭失的; 2.抵押权已经实现的; 3.抵押权人放弃抵押权的; 4.因人民法院、仲裁委员会的生效法律文书导致抵押权灭失的; 5.法律、行政法规规定抵押权灭失的其他情形。 6.申请登记事项在本登记部门的登记职责范围内; 7.申请材料形式符合要求; 8.申请人与依法应当提交的申请材料记载的主体一致; 9.申请登记的不动产权利与登记原因文件记载的不动产权利一致; 10.申请内容与询问记录不冲突。
办理时间 法定工作日: 上午08:30 - 12:00、下午12:00 - 17:30; 周六:上午:08:30 - 12:30(需预约);法定节假日不对外服务。;法定工作日: 上午: 09:00 - 12:00; 下午: 12:00 - 17:00; (延时服务时间: 工作日上午08:30 - 09:00; 下午17:00 - 17:30; 周六上午09:00 - 13:00; )... 查看详情
办理地点 北京市政务服务中心:北京市丰台区西三环南路1号(六里桥西南角)综合窗口 北京城市副中心政务服务中心:北京市通州区新华东街48号二区(东南角)综合窗口 查看详情
咨询方式

咨询电话:

(010)89150318【展开】

咨询窗口地址:

北京市政务服务中心:北京市丰台区西三环南路1号(六里桥西南角)2层C岛综合窗口 北京城市副中心政务服务中心:北京市通州区新华东街48号二区(东南角)(综合窗口)【展开】

投诉监督方式
基本编码 000715001014 事项编码 11110000MB1503996K2000715001014
业务办理项编码 11110000MB1503996K200071500101404 进驻大厅类型
权力来源 法定本级行使 网上支付
所属机构 北京市规划和自然资源委员会 委托部门
联办机构 实施主体性质 法定机关
办理进程查询途径
行使层级 市级 运行系统 市级自建(垂管)
物流快递 办理方式 自办件
预约办理 数量限制 无数量限制
中介服务 权限划分
通办范围 全区 特殊程序
行使内容 对涉及在京中央和国家机关、驻京部队、保密单位的业务为市级办理 ,其余的登记业务在不动产所在地的各区不动产登记中心办理
显示更多

请选择情形:

提示:通过情形选择可引导出您办理该事项所需的材料,若要查看全部材料,请点击"查看全部材料"

查看全部材料 情形引导

收起
我选好了重选条件

序号 材料名称 材料来源 材料
必要性
数量要求 介质要求 表格及样例
下载
受理标准 提供材料
依据
其他要求
申请材料总要求委托办理的:提交授权委托书(原件1份)、受托人身份材料(原件1份,复印件1份);无、限制民事行为能力人申请登记的:提交证实被监护人为无、限制民事行为能力人的材料(原件1份,复印件1份)、监护关系材料(原件1份,复印件1份)、监护人的身份材料(原件1份,复印件1份)
序号 材料名称 材料来源 材料
必要性
数量要求 介质要求 表格及样例
下载
受理标准 提供材料
依据
其他要求
申请材料总要求委托办理的:提交授权委托书(原件1份)、受托人身份材料(原件1份,复印件1份);无、限制民事行为能力人申请登记的:提交证实被监护人为无、限制民事行为能力人的材料(原件1份,复印件1份)、监护关系材料(原件1份,复印件1份)、监护人的身份材料(原件1份,复印件1份)
显示更多

指南分享