2
01
1111000000002888XF
北京市公安局
外国人出入境证签发
1111000000002888XF2110107087000
0
d34e7a01-5bf7-4b79-a9e4-5b1d1ebac94a
39f86123-77a4-4790-93f9-89d91568a4a0
2
01
市公安局
110000000000
北京市公安局
北京市公安局出入境接待大厅:周一至周六(法定及节假日除外)9:00-17:00;北京市公安局出入境管理局中关村外国人服务大厅/公安部中关村外国人永久居留服务大厅:周一至周六(法定及节假日除外)9:00-17:00
北京市公安局出入境接待大厅:北京市东城区安定门东大街2号24-38号窗口 北京市公安局出入境管理局中关村外国人服务大厅/公安部中关村外国人永久居留服务大厅:北京市海淀区双榆树北里甲22号院102-108号窗口
在中国境内的外国人因证件遗失、损毁、被盗抢、失效等原因未持有效护照或者其他国际旅行证件,无法在所属国驻华使领馆补办的。
{"IS_GUIDE":"1","ONLINE_DECLARE_SYSTEM_MODE":"","ITEM_REALITY_USELEVEL":"","SERVICE_OBJCT":"","IS_CONSTRUCTION":"0","CL_SERVICE_TYPE":"","APP_CODE_ID":"","YESNO_CITY_UNICOM":"0^1","CROSS_AREA":"","ISSHOHCENTER":"0","WECHAT_CODE_ID":"","FINANCIAL":"","LITTLEPROGRAM_CODE_NAME":"","CROSS_AREA_ALL":"","CROSS_PROVINCE":"","ALIAS_NAME":"","EAR_DISABILITY_GRAD":"","LIB_DISABILITY_GRAD":"","SPEAK_DISABILITY_GRAD":"","REGISTER":"","ONLINE_HANDLING_DEPTH_STANDARD":"04","APPROVAL_TYPE":"2","MIND_DISABILITY_GRAD":"","ACCEPTSERVICE":"99","YWBLX_ID":"39f86123-77a4-4790-93f9-89d91568a4a0","ONLINE_DECLARE_SYSTEM_DEPT":"","EMPOWER":"0","EXEMPT_MATERIALS":"","LITTLEPROGRAM_CODE_ID":"","EYE_DISABILITY_GRAD":"","ISMONVEINCENTER":"0","DATA_FLAG":"","BUSINESS_APPROVAL_DEPT":"国家移民管理局","POWER_NAME":"\t外国人出入境证签发","ITEM_ATTRIBUTE":"03^04^07^11","CROSS_AREA_ATEXT":"","AGE":"","BGSYSTEM_APPROVAL_OTHER":"全国公安出入境管理信息系统","WIT_DISABILITY_GRAD":"","WECHAT_CODE_NAME":"","POWER_CODE":"B0707300","DISABILITY_TYPE":"","IS_ENABLE_CERTIFICATE_SHARE":"","POWER_ATTRIBUTE":"","ONLY_ID":"fcb24958-4c8e-46a7-a07e-688c6b8dad2f","YES_NO_OPEN":"1","BGSYSTEM_APPROVAL_NAME":"其他","APP_CODE_NAME":"","HOLDER":"","VERSION":"20240415"}
[{"ID":6630560,"TASKGUID":"d34e7a01-5bf7-4b79-a9e4-5b1d1ebac94a","T_ID":"03f90b1c-8c01-47ee-9e30-15b49d34060b","P_ID":"","NAME":"护照是否遗失或者被盗抢","NODE_LEVEL":1,"NODE_PATH":"/03f90b1c-8c01-47ee-9e30-15b49d34060b","CHILD_COUNT":2,"ORDER_NUM":1,"SERIAL_NUMBER":"1","CONDITION_ATTR":"01","IS_RADIO":"1","IS_SUPPORT":"1","SUMMARY":"1 护照是否遗失或者被盗抢\n\t1.1 是\n\t1.2 否","CD_TIME":"Mar 16, 2025 1:36:29 AM","CD_BATCH":"2025031600005","DISTRIBUTETAG":"all-data^non-investment^1111000000002888XF^110000000000^non-construction^1111000000002888XF","DATAJSONTEXT":"{\"VERSION\":\"20220810\",\"TREE_TYPE\":\"\",\"CONSULTATION_QA\":\"\"}","parOrder":"","proOrder":"1","newOrderNum":"001","itemGuideConditionRelatedList":[]},{"ID":6630565,"TASKGUID":"d34e7a01-5bf7-4b79-a9e4-5b1d1ebac94a","T_ID":"cfef5449-f8c7-4903-bbec-6d9ace6a3790","P_ID":"03f90b1c-8c01-47ee-9e30-15b49d34060b","NAME":"是","NODE_LEVEL":2,"NODE_PATH":"/03f90b1c-8c01-47ee-9e30-15b49d34060b/cfef5449-f8c7-4903-bbec-6d9ace6a3790","CHILD_COUNT":0,"ORDER_NUM":1,"SERIAL_NUMBER":"1.1","CONDITION_ATTR":"02","IS_RADIO":"","IS_SUPPORT":"","CD_TIME":"Mar 16, 2025 1:36:29 AM","CD_BATCH":"2025031600005","DISTRIBUTETAG":"all-data^non-investment^1111000000002888XF^110000000000^non-construction^1111000000002888XF","DATAJSONTEXT":"{\"VERSION\":\"20220810\",\"TREE_TYPE\":\"\",\"CONSULTATION_QA\":\"\"}","parOrder":"","proOrder":"","newOrderNum":"001.001","itemGuideConditionRelatedList":[{"ID":25560968,"TASKGUID":"d34e7a01-5bf7-4b79-a9e4-5b1d1ebac94a","T_ID":"cfef5449-f8c7-4903-bbec-6d9ace6a3790","G_ID":"021ca454-9636-49d4-bbab-eaa39b0be62f","M_CODE":"345644","MATERIAL_ID":"8fa0fbe7-c438-4a24-9dd3-df12d5037392","CD_TIME":"Mar 16, 2025 1:36:29 AM","CD_BATCH":"2025031600005","DISTRIBUTETAG":"all-data^non-investment^1111000000002888XF^110000000000^non-construction^1111000000002888XF","DATAJSONTEXT":"{\"VERSION\":\"20210903\"}"},{"ID":25560970,"TASKGUID":"d34e7a01-5bf7-4b79-a9e4-5b1d1ebac94a","T_ID":"cfef5449-f8c7-4903-bbec-6d9ace6a3790","G_ID":"f72debb6-208c-44ce-8ede-ba301e008e42","M_CODE":"345645","MATERIAL_ID":"5ff81226-8ded-4df7-b546-06ffb3c70c54","CD_TIME":"Mar 16, 2025 1:36:29 AM","CD_BATCH":"2025031600005","DISTRIBUTETAG":"all-data^non-investment^1111000000002888XF^110000000000^non-construction^1111000000002888XF","DATAJSONTEXT":"{\"VERSION\":\"20210903\"}"}]},{"ID":6630562,"TASKGUID":"d34e7a01-5bf7-4b79-a9e4-5b1d1ebac94a","T_ID":"761017d4-9181-426e-8856-d65d8d7d81dc","P_ID":"03f90b1c-8c01-47ee-9e30-15b49d34060b","NAME":"否","NODE_LEVEL":2,"NODE_PATH":"/03f90b1c-8c01-47ee-9e30-15b49d34060b/761017d4-9181-426e-8856-d65d8d7d81dc","CHILD_COUNT":0,"ORDER_NUM":2,"SERIAL_NUMBER":"1.2","CONDITION_ATTR":"02","IS_RADIO":"","IS_SUPPORT":"","CD_TIME":"Mar 16, 2025 1:36:29 AM","CD_BATCH":"2025031600005","DISTRIBUTETAG":"all-data^non-investment^1111000000002888XF^110000000000^non-construction^1111000000002888XF","DATAJSONTEXT":"{\"VERSION\":\"20220810\",\"TREE_TYPE\":\"\",\"CONSULTATION_QA\":\"\"}","parOrder":"","proOrder":"","newOrderNum":"001.002","itemGuideConditionRelatedList":[]},{"ID":6630564,"TASKGUID":"d34e7a01-5bf7-4b79-a9e4-5b1d1ebac94a","T_ID":"8f951568-d098-498f-afde-fe5f09e5f1d7","P_ID":"","NAME":"护照是否损毁","NODE_LEVEL":1,"NODE_PATH":"/8f951568-d098-498f-afde-fe5f09e5f1d7","CHILD_COUNT":2,"ORDER_NUM":2,"SERIAL_NUMBER":"2","CONDITION_ATTR":"01","IS_RADIO":"1","IS_SUPPORT":"1","SUMMARY":"2 护照是否损毁\n\t2.1 是\n\t2.2 否","CD_TIME":"Mar 16, 2025 1:36:29 AM","CD_BATCH":"2025031600005","DISTRIBUTETAG":"all-data^non-investment^1111000000002888XF^110000000000^non-construction^1111000000002888XF","DATAJSONTEXT":"{\"VERSION\":\"20220810\",\"TREE_TYPE\":\"\",\"CONSULTATION_QA\":\"\"}","parOrder":"","proOrder":"2","newOrderNum":"002","itemGuideConditionRelatedList":[]},{"ID":6630561,"TASKGUID":"d34e7a01-5bf7-4b79-a9e4-5b1d1ebac94a","T_ID":"63b9f2c8-928d-47fa-8d8c-3d355a297e8f","P_ID":"8f951568-d098-498f-afde-fe5f09e5f1d7","NAME":"是","NODE_LEVEL":2,"NODE_PATH":"/8f951568-d098-498f-afde-fe5f09e5f1d7/63b9f2c8-928d-47fa-8d8c-3d355a297e8f","CHILD_COUNT":0,"ORDER_NUM":1,"SERIAL_NUMBER":"2.1","CONDITION_ATTR":"02","IS_RADIO":"","IS_SUPPORT":"","CD_TIME":"Mar 16, 2025 1:36:29 AM","CD_BATCH":"2025031600005","DISTRIBUTETAG":"all-data^non-investment^1111000000002888XF^110000000000^non-construction^1111000000002888XF","DATAJSONTEXT":"{\"VERSION\":\"20220810\",\"TREE_TYPE\":\"\",\"CONSULTATION_QA\":\"\"}","parOrder":"","proOrder":"","newOrderNum":"002.001","itemGuideConditionRelatedList":[{"ID":25560972,"TASKGUID":"d34e7a01-5bf7-4b79-a9e4-5b1d1ebac94a","T_ID":"63b9f2c8-928d-47fa-8d8c-3d355a297e8f","G_ID":"fe76b620-a69e-4685-8357-271a036e74b5","M_CODE":"345645","MATERIAL_ID":"96c10874-4a26-4433-8696-bad9effef540","CD_TIME":"Mar 16, 2025 1:36:29 AM","CD_BATCH":"2025031600005","DISTRIBUTETAG":"all-data^non-investment^1111000000002888XF^110000000000^non-construction^1111000000002888XF","DATAJSONTEXT":"{\"VERSION\":\"20210903\"}"},{"ID":25560992,"TASKGUID":"d34e7a01-5bf7-4b79-a9e4-5b1d1ebac94a","T_ID":"63b9f2c8-928d-47fa-8d8c-3d355a297e8f","G_ID":"9eabef1e-f6a9-4d89-a18c-068c83b2e896","M_CODE":"345902","MATERIAL_ID":"7e2a995b-5fd5-46ca-ab43-f8ae8e5fb3f8","CD_TIME":"Mar 16, 2025 1:36:29 AM","CD_BATCH":"2025031600005","DISTRIBUTETAG":"all-data^non-investment^1111000000002888XF^110000000000^non-construction^1111000000002888XF","DATAJSONTEXT":"{\"VERSION\":\"20210903\"}"}]},{"ID":6630563,"TASKGUID":"d34e7a01-5bf7-4b79-a9e4-5b1d1ebac94a","T_ID":"7f8700fb-b580-4a5f-b85c-d9d77191632b","P_ID":"8f951568-d098-498f-afde-fe5f09e5f1d7","NAME":"否","NODE_LEVEL":2,"NODE_PATH":"/8f951568-d098-498f-afde-fe5f09e5f1d7/7f8700fb-b580-4a5f-b85c-d9d77191632b","CHILD_COUNT":0,"ORDER_NUM":2,"SERIAL_NUMBER":"2.2","CONDITION_ATTR":"02","IS_RADIO":"","IS_SUPPORT":"","CD_TIME":"Mar 16, 2025 1:36:29 AM","CD_BATCH":"2025031600005","DISTRIBUTETAG":"all-data^non-investment^1111000000002888XF^110000000000^non-construction^1111000000002888XF","DATAJSONTEXT":"{\"VERSION\":\"20220810\",\"TREE_TYPE\":\"\",\"CONSULTATION_QA\":\"\"}","parOrder":"","proOrder":"","newOrderNum":"002.002","itemGuideConditionRelatedList":[]}]
2
1
https://zwfw.gaj.beijing.gov.cn/crjgl/

政务服务> 办事指南

外国人出入境证签发

北京市

切换简洁版

  • 承诺件

    办件类型

  • 1

    到现场次数

  • 15工作日

    法定办结时限

  • 7工作日

    承诺办结时限

好差评

5.0

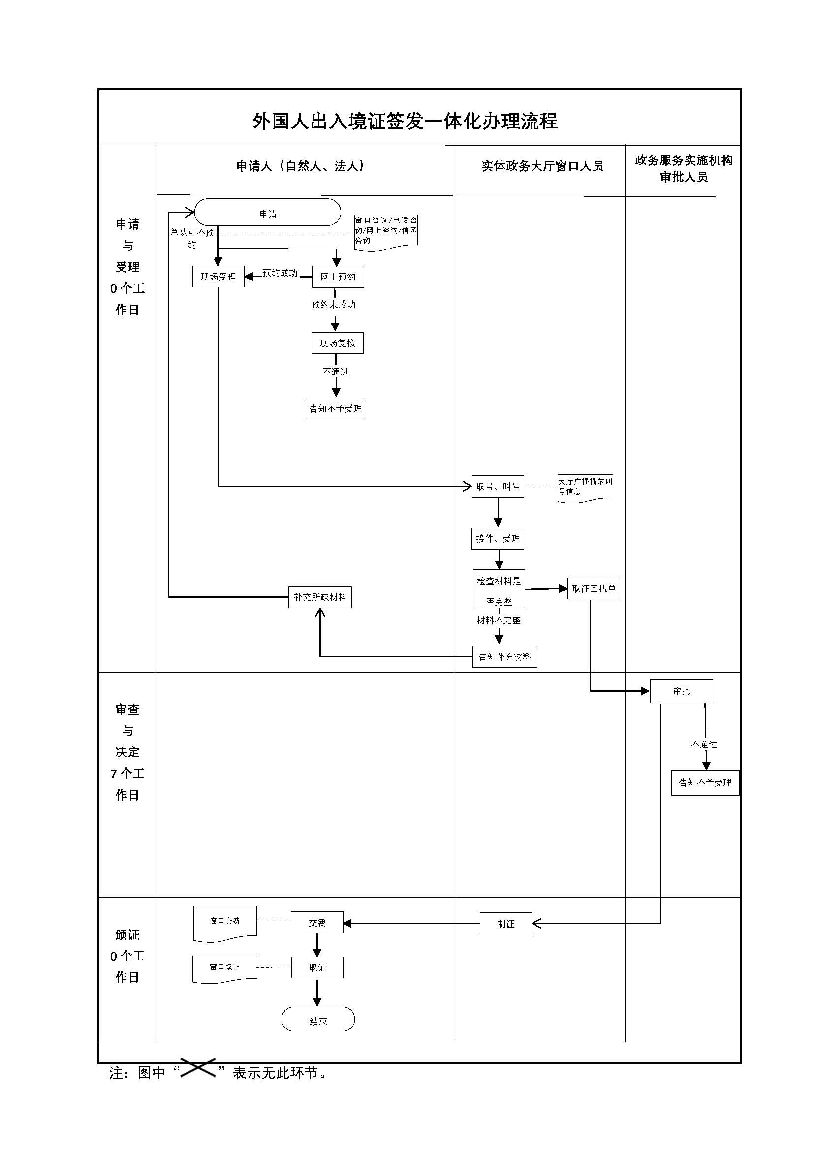
办件承诺办结时限说明:申请资料与实际情况相符,经审批同意的,自受理次日起7个工作日办结(周六受理申请,不计为工作日)。(承诺时限为办理流程中“审查与决定”环节的计时时限)(承诺时限为办理流程中“审查与决定”环节的计时时限)

办件承诺办结时限说明:

申请资料与实际情况相符,经审批同意的,自受理次日起7个工作日办结(周六受理申请,不计为工作日)。(承诺时限为办理流程中“审查与决定”环节的计时时限)(承诺时限为办理流程中“审查与决定”环节的计时时限)

基本信息

实施主体 北京市公安局 服务对象
事项类型 行政许可 办理形式
受理条件 在中国境内的外国人因证件遗失、损毁、被盗抢、失效等原因未持有效护照或者其他国际旅行证件,无法在所属国驻华使领馆补办的。
办理时间 北京市公安局出入境接待大厅:周一至周六(法定及节假日除外)9:00-17:00;北京市公安局出入境管理局中关村外国人服务大厅/公安部中关村外国人永久居留服务大厅:周一至周六(法定及节假日除外)9:00-17:00 查看详情
办理地点 北京市公安局出入境接待大厅:北京市东城区安定门东大街2号24-38号窗口 北京市公安局出入境管理局中关村外国人服务大厅/公安部中关村外国人永久居留服务大厅:北京市海淀区双榆树北里甲22号院102-108号窗口 查看详情
咨询方式

咨询电话:

(010)12367【展开】

咨询窗口地址:

北京市东城区安定门东大街2号北京市公安局出入境接待大厅二层37号窗口【展开】

投诉监督方式
基本编码 110107087000 事项编码 1111000000002888XF2110107087000
业务办理项编码 1111000000002888XF211010708700001 进驻大厅类型
权力来源 法定本级行使 网上支付
所属机构 北京市公安局 委托部门
联办机构 实施主体性质 法定机关
办理进程查询途径
行使层级 市级 运行系统 国家级垂管系统
物流快递 办理方式 自办件
预约办理 数量限制
中介服务 权限划分 分条件办理(市区)
通办范围 全市 特殊程序
行使内容 在中国境内的外国人因证件遗失、损毁、被盗抢、失效等原因未持有效护照或者其他国际旅行证件,无法在所属国驻华使领馆补办的。
必须现场办理原因说明 外国人申请办理签证证件时,应当到公安机关出入境管理机构提交本人的护照或者其他国际旅行证件,以及申请事由的相关材料,按照公安机关出入境管理机构的要求办理相关手续、接受面谈。
显示更多

请选择情形:

提示:通过情形选择可引导出您办理该事项所需的材料,若要查看全部材料,请点击"查看全部材料"

查看全部材料 情形引导

收起
我选好了重选条件

序号 材料名称 材料来源 材料
必要性
数量要求 介质要求 表格及样例
下载
受理标准 提供材料
依据
其他要求
申请材料总要求(一)申请材料均需交验原件。 (二)有关外文(英文除外)材料应当翻译成中文。
序号 材料名称 材料来源 材料
必要性
数量要求 介质要求 表格及样例
下载
受理标准 提供材料
依据
其他要求
申请材料总要求(一)申请材料均需交验原件。 (二)有关外文(英文除外)材料应当翻译成中文。
显示更多

指南分享