政务服务> 办事指南
北京市
切换简洁版
基本信息
| 实施主体 | 北京市公安局 | 服务对象 | |
| 事项类型 | 行政许可 | 办理形式 | |
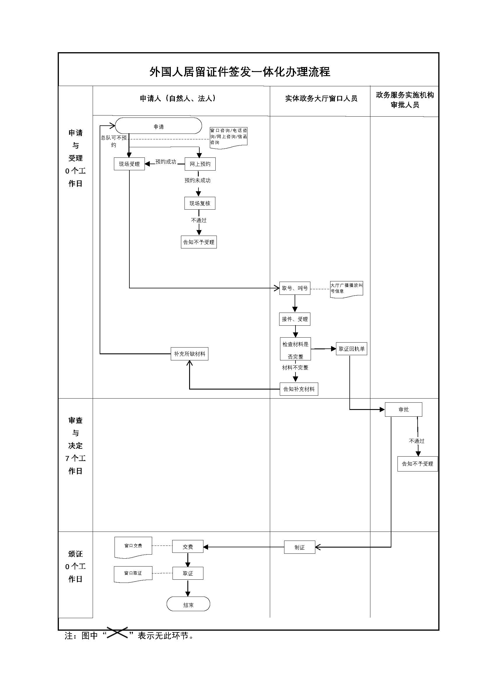
| 受理条件 | 1、工作类居留许可:在北京工作的外国人。 2、申请团聚类居留证件及延期(探亲):长期探望在京中国公民、具有永久居留资格的外国人的外籍家庭成员,家庭成员包括配偶、父母、配偶的父母、子女、兄弟姐妹、祖父母、外祖父母、孙子女、外孙子女,以及子女的配偶。 3、外国人申请团聚类居留证件及延期(寄养):外籍华人、华侨在京寄养的未满18周岁的外籍子女。 4、外国人申请私人事务类居留证件及延期。 5、外籍人才申请工作类居留许可(加注“人才”): (1)经北京市委组织部、北京市人力资源和社会保障局或外国专家局等人才主管部门认定的外籍高层次人才; (2)经北京科技创新主管部门认可企业聘雇并担保的行业高级专业人才。 6、外国人申请私人事务类居留证件及延期(创业): (1)具有在北京创新创业意愿,并在我国高等院校毕业的外国留学生; (2)计划来北京投资或者创新创业的外国人。 7、外国人申请私人事务类居留证件及延期(家政服务):已获得永久居留资格或持有北京签发的工作类居留许可的外籍高层次人才、创新创业人才和港澳高层次人才聘雇的外籍家政服务人员。 8、外国人申请学习类居留证件及延期:在京长期学习的外国人。 9、外国留学生申请加注“实习”、“勤工助学”、“创业”:1.因专业培养需要,确需参与校外实习的北京高等学校在读外国留学生。2.在学校组织和管理下,确需利用课余时间,通过劳动取得合法报酬,用于改善学习和生活条件的北京高等学校在读外国留学生。3.在中关村、市“两区”等国家重点发展区域兼职创业的北京高校外籍学生。 10、外国人申请记者类居留证件及延期:在京外国常驻记者。 11、外国人申请短期工作类居留证件:外国人入境完成短期工作任务,指因下列事由,持Z签证入境,且在境内停留不超过90日的: (1)到境内合作方完成某项技术、科研、管理、指导工作; (2)到境内体育机构进行试训(包括教练员、运动员); (3)拍摄影片(包括广告片、纪录片); (4)时装表演(包括车模、拍摄平面广告); (5)从事涉外营业性演出; (6)北京市海外学人中心认定的其他情形。 | ||
| 办理时间 | 北京市公安局出入境管理局中关村外国人服务大厅/公安部中关村外国人永久居留服务大厅:法定工作日: 上午: 09:00 - 12:00; 下午: 12:00 - 17:00; (延时服务时间: 周六上午09:00 - 12:00; 下午12:00 - 17:00; ); 北京市政务服务中心:法定工作日: 上午08:30 - 12:00、下午12:00 - 17:30; 周六:上午:08:30 - 12:30(需预约);法定节假日不对外服务。; 查看详情 | ||
| 办理地点 | 北京市公安局出入境管理局中关村外国人服务大厅/公安部中关村外国人永久居留服务大厅:北京市海淀区双榆树北里甲22号院外国人接待窗口; 北京市政务服务中心:北京市丰台区西三环南路1号(六里桥西南角)外国人接待窗口; 查看详情 | ||
| 咨询方式 |
咨询电话: (010)12367【展开】 咨询窗口地址: 北京市东城区安定门东大街2号北京市公安局出入境接待大厅二层37号窗口;北京市海淀区双榆树北里甲22号院北京市公安局出入境管理局中关村外国人服务大厅接待台;北京市丰台区西三环南路1号(北京市政务服务中心三层C区)北京市公安局出入境管理局市政务服务中心分部咨询台;北京市朝阳区酒仙桥北路甲10号电子城IT产业园304楼北京市公安局朝阳分局外国人出入境服务大厅1号窗口;北京市公安局朝阳出入境(CBD)外国人服务厅外国人窗口;北京市顺义区天柱东路甲3号办公楼北京市公安局顺义分局外国人出入境服务大厅咨询台;北京市石景山区古城南里甲3号北京市公安局石景山分局外国人出入境服务厅窗口;北京市通州区永顺镇北关大街19号北京市公安局通州分局外国人出入境服务厅窗口;北京市经济技术开发区荣华中路10号亦城国际裙楼二层北京市公安局大兴分局经济技术开发区外国人服务厅窗口;北京市公安局丰台分局外国人出入境服务厅外国人窗口;北京市公安局怀柔分局外国人出入境服务厅外国人窗口;北京市公安局延庆分局外国人出入境服务厅外国人窗口;北京市公安局东城分局外国人出入境服务厅外国人窗口。【展开】 |
||
| 投诉监督方式 | |||
| 基本编码 | 110107086000 | 事项编码 | 1111000000002888XF2110107086000 |
| 业务办理项编码 | 1111000000002888XF211010708600001 | 进驻大厅类型 | |
| 权力来源 | 法定本级行使 | 网上支付 | 否 |
| 所属机构 | 北京市公安局 | 委托部门 | 无 |
| 联办机构 | 无 | 实施主体性质 | 法定机关 |
| 办理进程查询途径 | |||
| 行使层级 | 市级 | 运行系统 | 国家级垂管系统 |
| 物流快递 | 否 | 办理方式 | 初审件 |
| 预约办理 | 数量限制 | 无 | |
| 中介服务 | 无 | 权限划分 | |
| 通办范围 | 全市 | 特殊程序 | 无 |
| 行使内容 | 市级受理各类外国人签证证件,分局受理除中关村新政外的各类外国人签证证件。 | ||
| 必须现场办理原因说明 | 外国人申请办理签证证件时,应当到公安机关出入境管理机构提交本人的护照或者其他国际旅行证件,以及申请事由的相关材料,按照公安机关出入境管理机构的要求办理相关手续、接受面谈。 | ||

无
| 序号 | 材料名称 | 材料来源 | 材料 必要性 |
数量要求 | 介质要求 | 表格及样例 下载 |
受理标准 | 提供材料 依据 |
其他要求 | 申请材料总要求 | 在中国境内居留的外国人申请延长居留期限,应当在居留证件有效期届满三十日前提出申请。外国人居留证件登记事项发生变更的(包括:持有人姓名、性别、出生日期、居留事由、居留期限,签发日期、地点,护照或者其他国际旅行证件号码等),持证件人应当自登记事项发生变更之日起十日内向居留地县级以上地方人民政府公安机关出入境管理机构申请办理变更。申请人须接受面谈。未满16周岁或者已满60周岁以及因疾病等原因行动不便的,延期居留证件的,可以由邀请单位或者个人、申请人的亲属、有关专门服务机构代为申请(需提交代办人身份证件复印件)。但出入境管理局通知面谈的,须本人接受面谈。申请材料应完整、清晰,要求签字的须签字,要求盖章的须加盖企业机构单位公章;使用A4纸打印或复印;申请材料均交验原件;外文(英文除外)材料应当翻译成中文;未注销中国户籍的人员,应注销户籍后再提出申请。未满18周岁在华首次申请的,还应提交《出生医学证明》或《出生纸》、父母的护照及境外《永久居留证》等国籍认定相关材料。 |
|---|
| 序号 | 材料名称 | 材料来源 | 材料 必要性 |
数量要求 | 介质要求 | 表格及样例 下载 |
受理标准 | 提供材料 依据 |
其他要求 | 申请材料总要求 | 在中国境内居留的外国人申请延长居留期限,应当在居留证件有效期届满三十日前提出申请。外国人居留证件登记事项发生变更的(包括:持有人姓名、性别、出生日期、居留事由、居留期限,签发日期、地点,护照或者其他国际旅行证件号码等),持证件人应当自登记事项发生变更之日起十日内向居留地县级以上地方人民政府公安机关出入境管理机构申请办理变更。申请人须接受面谈。未满16周岁或者已满60周岁以及因疾病等原因行动不便的,延期居留证件的,可以由邀请单位或者个人、申请人的亲属、有关专门服务机构代为申请(需提交代办人身份证件复印件)。但出入境管理局通知面谈的,须本人接受面谈。申请材料应完整、清晰,要求签字的须签字,要求盖章的须加盖企业机构单位公章;使用A4纸打印或复印;申请材料均交验原件;外文(英文除外)材料应当翻译成中文;未注销中国户籍的人员,应注销户籍后再提出申请。未满18周岁在华首次申请的,还应提交《出生医学证明》或《出生纸》、父母的护照及境外《永久居留证》等国籍认定相关材料。 |
|---|

无
无
指南分享