政务服务> 办事指南
北京市
切换简洁版
基本信息
| 实施主体 | 北京市丰台区医疗保障局 | 服务对象 | |
| 事项类型 | 公共服务 | 办理形式 | |
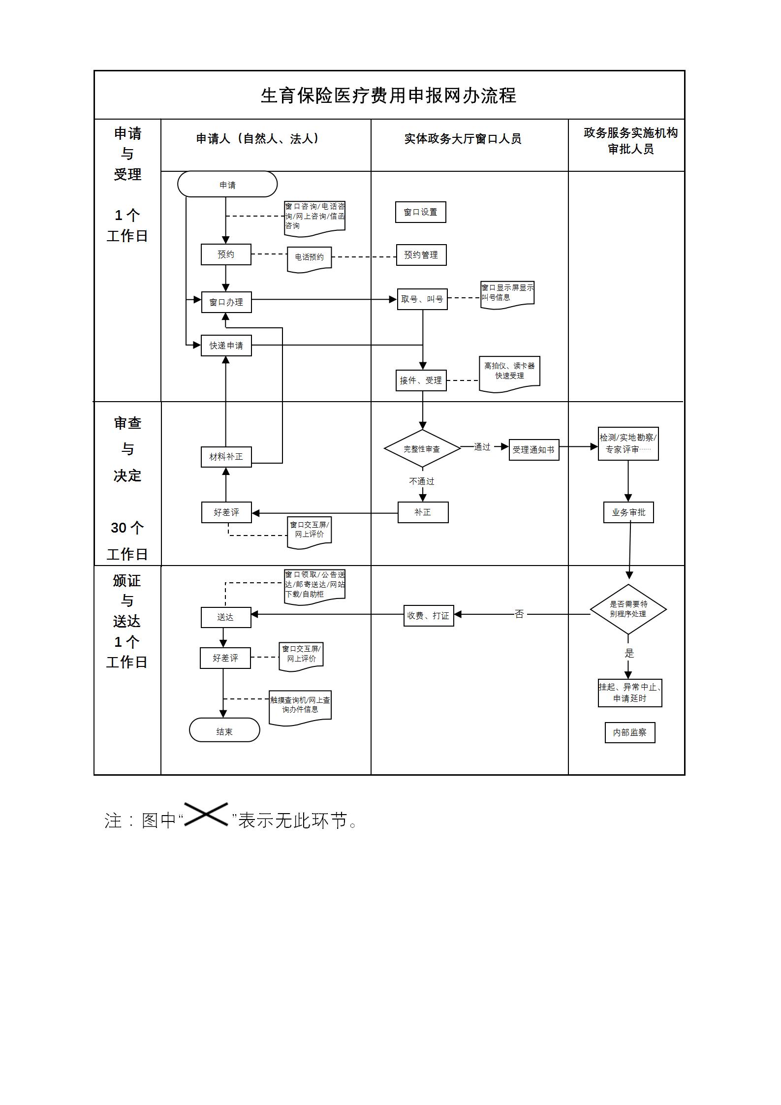
| 受理条件 | 2、生育保险参保职工持社保卡或医保电子凭证结算医疗费用时,定点医疗机构应为享受待遇的生育保险参保职工垫付由生育保险基金支付的医疗费用,向生育保险参保职工收取个人应付费用,并为生育保险参保职工出具相关结算单据。(来源:《关于北京市生育保险参保职工持社会保障卡就医及医疗费用结算有关问题的通知》京医保发〔2013〕34号第二条第一款第2项、《关于持医保电子凭证就医结算流程有关问题的通知》京医保中心发[2020]90号) 3、定点医疗机构应在完成结算后48小时内,通过网络或报盘方式将结算数据上传到生育保险信息系统。(来源:《关于北京市生育保险参保职工持社会保障卡就医及医疗费用结算有关问题的通知》京医保发〔2013〕34号第二条第一款第3项) 4.结算数据填写完整,真实有效。 | ||
| 办理时间 | 丰台区政务服务中心医保专区:法定工作日: 上午: 08:30 - 12:00; 下午: 12:00 - 17:30; (延时服务时间: 工作日上午08:30 - 09:00; 下午17:00 - 17:30需预约; 周六上午08:30 - 12:30需预约,社会保险专区仅受理社保卡、手工报销及咨询业务) 查看详情 | ||
| 办理地点 | 丰台区政务服务中心医保专区:北京市丰台区南苑路7号丰台政务服务中心五层社会保险专区综合窗口 查看详情 | ||
| 咨询方式 |
咨询电话: (010)63252388【展开】 咨询窗口地址: 丰台区政务服务中心:北京市丰台区南苑路7号(南三环木樨园桥西南角)五层社会保险专区综合咨询台【展开】 |
||
| 投诉监督方式 | |||
| 基本编码 | 112041050002 | 事项编码 | 11110106MB1960791P3112041050002 |
| 业务办理项编码 | 11110106MB1960791P311204105000201 | 进驻大厅类型 | |
| 权力来源 | 法定本级行使 | 网上支付 | 否 |
| 所属机构 | 北京市丰台区医疗保障局 | 委托部门 | 无 |
| 联办机构 | 无 | 实施主体性质 | 法定机关 |
| 办理进程查询途径 | |||
| 行使层级 | 区级 | 运行系统 | 市级自建(垂管) |
| 物流快递 | 是 | 办理方式 | 自办件 |
| 预约办理 | 数量限制 | 无 | |
| 中介服务 | 无 | 权限划分 | |
| 通办范围 | 全区 | 特殊程序 | 无 |
| 行使内容 | 无 | ||

指南分享