3
07
11110108000057824L
北京市海淀区财政局
非营利组织免税资格认定
11110108000057824L3000713001000
0
013b2cf4-e294-4381-bbbb-5857d1889304
210d0cbd-db99-40c7-8e57-3dd293bb5000
3
07
海淀区财政局
110108000000
北京市海淀区财政局
海淀区政务服务中心(上地办公区):工作日:上午09:00-12:00,下午13:30-17:00(延时服务时间:工作日08:30-09:00,12:00-13:30,17:00-17:30)
海淀区政务服务中心(上地办公区):北京市海淀区东北旺南路甲29号3层105窗口
一、依据本通知认定的符合条件的非营利组织,必须同时满足以下条件: (一)依照国家有关法律法规设立或登记的事业单位、社会团体、基金会、社会服务机构、宗教活动场所、宗教院校以及财政部、税务总局认定的其他非营利组织; (二)从事公益性或者非营利性活动; (三)取得的收入除用于与该组织有关的、合理的支出外,全部用于登记核定或者章程规定的公益性或者非营利性事业; (四)财产及其孳息不用于分配,但不包括合理的工资薪金支出; (五)按照登记核定或者章程规定,该组织注销后的剩余财产用于公益性或者非营利性目的,或者由登记管理机关采取转赠给与该组织性质、宗旨相同的组织等处置方式,并向社会公告; (六)投入人对投入该组织的财产不保留或者享有任何财产权利,本款所称投入人是指除各级人民政府及其部门外的法人、自然人和其他组织; (七)工作人员工资福利开支控制在规定的比例内,不变相分配该组织的财产,其中:工作人员平均工资薪金水平不得超过税务登记所在地的地市级(含地市级)以上地区的同行业同类组织平均工资水平的两倍,工作人员福利按照国家有关规定执行; (八)对取得的应纳税收入及其有关的成本、费用、损失应与免税收入及其有关的成本、费用、损失分别核算。 二、经省级(含省级)以上登记管理机关批准设立或登记的非营利组织,凡符合规定条件的,应向其所在地省级税务主管机关提出免税资格申请,并提供本通知规定的相关材料;经地市级或县级登记管理机关批准设立或登记的非营利组织,凡符合规定条件的,分别向其所在地的地市级或县级税务主管机关提出免税资格申请,并提供本通知规定的相关材料。财政、税务部门按照上述管理权限,对非营利组织享受免税的资格联合进行审核确认,并定期予以公布。 三、申请享受免税资格的非营利组织,需报送以下材料: (一)申请报告; (二)事业单位、社会团体、基金会、社会服务机构的组织章程或宗教活动场所、宗教院校的管理制度; (三)非营利组织注册登记证件的复印件; (四)上一年度的资金来源及使用情况、公益活动和非营利活动的明细情况; (五)上一年度的工资薪金情况专项报告,包括薪酬制度、工作人员整体平均工资薪金水平、工资福利占总支出比例、重要人员工资薪金信息(至少包括工资薪金水平排名前10的人员); (六)具有资质的中介机构鉴证的上一年度财务报表和审计报告; (七)登记管理机关出具的事业单位、社会团体、基金会、社会服务机构、宗教活动场所、宗教院校上一年度符合相关法律法规和国家政策的事业发展情况或非营利活动的材料; (八)财政、税务部门要求提供的其他材料。 (来源《关于非营利组织免税资格认定管理有关问题的通知》第一条第二条第三条) 四、材料齐全,填写完整, 五、申请材料所载基本信息与提交的批复文件所载内容一致
{"IS_GUIDE":"1","ONLINE_DECLARE_SYSTEM_MODE":"99","ITEM_REALITY_USELEVEL":"","SERVICE_OBJCT":"","IS_CONSTRUCTION":"0","CL_SERVICE_TYPE":"","APP_CODE_ID":"","YESNO_CITY_UNICOM":"99","CROSS_AREA":"","ISSHOHCENTER":"0","WECHAT_CODE_ID":"","FINANCIAL":"","LITTLEPROGRAM_CODE_NAME":"","CROSS_AREA_ALL":"","CROSS_PROVINCE":"","ALIAS_NAME":"[\"非营利组织免税资格认定\"]","EAR_DISABILITY_GRAD":"","LIB_DISABILITY_GRAD":"","SPEAK_DISABILITY_GRAD":"","REGISTER":"","ONLINE_HANDLING_DEPTH_STANDARD":"05","APPROVAL_TYPE":"2","MIND_DISABILITY_GRAD":"","ACCEPTSERVICE":"99","YWBLX_ID":"210d0cbd-db99-40c7-8e57-3dd293bb5000","ONLINE_DECLARE_SYSTEM_DEPT":"","CONSTRUCTION_EXPANSION":"0","EMPOWER":"0","EXEMPT_MATERIALS":"","LITTLEPROGRAM_CODE_ID":"","EYE_DISABILITY_GRAD":"","ISMONVEINCENTER":"0","DATA_FLAG":"","BUSINESS_APPROVAL_DEPT":"国家税务总局","POWER_NAME":"非营利组织免税资格认定","ITEM_ATTRIBUTE":"04^05^11","CROSS_AREA_ATEXT":"","AGE":"","BGSYSTEM_APPROVAL_OTHER":"国家税务总局北京市电子税务局","WIT_DISABILITY_GRAD":"","WECHAT_CODE_NAME":"","POWER_CODE":"H1000100","DISABILITY_TYPE":"","IS_ENABLE_CERTIFICATE_SHARE":"0","POWER_ATTRIBUTE":"1","ONLY_ID":"0b649a21-81ed-11ea-8de7-fa163e4f9ad9","YES_NO_OPEN":"1","BGSYSTEM_APPROVAL_NAME":"其他","APP_CODE_NAME":"","HOLDER":"","VERSION":"20241125"}
[{"ID":8258322,"TASKGUID":"013b2cf4-e294-4381-bbbb-5857d1889304","T_ID":"bba56bb9-8688-4f9d-9ec2-39affd59a85a","P_ID":"","NAME":"是否属于新办非营利组织","NODE_LEVEL":1,"NODE_PATH":"/bba56bb9-8688-4f9d-9ec2-39affd59a85a","CHILD_COUNT":2,"ORDER_NUM":1,"SERIAL_NUMBER":"1","CONDITION_ATTR":"01","IS_RADIO":"1","IS_SUPPORT":"1","SUMMARY":"1 是否属于新办非营利组织\n\t1.1 是\n\t1.2 否","CD_TIME":"Feb 12, 2026 4:50:42 PM","CD_BATCH":"2026021200019","DISTRIBUTETAG":"all-data^non-investment^11110108000057824L^110108000000^non-construction^11110000000021207E^non-construction_expansion","DATAJSONTEXT":"{\"VERSION\":\"20220810\",\"TREE_TYPE\":\"\",\"CONSULTATION_QA\":\"\"}","parOrder":"","proOrder":"1","newOrderNum":"001","itemGuideConditionRelatedList":[]},{"ID":8258324,"TASKGUID":"013b2cf4-e294-4381-bbbb-5857d1889304","T_ID":"ea4ce718-6ce4-46cf-aaa0-7769cbe3b241","P_ID":"bba56bb9-8688-4f9d-9ec2-39affd59a85a","NAME":"是","NODE_LEVEL":2,"NODE_PATH":"/bba56bb9-8688-4f9d-9ec2-39affd59a85a/ea4ce718-6ce4-46cf-aaa0-7769cbe3b241","CHILD_COUNT":0,"ORDER_NUM":1,"SERIAL_NUMBER":"1.1","CONDITION_ATTR":"02","IS_RADIO":"","IS_SUPPORT":"","CD_TIME":"Feb 12, 2026 4:50:42 PM","CD_BATCH":"2026021200019","DISTRIBUTETAG":"all-data^non-investment^11110108000057824L^110108000000^non-construction^11110000000021207E^non-construction_expansion","DATAJSONTEXT":"{\"VERSION\":\"20220810\",\"TREE_TYPE\":\"\",\"CONSULTATION_QA\":\"\"}","parOrder":"","proOrder":"","newOrderNum":"001.001","itemGuideConditionRelatedList":[{"ID":26788842,"TASKGUID":"013b2cf4-e294-4381-bbbb-5857d1889304","T_ID":"ea4ce718-6ce4-46cf-aaa0-7769cbe3b241","G_ID":"267a544b-95f6-4d98-a6da-20b5d360177e","M_CODE":"205701","MATERIAL_ID":"05f5e76f-7e97-499b-a8d6-4968cf8c0b81","CD_TIME":"Feb 12, 2026 4:50:42 PM","CD_BATCH":"2026021200019","DISTRIBUTETAG":"all-data^non-investment^11110108000057824L^110108000000^non-construction^11110000000021207E^non-construction_expansion","DATAJSONTEXT":"{\"VERSION\":\"20210903\"}"},{"ID":26788843,"TASKGUID":"013b2cf4-e294-4381-bbbb-5857d1889304","T_ID":"ea4ce718-6ce4-46cf-aaa0-7769cbe3b241","G_ID":"78cef0bb-60ae-410b-9807-a2225696afd8","M_CODE":"205697","MATERIAL_ID":"bd1675c9-590d-457b-9566-1c815fef0fd2","CD_TIME":"Feb 12, 2026 4:50:42 PM","CD_BATCH":"2026021200019","DISTRIBUTETAG":"all-data^non-investment^11110108000057824L^110108000000^non-construction^11110000000021207E^non-construction_expansion","DATAJSONTEXT":"{\"VERSION\":\"20210903\"}"},{"ID":26788844,"TASKGUID":"013b2cf4-e294-4381-bbbb-5857d1889304","T_ID":"ea4ce718-6ce4-46cf-aaa0-7769cbe3b241","G_ID":"4576e201-5072-4a3a-b5ef-c4a6ffa26611","M_CODE":"101568","MATERIAL_ID":"aaba7af3-624e-4e9a-b6ad-fd050a8466ad","CD_TIME":"Feb 12, 2026 4:50:42 PM","CD_BATCH":"2026021200019","DISTRIBUTETAG":"all-data^non-investment^11110108000057824L^110108000000^non-construction^11110000000021207E^non-construction_expansion","DATAJSONTEXT":"{\"VERSION\":\"20210903\"}"},{"ID":26788845,"TASKGUID":"013b2cf4-e294-4381-bbbb-5857d1889304","T_ID":"ea4ce718-6ce4-46cf-aaa0-7769cbe3b241","G_ID":"a59877bb-71c6-4914-9500-32712ca0e7a3","M_CODE":"204849","MATERIAL_ID":"71ac71b4-b433-4bf6-b389-774b8ca17d91","CD_TIME":"Feb 12, 2026 4:50:42 PM","CD_BATCH":"2026021200019","DISTRIBUTETAG":"all-data^non-investment^11110108000057824L^110108000000^non-construction^11110000000021207E^non-construction_expansion","DATAJSONTEXT":"{\"VERSION\":\"20210903\"}"},{"ID":26788846,"TASKGUID":"013b2cf4-e294-4381-bbbb-5857d1889304","T_ID":"ea4ce718-6ce4-46cf-aaa0-7769cbe3b241","G_ID":"9ca5021d-afed-478c-81a7-bdec0c1786d6","M_CODE":"101567","MATERIAL_ID":"1ba61d73-80d6-47e9-8235-a224948020da","CD_TIME":"Feb 12, 2026 4:50:42 PM","CD_BATCH":"2026021200019","DISTRIBUTETAG":"all-data^non-investment^11110108000057824L^110108000000^non-construction^11110000000021207E^non-construction_expansion","DATAJSONTEXT":"{\"VERSION\":\"20210903\"}"},{"ID":26788847,"TASKGUID":"013b2cf4-e294-4381-bbbb-5857d1889304","T_ID":"ea4ce718-6ce4-46cf-aaa0-7769cbe3b241","G_ID":"a0455b34-b419-4e59-bf80-4bd9d8ad610e","M_CODE":"205698","MATERIAL_ID":"3a8e2a9a-21cd-4c59-98ea-3ab8983346c0","CD_TIME":"Feb 12, 2026 4:50:42 PM","CD_BATCH":"2026021200019","DISTRIBUTETAG":"all-data^non-investment^11110108000057824L^110108000000^non-construction^11110000000021207E^non-construction_expansion","DATAJSONTEXT":"{\"VERSION\":\"20210903\"}"}]},{"ID":8258323,"TASKGUID":"013b2cf4-e294-4381-bbbb-5857d1889304","T_ID":"c0410514-2262-4885-bc23-78f817087c56","P_ID":"bba56bb9-8688-4f9d-9ec2-39affd59a85a","NAME":"否","NODE_LEVEL":2,"NODE_PATH":"/bba56bb9-8688-4f9d-9ec2-39affd59a85a/c0410514-2262-4885-bc23-78f817087c56","CHILD_COUNT":0,"ORDER_NUM":2,"SERIAL_NUMBER":"1.2","CONDITION_ATTR":"02","IS_RADIO":"","IS_SUPPORT":"","CD_TIME":"Feb 12, 2026 4:50:42 PM","CD_BATCH":"2026021200019","DISTRIBUTETAG":"all-data^non-investment^11110108000057824L^110108000000^non-construction^11110000000021207E^non-construction_expansion","DATAJSONTEXT":"{\"VERSION\":\"20220810\",\"TREE_TYPE\":\"\",\"CONSULTATION_QA\":\"\"}","parOrder":"","proOrder":"","newOrderNum":"001.002","itemGuideConditionRelatedList":[]}]
2
3^4^9
https://etax.beijing.chinatax.gov.cn/WSBST/bsdt/login/fylLogin.jsp

政务服务> 办事指南

非营利组织免税资格认定

北京市

切换简洁版

  • 承诺件

    办件类型

  • 0

    到现场次数

  • 90工作日

    法定办结时限

  • 90工作日

    承诺办结时限

好差评

5.0

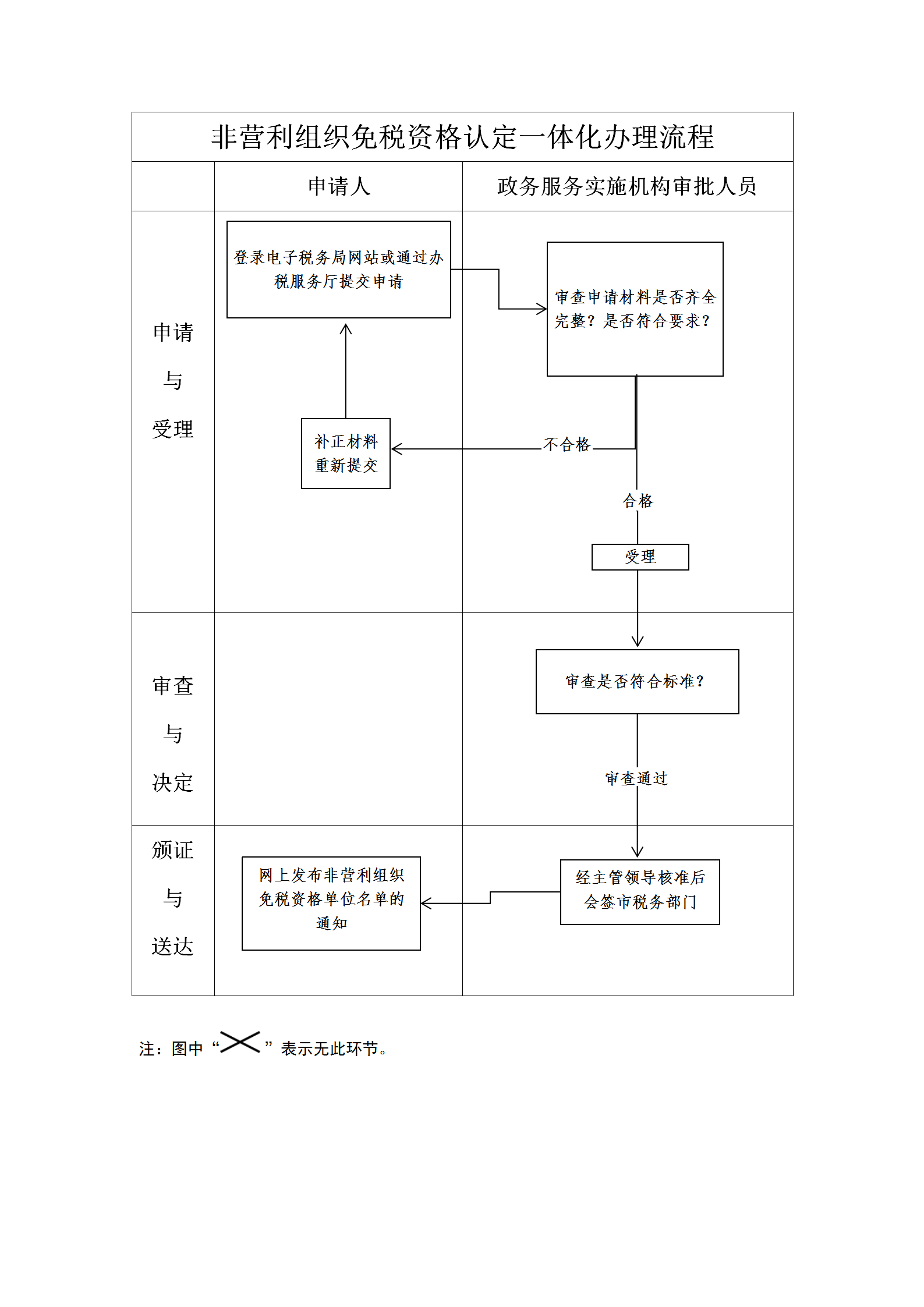
办件承诺办结时限说明:(承诺时限为办理流程中“审查与决定”环节的计时时限)

办件承诺办结时限说明:

(承诺时限为办理流程中“审查与决定”环节的计时时限)

基本信息

实施主体 北京市海淀区财政局 服务对象
事项类型 行政确认 办理形式
受理条件 一、依据本通知认定的符合条件的非营利组织,必须同时满足以下条件: (一)依照国家有关法律法规设立或登记的事业单位、社会团体、基金会、社会服务机构、宗教活动场所、宗教院校以及财政部、税务总局认定的其他非营利组织; (二)从事公益性或者非营利性活动; (三)取得的收入除用于与该组织有关的、合理的支出外,全部用于登记核定或者章程规定的公益性或者非营利性事业; (四)财产及其孳息不用于分配,但不包括合理的工资薪金支出; (五)按照登记核定或者章程规定,该组织注销后的剩余财产用于公益性或者非营利性目的,或者由登记管理机关采取转赠给与该组织性质、宗旨相同的组织等处置方式,并向社会公告; (六)投入人对投入该组织的财产不保留或者享有任何财产权利,本款所称投入人是指除各级人民政府及其部门外的法人、自然人和其他组织; (七)工作人员工资福利开支控制在规定的比例内,不变相分配该组织的财产,其中:工作人员平均工资薪金水平不得超过税务登记所在地的地市级(含地市级)以上地区的同行业同类组织平均工资水平的两倍,工作人员福利按照国家有关规定执行; (八)对取得的应纳税收入及其有关的成本、费用、损失应与免税收入及其有关的成本、费用、损失分别核算。 二、经省级(含省级)以上登记管理机关批准设立或登记的非营利组织,凡符合规定条件的,应向其所在地省级税务主管机关提出免税资格申请,并提供本通知规定的相关材料;经地市级或县级登记管理机关批准设立或登记的非营利组织,凡符合规定条件的,分别向其所在地的地市级或县级税务主管机关提出免税资格申请,并提供本通知规定的相关材料。财政、税务部门按照上述管理权限,对非营利组织享受免税的资格联合进行审核确认,并定期予以公布。 三、申请享受免税资格的非营利组织,需报送以下材料: (一)申请报告; (二)事业单位、社会团体、基金会、社会服务机构的组织章程或宗教活动场所、宗教院校的管理制度; (三)非营利组织注册登记证件的复印件; (四)上一年度的资金来源及使用情况、公益活动和非营利活动的明细情况; (五)上一年度的工资薪金情况专项报告,包括薪酬制度、工作人员整体平均工资薪金水平、工资福利占总支出比例、重要人员工资薪金信息(至少包括工资薪金水平排名前10的人员); (六)具有资质的中介机构鉴证的上一年度财务报表和审计报告; (七)登记管理机关出具的事业单位、社会团体、基金会、社会服务机构、宗教活动场所、宗教院校上一年度符合相关法律法规和国家政策的事业发展情况或非营利活动的材料; (八)财政、税务部门要求提供的其他材料。 (来源《关于非营利组织免税资格认定管理有关问题的通知》第一条第二条第三条) 四、材料齐全,填写完整, 五、申请材料所载基本信息与提交的批复文件所载内容一致
办理时间 海淀区政务服务中心(上地办公区):工作日:上午09:00-12:00,下午13:30-17:00(延时服务时间:工作日08:30-09:00,12:00-13:30,17:00-17:30) 查看详情
办理地点 海淀区政务服务中心(上地办公区):北京市海淀区东北旺南路甲29号3层105窗口 查看详情
咨询方式

咨询电话:

(010)88112366【展开】

咨询窗口地址:

国家税务总局北京市海淀区税务局第一税务所:北京市海淀区东冉北街9号互联网金融产业园二层综合窗口;国家税务总局北京市海淀区税务局第四税务所:北京市海淀区东北旺南路甲29号3层105窗口。【展开】

投诉监督方式
基本编码 000713001000 事项编码 11110108000057824L3000713001000
业务办理项编码 11110108000057824L300071300100001 进驻大厅类型
权力来源 法定本级行使 网上支付
所属机构 北京市海淀区财政局 委托部门
联办机构 国家税务总局北京市海淀区税务局 实施主体性质 法定机关
办理进程查询途径
行使层级 区级 运行系统 国家级垂管系统
物流快递 办理方式 联办件
预约办理 数量限制 无数量限制
中介服务 权限划分
通办范围 特殊程序
行使内容 经省级(含省级)以上登记管理机关批准设立或登记的非营利组织,凡符合规定条件的,应向其所在地省级税务主管机关提出免税资格申请,并提供本通知规定的相关材料;经地市级或县级登记管理机关批准设立或登记的非营利组织,凡符合规定条件的,分别向其所在地的地市级或县级税务主管机关提出免税资格申请,并提供本通知规定的相关材料。
显示更多

请选择情形:

提示:通过情形选择可引导出您办理该事项所需的材料,若要查看全部材料,请点击"查看全部材料"

查看全部材料 情形引导

收起
我选好了重选条件

序号 材料名称 材料来源 材料
必要性
数量要求 介质要求 表格及样例
下载
受理标准 提供材料
依据
其他要求
申请材料总要求
序号 材料名称 材料来源 材料
必要性
数量要求 介质要求 表格及样例
下载
受理标准 提供材料
依据
其他要求
申请材料总要求
显示更多

指南分享