政务服务> 办事指南
北京市
切换简洁版
基本信息
| 实施主体 | 北京市规划和自然资源委员会海淀分局 | 服务对象 | |
| 事项类型 | 行政确认 | 办理形式 | |
| 受理条件 | 1、不动产界址、空间界限、面积等材料与申请登记的不动产状况一致;2、有关证明材料、文件与申请登记的内容一致;3、登记申请符合法律、行政法规规定。(依据来源:《不动产登记暂行条例》第十八条) | ||
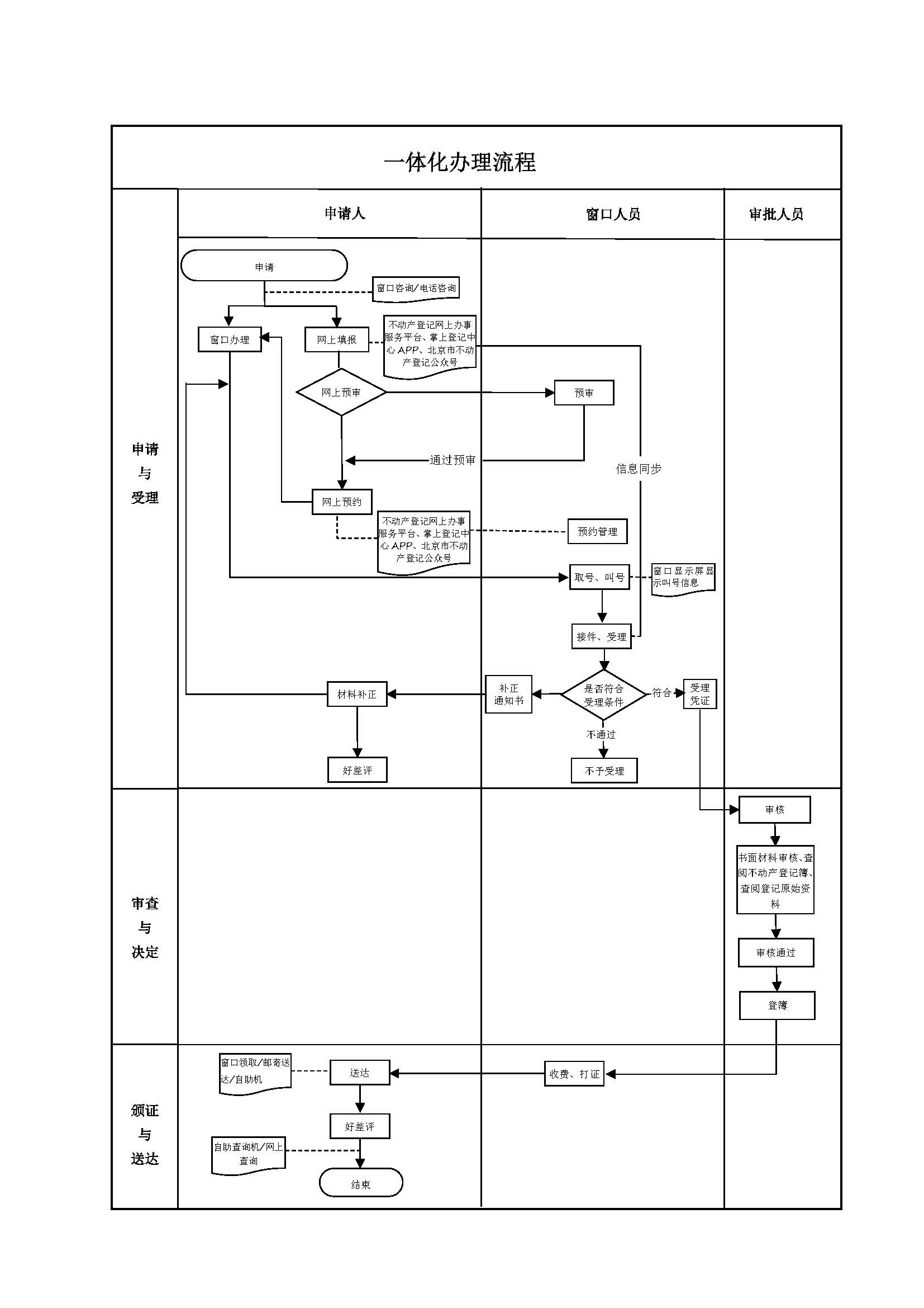
| 办理时间 | 海淀区政务服务中心(航天桥办公区):法定工作日: 上午: 08:30 - 12:00; 下午: 12:00 - 17:30; (延时服务时间: 周六上午08:30 - 12:30; ); 查看详情 | ||
| 办理地点 | 海淀区政务服务中心(航天桥办公区):北京市海淀区阜成路67号银都大厦224室; 查看详情 | ||
| 咨询方式 |
咨询电话: (010)60609304【展开】 咨询窗口地址: 北京市海淀区阜成路67号银都大厦(海淀政务服务中心航天桥分中心)三层咨询台【展开】 网上咨询: http://hdbdc.bjhd.gov.cn/AsDeclare/service/wx/wechatweb/toCenterIndexList【展开】 咨询信件地址: 海淀区政务服务中心(航天桥办公区):北京市海淀区阜成路67号银都大厦三层咨询台【展开】 |
||
| 投诉监督方式 | |||
| 基本编码 | 000715001006 | 事项编码 | 11110000660504319Y3000715001006 |
| 业务办理项编码 | 11110000660504319Y300071500100604 | 进驻大厅类型 | |
| 权力来源 | 上级委托 | 网上支付 | 是 |
| 所属机构 | 北京市规划和自然资源委员会海淀分局 | 委托部门 | 北京市规划和自然资源委员会 |
| 联办机构 | 无 | 实施主体性质 | 受委托组织 |
| 办理进程查询途径 | |||
| 行使层级 | 区级 | 运行系统 | 市级自建(垂管) |
| 物流快递 | 是 | 办理方式 | 自办件 |
| 预约办理 | 数量限制 | 无数量限制 | |
| 中介服务 | 无 | 权限划分 | |
| 通办范围 | 全区 | 特殊程序 | 无 |
| 行使内容 | 无 | ||

无
| 序号 | 材料名称 | 材料来源 | 材料 必要性 |
数量要求 | 介质要求 | 表格及样例 下载 |
受理标准 | 提供材料 依据 |
其他要求 | 申请材料总要求 | 委托办理的:提交授权委托书(原件1份)、受托人身份材料(原件1份,复印件1份);无、限制民事行为能力人申请登记的:提交证实被监护人为无、限制民事行为能力人的材料(原件1份,复印件1份)、监护关系材料(原件1份,复印件1份)、监护人的身份材料(原件1份,复印件1份)。以上材料要求提交原件的,应提交原件;未要求提交申请材料原件的,提交与原件核验一致的复印件,并经登记部门工作人员比对后,由登记部门工作人员签字并加盖原件相符章。不能提供原件核验的,应当提交该材料的出具机构或职权继受机构确认与原件一致的复印件。 |
|---|
| 序号 | 材料名称 | 材料来源 | 材料 必要性 |
数量要求 | 介质要求 | 表格及样例 下载 |
受理标准 | 提供材料 依据 |
其他要求 | 申请材料总要求 | 委托办理的:提交授权委托书(原件1份)、受托人身份材料(原件1份,复印件1份);无、限制民事行为能力人申请登记的:提交证实被监护人为无、限制民事行为能力人的材料(原件1份,复印件1份)、监护关系材料(原件1份,复印件1份)、监护人的身份材料(原件1份,复印件1份)。以上材料要求提交原件的,应提交原件;未要求提交申请材料原件的,提交与原件核验一致的复印件,并经登记部门工作人员比对后,由登记部门工作人员签字并加盖原件相符章。不能提供原件核验的,应当提交该材料的出具机构或职权继受机构确认与原件一致的复印件。 |
|---|

无
无
指南分享