3
20
111101086949863441
北京市海淀区人力资源和社会保障局
劳动能力复查鉴定申请
1111010869498634413002014007007
0
38fbb28e-de16-460a-b067-4f97f557a921
f41fbe7d-8b65-4d97-b2f9-fb0ad27aea4e
3
20
海淀区人力资源社会保障局
110108000000
北京市海淀区人力资源和社会保障局
海淀区政务服务中心人力社保分中心:法定工作日: 上午: 09:00 - 12:00; 下午: 13:30 - 17:00; (延时服务时间: 工作日上午08:30 - 09:00; 中午12:00 - 13:30; 下午17:00 - 17:30; 周六上午08:30 - 12:30; ); 海淀区政务服务中心人力社保万寿路分中心:工作日上午09:00-12:00,下午13:30-17:00 ( 延时服务时间:工作日早8:30-9:00,中午12:00-13:30,下午17:00-17:30);
海淀区政务服务中心人力社保分中心:北京市海淀区西四环北路73号中关村人才发展中心南区一层综合窗口; 海淀区政务服务中心人力社保万寿路分中心:北京市海淀区万寿路西街2号文博大厦二层综合窗口;
1.自工伤职工劳动能力鉴定结论作出之日起1年后,工伤职工、用人单位或者社会保险经办机构认为伤残情况发生变化的,可以向设区的市级劳动能力鉴定委员会申请复查鉴定。 (来源:2025年5月13日人力资源社会保障部、国家卫生健康委令第55号公布第二十条) 2.因病或非因工致残人员经鉴定未达到完全丧失劳动能力程度,申请人认为伤病残情况发生变化的,自劳动能力鉴定生效结论作出之日起1年后,可以重新向待遇领取地或者最后参保地的设区的市级劳动能力鉴定委员会申请鉴定。 (来源:2025年5月13日人力资源社会保障部、国家卫生健康委令第55号公布第二十一条) 3.申请劳动能力鉴定应当填写劳动能力鉴定申请表,并提交下列材料: (一)有效的诊断证明、按照医疗机构病历管理有关规定复印或者复制的检查、检验报告等完整病历资料; (二)被鉴定人的居民身份证或者社会保障卡等其他有效身份证明原件。 (来源:2025年5月13日人力资源社会保障部、国家卫生健康委令第55号公布第九条) 4.材料齐全,填写完整。 5.提交的证件或批复文件齐全完整,如提交复印件,应完整清晰并与原件一致。 6.申请材料所载基本信息与提交的证件或批复文件所载内容一致。 7.申请材料按要求签字、盖章,且签章内容与申请材料所载内容、提交的证照证件或批复文件所载内容一致。
{"IS_GUIDE":"1","ONLINE_DECLARE_SYSTEM_MODE":"99","SERVICE_OBJCT":"","IS_CONSTRUCTION":"0","CL_SERVICE_TYPE":"","APP_CODE_ID":"","YESNO_CITY_UNICOM":"","CROSS_AREA":"","ISSHOHCENTER":"0","WECHAT_CODE_ID":"","FINANCIAL":"","LITTLEPROGRAM_CODE_NAME":"","CROSS_AREA_ALL":"","CROSS_PROVINCE":"","ALIAS_NAME":"[\"劳动能力复查鉴定申请\"]","EAR_DISABILITY_GRAD":"","LIB_DISABILITY_GRAD":"","SPEAK_DISABILITY_GRAD":"","REGISTER":"","ONLINE_HANDLING_DEPTH_STANDARD":"05","APPROVAL_TYPE":"1","MIND_DISABILITY_GRAD":"","ACCEPTSERVICE":"99","YWBLX_ID":"f41fbe7d-8b65-4d97-b2f9-fb0ad27aea4e","ONLINE_DECLARE_SYSTEM_DEPT":"","CONSTRUCTION_EXPANSION":"0","EMPOWER":"0","EXEMPT_MATERIALS":"","LITTLEPROGRAM_CODE_ID":"","EYE_DISABILITY_GRAD":"","ISMONVEINCENTER":"0","BUSINESS_APPROVAL_DEPT":"","ITEM_ATTRIBUTE":"04^05^06^11","CROSS_AREA_ATEXT":"","AGE":"","BGSYSTEM_APPROVAL_OTHER":"","WIT_DISABILITY_GRAD":"","WECHAT_CODE_NAME":"","DISABILITY_TYPE":"","IS_ENABLE_CERTIFICATE_SHARE":"0","ONLY_ID":"1507ecef-81ed-11ea-8de7-fa163e4f9ad9","YES_NO_OPEN":"1","BGSYSTEM_APPROVAL_NAME":"","APP_CODE_NAME":"","HOLDER":"","VERSION":"20241125"}
[{"ID":7819784,"TASKGUID":"38fbb28e-de16-460a-b067-4f97f557a921","T_ID":"dbb7295e-11f4-4479-b991-a2df2095786d","P_ID":"","NAME":"是否满足以下情形","NODE_LEVEL":1,"NODE_PATH":"/dbb7295e-11f4-4479-b991-a2df2095786d","CHILD_COUNT":2,"ORDER_NUM":1,"SERIAL_NUMBER":"1","CONDITION_ATTR":"01","IS_RADIO":"1","IS_SUPPORT":"1","SUMMARY":"1 是否满足以下情形\n\t1.1 申请工伤劳动能力鉴定\n\t1.2 申请非因工伤残或因病劳动能力鉴定","CD_TIME":"Nov 28, 2025 2:48:28 PM","CD_BATCH":"2025112800017","DISTRIBUTETAG":"all-data^non-investment^111101086949863441^110108000000^non-construction^111100006883506060^non-construction_expansion","DATAJSONTEXT":"{\"VERSION\":\"20220810\",\"TREE_TYPE\":\"\",\"CONSULTATION_QA\":\"\"}","parOrder":"","proOrder":"1","newOrderNum":"001","itemGuideConditionRelatedList":[]},{"ID":7819782,"TASKGUID":"38fbb28e-de16-460a-b067-4f97f557a921","T_ID":"900973c2-c285-49d8-b9f1-dbbc56a8e1ff","P_ID":"dbb7295e-11f4-4479-b991-a2df2095786d","NAME":"申请工伤劳动能力鉴定","NODE_LEVEL":2,"NODE_PATH":"/dbb7295e-11f4-4479-b991-a2df2095786d/900973c2-c285-49d8-b9f1-dbbc56a8e1ff","CHILD_COUNT":0,"ORDER_NUM":1,"SERIAL_NUMBER":"1.1","CONDITION_ATTR":"02","IS_RADIO":"","IS_SUPPORT":"","CD_TIME":"Nov 28, 2025 2:48:28 PM","CD_BATCH":"2025112800017","DISTRIBUTETAG":"all-data^non-investment^111101086949863441^110108000000^non-construction^111100006883506060^non-construction_expansion","DATAJSONTEXT":"{\"VERSION\":\"20220810\",\"TREE_TYPE\":\"\",\"CONSULTATION_QA\":\"\"}","parOrder":"","proOrder":"","newOrderNum":"001.001","itemGuideConditionRelatedList":[{"ID":26459003,"TASKGUID":"38fbb28e-de16-460a-b067-4f97f557a921","T_ID":"900973c2-c285-49d8-b9f1-dbbc56a8e1ff","G_ID":"1749639f-37b5-45ed-8128-128fbc15b4bf","M_CODE":"100389","MATERIAL_ID":"13799b21-1ca4-49d3-ad85-9cd0257477a7","CD_TIME":"Nov 28, 2025 2:48:28 PM","CD_BATCH":"2025112800017","DISTRIBUTETAG":"all-data^non-investment^111101086949863441^110108000000^non-construction^111100006883506060^non-construction_expansion","DATAJSONTEXT":"{\"VERSION\":\"20210903\"}"}]},{"ID":7819783,"TASKGUID":"38fbb28e-de16-460a-b067-4f97f557a921","T_ID":"cde190bb-6d7f-4ce4-b74b-bce47a19a57b","P_ID":"dbb7295e-11f4-4479-b991-a2df2095786d","NAME":"申请非因工伤残或因病劳动能力鉴定","NODE_LEVEL":2,"NODE_PATH":"/dbb7295e-11f4-4479-b991-a2df2095786d/cde190bb-6d7f-4ce4-b74b-bce47a19a57b","CHILD_COUNT":0,"ORDER_NUM":2,"SERIAL_NUMBER":"1.2","CONDITION_ATTR":"02","IS_RADIO":"","IS_SUPPORT":"","CD_TIME":"Nov 28, 2025 2:48:28 PM","CD_BATCH":"2025112800017","DISTRIBUTETAG":"all-data^non-investment^111101086949863441^110108000000^non-construction^111100006883506060^non-construction_expansion","DATAJSONTEXT":"{\"VERSION\":\"20220810\",\"TREE_TYPE\":\"\",\"CONSULTATION_QA\":\"\"}","parOrder":"","proOrder":"","newOrderNum":"001.002","itemGuideConditionRelatedList":[{"ID":26459005,"TASKGUID":"38fbb28e-de16-460a-b067-4f97f557a921","T_ID":"cde190bb-6d7f-4ce4-b74b-bce47a19a57b","G_ID":"1c230ccd-b499-4477-aae6-041d8b26ec09","M_CODE":"100388","MATERIAL_ID":"86a0712f-7967-4aca-be1f-5e4056fc7255","CD_TIME":"Nov 28, 2025 2:48:28 PM","CD_BATCH":"2025112800017","DISTRIBUTETAG":"all-data^non-investment^111101086949863441^110108000000^non-construction^111100006883506060^non-construction_expansion","DATAJSONTEXT":"{\"VERSION\":\"20210903\"}"}]}]
2
1^2^3^4^6
http://www.bjhd.gov.cn/banshi/pubService/middlepage?goto=sso&type=sb&sxjbxxId=11110108694986344130020140070070011110108694986344100;http://www.bjhd.gov.cn/banshi/pubService/middlepage?goto=sso&type=legSb&sxjbxxId=11110108694986344130020140070070011110108694986344100

政务服务> 办事指南

劳动能力复查鉴定申请

北京市

切换简洁版

  • 承诺件

    办件类型

  • 0

    到现场次数

  • 66工作日

    法定办结时限

  • 30工作日

    承诺办结时限

好差评

5.0

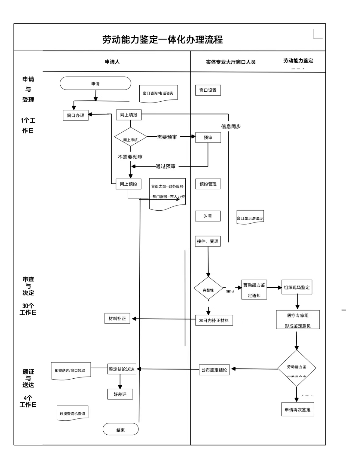
办件承诺办结时限说明:(承诺时限为办理流程中“审查与决定”环节的计时时限)

办件承诺办结时限说明:

(承诺时限为办理流程中“审查与决定”环节的计时时限)

基本信息

实施主体 北京市海淀区人力资源和社会保障局 服务对象
事项类型 公共服务 办理形式
受理条件 1.自工伤职工劳动能力鉴定结论作出之日起1年后,工伤职工、用人单位或者社会保险经办机构认为伤残情况发生变化的,可以向设区的市级劳动能力鉴定委员会申请复查鉴定。 (来源:2025年5月13日人力资源社会保障部、国家卫生健康委令第55号公布第二十条) 2.因病或非因工致残人员经鉴定未达到完全丧失劳动能力程度,申请人认为伤病残情况发生变化的,自劳动能力鉴定生效结论作出之日起1年后,可以重新向待遇领取地或者最后参保地的设区的市级劳动能力鉴定委员会申请鉴定。 (来源:2025年5月13日人力资源社会保障部、国家卫生健康委令第55号公布第二十一条) 3.申请劳动能力鉴定应当填写劳动能力鉴定申请表,并提交下列材料: (一)有效的诊断证明、按照医疗机构病历管理有关规定复印或者复制的检查、检验报告等完整病历资料; (二)被鉴定人的居民身份证或者社会保障卡等其他有效身份证明原件。 (来源:2025年5月13日人力资源社会保障部、国家卫生健康委令第55号公布第九条) 4.材料齐全,填写完整。 5.提交的证件或批复文件齐全完整,如提交复印件,应完整清晰并与原件一致。 6.申请材料所载基本信息与提交的证件或批复文件所载内容一致。 7.申请材料按要求签字、盖章,且签章内容与申请材料所载内容、提交的证照证件或批复文件所载内容一致。
办理时间 海淀区政务服务中心人力社保分中心:法定工作日: 上午: 09:00 - 12:00; 下午: 13:30 - 17:00; (延时服务时间: 工作日上午08:30 - 09:00; 中午12:00 - 13:30; 下午17:00 - 17:30; 周六上午08:30 - 12:30; ); 海淀区政务服务中心人力社保万寿路分中心:工作日上午09:00-12:00,下午13:30-17:00 ( 延时服务时间:工作日早8:30-9:00,中午12:00-13:30,下午17:00-17:30); 查看详情
办理地点 海淀区政务服务中心人力社保分中心:北京市海淀区西四环北路73号中关村人才发展中心南区一层综合窗口; 海淀区政务服务中心人力社保万寿路分中心:北京市海淀区万寿路西街2号文博大厦二层综合窗口; 查看详情
咨询方式

咨询电话:

(010)88506991【展开】

咨询窗口地址:

(1)北京市海淀区政务服务中心人力社保分中心(社会保险服务专区):北京市海淀区西四环北路73号中关村人才发展中心南区一层综合窗口;(2)北京市海淀区政务服务中心:北京市海淀区东北旺南路29号四层东厅综合窗口;(3)北京市海淀区政务服务中心人力社保万寿路分中心:海淀区万寿路西街2号文博大厦(寰岛博雅大酒店)二层综合窗口【展开】

投诉监督方式
基本编码 002014007007 事项编码 1111010869498634413002014007007
业务办理项编码 111101086949863441300201400700701 进驻大厅类型
权力来源 法定本级行使 网上支付
所属机构 北京市海淀区人力资源和社会保障局 委托部门
联办机构 实施主体性质 法定机关
办理进程查询途径
行使层级 区级 运行系统
物流快递 办理方式 自办件
预约办理 数量限制
中介服务 权限划分
通办范围 全区 特殊程序
行使内容 设区的市级劳动能力鉴定委员会负责本辖区内的劳动能力复查鉴定。
显示更多

请选择情形:

提示:通过情形选择可引导出您办理该事项所需的材料,若要查看全部材料,请点击"查看全部材料"

查看全部材料 情形引导

收起
我选好了重选条件

序号 材料名称 材料来源 材料
必要性
数量要求 介质要求 表格及样例
下载
受理标准 提供材料
依据
其他要求
申请材料总要求
序号 材料名称 材料来源 材料
必要性
数量要求 介质要求 表格及样例
下载
受理标准 提供材料
依据
其他要求
申请材料总要求
显示更多

指南分享