
市级
区级
乡镇
(街道)
村(社区)
市级
部门
显示更多
政务服务> 办事指南

切换简洁版
基本信息
| 实施主体 | 北京市规划和自然资源委员会海淀分局 | 服务对象 | 自然人、企业法人、事业法人、社会组织法人、非法人企业、行政机关、其他组织 |
| 事项类型 | 行政确认 | 办理形式 | 窗口办理、网上办理 |
| 受理条件 | 1.申请登记事项在本登记部门的登记职责范围内; 2.申请材料形式符合要求; 3.申请人与依法应当提交的申请材料记载的主体一致; 4.申请登记的不动产权利与登记原因文件记载的不动产权利一致; 5.申请内容与询问记录不冲突;6.法律、行政法规等规定的其他条件。(来源:《北京市不动产登记工作规范》3.5.1) | ||
| 办理时间 | 海淀区政务服务中心(航天桥办公区):法定工作日: 上午: 09:00 - 12:00; 下午: 13:30 - 17:00; (延时服务时间: 工作日上午08:30 - 09:00; 中午12:00 - 13:30; 下午17:00 - 17:30; 周六上午08:30 - 12:30; ) 查看详情 | ||
| 办理地点 | 海淀区政务服务中心(航天桥办公区):北京市海淀区阜成路67号银都大厦3层302房间 查看详情 | ||
| 咨询方式 |
咨询电话: (010)60609304【展开】 咨询窗口地址: 北京市海淀区阜成路67号银都大厦(海淀政务服务中心航天桥分中心)三层咨询台【展开】 网上咨询: http://hdbdc.bjhd.gov.cn/AsDeclare/service/wx/wechatweb/toCenterIndexList【展开】 咨询信件地址: 北京市海淀区阜成路67号银都大厦(海淀政务服务中心航天桥分中心)三层咨询台【展开】 |
||
| 投诉监督方式 | 投诉监督电话: (010)12345【展开】 投诉窗口地址: 北京市海淀区阜成路67号银都大厦(海淀政务服务中心航天桥分中心)二层221室【展开】 信件投诉地址: 北京市海淀区阜成路67号银都大厦(海淀政务服务中心航天桥分中心)二层221室【展开】 |
||
| 基本编码 | 000715001016 | 事项编码 | 11110000660504319Y3000715001016 |
| 业务办理项编码 | 11110000660504319Y300071500101601 | 进驻大厅类型 | 政务服务中心 |
| 权力来源 | 法定本级行使 | 网上支付 | 是 |
| 所属机构 | 北京市规划和自然资源委员会海淀分局 | 委托部门 | 无 |
| 联办机构 | 无 | 实施主体性质 | 法定机关 |
| 办理进程查询途径 | 网上查询:http://120.52.186.81:8080/eo/user/index.go |
||
| 行使层级 | 区级 | 运行系统 | 市级自建(垂管) |
| 物流快递 | 是 | 办理方式 | 自办件 |
| 预约办理 | 无 | 数量限制 | 无数量限制 |
| 中介服务 | 无 | 权限划分 | 分条件办理(市区) |
| 通办范围 | 全区 | 特殊程序 | 无 |
| 行使内容 | 北京市不动产登记中心负责办理在京中央和国家机关、驻京部队、保密单位等不动产登记。其他不动产的登记工作由不动产所在行政区域不动产登记中心负责办理并逐步推行全市通办业务。 | ||

无
| 序号 | 材料名称 | 材料来源 | 材料 必要性 |
数量要求 | 介质要求 | 表格及样例 下载 |
受理标准 | 提供材料 依据 |
其他要求 |
|---|---|---|---|---|---|---|---|---|---|
| 申请材料总要求 | 委托办理的:提交授权委托书(原件1份)、受托人身份材料(原件1份,复印件1份);无、限制民事行为能力人申请登记的:提交证实被监护人为无、限制民事行为能力人的材料(原件1份,复印件1份)、监护关系材料(原件1份,复印件1份)、监护人的身份材料(原件1份,复印件1份) | ||||||||
| 序号 | 材料名称 | 材料来源 | 材料 必要性 |
数量要求 | 介质要求 | 表格及样例 下载 |
受理标准 | 提供材料 依据 |
其他要求 |
|---|---|---|---|---|---|---|---|---|---|
| 一 | 不动产登记申请书 | 申请人自备 | 必要 | 原件1份 | 表格类;纸质或电子 | 样表下载空表下载 | 1、申请书信息填写是否完整;2、申请信息与申请材料内容是否一致。【展开】 | 《不动产登记暂行条例》第十六条 申请人应当提交下列材料,并对申请材料的真实性负责:(一)登记申请书【展开】 | 【展开】 |
| 二、申请人身份文件 | |||||||||
| (一)、境内自然人 | |||||||||
| 1、成年人 | |||||||||
| 中华人民共和国居民身份证 可关联电子证照,支持免提交 | 政府部门核发来源说明> | 必要 | 正本原件1份(正本原件仅供查验);正本复印件1份 | 结果文书类;纸质或电子 | 样例下载 | 1.提交的证照证件或批复文件齐全完整、合法有效; 2.证照证件需在有效期之内; 3.提交的复印件需与原件保持一致。【展开】 | 《不动产登记暂行条例》第十六条 申请人应当提交下列材料,并对申请材料的真实性负责:(二)申请人、代理人身份证明材料、授权委托书【展开】 | 【展开】 | |
| 2、未成年人 | |||||||||
| 中华人民共和国居民身份证 可关联电子证照,支持免提交 | 政府部门核发来源说明> | 必要 | 正本原件1份(正本原件仅供查验);正本复印件1份 | 结果文书类;纸质或电子 | 样例下载 | 1.提交的证照证件或批复文件齐全完整、合法有效; 2.证照证件需在有效期之内; 3.提交的复印件需与原件保持一致。【展开】 | 《不动产登记暂行条例》第十六条 申请人应当提交下列材料,并对申请材料的真实性负责:(二)申请人、代理人身份证明材料、授权委托书【展开】 | 【展开】 | |
| 或居民户口簿 可关联电子证照,支持免提交 | 政府部门核发来源说明> | 必要 | 正本原件1份(正本原件仅供查验);正本复印件1份 | 结果文书类;纸质或电子 | 样例下载 | 抵质押贷款1.提交的证照证件或批复文件齐全完整、合法有效; 2.证照证件需在有效期之内; 3.提交的复印件需与原件保持一致。"【展开】 | 《不动产登记暂行条例》第十六条 申请人应当提交下列材料,并对申请材料的真实性负责:(二)申请人、代理人身份证明材料、授权委托书【展开】 | 【展开】 | |
| 3、个体工商户 | |||||||||
| 身份证件 | 政府部门核发来源说明> | 必要 | 正本原件1份(正本原件仅供查验) | 结果文书类;纸质 | 样例下载 | 抵质押贷款1.提交的证照证件或批复文件齐全完整、合法有效; 2.证照证件需在有效期之内; 3.提交的复印件需与原件保持一致。"【展开】 | 《不动产登记暂行条例》第十六条 申请人应当提交下列材料,并对申请材料的真实性负责:(二)申请人、代理人身份证明材料、授权委托书【展开】 | 【展开】 | |
| (二)、香港、澳门特别行政区自然人 | |||||||||
| 1 | 香港永久性居民身份证 | 政府部门核发来源说明> | 必要 | 正本原件1份(正本原件仅供查验);正本复印件1份 | 结果文书类;纸质 | 样例下载 | 抵质押贷款1.提交的证照证件或批复文件齐全完整、合法有效; 2.证照证件需在有效期之内; 3.提交的复印件需与原件保持一致。"【展开】 | 《不动产登记暂行条例》第十六条 申请人应当提交下列材料,并对申请材料的真实性负责:(二)申请人、代理人身份证明材料、授权委托书【展开】 | 【展开】 |
| 或中华人民共和国香港特别行政区护照 | 政府部门核发来源说明> | 必要 | 正本原件1份(正本原件仅供查验);正本复印件1份 | 结果文书类;纸质 | 样例下载 | 抵质押贷款1.提交的证照证件或批复文件齐全完整、合法有效; 2.证照证件需在有效期之内; 3.提交的复印件需与原件保持一致。"【展开】 | 《不动产登记暂行条例》第十六条 申请人应当提交下列材料,并对申请材料的真实性负责:(二)申请人、代理人身份证明材料、授权委托书【展开】 | 【展开】 | |
| 或港澳居民来往内地通行证 | 政府部门核发来源说明> | 必要 | 正本原件1份(正本原件仅供查验);正本复印件1份 | 结果文书类;纸质 | 样例下载 | 抵质押贷款1.提交的证照证件或批复文件齐全完整、合法有效; 2.证照证件需在有效期之内; 3.提交的复印件需与原件保持一致。"【展开】 | 《不动产登记暂行条例》第十六条 申请人应当提交下列材料,并对申请材料的真实性负责:(二)申请人、代理人身份证明材料、授权委托书【展开】 | 【展开】 | |
| 2 | 澳门特别行政区永久性居民身份证 | 政府部门核发来源说明> | 必要 | 正本原件1份(正本原件仅供查验);正本复印件1份 | 结果文书类;纸质 | 样例下载 | 抵质押贷款1.提交的证照证件或批复文件齐全完整、合法有效; 2.证照证件需在有效期之内; 3.提交的复印件需与原件保持一致。"【展开】 | 《不动产登记暂行条例》第十六条 申请人应当提交下列材料,并对申请材料的真实性负责:(二)申请人、代理人身份证明材料、授权委托书【展开】 | 【展开】 |
| 或中华人民共和国澳门特别行政区护照 | 政府部门核发来源说明> | 必要 | 正本原件1份(正本原件仅供查验);正本复印件1份 | 结果文书类;纸质 | 样例下载 | 抵质押贷款1.提交的证照证件或批复文件齐全完整、合法有效; 2.证照证件需在有效期之内; 3.提交的复印件需与原件保持一致。"【展开】 | 《不动产登记暂行条例》第十六条 申请人应当提交下列材料,并对申请材料的真实性负责:(二)申请人、代理人身份证明材料、授权委托书【展开】 | 【展开】 | |
| 或中华人民共和国港澳居民居住证 | 政府部门核发来源说明> | 必要 | 正本原件1份(正本原件仅供查验);正本复印件1份 | 结果文书类;纸质 | 样例下载 | 抵质押贷款1.提交的证照证件或批复文件齐全完整、合法有效; 2.证照证件需在有效期之内; 3.提交的复印件需与原件保持一致。"【展开】 | 《不动产登记暂行条例》第十六条 申请人应当提交下列材料,并对申请材料的真实性负责:(二)申请人、代理人身份证明材料、授权委托书【展开】 | 【展开】 | |
| (三)、台湾地区自然人 | |||||||||
| 1 | 台湾居民来往大陆通行证 | 政府部门核发来源说明> | 必要 | 正本原件1份(正本原件仅供查验);正本复印件1份 | 结果文书类;纸质 | 样例下载 | 抵质押贷款1.提交的证照证件或批复文件齐全完整、合法有效; 2.证照证件需在有效期之内; 3.提交的复印件需与原件保持一致。"【展开】 | 《不动产登记暂行条例》第十六条 申请人应当提交下列材料,并对申请材料的真实性负责:(二)申请人、代理人身份证明材料、授权委托书【展开】 | 【展开】 |
| 或台湾居民居住证 | 政府部门核发来源说明> | 必要 | 正本原件1份(正本原件仅供查验);正本复印件1份 | 结果文书类;纸质 | 样例下载 | 1、核对信息是否真实有效; 2、核对证件是否在有效期内。【展开】 | 《不动产登记暂行条例》第十六条 申请人应当提交下列材料,并对申请材料的真实性负责:(二)申请人、代理人身份证明材料、授权委托书【展开】 | 【展开】 | |
| (四)、华侨 | |||||||||
| 1 | 中华人民共和国护照 | 政府部门核发来源说明> | 必要 | 正本原件1份(正本原件仅供查验);正本复印件1份 | 结果文书类;纸质 | 样例下载 | 抵质押贷款1.提交的证照证件或批复文件齐全完整、合法有效; 2.证照证件需在有效期之内; 3.提交的复印件需与原件保持一致。"【展开】 | 《不动产登记暂行条例》第十六条 申请人应当提交下列材料,并对申请材料的真实性负责:(二)申请人、代理人身份证明材料、授权委托书【展开】 | 【展开】 |
| 国外长期居留身份证件 | 政府部门核发来源说明> | 必要 | 正本原件1份(正本原件仅供查验);正本复印件1份 | 结果文书类;纸质 | 样例下载 | 抵质押贷款1.提交的证照证件或批复文件齐全完整、合法有效; 2.证照证件需在有效期之内; 3.提交的复印件需与原件保持一致。"【展开】 | 《不动产登记暂行条例》第十六条 申请人应当提交下列材料,并对申请材料的真实性负责:(二)申请人、代理人身份证明材料、授权委托书【展开】 | 【展开】 | |
| (五)、外籍自然人 | |||||||||
| 1 | 外国护照 | 政府部门核发来源说明> | 必要 | 原件1份(原件仅供查验);复印件1份 | 文本类;纸质 | 样例下载 | 抵质押贷款1.提交的证照证件或批复文件齐全完整、合法有效; 2.证照证件需在有效期之内; 3.提交的复印件需与原件保持一致。"【展开】 | 《不动产登记暂行条例》第十六条 申请人应当提交下列材料,并对申请材料的真实性负责:(二)申请人、代理人身份证明材料、授权委托书【展开】 | 【展开】 |
| 或中华人民共和国外国人永久居留身份证 | 政府部门核发来源说明> | 必要 | 正本原件1份(正本原件仅供查验);正本复印件1份 | 结果文书类;纸质 | 样例下载 | 核对身份证件是否真实有效,原件与复印件是否一致。【展开】 | 《不动产登记暂行条例》第十六条 申请人应当提交下列材料,并对申请材料的真实性负责:(二)申请人、代理人身份证明材料、授权委托书【展开】 | 【展开】 | |
| (六)、境内营利法人 | |||||||||
| 1 | 营业执照 | 政府部门核发来源说明> | 必要 | 正本原件1份(正本原件仅供查验);正本复印件1份 | 结果文书类;纸质 | 样例下载 | 抵质押贷款1.提交的证照证件或批复文件齐全完整、合法有效; 2.证照证件需在有效期之内; 3.提交的复印件需与原件保持一致。"【展开】 | 《不动产登记暂行条例》第十六条 申请人应当提交下列材料,并对申请材料的真实性负责:(二)申请人、代理人身份证明材料、授权委托书【展开】 | 【展开】 |
| (七)、境内非营利法人 | |||||||||
| 1 | 事业单位法人证书 | 政府部门核发来源说明> | 必要 | 正本原件1份(正本原件仅供查验);正本复印件1份 | 结果文书类;纸质 | 样例下载 | 抵质押贷款1.提交的证照证件或批复文件齐全完整、合法有效; 2.证照证件需在有效期之内; 3.提交的复印件需与原件保持一致。"【展开】 | 《不动产登记暂行条例》第十六条 申请人应当提交下列材料,并对申请材料的真实性负责:(二)申请人、代理人身份证明材料、授权委托书【展开】 | 【展开】 |
| 2 | 社会团体法人登记证书 | 政府部门核发来源说明> | 必要 | 正本原件1份(正本原件仅供查验);正本复印件1份 | 结果文书类;纸质 | 样例下载 | 抵质押贷款1.提交的证照证件或批复文件齐全完整、合法有效; 2.证照证件需在有效期之内; 3.提交的复印件需与原件保持一致。"【展开】 | 《不动产登记暂行条例》第十六条 申请人应当提交下列材料,并对申请材料的真实性负责:(二)申请人、代理人身份证明材料、授权委托书【展开】 | 【展开】 |
| 3 | 基金会法人登记证书 | 政府部门核发来源说明> | 必要 | 正本原件1份(正本原件仅供查验);正本复印件1份 | 结果文书类;纸质 | 样例下载 | 抵质押贷款1.提交的证照证件或批复文件齐全完整、合法有效; 2.证照证件需在有效期之内; 3.提交的复印件需与原件保持一致。"【展开】 | 《不动产登记暂行条例》第十六条 申请人应当提交下列材料,并对申请材料的真实性负责:(二)申请人、代理人身份证明材料、授权委托书【展开】 | 【展开】 |
| 4 | 社会服务机构登记证书 | 政府部门核发来源说明> | 必要 | 正本原件1份(正本原件仅供查验);正本复印件1份 | 结果文书类;纸质 | 样例下载 | 抵质押贷款1.提交的证照证件或批复文件齐全完整、合法有效; 2.证照证件需在有效期之内; 3.提交的复印件需与原件保持一致。"【展开】 | 《不动产登记暂行条例》第十六条 申请人应当提交下列材料,并对申请材料的真实性负责:(二)申请人、代理人身份证明材料、授权委托书【展开】 | 【展开】 |
| 5 | 或者事业单位、社会团体、基金会、社会服务机构成立之日起即具有法人资格所依据的文件 | 申请人自备 | 必要 | 原件1份(原件仅供查验);复印件1份 | 文本类;纸质 | 样例下载 | 抵质押贷款1.提交的证照证件或批复文件齐全完整、合法有效; 2.证照证件需在有效期之内; 3.提交的复印件需与原件保持一致。"【展开】 | 《不动产登记暂行条例》第十六条 申请人应当提交下列材料,并对申请材料的真实性负责:(二)申请人、代理人身份证明材料、授权委托书【展开】 | 【展开】 |
| (八)、境内特别法人 | |||||||||
| 1 | 统一社会信用代码证书 | 政府部门核发来源说明> | 必要 | 正本原件1份(正本原件仅供查验);正本复印件1份 | 结果文书类;纸质 | 样例下载 | 抵质押贷款1.提交的证照证件或批复文件齐全完整、合法有效; 2.证照证件需在有效期之内; 3.提交的复印件需与原件保持一致。"【展开】 | 《不动产登记暂行条例》第十六条 申请人应当提交下列材料,并对申请材料的真实性负责:(二)申请人、代理人身份证明材料、授权委托书【展开】 | 【展开】 |
| 2 | 北京市农村合作经济组织法人身份登记证件 | 政府部门核发来源说明> | 必要 | 正本原件1份(正本原件仅供查验);正本复印件1份 | 结果文书类;纸质 | 样例下载 | 抵质押贷款1.提交的证照证件或批复文件齐全完整、合法有效; 2.证照证件需在有效期之内; 3.提交的复印件需与原件保持一致。"【展开】 | 《不动产登记暂行条例》第十六条 申请人应当提交下列材料,并对申请材料的真实性负责:(二)申请人、代理人身份证明材料、授权委托书【展开】 | 【展开】 |
| 3 | 城镇农村的合作经济组织法人身份登记证件 | 政府部门核发来源说明> | 必要 | 正本原件1份(正本原件仅供查验);正本复印件1份 | 结果文书类;纸质 | 样例下载 | 抵质押贷款1.提交的证照证件或批复文件齐全完整、合法有效; 2.证照证件需在有效期之内; 3.提交的复印件需与原件保持一致。"【展开】 | 《不动产登记暂行条例》第十六条 申请人应当提交下列材料,并对申请材料的真实性负责:(二)申请人、代理人身份证明材料、授权委托书【展开】 | 【展开】 |
| 4 | 基层群众性自治组织法人身份登记材料 | 政府部门核发来源说明> | 必要 | 正本原件1份(正本原件仅供查验);正本复印件1份 | 结果文书类;纸质 | 样例下载 | 抵质押贷款1.提交的证照证件或批复文件齐全完整、合法有效; 2.证照证件需在有效期之内; 3.提交的复印件需与原件保持一致。"【展开】 | 《不动产登记暂行条例》第十六条 申请人应当提交下列材料,并对申请材料的真实性负责:(二)申请人、代理人身份证明材料、授权委托书【展开】 | 【展开】 |
| 5 | 或者自成立之日起即具有法人资格所依据的文件 | 政府部门核发来源说明> | 必要 | 原件1份(原件仅供查验);复印件1份 | 文本类;纸质 | 样例下载 | 抵质押贷款1.提交的证照证件或批复文件齐全完整、合法有效; 2.证照证件需在有效期之内; 3.提交的复印件需与原件保持一致。"【展开】 | 《不动产登记暂行条例》第十六条 申请人应当提交下列材料,并对申请材料的真实性负责:(二)申请人、代理人身份证明材料、授权委托书【展开】 | 【展开】 |
| (九)、境内非法人组织 | |||||||||
| 1 | 营业执照 | 政府部门核发来源说明> | 必要 | 正本原件1份(正本原件仅供查验);正本复印件1份 | 结果文书类;纸质 | 样例下载 | 抵质押贷款1.提交的证照证件或批复文件齐全完整、合法有效; 2.证照证件需在有效期之内; 3.提交的复印件需与原件保持一致。"【展开】 | 《不动产登记暂行条例》第十六条 申请人应当提交下列材料,并对申请材料的真实性负责:(二)申请人、代理人身份证明材料、授权委托书【展开】 | 【展开】 |
| 2 | 执业许可证 | 政府部门核发来源说明> | 必要 | 正本原件1份(正本原件仅供查验);正本复印件1份 | 结果文书类;纸质 | 样例下载 | 抵质押贷款1.提交的证照证件或批复文件齐全完整、合法有效; 2.证照证件需在有效期之内; 3.提交的复印件需与原件保持一致。"【展开】 | 《不动产登记暂行条例》第十六条 申请人应当提交下列材料,并对申请材料的真实性负责:(二)申请人、代理人身份证明材料、授权委托书【展开】 | 【展开】 |
| 3 | 或者其他身份证件 | 政府部门核发来源说明> | 必要 | 正本原件1份(正本原件仅供查验);正本复印件1份 | 结果文书类;纸质 | 样例下载 | 抵质押贷款1.提交的证照证件或批复文件齐全完整、合法有效; 2.证照证件需在有效期之内; 3.提交的复印件需与原件保持一致。"【展开】 | 《不动产登记暂行条例》第十六条 申请人应当提交下列材料,并对申请材料的真实性负责:(二)申请人、代理人身份证明材料、授权委托书【展开】 | 【展开】 |
| (十)、香港特别行政区、澳门特别行政区、台湾地区的法人或非法人组织 | |||||||||
| 1 | 其设立文件 | 政府部门核发来源说明> | 必要 | 正本原件1份(正本原件仅供查验);正本复印件1份 | 结果文书类;纸质 | 样例下载 | 抵质押贷款1.提交的证照证件或批复文件齐全完整、合法有效; 2.证照证件需在有效期之内; 3.提交的复印件需与原件保持一致。"【展开】 | 《不动产登记暂行条例》第十六条 申请人应当提交下列材料,并对申请材料的真实性负责:(二)申请人、代理人身份证明材料、授权委托书【展开】 | 【展开】 |
| 或注册文件在注册地公证后经有关部门转递或确认的材料 | 中介机构或法定机构产生来源说明> | 必要 | 原件1份(原件仅供查验);复印件1份 | 文本类;纸质 | 样例下载 | 抵质押贷款1.提交的证照证件或批复文件齐全完整、合法有效; 2.证照证件需在有效期之内; 3.提交的复印件需与原件保持一致。"【展开】 | 《不动产登记暂行条例》第十六条 申请人应当提交下列材料,并对申请材料的真实性负责:(二)申请人、代理人身份证明材料、授权委托书【展开】 | 【展开】 | |
| 或其在境内设立分支机构或代表机构的批准文件 | 政府部门核发来源说明> | 必要 | 正本原件1份(正本原件仅供查验);正本复印件1份 | 结果文书类;纸质 | 样例下载 | 抵质押贷款1.提交的证照证件或批复文件齐全完整、合法有效; 2.证照证件需在有效期之内; 3.提交的复印件需与原件保持一致。"【展开】 | 《不动产登记暂行条例》第十六条 申请人应当提交下列材料,并对申请材料的真实性负责:(二)申请人、代理人身份证明材料、授权委托书【展开】 | 【展开】 | |
| 在境内设立分支机构或代表机构的注册文件 | 政府部门核发来源说明> | 必要 | 正本原件1份(正本原件仅供查验);正本复印件1份 | 结果文书类;纸质 | 样例下载 | 抵质押贷款1.提交的证照证件或批复文件齐全完整、合法有效; 2.证照证件需在有效期之内; 3.提交的复印件需与原件保持一致。"【展开】 | 《不动产登记暂行条例》第十六条 申请人应当提交下列材料,并对申请材料的真实性负责:(二)申请人、代理人身份证明材料、授权委托书【展开】 | 【展开】 | |
| (十一)、境外法人或非法人组织 | |||||||||
| 1 | 其在境内设立分支机构或代表机构的批准文件 | 政府部门核发来源说明> | 必要 | 原件1份(原件仅供查验);复印件1份 | 结果文书类;纸质 | 样例下载 | 抵质押贷款1.提交的证照证件或批复文件齐全完整、合法有效; 2.证照证件需在有效期之内; 3.提交的复印件需与原件保持一致。"【展开】 | 《不动产登记暂行条例》第十六条 申请人应当提交下列材料,并对申请材料的真实性负责:(二)申请人、代理人身份证明材料、授权委托书【展开】 | 【展开】 |
| 在境内设立分支机构或代表机构的注册文件 | 政府部门核发来源说明> | 必要 | 原件1份(原件仅供查验);复印件1份 | 结果文书类;纸质 | 样例下载 | 抵质押贷款1.提交的证照证件或批复文件齐全完整、合法有效; 2.证照证件需在有效期之内; 3.提交的复印件需与原件保持一致。"【展开】 | 《不动产登记暂行条例》第十六条 申请人应当提交下列材料,并对申请材料的真实性负责:(二)申请人、代理人身份证明材料、授权委托书【展开】 | 【展开】 | |
| 2 | 在香港特别行政区、澳门特别行政区、台湾地区的设立分支机构或者代表机构的经公证、认证的设立文件 | 政府部门核发来源说明> | 必要 | 正本原件1份(正本原件仅供查验);正本复印件1份 | 结果文书类;纸质 | 样例下载 | 抵质押贷款1.提交的证照证件或批复文件齐全完整、合法有效; 2.证照证件需在有效期之内; 3.提交的复印件需与原件保持一致。"【展开】 | 《不动产登记暂行条例》第十六条 申请人应当提交下列材料,并对申请材料的真实性负责:(二)申请人、代理人身份证明材料、授权委托书【展开】 | 【展开】 |
| 在香港特别行政区、澳门特别行政区、台湾地区的设立分支机构或者代表机构的经公证、认证的注册证书 | 申请人自备 | 必要 | 原件1份(原件仅供查验);复印件1份 | 文本类;纸质 | 样例下载 | 抵质押贷款1.提交的证照证件或批复文件齐全完整、合法有效; 2.证照证件需在有效期之内; 3.提交的复印件需与原件保持一致。"【展开】 | 《不动产登记暂行条例》第十六条 申请人应当提交下列材料,并对申请材料的真实性负责:(二)申请人、代理人身份证明材料、授权委托书【展开】 | 【展开】 | |
| 3 | 注册文件在注册地公证后经中国驻外使(领)馆认证的材料 | 政府部门核发来源说明> | 必要 | 原件1份(原件仅供查验);复印件1份 | 文本类;纸质 | 样例下载 | 抵质押贷款1.提交的证照证件或批复文件齐全完整、合法有效; 2.证照证件需在有效期之内; 3.提交的复印件需与原件保持一致。"【展开】 | 《不动产登记暂行条例》第十六条 申请人应当提交下列材料,并对申请材料的真实性负责:(二)申请人、代理人身份证明材料、授权委托书【展开】 | 【展开】 |
| (十二)、外国驻华使(领)馆和外国驻华办事机构、国际组织驻华代表机构 | |||||||||
| 1 | 该使(领)馆、办事机构、代表机构的身份证件材料 | 政府部门核发来源说明> | 必要 | 正本原件1份(正本原件仅供查验);正本复印件1份 | 结果文书类;纸质 | 样例下载 | 抵质押贷款1.提交的证照证件或批复文件齐全完整、合法有效; 2.证照证件需在有效期之内; 3.提交的复印件需与原件保持一致。"【展开】 | 《不动产登记暂行条例》第十六条 申请人应当提交下列材料,并对申请材料的真实性负责:(二)申请人、代理人身份证明材料、授权委托书【展开】 | 【展开】 |
| 三 | 证实与不动产登记簿记载的不动产权利存在利害关系的材料 | 政府部门核发来源说明> | 必要 | 正本原件1份(正本原件仅供查验);正本复印件1份 | 结果文书类;纸质 | 样例下载 | 抵质押贷款1.利害关系材料是否能够证实申请人与被异议的不动产权利有利害关系; 2.提交的申请材料内容需与申请事项一致; 3.申请人申请登记的不动产与申请材料、不动产登记簿的记载是否一致;"【展开】 | "《不动产登记暂行条例实施细则》第八十二条 利害关系人认为不动产登记簿记载的事项错误,权利人不同意更正的,利害关系人可以申请异议登记。 利害关系人申请异议登记的,应当提交下列材料: (一)证实对登记的不动产权利有利害关系的材料; (二)证实不动产登记簿记载的事项错误的材料; (三)其他必要材料。"【展开】 | 【展开】 |
| 四 | 初步证实不动产登记簿记载事项错误的材料 | 申请人自备 | 必要 | 原件1份(原件仅供查验);复印件1份 | 文本类;纸质 | 样例下载 | 抵质押贷款1.利害关系材料是否能够证实申请人与被异议的不动产权利有利害关系; 2.提交的申请材料内容需与申请事项一致; 3.申请人申请登记的不动产与申请材料、不动产登记簿的记载是否一致;"【展开】 | "《不动产登记暂行条例实施细则》第八十二条 利害关系人认为不动产登记簿记载的事项错误,权利人不同意更正的,利害关系人可以申请异议登记。 利害关系人申请异议登记的,应当提交下列材料: (一)证实对登记的不动产权利有利害关系的材料; (二)证实不动产登记簿记载的事项错误的材料; (三)其他必要材料。"【展开】 | 【展开】 |
| 申请材料总要求 | 委托办理的:提交授权委托书(原件1份)、受托人身份材料(原件1份,复印件1份);无、限制民事行为能力人申请登记的:提交证实被监护人为无、限制民事行为能力人的材料(原件1份,复印件1份)、监护关系材料(原件1份,复印件1份)、监护人的身份材料(原件1份,复印件1份) | ||||||||

无
| 办理步骤 | 办理时限 | 办理人员 | 办理结果 |
|---|---|---|---|
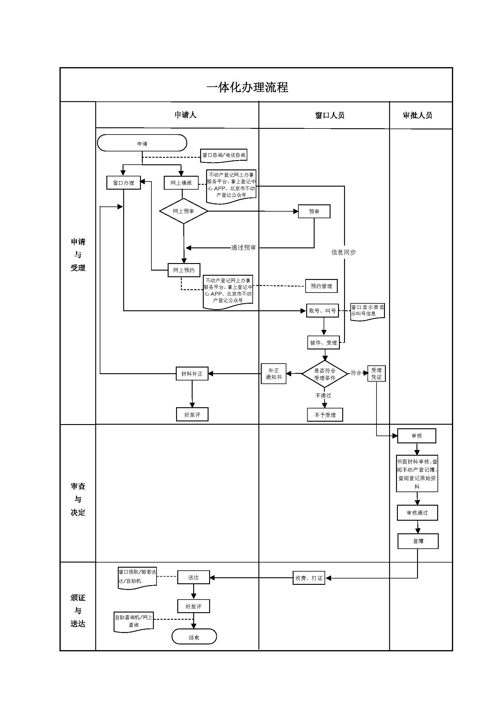
| 受理 | 0个工作日 | 综窗人员 | 不动产登记受理凭证;不动产登记不予受理告知书 |
审查标准 1.申请登记事项在本登记部门的登记职责范围内;2.申请材料形式符合要求; 3.申请人与依法应当提交的申请材料记载的主体一致; 4.申请登记的不动产权利与登记原因文件记载的不动产权利一致; 5.申请内容与询问记录不冲突; 法律、行政法规等规定的其他条件。【展开】 | |||
| 办理步骤 | 办理时限 | 办理人员 | 办理结果 |
|---|---|---|---|
| 决定 | 1个工作日 | 审批人员 | 不动产登记簿 |
审查标准 1.利害关系材料是否能够证实申请人与被异议的不动产权利有利害关系;2.异议登记事项的内容是否已经记载于不动产登记簿; 3.同一申请人是否就同一异议事项提出过异议登记申请; 4. 不动产被查封、抵押或设有地役权的,不影响该不动产的异议登记。【展开】 | |||
| 办理步骤 | 办理时限 | 办理人员 | 结果名称 |
|---|---|---|---|
| 制证 | 0个工作日 | 不动产权证书 | |
| 发证 | 0个工作日 | 综窗人员 | 1、《不动产登记证明》 |
| 送达方式 | |||
|---|---|---|---|
窗口领取 公告送达 邮寄送达 | |||
无
| 《不动产登记证明》 | |
| 结果名称 | 《不动产登记证明》 |
|---|---|
| 结果文书类型 | 证照 |
| 结果样本 | 不动产登记证明.docx |
| 有效时间 | 无时限 |
无
| 【法律】中华人民共和国民法典 | |
| 制定机关 | 全国人民代表大会常务委员会 |
|---|---|
| 依据名称 | 中华人民共和国民法典 |
| 发布号令(文号) | 2020年5月28日 2021年1月1日 中华人民共和国主席令第45号 |
| 法条(具体规定)内容 | 第二百一十条:不动产登记,由不动产所在地的登记机构办理。国家对不动产实行统一登记制度。统一登记的范围、登记机构和登记办法,由法律、行政法规规定。 【展开】 |
是否收费:是
| 收费项目名称 | 异议登记的设立 |
|---|---|
| 收费标准 | 1.《国家发展改革委 财政部关于不动产登记收费标准等有关问题的通知》(发改价格规〔2016〕2559号)一、不动产登记收费标准。县级以上不动产登记机构依法办理不动产权利登记时,根据不同情形,收取不动产登记费。(一)住宅类不动产登记收费标准。落实不动产统一登记制度,实行房屋所有权及其建设用地使用权一体登记。原有住房及其建设用地分别办理各类登记时收取的登记费,统一整合调整为不动产登记收费,即住宅所有权及其建设用地使用权一并登记,收取一次登记费。规划用途为住宅的房屋(以下简称住宅)及其建设用地使用权申请办理下列不动产登记事项,提供具体服务内容,据实收取不动产登记费,收费标准为每件80元。1、房地产开发企业等法人、其他组织、自然人合法建设的住宅,申请办理房屋所有权及其建设用地使用权首次登记;2、居民等自然人、法人、其他组织购买住宅,以及互换、赠与、继承、受遗赠等情形,住宅所有权及其建设用地使用权发生转移,申请办理不动产转移登记;3、住宅及其建设用地用途、面积、权利期限、来源等状况发生变化,以及共有性质发生变更等,申请办理不动产变更登记;4、当事人以住宅及其建设用地设定抵押,办理抵押权登记(包括抵押权首次登记、变更登记、转移登记);5、当事人按照约定在住宅及其建设用地上设定地役权,申请办理地役权登记(包括地役权首次登记、变更登记、转移登记)。为推进保障性安居工程建设,减轻登记申请人负担,廉租住房、公共租赁住房、经济适用住房和棚户区改造安置住房所有权及其建设用地使用权办理不动产登记,登记收费标准为零。(二)非住宅类不动产登记收费标准。办理下列非住宅类不动产权利的首次登记、转移登记、变更登记,收取不动产登记费,收费标准为每件550元。1、住宅以外的房屋等建筑物、构筑物所有权及其建设用地使用权或者海域使用权;2、无建筑物、构筑物的建设用地使用权;3、森林、林木所有权及其占用林地的承包经营权或者使用权;4、耕地、草地、水域、滩涂等土地承包经营权;5、地役权;6、抵押权。不动产登记机构依法办理不动产查封登记、注销登记、预告登记和因不动产登记机构错误导致的更正登记,不得收取不动产登记费。二、证书工本费标准。不动产登记机构按本通知第一条规定收取不动产登记费,核发一本不动产权属证书的不收取证书工本费。向一个以上不动产权利人核发权属证书的,每增加一本证书加收证书工本费10元。不动产登记机构依法核发不动产登记证明,不得收取登记证明工本费。三、收费优惠减免。对下列情形,执行优惠收费标准。(一)按照本通知第一条规定的收费标准减半收取登记费,同时不收取第一本不动产权属证书的工本费:1、申请不动产更正登记、异议登记的;2、不动产权利人姓名、名称、身份证明类型或者身份证明号码发生变更申请变更登记的;3、同一权利人因分割、合并不动产申请变更登记的;4、国家法律、法规规定予以减半收取的。(二)免收不动产登记费(含第一本不动产权属证书的工本费):1、申请与房屋配套的车库、车位、储藏室等登记,不单独核发不动产权属证书的(申请单独发放权属证书的,按本通知第一条规定的收费标准收取登记费);2、因行政区划调整导致不动产坐落的街道、门牌号或房屋名称变更而申请变更登记的;3、小微企业(含个体工商户)申请不动产登记的;4、农村集体经济组织成员以家庭承包或其他方式承包取得农用地的土地承包经营权申请登记的;5、农村集体经济组织成员以家庭承包或其他方式承包取得森林、林木所有权及其占用的林地承包经营权申请登记的;6、依法由农民集体使用的国有农用地从事种植业、林业、畜牧业、渔业等农业生产,申请土地承包经营权登记或国有农用地使用权登记的;7、因农村集体产权制度改革导致土地、房屋等确权变更而申请变更登记的;8、国家法律、法规规定予以免收的。(三)只收取不动产权属证书工本费,每本证书10元:1、单独申请宅基地使用权登记的;2、申请宅基地使用权及地上房屋所有权登记的;3、夫妻间不动产权利人变更,申请登记的;4、因不动产权属证书丢失、损坏等原因申请补发、换发证书的。四、不动产登记计费单位。不动产登记费按件收取,不得按照不动产的面积、体积或者价款的比例收取。申请人以一个不动产单元提出一项不动产权利的登记申请,并完成一个登记类型登记的为一件。申请人以同一宗土地上多个抵押物办理一笔贷款,申请办理抵押权登记的,按一件收费;非同宗土地上多个抵押物办理一笔贷款,申请办理抵押权登记的,按多件收费。不动产单元,是指权属界线封闭且具有独立使用价值的空间。有房屋等建筑物、构筑物以及森林、林木定着物的,以该房屋等建筑物、构筑物以及森林、林木定着物与土地权属界线封闭的空间为不动产单元。房屋包括独立成幢、权属界线封闭的空间,以及区分套、层、间等可以独立使用、权属界线封闭的空间。没有房屋等建筑物、构筑物以及森林、林木定着物的,以土地权属界线封闭的空间为不动产单元。五、登记费缴纳。不动产登记费由登记申请人缴纳。按规定需由当事各方共同申请不动产登记的,不动产登记费由登记为不动产权利人的一方缴纳;不动产抵押权登记,登记费由登记为抵押权人的一方缴纳;不动产为多个权利人共有(用)的,不动产登记费由共有(用)人共同缴纳,具体分摊份额由共有(用)人自行协商。房地产开发企业不得把新建商品房办理首次登记的登记费,以及因提供测绘资料所产生的测绘费等其他费用转嫁给购房人承担;向购房人提供抵押贷款的商业银行,不得把办理抵押权登记的费用转嫁给购房人承担;2.《财政部国家发展改革委关于减免部分行政事业性收费有关政策的通知》(财税〔2019〕45号)一、减免不动产登记费(一)对下列情形免征不动产登记费:1.申请办理变更登记、更正登记的;2.申请办理森林、林木所有权及其占用的林地承包经营权或林地使用权,及相关抵押权、地役权不动产权利登记的;3.申请办理耕地、草地、水域、滩涂等土地承包经营权或国有农用地使用权,及相关抵押权、地役权不动产权利登记的。(二)对申请办理车库、车位、储藏室不动产登记,单独核发不动产权属证书或登记证明的,不动产登记费由原非住宅类不动产登记每件550元,减按住宅类不动产登记每件80元收取。 |
| 收费依据 | 1.《国家发展改革委 财政部关于不动产登记收费标准等有关问题的通知》(发改价格规〔2016〕2559号)一、不动产登记收费标准。县级以上不动产登记机构依法办理不动产权利登记时,根据不同情形,收取不动产登记费。(一)住宅类不动产登记收费标准。落实不动产统一登记制度,实行房屋所有权及其建设用地使用权一体登记。原有住房及其建设用地分别办理各类登记时收取的登记费,统一整合调整为不动产登记收费,即住宅所有权及其建设用地使用权一并登记,收取一次登记费。规划用途为住宅的房屋(以下简称住宅)及其建设用地使用权申请办理下列不动产登记事项,提供具体服务内容,据实收取不动产登记费,收费标准为每件80元。1、房地产开发企业等法人、其他组织、自然人合法建设的住宅,申请办理房屋所有权及其建设用地使用权首次登记;2、居民等自然人、法人、其他组织购买住宅,以及互换、赠与、继承、受遗赠等情形,住宅所有权及其建设用地使用权发生转移,申请办理不动产转移登记;3、住宅及其建设用地用途、面积、权利期限、来源等状况发生变化,以及共有性质发生变更等,申请办理不动产变更登记;4、当事人以住宅及其建设用地设定抵押,办理抵押权登记(包括抵押权首次登记、变更登记、转移登记);5、当事人按照约定在住宅及其建设用地上设定地役权,申请办理地役权登记(包括地役权首次登记、变更登记、转移登记)。为推进保障性安居工程建设,减轻登记申请人负担,廉租住房、公共租赁住房、经济适用住房和棚户区改造安置住房所有权及其建设用地使用权办理不动产登记,登记收费标准为零。(二)非住宅类不动产登记收费标准。办理下列非住宅类不动产权利的首次登记、转移登记、变更登记,收取不动产登记费,收费标准为每件550元。1、住宅以外的房屋等建筑物、构筑物所有权及其建设用地使用权或者海域使用权;2、无建筑物、构筑物的建设用地使用权;3、森林、林木所有权及其占用林地的承包经营权或者使用权;4、耕地、草地、水域、滩涂等土地承包经营权;5、地役权;6、抵押权。不动产登记机构依法办理不动产查封登记、注销登记、预告登记和因不动产登记机构错误导致的更正登记,不得收取不动产登记费。二、证书工本费标准。不动产登记机构按本通知第一条规定收取不动产登记费,核发一本不动产权属证书的不收取证书工本费。向一个以上不动产权利人核发权属证书的,每增加一本证书加收证书工本费10元。不动产登记机构依法核发不动产登记证明,不得收取登记证明工本费。三、收费优惠减免。对下列情形,执行优惠收费标准。(一)按照本通知第一条规定的收费标准减半收取登记费,同时不收取第一本不动产权属证书的工本费:1、申请不动产更正登记、异议登记的;2、不动产权利人姓名、名称、身份证明类型或者身份证明号码发生变更申请变更登记的;3、同一权利人因分割、合并不动产申请变更登记的;4、国家法律、法规规定予以减半收取的。(二)免收不动产登记费(含第一本不动产权属证书的工本费):1、申请与房屋配套的车库、车位、储藏室等登记,不单独核发不动产权属证书的(申请单独发放权属证书的,按本通知第一条规定的收费标准收取登记费);2、因行政区划调整导致不动产坐落的街道、门牌号或房屋名称变更而申请变更登记的;3、小微企业(含个体工商户)申请不动产登记的;4、农村集体经济组织成员以家庭承包或其他方式承包取得农用地的土地承包经营权申请登记的;5、农村集体经济组织成员以家庭承包或其他方式承包取得森林、林木所有权及其占用的林地承包经营权申请登记的;6、依法由农民集体使用的国有农用地从事种植业、林业、畜牧业、渔业等农业生产,申请土地承包经营权登记或国有农用地使用权登记的;7、因农村集体产权制度改革导致土地、房屋等确权变更而申请变更登记的;8、国家法律、法规规定予以免收的。(三)只收取不动产权属证书工本费,每本证书10元:1、单独申请宅基地使用权登记的;2、申请宅基地使用权及地上房屋所有权登记的;3、夫妻间不动产权利人变更,申请登记的;4、因不动产权属证书丢失、损坏等原因申请补发、换发证书的。四、不动产登记计费单位。不动产登记费按件收取,不得按照不动产的面积、体积或者价款的比例收取。申请人以一个不动产单元提出一项不动产权利的登记申请,并完成一个登记类型登记的为一件。申请人以同一宗土地上多个抵押物办理一笔贷款,申请办理抵押权登记的,按一件收费;非同宗土地上多个抵押物办理一笔贷款,申请办理抵押权登记的,按多件收费。不动产单元,是指权属界线封闭且具有独立使用价值的空间。有房屋等建筑物、构筑物以及森林、林木定着物的,以该房屋等建筑物、构筑物以及森林、林木定着物与土地权属界线封闭的空间为不动产单元。房屋包括独立成幢、权属界线封闭的空间,以及区分套、层、间等可以独立使用、权属界线封闭的空间。没有房屋等建筑物、构筑物以及森林、林木定着物的,以土地权属界线封闭的空间为不动产单元。五、登记费缴纳。不动产登记费由登记申请人缴纳。按规定需由当事各方共同申请不动产登记的,不动产登记费由登记为不动产权利人的一方缴纳;不动产抵押权登记,登记费由登记为抵押权人的一方缴纳;不动产为多个权利人共有(用)的,不动产登记费由共有(用)人共同缴纳,具体分摊份额由共有(用)人自行协商。房地产开发企业不得把新建商品房办理首次登记的登记费,以及因提供测绘资料所产生的测绘费等其他费用转嫁给购房人承担;向购房人提供抵押贷款的商业银行,不得把办理抵押权登记的费用转嫁给购房人承担;2.《财政部国家发展改革委关于减免部分行政事业性收费有关政策的通知》(财税〔2019〕45号)一、减免不动产登记费(一)对下列情形免征不动产登记费:1.申请办理变更登记、更正登记的;2.申请办理森林、林木所有权及其占用的林地承包经营权或林地使用权,及相关抵押权、地役权不动产权利登记的;3.申请办理耕地、草地、水域、滩涂等土地承包经营权或国有农用地使用权,及相关抵押权、地役权不动产权利登记的。(二)对申请办理车库、车位、储藏室不动产登记,单独核发不动产权属证书或登记证明的,不动产登记费由原非住宅类不动产登记每件550元,减按住宅类不动产登记每件80元收取。 |
| 是否允许减免 | 否 |
| 备注 | 无 |
| 1、异议登记之后是否必须要提起诉讼? |
|---|
| 是。申请人在异议登记之日起十五日内未向不动产登记部门提交诉讼受理等相关凭证的,异议登记失效。 |
指南分享
主办:北京市人民政府办公厅
承办:北京市政务服务和数据管理局
版权所有:北京市人民政府网站 京ICP备05060933号
政府网站标识码:1100000088 京公网安备 11010502039640 京ICP备05060933号
运行管理:首都之窗运行管理中心