北京市政务服务网
您使用的浏览器版本过低,为获得最佳用户体验,建议使用
Edge浏览器107版本及以上(推荐)、360浏览器11版本及以上并选用极速模式、火狐浏览器90版本及以上等访问北京市政务服务网
当前:海淀区 切换区域

市级

  • 北京市

区级

  • 东城区
  • 西城区
  • 朝阳区
  • 丰台区
  • 石景山区
  • 海淀区
  • 门头沟区
  • 房山区
  • 副中心(通州区)
  • 顺义区
  • 昌平区
  • 大兴区
  • 怀柔区
  • 平谷区
  • 密云区
  • 延庆区
  • 经济开发区

乡镇
(街道)

  • 北京市

村(社区)

  • 北京市

市级
部门

  • 市发展改革委
  • 市教委
  • 市科委
  • 市经济和信息化局
  • 市民族宗教委
  • 市公安局
  • 市民政局
  • 市司法局
  • 市财政局
  • 市人力资源社会保障局
  • 市规划自然资源委
  • 市生态环境局
  • 市住房城乡建设委
  • 市城市管理委
  • 市交通委
  • 市水务局
  • 市农业农村局
  • 市商务局
  • 市文化和旅游局
  • 市卫生健康委
  • 市退役军人局
  • 市应急局
  • 市市场监管局
  • 市审计局
  • 市广电局
  • 市文物局
  • 市体育局
  • 市统计局
  • 市园林绿化局
  • 市金融管理局
  • 市国动办
  • 市知识产权局
  • 市医保局
  • 市粮食和储备局
  • 市中医局
  • 市药监局
  • 市城管执法局
  • 市文化执法总队
  • 北京住房公积金管理中心(北京市住房资金管理中心)
  • 市档案局
  • 市新闻出版局
  • 市电影局
  • 市版权局
  • 市政府侨办
  • 市贸促会
  • 市委编办
  • 市消防救援总队
  • 市保密局
  • 市总工会
  • 市残联
  • 国家税务总局北京市税务局
  • 市地震局
  • 市气象局
  • 市烟草专卖局
  • 北京市国家安全局
  • 北京邮管局
  • 市排水集团
  • 市电力公司
  • 市热力集团
  • 北信基础设施公司
  • 市自来水集团
  • 市燃气集团
  • 北京铁塔公司
  • 副中心管委会
  • 临空区(大兴)管委会
  • 北京市通信管理局
  • 北京海关
  • 中国人民银行北京市分行
  • 国家外汇管理局北京市分局

显示更多

我在听,请说话(10s)
抱歉,没听清,请再说一遍吧
3
07
11110000660504319Y
北京市规划和自然资源委员会海淀分局
抵押权首次登记
11110000660504319Y300071500101403
11110000660504319Y3000715001014
0
52b8707b-2d86-46e2-9085-75d463581a49
4f464787-787d-4264-836a-d914ab23ea2e
2^3
07
市规划自然委海淀区分局
110108000000
北京市规划和自然资源委员会海淀分局
海淀区政务服务中心(航天桥办公区):工作日上午09:00-12:00,下午13:30-17:00(延时服务时间:工作日早08:30-9:00,中午12:00-13:30,下午17:00-17:30,周六提供预约或非预约服务8:30-12:30)
海淀区政务服务中心(航天桥办公区):北京市海淀区阜成路67号银都大厦3层
1.第六十五条 对下列财产进行抵押的,可以申请办理不动产抵押登记: (一)建设用地使用权; (二)建筑物和其他土地附着物; (三)海域使用权; (四)以招标、拍卖、公开协商等方式取得的荒地等土地承包经营权; (五)正在建造的建筑物; (六)法律、行政法规未禁止抵押的其他不动产。 以建设用地使用权、海域使用权抵押的,该土地、海域上的建筑物、构筑物一并抵押;以建筑物、构筑物抵押的,该建筑物、构筑物占用范围内的建设用地使用权、海域使用权一并抵押。 (依据来源:《不动产登记暂行条例实施细则 》 第六十五条) 2.第六十六条 自然人、法人或者其他组织为保障其债权的实现,依法以不动产设定抵押的,可以由当事人持不动产权属证书、抵押合同与主债权合同等必要材料,共同申请办理抵押登记。 (依据来源:《不动产登记暂行条例实施细则 》 第六十六条) 抵押合同可以是单独订立的书面合同,也可以是主债权合同中的抵押条款。 3.第六十七条 同一不动产上设立多个抵押权的,不动产登记机构应当按照受理时间的先后顺序依次办理登记,并记载于不动产登记簿。当事人对抵押权顺位另有约定的,从其规定办理登记。 (依据来源:《不动产登记暂行条例实施细则 》 第六十七条) 4.材料齐全,填写完整; 5.提交的证照证件或批复文件齐全完整、如提交复印件,应完整清晰并与原件一致; 6.申请材料所载基本信息与提交的证照证件或批复文件所载内容一致; 7.申请材料按要求签字、盖章,且签章内容与申请材料所载内容、提交的证照证件或批复文件所载内容一致。
{"IS_GUIDE":"1","ONLINE_DECLARE_SYSTEM_MODE":"99","ITEM_REALITY_USELEVEL":"","SERVICE_OBJCT":"","IS_CONSTRUCTION":"0","CL_SERVICE_TYPE":"","APP_CODE_ID":"","YESNO_CITY_UNICOM":"0^1","CROSS_AREA":"","ISSHOHCENTER":"0","WECHAT_CODE_ID":"","FINANCIAL":"","LITTLEPROGRAM_CODE_NAME":"","CROSS_AREA_ALL":"","CROSS_PROVINCE":"","ALIAS_NAME":"[\"抵押权登记\"]","EAR_DISABILITY_GRAD":"","LIB_DISABILITY_GRAD":"","SPEAK_DISABILITY_GRAD":"","REGISTER":"","ONLINE_HANDLING_DEPTH_STANDARD":"05","APPROVAL_TYPE":"1","MIND_DISABILITY_GRAD":"","ACCEPTSERVICE":"99","YWBLX_ID":"4aa4fd74-755e-4c54-bca7-6232f59c31bd","ONLINE_DECLARE_SYSTEM_DEPT":"","CONSTRUCTION_EXPANSION":"0","EMPOWER":"0","EXEMPT_MATERIALS":"","LITTLEPROGRAM_CODE_ID":"","EYE_DISABILITY_GRAD":"","ISMONVEINCENTER":"0","DATA_FLAG":"","BUSINESS_APPROVAL_DEPT":"北京市规划和自然资源委员会","POWER_NAME":"不动产统一登记","ITEM_ATTRIBUTE":"04^05^06^11^13","CROSS_AREA_ATEXT":"","AGE":"","BGSYSTEM_APPROVAL_OTHER":"北京市不动产登记信息系统v2.0","WIT_DISABILITY_GRAD":"","WECHAT_CODE_NAME":"","POWER_CODE":"H1202810","DISABILITY_TYPE":"","IS_ENABLE_CERTIFICATE_SHARE":"","POWER_ATTRIBUTE":"1","ONLY_ID":"17440470-81ed-11ea-8de7-fa163e4f9ad9","YES_NO_OPEN":"1","BGSYSTEM_APPROVAL_NAME":"其他","APP_CODE_NAME":"","HOLDER":"","VERSION":"20241125"}
[{"ID":7331087,"TASKGUID":"52b8707b-2d86-46e2-9085-75d463581a49","T_ID":"0803b176-3a74-43aa-83aa-1f1b99152896","P_ID":"","NAME":"申请人身份","NODE_LEVEL":1,"NODE_PATH":"/0803b176-3a74-43aa-83aa-1f1b99152896","CHILD_COUNT":12,"ORDER_NUM":1,"SERIAL_NUMBER":"1","CONDITION_ATTR":"01","IS_RADIO":"1","IS_SUPPORT":"1","SUMMARY":"1 申请人身份\n\t1.1 境内自然人\n\t\t1.1.1 是否成年\n\t\t\t1.1.1.1 是\n\t\t\t1.1.1.2 否\n\t\t1.1.2 是否为个体工商户或农村承包经营户\n\t\t\t1.1.2.1 是\n\t\t\t1.1.2.2 否\n\t1.10 香港特别行政区、澳门特别行政区、台湾地区的法人或非法人组织\n\t1.11 境外法人或非法人组织\n\t1.12 外国驻华使(领)馆和外国驻华办事机构、国际组织驻华代表机构\n\t1.2 香港、澳门特别行政区自然人\n\t1.3 台湾地区自然人\n\t1.4 华侨\n\t1.5 外籍自然人\n\t1.6 境内营利法人\n\t1.7 境内非营利法人\n\t1.8 境内特别法人\n\t1.9 境内非法人组织","CD_TIME":"Sep 30, 2025 6:45:08 PM","CD_BATCH":"2025093000040","DISTRIBUTETAG":"all-data^non-investment^11110000660504319Y^110108000000^non-construction^11110000MB1503996K^non-construction_expansion","DATAJSONTEXT":"{\"VERSION\":\"20220810\",\"TREE_TYPE\":\"\",\"CONSULTATION_QA\":\"\"}","parOrder":"","proOrder":"1","newOrderNum":"001","itemGuideConditionRelatedList":[]},{"ID":7331101,"TASKGUID":"52b8707b-2d86-46e2-9085-75d463581a49","T_ID":"6d4a83ee-a724-4dc9-8580-5ffeba883856","P_ID":"0803b176-3a74-43aa-83aa-1f1b99152896","NAME":"境内自然人","NODE_LEVEL":2,"NODE_PATH":"/0803b176-3a74-43aa-83aa-1f1b99152896/6d4a83ee-a724-4dc9-8580-5ffeba883856","CHILD_COUNT":2,"ORDER_NUM":1,"SERIAL_NUMBER":"1.1","CONDITION_ATTR":"02","IS_RADIO":"","IS_SUPPORT":"","SUMMARY":"","CD_TIME":"Sep 30, 2025 6:45:08 PM","CD_BATCH":"2025093000040","DISTRIBUTETAG":"all-data^non-investment^11110000660504319Y^110108000000^non-construction^11110000MB1503996K^non-construction_expansion","DATAJSONTEXT":"{\"VERSION\":\"20220810\",\"TREE_TYPE\":\"\",\"CONSULTATION_QA\":\"\"}","parOrder":"","proOrder":"","newOrderNum":"001.001","itemGuideConditionRelatedList":[]},{"ID":7331098,"TASKGUID":"52b8707b-2d86-46e2-9085-75d463581a49","T_ID":"52f1b916-c39a-48ba-b05a-fcf26abd389b","P_ID":"6d4a83ee-a724-4dc9-8580-5ffeba883856","NAME":"是否成年","NODE_LEVEL":3,"NODE_PATH":"/0803b176-3a74-43aa-83aa-1f1b99152896/6d4a83ee-a724-4dc9-8580-5ffeba883856/52f1b916-c39a-48ba-b05a-fcf26abd389b","CHILD_COUNT":2,"ORDER_NUM":1,"SERIAL_NUMBER":"1.1.1","CONDITION_ATTR":"01","IS_RADIO":"1","IS_SUPPORT":"","SUMMARY":"","CD_TIME":"Sep 30, 2025 6:45:08 PM","CD_BATCH":"2025093000040","DISTRIBUTETAG":"all-data^non-investment^11110000660504319Y^110108000000^non-construction^11110000MB1503996K^non-construction_expansion","DATAJSONTEXT":"{\"VERSION\":\"20220810\",\"TREE_TYPE\":\"\",\"CONSULTATION_QA\":\"\"}","parOrder":"1","proOrder":"1","newOrderNum":"001.001.001","itemGuideConditionRelatedList":[]},{"ID":7331113,"TASKGUID":"52b8707b-2d86-46e2-9085-75d463581a49","T_ID":"bd7dc6bc-f875-4c8f-b6cc-176489f95cca","P_ID":"52f1b916-c39a-48ba-b05a-fcf26abd389b","NAME":"是","NODE_LEVEL":4,"NODE_PATH":"/0803b176-3a74-43aa-83aa-1f1b99152896/6d4a83ee-a724-4dc9-8580-5ffeba883856/52f1b916-c39a-48ba-b05a-fcf26abd389b/bd7dc6bc-f875-4c8f-b6cc-176489f95cca","CHILD_COUNT":0,"ORDER_NUM":1,"SERIAL_NUMBER":"1.1.1.1","CONDITION_ATTR":"02","IS_RADIO":"","IS_SUPPORT":"","SUMMARY":"","CD_TIME":"Sep 30, 2025 6:45:08 PM","CD_BATCH":"2025093000040","DISTRIBUTETAG":"all-data^non-investment^11110000660504319Y^110108000000^non-construction^11110000MB1503996K^non-construction_expansion","DATAJSONTEXT":"{\"VERSION\":\"20220810\",\"TREE_TYPE\":\"\",\"CONSULTATION_QA\":\"\"}","parOrder":"","proOrder":"","newOrderNum":"001.001.001.001","itemGuideConditionRelatedList":[{"ID":26109562,"TASKGUID":"52b8707b-2d86-46e2-9085-75d463581a49","T_ID":"bd7dc6bc-f875-4c8f-b6cc-176489f95cca","G_ID":"3d347fb6-f7ab-4f89-a834-182fcc9fdfc8","M_CODE":"320006","MATERIAL_ID":"4da476be-8c42-46ab-9b5e-15d1a002461d","CD_TIME":"Sep 30, 2025 6:45:08 PM","CD_BATCH":"2025093000040","DISTRIBUTETAG":"all-data^non-investment^11110000660504319Y^110108000000^non-construction^11110000MB1503996K^non-construction_expansion","DATAJSONTEXT":"{\"VERSION\":\"20210903\"}"}]},{"ID":7331088,"TASKGUID":"52b8707b-2d86-46e2-9085-75d463581a49","T_ID":"1218058b-2bf5-4af6-820d-ee4576cb6ada","P_ID":"52f1b916-c39a-48ba-b05a-fcf26abd389b","NAME":"否","NODE_LEVEL":4,"NODE_PATH":"/0803b176-3a74-43aa-83aa-1f1b99152896/6d4a83ee-a724-4dc9-8580-5ffeba883856/52f1b916-c39a-48ba-b05a-fcf26abd389b/1218058b-2bf5-4af6-820d-ee4576cb6ada","CHILD_COUNT":0,"ORDER_NUM":2,"SERIAL_NUMBER":"1.1.1.2","CONDITION_ATTR":"02","IS_RADIO":"","IS_SUPPORT":"","SUMMARY":"","CD_TIME":"Sep 30, 2025 6:45:08 PM","CD_BATCH":"2025093000040","DISTRIBUTETAG":"all-data^non-investment^11110000660504319Y^110108000000^non-construction^11110000MB1503996K^non-construction_expansion","DATAJSONTEXT":"{\"VERSION\":\"20220810\",\"TREE_TYPE\":\"\",\"CONSULTATION_QA\":\"\"}","parOrder":"","proOrder":"","newOrderNum":"001.001.001.002","itemGuideConditionRelatedList":[{"ID":26109246,"TASKGUID":"52b8707b-2d86-46e2-9085-75d463581a49","T_ID":"1218058b-2bf5-4af6-820d-ee4576cb6ada","G_ID":"cbc7dc64-0459-42ce-97a6-832537138410","M_CODE":"320006","MATERIAL_ID":"91c3b64c-f5f0-459f-a63c-92f73c0a2194","CD_TIME":"Sep 30, 2025 6:45:08 PM","CD_BATCH":"2025093000040","DISTRIBUTETAG":"all-data^non-investment^11110000660504319Y^110108000000^non-construction^11110000MB1503996K^non-construction_expansion","DATAJSONTEXT":"{\"VERSION\":\"20210903\"}"},{"ID":26109580,"TASKGUID":"52b8707b-2d86-46e2-9085-75d463581a49","T_ID":"1218058b-2bf5-4af6-820d-ee4576cb6ada","G_ID":"fd81430c-21d6-49f7-b5a3-747e704924b0","M_CODE":"340593","MATERIAL_ID":"615b826b-f999-4ce0-913c-99403bc4b30f","CD_TIME":"Sep 30, 2025 6:45:08 PM","CD_BATCH":"2025093000040","DISTRIBUTETAG":"all-data^non-investment^11110000660504319Y^110108000000^non-construction^11110000MB1503996K^non-construction_expansion","DATAJSONTEXT":"{\"VERSION\":\"20210903\"}"}]},{"ID":7331108,"TASKGUID":"52b8707b-2d86-46e2-9085-75d463581a49","T_ID":"9a5534d1-ea9f-414e-86e5-275b1de7a766","P_ID":"6d4a83ee-a724-4dc9-8580-5ffeba883856","NAME":"是否为个体工商户或农村承包经营户","NODE_LEVEL":3,"NODE_PATH":"/0803b176-3a74-43aa-83aa-1f1b99152896/6d4a83ee-a724-4dc9-8580-5ffeba883856/9a5534d1-ea9f-414e-86e5-275b1de7a766","CHILD_COUNT":2,"ORDER_NUM":2,"SERIAL_NUMBER":"1.1.2","CONDITION_ATTR":"01","IS_RADIO":"1","IS_SUPPORT":"","SUMMARY":"","CD_TIME":"Sep 30, 2025 6:45:08 PM","CD_BATCH":"2025093000040","DISTRIBUTETAG":"all-data^non-investment^11110000660504319Y^110108000000^non-construction^11110000MB1503996K^non-construction_expansion","DATAJSONTEXT":"{\"VERSION\":\"20220810\",\"TREE_TYPE\":\"\",\"CONSULTATION_QA\":\"\"}","parOrder":"1","proOrder":"2","newOrderNum":"001.001.002","itemGuideConditionRelatedList":[]},{"ID":7331093,"TASKGUID":"52b8707b-2d86-46e2-9085-75d463581a49","T_ID":"303c57ea-f32a-4271-8a48-4fc34b4e1133","P_ID":"9a5534d1-ea9f-414e-86e5-275b1de7a766","NAME":"是","NODE_LEVEL":4,"NODE_PATH":"/0803b176-3a74-43aa-83aa-1f1b99152896/6d4a83ee-a724-4dc9-8580-5ffeba883856/9a5534d1-ea9f-414e-86e5-275b1de7a766/303c57ea-f32a-4271-8a48-4fc34b4e1133","CHILD_COUNT":0,"ORDER_NUM":1,"SERIAL_NUMBER":"1.1.2.1","CONDITION_ATTR":"02","IS_RADIO":"","IS_SUPPORT":"","SUMMARY":"","CD_TIME":"Sep 30, 2025 6:45:08 PM","CD_BATCH":"2025093000040","DISTRIBUTETAG":"all-data^non-investment^11110000660504319Y^110108000000^non-construction^11110000MB1503996K^non-construction_expansion","DATAJSONTEXT":"{\"VERSION\":\"20220810\",\"TREE_TYPE\":\"\",\"CONSULTATION_QA\":\"\"}","parOrder":"","proOrder":"","newOrderNum":"001.001.002.001","itemGuideConditionRelatedList":[{"ID":26109310,"TASKGUID":"52b8707b-2d86-46e2-9085-75d463581a49","T_ID":"303c57ea-f32a-4271-8a48-4fc34b4e1133","G_ID":"ae481d92-e2c2-478d-a0a8-9ad3c6a293f5","M_CODE":"346614","MATERIAL_ID":"8fc3c127-caa7-4f57-842f-55b8c82052b1","CD_TIME":"Sep 30, 2025 6:45:08 PM","CD_BATCH":"2025093000040","DISTRIBUTETAG":"all-data^non-investment^11110000660504319Y^110108000000^non-construction^11110000MB1503996K^non-construction_expansion","DATAJSONTEXT":"{\"VERSION\":\"20210903\"}"},{"ID":26109633,"TASKGUID":"52b8707b-2d86-46e2-9085-75d463581a49","T_ID":"303c57ea-f32a-4271-8a48-4fc34b4e1133","G_ID":"9499b905-a1eb-4341-9112-1ce2c43481e3","M_CODE":"209630","MATERIAL_ID":"763c86d1-007c-47ac-8c83-242f7ca5cc70","CD_TIME":"Sep 30, 2025 6:45:08 PM","CD_BATCH":"2025093000040","DISTRIBUTETAG":"all-data^non-investment^11110000660504319Y^110108000000^non-construction^11110000MB1503996K^non-construction_expansion","DATAJSONTEXT":"{\"VERSION\":\"20210903\"}"}]},{"ID":7331092,"TASKGUID":"52b8707b-2d86-46e2-9085-75d463581a49","T_ID":"29946e22-736b-4813-b49e-be575eb6865c","P_ID":"9a5534d1-ea9f-414e-86e5-275b1de7a766","NAME":"否","NODE_LEVEL":4,"NODE_PATH":"/0803b176-3a74-43aa-83aa-1f1b99152896/6d4a83ee-a724-4dc9-8580-5ffeba883856/9a5534d1-ea9f-414e-86e5-275b1de7a766/29946e22-736b-4813-b49e-be575eb6865c","CHILD_COUNT":0,"ORDER_NUM":2,"SERIAL_NUMBER":"1.1.2.2","CONDITION_ATTR":"02","IS_RADIO":"","IS_SUPPORT":"","SUMMARY":"","CD_TIME":"Sep 30, 2025 6:45:08 PM","CD_BATCH":"2025093000040","DISTRIBUTETAG":"all-data^non-investment^11110000660504319Y^110108000000^non-construction^11110000MB1503996K^non-construction_expansion","DATAJSONTEXT":"{\"VERSION\":\"20220810\",\"TREE_TYPE\":\"\",\"CONSULTATION_QA\":\"\"}","parOrder":"","proOrder":"","newOrderNum":"001.001.002.002","itemGuideConditionRelatedList":[]},{"ID":7331117,"TASKGUID":"52b8707b-2d86-46e2-9085-75d463581a49","T_ID":"e97ed770-2403-4b81-b79f-a7b15c32434f","P_ID":"0803b176-3a74-43aa-83aa-1f1b99152896","NAME":"香港、澳门特别行政区自然人","NODE_LEVEL":2,"NODE_PATH":"/0803b176-3a74-43aa-83aa-1f1b99152896/e97ed770-2403-4b81-b79f-a7b15c32434f","CHILD_COUNT":0,"ORDER_NUM":2,"SERIAL_NUMBER":"1.2","CONDITION_ATTR":"02","IS_RADIO":"","IS_SUPPORT":"","SUMMARY":"","CD_TIME":"Sep 30, 2025 6:45:08 PM","CD_BATCH":"2025093000040","DISTRIBUTETAG":"all-data^non-investment^11110000660504319Y^110108000000^non-construction^11110000MB1503996K^non-construction_expansion","DATAJSONTEXT":"{\"VERSION\":\"20220810\",\"TREE_TYPE\":\"\",\"CONSULTATION_QA\":\"\"}","parOrder":"","proOrder":"","newOrderNum":"001.002","itemGuideConditionRelatedList":[{"ID":26109203,"TASKGUID":"52b8707b-2d86-46e2-9085-75d463581a49","T_ID":"e97ed770-2403-4b81-b79f-a7b15c32434f","G_ID":"838cf1b3-d5db-49ab-87d5-20e91991d59f","M_CODE":"340580","MATERIAL_ID":"3ec9ff49-6aeb-4bf1-956d-5a44fe2ab46e","CD_TIME":"Sep 30, 2025 6:45:08 PM","CD_BATCH":"2025093000040","DISTRIBUTETAG":"all-data^non-investment^11110000660504319Y^110108000000^non-construction^11110000MB1503996K^non-construction_expansion","DATAJSONTEXT":"{\"VERSION\":\"20210903\"}"},{"ID":26109223,"TASKGUID":"52b8707b-2d86-46e2-9085-75d463581a49","T_ID":"e97ed770-2403-4b81-b79f-a7b15c32434f","G_ID":"49aa3405-ac12-4855-af28-903e00b3112f","M_CODE":"347022","MATERIAL_ID":"48064189-41ae-450a-b853-e9dcb4a5479c","CD_TIME":"Sep 30, 2025 6:45:08 PM","CD_BATCH":"2025093000040","DISTRIBUTETAG":"all-data^non-investment^11110000660504319Y^110108000000^non-construction^11110000MB1503996K^non-construction_expansion","DATAJSONTEXT":"{\"VERSION\":\"20210903\"}"},{"ID":26109232,"TASKGUID":"52b8707b-2d86-46e2-9085-75d463581a49","T_ID":"e97ed770-2403-4b81-b79f-a7b15c32434f","G_ID":"2ede2d8a-1c97-4892-ba3f-acf6c0b916d0","M_CODE":"347360","MATERIAL_ID":"45bc3612-82f1-44d3-962c-5127c67072ee","CD_TIME":"Sep 30, 2025 6:45:08 PM","CD_BATCH":"2025093000040","DISTRIBUTETAG":"all-data^non-investment^11110000660504319Y^110108000000^non-construction^11110000MB1503996K^non-construction_expansion","DATAJSONTEXT":"{\"VERSION\":\"20210903\"}"},{"ID":26109234,"TASKGUID":"52b8707b-2d86-46e2-9085-75d463581a49","T_ID":"e97ed770-2403-4b81-b79f-a7b15c32434f","G_ID":"80ddbf8e-0925-4dd5-9b01-1b552cd44e56","M_CODE":"345889","MATERIAL_ID":"e213b0e1-0786-4b37-bab5-10a51a89e7e0","CD_TIME":"Sep 30, 2025 6:45:08 PM","CD_BATCH":"2025093000040","DISTRIBUTETAG":"all-data^non-investment^11110000660504319Y^110108000000^non-construction^11110000MB1503996K^non-construction_expansion","DATAJSONTEXT":"{\"VERSION\":\"20210903\"}"},{"ID":26109307,"TASKGUID":"52b8707b-2d86-46e2-9085-75d463581a49","T_ID":"e97ed770-2403-4b81-b79f-a7b15c32434f","G_ID":"40074907-b673-4225-891c-e84130df6ac3","M_CODE":"206127","MATERIAL_ID":"52a88bfe-76e0-474d-ac8d-019762970666","CD_TIME":"Sep 30, 2025 6:45:08 PM","CD_BATCH":"2025093000040","DISTRIBUTETAG":"all-data^non-investment^11110000660504319Y^110108000000^non-construction^11110000MB1503996K^non-construction_expansion","DATAJSONTEXT":"{\"VERSION\":\"20210903\"}"},{"ID":26109361,"TASKGUID":"52b8707b-2d86-46e2-9085-75d463581a49","T_ID":"e97ed770-2403-4b81-b79f-a7b15c32434f","G_ID":"a6bbfaac-f5c8-40ae-a4f8-e3d629fadabb","M_CODE":"346621","MATERIAL_ID":"6bdb89e0-3e21-4a24-9a94-974d344994ac","CD_TIME":"Sep 30, 2025 6:45:08 PM","CD_BATCH":"2025093000040","DISTRIBUTETAG":"all-data^non-investment^11110000660504319Y^110108000000^non-construction^11110000MB1503996K^non-construction_expansion","DATAJSONTEXT":"{\"VERSION\":\"20210903\"}"}]},{"ID":7331109,"TASKGUID":"52b8707b-2d86-46e2-9085-75d463581a49","T_ID":"a1094608-f549-48dc-925d-fa016b737d77","P_ID":"0803b176-3a74-43aa-83aa-1f1b99152896","NAME":"台湾地区自然人","NODE_LEVEL":2,"NODE_PATH":"/0803b176-3a74-43aa-83aa-1f1b99152896/a1094608-f549-48dc-925d-fa016b737d77","CHILD_COUNT":0,"ORDER_NUM":3,"SERIAL_NUMBER":"1.3","CONDITION_ATTR":"02","IS_RADIO":"","IS_SUPPORT":"","SUMMARY":"","CD_TIME":"Sep 30, 2025 6:45:08 PM","CD_BATCH":"2025093000040","DISTRIBUTETAG":"all-data^non-investment^11110000660504319Y^110108000000^non-construction^11110000MB1503996K^non-construction_expansion","DATAJSONTEXT":"{\"VERSION\":\"20220810\",\"TREE_TYPE\":\"\",\"CONSULTATION_QA\":\"\"}","parOrder":"","proOrder":"","newOrderNum":"001.003","itemGuideConditionRelatedList":[{"ID":26109217,"TASKGUID":"52b8707b-2d86-46e2-9085-75d463581a49","T_ID":"a1094608-f549-48dc-925d-fa016b737d77","G_ID":"a926f4b1-0b4f-405e-aa64-d750bae653f5","M_CODE":"345560","MATERIAL_ID":"560870a7-d3ef-4c09-9226-93029f4aee4a","CD_TIME":"Sep 30, 2025 6:45:08 PM","CD_BATCH":"2025093000040","DISTRIBUTETAG":"all-data^non-investment^11110000660504319Y^110108000000^non-construction^11110000MB1503996K^non-construction_expansion","DATAJSONTEXT":"{\"VERSION\":\"20210903\"}"},{"ID":26109759,"TASKGUID":"52b8707b-2d86-46e2-9085-75d463581a49","T_ID":"a1094608-f549-48dc-925d-fa016b737d77","G_ID":"fdd0615e-1e46-4d69-8607-7a164ce2eb33","M_CODE":"340581","MATERIAL_ID":"9969aab8-9544-4f35-86e2-090df850b569","CD_TIME":"Sep 30, 2025 6:45:08 PM","CD_BATCH":"2025093000040","DISTRIBUTETAG":"all-data^non-investment^11110000660504319Y^110108000000^non-construction^11110000MB1503996K^non-construction_expansion","DATAJSONTEXT":"{\"VERSION\":\"20210903\"}"}]},{"ID":7331090,"TASKGUID":"52b8707b-2d86-46e2-9085-75d463581a49","T_ID":"1f924833-cc61-4f5b-aa78-8248d9150f31","P_ID":"0803b176-3a74-43aa-83aa-1f1b99152896","NAME":"华侨","NODE_LEVEL":2,"NODE_PATH":"/0803b176-3a74-43aa-83aa-1f1b99152896/1f924833-cc61-4f5b-aa78-8248d9150f31","CHILD_COUNT":0,"ORDER_NUM":4,"SERIAL_NUMBER":"1.4","CONDITION_ATTR":"02","IS_RADIO":"","IS_SUPPORT":"","SUMMARY":"","CD_TIME":"Sep 30, 2025 6:45:08 PM","CD_BATCH":"2025093000040","DISTRIBUTETAG":"all-data^non-investment^11110000660504319Y^110108000000^non-construction^11110000MB1503996K^non-construction_expansion","DATAJSONTEXT":"{\"VERSION\":\"20220810\",\"TREE_TYPE\":\"\",\"CONSULTATION_QA\":\"\"}","parOrder":"","proOrder":"","newOrderNum":"001.004","itemGuideConditionRelatedList":[{"ID":26109340,"TASKGUID":"52b8707b-2d86-46e2-9085-75d463581a49","T_ID":"1f924833-cc61-4f5b-aa78-8248d9150f31","G_ID":"7849f919-3861-40d1-98c8-4ebf77b0bed6","M_CODE":"209630","MATERIAL_ID":"c726ea93-9765-432a-bcb7-ea4460b73c25","CD_TIME":"Sep 30, 2025 6:45:08 PM","CD_BATCH":"2025093000040","DISTRIBUTETAG":"all-data^non-investment^11110000660504319Y^110108000000^non-construction^11110000MB1503996K^non-construction_expansion","DATAJSONTEXT":"{\"VERSION\":\"20210903\"}"},{"ID":26109526,"TASKGUID":"52b8707b-2d86-46e2-9085-75d463581a49","T_ID":"1f924833-cc61-4f5b-aa78-8248d9150f31","G_ID":"3826ea36-ea82-4e7d-8008-319fd25c03de","M_CODE":"340576","MATERIAL_ID":"ce168924-bfe7-4c49-806c-2d9cf13951f0","CD_TIME":"Sep 30, 2025 6:45:08 PM","CD_BATCH":"2025093000040","DISTRIBUTETAG":"all-data^non-investment^11110000660504319Y^110108000000^non-construction^11110000MB1503996K^non-construction_expansion","DATAJSONTEXT":"{\"VERSION\":\"20210903\"}"}]},{"ID":7331086,"TASKGUID":"52b8707b-2d86-46e2-9085-75d463581a49","T_ID":"0085ca2c-1ae4-4a36-910b-aaf3cdf7a7f3","P_ID":"0803b176-3a74-43aa-83aa-1f1b99152896","NAME":"外籍自然人","NODE_LEVEL":2,"NODE_PATH":"/0803b176-3a74-43aa-83aa-1f1b99152896/0085ca2c-1ae4-4a36-910b-aaf3cdf7a7f3","CHILD_COUNT":0,"ORDER_NUM":5,"SERIAL_NUMBER":"1.5","CONDITION_ATTR":"02","IS_RADIO":"","IS_SUPPORT":"","SUMMARY":"","CD_TIME":"Sep 30, 2025 6:45:08 PM","CD_BATCH":"2025093000040","DISTRIBUTETAG":"all-data^non-investment^11110000660504319Y^110108000000^non-construction^11110000MB1503996K^non-construction_expansion","DATAJSONTEXT":"{\"VERSION\":\"20220810\",\"TREE_TYPE\":\"\",\"CONSULTATION_QA\":\"\"}","parOrder":"","proOrder":"","newOrderNum":"001.005","itemGuideConditionRelatedList":[{"ID":26109354,"TASKGUID":"52b8707b-2d86-46e2-9085-75d463581a49","T_ID":"0085ca2c-1ae4-4a36-910b-aaf3cdf7a7f3","G_ID":"e877d137-b431-45f4-b36e-d5752ce9af4b","M_CODE":"344736","MATERIAL_ID":"1d65f662-53f5-48aa-bb96-bbcd64fa3bc3","CD_TIME":"Sep 30, 2025 6:45:08 PM","CD_BATCH":"2025093000040","DISTRIBUTETAG":"all-data^non-investment^11110000660504319Y^110108000000^non-construction^11110000MB1503996K^non-construction_expansion","DATAJSONTEXT":"{\"VERSION\":\"20210903\"}"},{"ID":26109567,"TASKGUID":"52b8707b-2d86-46e2-9085-75d463581a49","T_ID":"0085ca2c-1ae4-4a36-910b-aaf3cdf7a7f3","G_ID":"9004c5c0-1770-4b8b-a8c9-4cca94e94c97","M_CODE":"344780","MATERIAL_ID":"07a9b2e2-48b5-4ec0-a31f-064acd75edfa","CD_TIME":"Sep 30, 2025 6:45:08 PM","CD_BATCH":"2025093000040","DISTRIBUTETAG":"all-data^non-investment^11110000660504319Y^110108000000^non-construction^11110000MB1503996K^non-construction_expansion","DATAJSONTEXT":"{\"VERSION\":\"20210903\"}"}]},{"ID":7331115,"TASKGUID":"52b8707b-2d86-46e2-9085-75d463581a49","T_ID":"d40bab3b-28ee-4de3-b1bc-73e86bb7e704","P_ID":"0803b176-3a74-43aa-83aa-1f1b99152896","NAME":"境内营利法人","NODE_LEVEL":2,"NODE_PATH":"/0803b176-3a74-43aa-83aa-1f1b99152896/d40bab3b-28ee-4de3-b1bc-73e86bb7e704","CHILD_COUNT":0,"ORDER_NUM":6,"SERIAL_NUMBER":"1.6","CONDITION_ATTR":"02","IS_RADIO":"","IS_SUPPORT":"","SUMMARY":"","CD_TIME":"Sep 30, 2025 6:45:08 PM","CD_BATCH":"2025093000040","DISTRIBUTETAG":"all-data^non-investment^11110000660504319Y^110108000000^non-construction^11110000MB1503996K^non-construction_expansion","DATAJSONTEXT":"{\"VERSION\":\"20220810\",\"TREE_TYPE\":\"\",\"CONSULTATION_QA\":\"\"}","parOrder":"","proOrder":"","newOrderNum":"001.006","itemGuideConditionRelatedList":[{"ID":26109648,"TASKGUID":"52b8707b-2d86-46e2-9085-75d463581a49","T_ID":"d40bab3b-28ee-4de3-b1bc-73e86bb7e704","G_ID":"45d295fb-fb45-445b-af71-df62a66de116","M_CODE":"341898","MATERIAL_ID":"fe1d036a-5941-473d-9984-dd2b19f429b6","CD_TIME":"Sep 30, 2025 6:45:08 PM","CD_BATCH":"2025093000040","DISTRIBUTETAG":"all-data^non-investment^11110000660504319Y^110108000000^non-construction^11110000MB1503996K^non-construction_expansion","DATAJSONTEXT":"{\"VERSION\":\"20210903\"}"}]},{"ID":7331094,"TASKGUID":"52b8707b-2d86-46e2-9085-75d463581a49","T_ID":"309a1353-31fc-4a7f-8de6-14afba1ab36c","P_ID":"0803b176-3a74-43aa-83aa-1f1b99152896","NAME":"境内非营利法人","NODE_LEVEL":2,"NODE_PATH":"/0803b176-3a74-43aa-83aa-1f1b99152896/309a1353-31fc-4a7f-8de6-14afba1ab36c","CHILD_COUNT":0,"ORDER_NUM":7,"SERIAL_NUMBER":"1.7","CONDITION_ATTR":"02","IS_RADIO":"","IS_SUPPORT":"","SUMMARY":"","CD_TIME":"Sep 30, 2025 6:45:08 PM","CD_BATCH":"2025093000040","DISTRIBUTETAG":"all-data^non-investment^11110000660504319Y^110108000000^non-construction^11110000MB1503996K^non-construction_expansion","DATAJSONTEXT":"{\"VERSION\":\"20220810\",\"TREE_TYPE\":\"\",\"CONSULTATION_QA\":\"\"}","parOrder":"","proOrder":"","newOrderNum":"001.007","itemGuideConditionRelatedList":[{"ID":26109277,"TASKGUID":"52b8707b-2d86-46e2-9085-75d463581a49","T_ID":"309a1353-31fc-4a7f-8de6-14afba1ab36c","G_ID":"d487be33-3192-4fbd-8433-1df536957457","M_CODE":"340675","MATERIAL_ID":"6a0b5816-2692-437f-882c-9963df4e04d8","CD_TIME":"Sep 30, 2025 6:45:08 PM","CD_BATCH":"2025093000040","DISTRIBUTETAG":"all-data^non-investment^11110000660504319Y^110108000000^non-construction^11110000MB1503996K^non-construction_expansion","DATAJSONTEXT":"{\"VERSION\":\"20210903\"}"},{"ID":26109402,"TASKGUID":"52b8707b-2d86-46e2-9085-75d463581a49","T_ID":"309a1353-31fc-4a7f-8de6-14afba1ab36c","G_ID":"0d3693d4-8632-49ab-9e23-4d542944bac4","M_CODE":"344352","MATERIAL_ID":"e197c086-3ff6-490b-a404-79b5b01c5ae7","CD_TIME":"Sep 30, 2025 6:45:08 PM","CD_BATCH":"2025093000040","DISTRIBUTETAG":"all-data^non-investment^11110000660504319Y^110108000000^non-construction^11110000MB1503996K^non-construction_expansion","DATAJSONTEXT":"{\"VERSION\":\"20210903\"}"},{"ID":26109428,"TASKGUID":"52b8707b-2d86-46e2-9085-75d463581a49","T_ID":"309a1353-31fc-4a7f-8de6-14afba1ab36c","G_ID":"a87f7db5-32f4-46cb-911b-7e4cc9550480","M_CODE":"340680","MATERIAL_ID":"0a4dc40f-df1a-4bc4-9f5d-a1c135df19a0","CD_TIME":"Sep 30, 2025 6:45:08 PM","CD_BATCH":"2025093000040","DISTRIBUTETAG":"all-data^non-investment^11110000660504319Y^110108000000^non-construction^11110000MB1503996K^non-construction_expansion","DATAJSONTEXT":"{\"VERSION\":\"20210903\"}"},{"ID":26109604,"TASKGUID":"52b8707b-2d86-46e2-9085-75d463581a49","T_ID":"309a1353-31fc-4a7f-8de6-14afba1ab36c","G_ID":"7506d1e3-2ae2-4cdb-b573-e802ce3bc48c","M_CODE":"209630","MATERIAL_ID":"dff327e8-81ba-404f-bc91-23fb058c06f2","CD_TIME":"Sep 30, 2025 6:45:08 PM","CD_BATCH":"2025093000040","DISTRIBUTETAG":"all-data^non-investment^11110000660504319Y^110108000000^non-construction^11110000MB1503996K^non-construction_expansion","DATAJSONTEXT":"{\"VERSION\":\"20210903\"}"},{"ID":26109692,"TASKGUID":"52b8707b-2d86-46e2-9085-75d463581a49","T_ID":"309a1353-31fc-4a7f-8de6-14afba1ab36c","G_ID":"aa58d354-06da-4b87-b365-282852ab056a","M_CODE":"203760","MATERIAL_ID":"79c3d8b6-64f2-4532-93a4-6df197b0a01e","CD_TIME":"Sep 30, 2025 6:45:08 PM","CD_BATCH":"2025093000040","DISTRIBUTETAG":"all-data^non-investment^11110000660504319Y^110108000000^non-construction^11110000MB1503996K^non-construction_expansion","DATAJSONTEXT":"{\"VERSION\":\"20210903\"}"},{"ID":26109736,"TASKGUID":"52b8707b-2d86-46e2-9085-75d463581a49","T_ID":"309a1353-31fc-4a7f-8de6-14afba1ab36c","G_ID":"f8fdaea8-cf66-42be-b2db-9cba443e5474","M_CODE":"345025","MATERIAL_ID":"e9054210-d64f-4411-9049-512252af8c59","CD_TIME":"Sep 30, 2025 6:45:08 PM","CD_BATCH":"2025093000040","DISTRIBUTETAG":"all-data^non-investment^11110000660504319Y^110108000000^non-construction^11110000MB1503996K^non-construction_expansion","DATAJSONTEXT":"{\"VERSION\":\"20210903\"}"}]},{"ID":7331097,"TASKGUID":"52b8707b-2d86-46e2-9085-75d463581a49","T_ID":"4cea10a9-af1c-4637-aecd-98b5e44509c6","P_ID":"0803b176-3a74-43aa-83aa-1f1b99152896","NAME":"境内特别法人","NODE_LEVEL":2,"NODE_PATH":"/0803b176-3a74-43aa-83aa-1f1b99152896/4cea10a9-af1c-4637-aecd-98b5e44509c6","CHILD_COUNT":0,"ORDER_NUM":8,"SERIAL_NUMBER":"1.8","CONDITION_ATTR":"02","IS_RADIO":"","IS_SUPPORT":"","SUMMARY":"","CD_TIME":"Sep 30, 2025 6:45:08 PM","CD_BATCH":"2025093000040","DISTRIBUTETAG":"all-data^non-investment^11110000660504319Y^110108000000^non-construction^11110000MB1503996K^non-construction_expansion","DATAJSONTEXT":"{\"VERSION\":\"20220810\",\"TREE_TYPE\":\"\",\"CONSULTATION_QA\":\"\"}","parOrder":"","proOrder":"","newOrderNum":"001.008","itemGuideConditionRelatedList":[{"ID":26109214,"TASKGUID":"52b8707b-2d86-46e2-9085-75d463581a49","T_ID":"4cea10a9-af1c-4637-aecd-98b5e44509c6","G_ID":"22a2143f-b92e-466a-82ba-b09b03aafde5","M_CODE":"345097","MATERIAL_ID":"e2bda5bf-a25a-4920-982c-393a7280272c","CD_TIME":"Sep 30, 2025 6:45:08 PM","CD_BATCH":"2025093000040","DISTRIBUTETAG":"all-data^non-investment^11110000660504319Y^110108000000^non-construction^11110000MB1503996K^non-construction_expansion","DATAJSONTEXT":"{\"VERSION\":\"20210903\"}"},{"ID":26109390,"TASKGUID":"52b8707b-2d86-46e2-9085-75d463581a49","T_ID":"4cea10a9-af1c-4637-aecd-98b5e44509c6","G_ID":"d6fe1550-43be-4efd-8cf2-d8781bb2d4c8","M_CODE":"320084","MATERIAL_ID":"f0a9538e-d7f6-4982-8c6c-8a2257ad26aa","CD_TIME":"Sep 30, 2025 6:45:08 PM","CD_BATCH":"2025093000040","DISTRIBUTETAG":"all-data^non-investment^11110000660504319Y^110108000000^non-construction^11110000MB1503996K^non-construction_expansion","DATAJSONTEXT":"{\"VERSION\":\"20210903\"}"},{"ID":26109534,"TASKGUID":"52b8707b-2d86-46e2-9085-75d463581a49","T_ID":"4cea10a9-af1c-4637-aecd-98b5e44509c6","G_ID":"0030a649-f176-4434-9fa9-ba83ff881670","M_CODE":"346737","MATERIAL_ID":"fc8a0a63-555f-4db2-ba2a-d2e9c8c25e10","CD_TIME":"Sep 30, 2025 6:45:08 PM","CD_BATCH":"2025093000040","DISTRIBUTETAG":"all-data^non-investment^11110000660504319Y^110108000000^non-construction^11110000MB1503996K^non-construction_expansion","DATAJSONTEXT":"{\"VERSION\":\"20210903\"}"},{"ID":26109568,"TASKGUID":"52b8707b-2d86-46e2-9085-75d463581a49","T_ID":"4cea10a9-af1c-4637-aecd-98b5e44509c6","G_ID":"e34ac9f5-9e53-41f0-959a-6c7a1e4c4c42","M_CODE":"346738","MATERIAL_ID":"11891463-5f5f-4a39-a46d-2573e01fdbdd","CD_TIME":"Sep 30, 2025 6:45:08 PM","CD_BATCH":"2025093000040","DISTRIBUTETAG":"all-data^non-investment^11110000660504319Y^110108000000^non-construction^11110000MB1503996K^non-construction_expansion","DATAJSONTEXT":"{\"VERSION\":\"20210903\"}"},{"ID":26109569,"TASKGUID":"52b8707b-2d86-46e2-9085-75d463581a49","T_ID":"4cea10a9-af1c-4637-aecd-98b5e44509c6","G_ID":"7bdbab23-7db8-4237-ba1a-b4655b4cf4ea","M_CODE":"203376","MATERIAL_ID":"e5e93321-15b1-413e-884c-6e674c59c8f0","CD_TIME":"Sep 30, 2025 6:45:08 PM","CD_BATCH":"2025093000040","DISTRIBUTETAG":"all-data^non-investment^11110000660504319Y^110108000000^non-construction^11110000MB1503996K^non-construction_expansion","DATAJSONTEXT":"{\"VERSION\":\"20210903\"}"}]},{"ID":7331112,"TASKGUID":"52b8707b-2d86-46e2-9085-75d463581a49","T_ID":"bbd9bde6-d167-478c-ac56-946f163340fb","P_ID":"0803b176-3a74-43aa-83aa-1f1b99152896","NAME":"境内非法人组织","NODE_LEVEL":2,"NODE_PATH":"/0803b176-3a74-43aa-83aa-1f1b99152896/bbd9bde6-d167-478c-ac56-946f163340fb","CHILD_COUNT":0,"ORDER_NUM":9,"SERIAL_NUMBER":"1.9","CONDITION_ATTR":"02","IS_RADIO":"","IS_SUPPORT":"","SUMMARY":"","CD_TIME":"Sep 30, 2025 6:45:08 PM","CD_BATCH":"2025093000040","DISTRIBUTETAG":"all-data^non-investment^11110000660504319Y^110108000000^non-construction^11110000MB1503996K^non-construction_expansion","DATAJSONTEXT":"{\"VERSION\":\"20220810\",\"TREE_TYPE\":\"\",\"CONSULTATION_QA\":\"\"}","parOrder":"","proOrder":"","newOrderNum":"001.009","itemGuideConditionRelatedList":[{"ID":26109109,"TASKGUID":"52b8707b-2d86-46e2-9085-75d463581a49","T_ID":"bbd9bde6-d167-478c-ac56-946f163340fb","G_ID":"a27c5390-75aa-4070-9f8f-35fc4108519b","M_CODE":"209630","MATERIAL_ID":"010a702b-47af-4d98-a018-c2124adf3b19","CD_TIME":"Sep 30, 2025 6:45:08 PM","CD_BATCH":"2025093000040","DISTRIBUTETAG":"all-data^non-investment^11110000660504319Y^110108000000^non-construction^11110000MB1503996K^non-construction_expansion","DATAJSONTEXT":"{\"VERSION\":\"20210903\"}"},{"ID":26109450,"TASKGUID":"52b8707b-2d86-46e2-9085-75d463581a49","T_ID":"bbd9bde6-d167-478c-ac56-946f163340fb","G_ID":"babbcb00-3ddd-404d-872e-b098bb1efc27","M_CODE":"341898","MATERIAL_ID":"2528555c-d7c5-4461-bf25-f30c08cebde6","CD_TIME":"Sep 30, 2025 6:45:08 PM","CD_BATCH":"2025093000040","DISTRIBUTETAG":"all-data^non-investment^11110000660504319Y^110108000000^non-construction^11110000MB1503996K^non-construction_expansion","DATAJSONTEXT":"{\"VERSION\":\"20210903\"}"}]},{"ID":7331099,"TASKGUID":"52b8707b-2d86-46e2-9085-75d463581a49","T_ID":"5fd1e5fb-2369-4ddf-9470-eb72d922d811","P_ID":"0803b176-3a74-43aa-83aa-1f1b99152896","NAME":"香港特别行政区、澳门特别行政区、台湾地区的法人或非法人组织","NODE_LEVEL":2,"NODE_PATH":"/0803b176-3a74-43aa-83aa-1f1b99152896/5fd1e5fb-2369-4ddf-9470-eb72d922d811","CHILD_COUNT":0,"ORDER_NUM":10,"SERIAL_NUMBER":"1.10","CONDITION_ATTR":"02","IS_RADIO":"","IS_SUPPORT":"","SUMMARY":"","CD_TIME":"Sep 30, 2025 6:45:08 PM","CD_BATCH":"2025093000040","DISTRIBUTETAG":"all-data^non-investment^11110000660504319Y^110108000000^non-construction^11110000MB1503996K^non-construction_expansion","DATAJSONTEXT":"{\"VERSION\":\"20220810\",\"TREE_TYPE\":\"\",\"CONSULTATION_QA\":\"\"}","parOrder":"","proOrder":"","newOrderNum":"001.010","itemGuideConditionRelatedList":[{"ID":26109327,"TASKGUID":"52b8707b-2d86-46e2-9085-75d463581a49","T_ID":"5fd1e5fb-2369-4ddf-9470-eb72d922d811","G_ID":"6db67ef1-52d7-47c2-a83c-e5387bd5b2b2","M_CODE":"203426","MATERIAL_ID":"6c76f5e4-48e9-45c4-bae9-84c2cfcb3a17","CD_TIME":"Sep 30, 2025 6:45:08 PM","CD_BATCH":"2025093000040","DISTRIBUTETAG":"all-data^non-investment^11110000660504319Y^110108000000^non-construction^11110000MB1503996K^non-construction_expansion","DATAJSONTEXT":"{\"VERSION\":\"20210903\"}"},{"ID":26109382,"TASKGUID":"52b8707b-2d86-46e2-9085-75d463581a49","T_ID":"5fd1e5fb-2369-4ddf-9470-eb72d922d811","G_ID":"9bdc7b5e-34d2-42f2-8afd-fa61070a211c","M_CODE":"203425","MATERIAL_ID":"20eb6f7e-b3aa-422b-a4ee-b82906464634","CD_TIME":"Sep 30, 2025 6:45:08 PM","CD_BATCH":"2025093000040","DISTRIBUTETAG":"all-data^non-investment^11110000660504319Y^110108000000^non-construction^11110000MB1503996K^non-construction_expansion","DATAJSONTEXT":"{\"VERSION\":\"20210903\"}"},{"ID":26109772,"TASKGUID":"52b8707b-2d86-46e2-9085-75d463581a49","T_ID":"5fd1e5fb-2369-4ddf-9470-eb72d922d811","G_ID":"f03e0f63-b65b-40af-8a69-d765c752f282","M_CODE":"203379","MATERIAL_ID":"91526084-6d5a-4319-8275-2c0169636d1e","CD_TIME":"Sep 30, 2025 6:45:08 PM","CD_BATCH":"2025093000040","DISTRIBUTETAG":"all-data^non-investment^11110000660504319Y^110108000000^non-construction^11110000MB1503996K^non-construction_expansion","DATAJSONTEXT":"{\"VERSION\":\"20210903\"}"}]},{"ID":7331103,"TASKGUID":"52b8707b-2d86-46e2-9085-75d463581a49","T_ID":"79747ce1-7073-4a12-b77b-8ef565548337","P_ID":"0803b176-3a74-43aa-83aa-1f1b99152896","NAME":"境外法人或非法人组织","NODE_LEVEL":2,"NODE_PATH":"/0803b176-3a74-43aa-83aa-1f1b99152896/79747ce1-7073-4a12-b77b-8ef565548337","CHILD_COUNT":0,"ORDER_NUM":11,"SERIAL_NUMBER":"1.11","CONDITION_ATTR":"02","IS_RADIO":"","IS_SUPPORT":"","SUMMARY":"","CD_TIME":"Sep 30, 2025 6:45:08 PM","CD_BATCH":"2025093000040","DISTRIBUTETAG":"all-data^non-investment^11110000660504319Y^110108000000^non-construction^11110000MB1503996K^non-construction_expansion","DATAJSONTEXT":"{\"VERSION\":\"20220810\",\"TREE_TYPE\":\"\",\"CONSULTATION_QA\":\"\"}","parOrder":"","proOrder":"","newOrderNum":"001.011","itemGuideConditionRelatedList":[{"ID":26109358,"TASKGUID":"52b8707b-2d86-46e2-9085-75d463581a49","T_ID":"79747ce1-7073-4a12-b77b-8ef565548337","G_ID":"03fb17fd-363c-4d14-a85d-b90685ca6dab","M_CODE":"203378","MATERIAL_ID":"f0519448-088a-4690-9f17-f2ffc86b79f5","CD_TIME":"Sep 30, 2025 6:45:08 PM","CD_BATCH":"2025093000040","DISTRIBUTETAG":"all-data^non-investment^11110000660504319Y^110108000000^non-construction^11110000MB1503996K^non-construction_expansion","DATAJSONTEXT":"{\"VERSION\":\"20210903\"}"},{"ID":26109518,"TASKGUID":"52b8707b-2d86-46e2-9085-75d463581a49","T_ID":"79747ce1-7073-4a12-b77b-8ef565548337","G_ID":"1c78d808-c73f-4b89-90e2-dffa7b5a3f19","M_CODE":"203425","MATERIAL_ID":"56dff005-651e-416a-b53b-32357fed5fd2","CD_TIME":"Sep 30, 2025 6:45:08 PM","CD_BATCH":"2025093000040","DISTRIBUTETAG":"all-data^non-investment^11110000660504319Y^110108000000^non-construction^11110000MB1503996K^non-construction_expansion","DATAJSONTEXT":"{\"VERSION\":\"20210903\"}"},{"ID":26109776,"TASKGUID":"52b8707b-2d86-46e2-9085-75d463581a49","T_ID":"79747ce1-7073-4a12-b77b-8ef565548337","G_ID":"bc9cddb8-ca6f-4ad9-acd9-4c61a641b058","M_CODE":"203426","MATERIAL_ID":"210036fe-b921-48b0-b5a8-90f1b39867d6","CD_TIME":"Sep 30, 2025 6:45:08 PM","CD_BATCH":"2025093000040","DISTRIBUTETAG":"all-data^non-investment^11110000660504319Y^110108000000^non-construction^11110000MB1503996K^non-construction_expansion","DATAJSONTEXT":"{\"VERSION\":\"20210903\"}"}]},{"ID":7331095,"TASKGUID":"52b8707b-2d86-46e2-9085-75d463581a49","T_ID":"3f88ca01-52ab-46d6-94e7-471abd32610e","P_ID":"0803b176-3a74-43aa-83aa-1f1b99152896","NAME":"外国驻华使(领)馆和外国驻华办事机构、国际组织驻华代表机构","NODE_LEVEL":2,"NODE_PATH":"/0803b176-3a74-43aa-83aa-1f1b99152896/3f88ca01-52ab-46d6-94e7-471abd32610e","CHILD_COUNT":0,"ORDER_NUM":12,"SERIAL_NUMBER":"1.12","CONDITION_ATTR":"02","IS_RADIO":"","IS_SUPPORT":"","SUMMARY":"","CD_TIME":"Sep 30, 2025 6:45:08 PM","CD_BATCH":"2025093000040","DISTRIBUTETAG":"all-data^non-investment^11110000660504319Y^110108000000^non-construction^11110000MB1503996K^non-construction_expansion","DATAJSONTEXT":"{\"VERSION\":\"20220810\",\"TREE_TYPE\":\"\",\"CONSULTATION_QA\":\"\"}","parOrder":"","proOrder":"","newOrderNum":"001.012","itemGuideConditionRelatedList":[{"ID":26109398,"TASKGUID":"52b8707b-2d86-46e2-9085-75d463581a49","T_ID":"3f88ca01-52ab-46d6-94e7-471abd32610e","G_ID":"2bd4acb5-677b-473c-ad1a-d142e8c2af96","M_CODE":"209630","MATERIAL_ID":"21a5a79b-9003-4d76-baad-5c6bf29bca33","CD_TIME":"Sep 30, 2025 6:45:08 PM","CD_BATCH":"2025093000040","DISTRIBUTETAG":"all-data^non-investment^11110000660504319Y^110108000000^non-construction^11110000MB1503996K^non-construction_expansion","DATAJSONTEXT":"{\"VERSION\":\"20210903\"}"}]},{"ID":7331102,"TASKGUID":"52b8707b-2d86-46e2-9085-75d463581a49","T_ID":"7816e619-8f84-41f9-8649-a143195fb328","P_ID":"","NAME":"抵押类型","NODE_LEVEL":1,"NODE_PATH":"/7816e619-8f84-41f9-8649-a143195fb328","CHILD_COUNT":7,"ORDER_NUM":2,"SERIAL_NUMBER":"2","CONDITION_ATTR":"01","IS_RADIO":"1","IS_SUPPORT":"1","SUMMARY":"2 抵押类型\n\t2.1 最高额抵押\n\t\t2.1.1 是否同意将最高额抵押权设立前已经存在的债权转入最高额抵押担保的债权范围\n\t\t\t2.1.1.1 是\n\t\t\t2.1.1.2 否\n\t\t2.1.2 是否为在建建筑物最高额抵押权登记转建筑物最高额抵押权登记\n\t\t\t2.1.2.1 是\n\t\t\t2.1.2.2 否\n\t2.2 限价商品住房和经济适用住房抵押借款用途非支付本套住房购房款\n\t2.3 以集体建设用地使用权抵押\n\t2.4 在建建筑物抵押登记转建筑物抵押权登记\n\t2.5 在建建筑物抵押\n\t2.6 属于国家租赁国有建设用地使用权抵押\n\t2.7 属于划拨土地使用权抵押","CD_TIME":"Sep 30, 2025 6:45:08 PM","CD_BATCH":"2025093000040","DISTRIBUTETAG":"all-data^non-investment^11110000660504319Y^110108000000^non-construction^11110000MB1503996K^non-construction_expansion","DATAJSONTEXT":"{\"VERSION\":\"20220810\",\"TREE_TYPE\":\"\",\"CONSULTATION_QA\":\"\"}","parOrder":"","proOrder":"2","newOrderNum":"002","itemGuideConditionRelatedList":[]},{"ID":7331104,"TASKGUID":"52b8707b-2d86-46e2-9085-75d463581a49","T_ID":"83a92610-a978-4dcd-9723-953eeed28359","P_ID":"7816e619-8f84-41f9-8649-a143195fb328","NAME":"最高额抵押","NODE_LEVEL":2,"NODE_PATH":"/7816e619-8f84-41f9-8649-a143195fb328/83a92610-a978-4dcd-9723-953eeed28359","CHILD_COUNT":2,"ORDER_NUM":1,"SERIAL_NUMBER":"2.1","CONDITION_ATTR":"02","IS_RADIO":"","IS_SUPPORT":"","SUMMARY":"","CD_TIME":"Sep 30, 2025 6:45:08 PM","CD_BATCH":"2025093000040","DISTRIBUTETAG":"all-data^non-investment^11110000660504319Y^110108000000^non-construction^11110000MB1503996K^non-construction_expansion","DATAJSONTEXT":"{\"VERSION\":\"20220810\",\"TREE_TYPE\":\"\",\"CONSULTATION_QA\":\"\"}","parOrder":"","proOrder":"","newOrderNum":"002.001","itemGuideConditionRelatedList":[{"ID":26109349,"TASKGUID":"52b8707b-2d86-46e2-9085-75d463581a49","T_ID":"83a92610-a978-4dcd-9723-953eeed28359","G_ID":"2dc937c3-0821-4005-9a4a-d00db760a624","M_CODE":"203717","MATERIAL_ID":"3fdecdef-2ad3-4a3b-9a9a-028ba6685456","CD_TIME":"Sep 30, 2025 6:45:08 PM","CD_BATCH":"2025093000040","DISTRIBUTETAG":"all-data^non-investment^11110000660504319Y^110108000000^non-construction^11110000MB1503996K^non-construction_expansion","DATAJSONTEXT":"{\"VERSION\":\"20210903\"}"},{"ID":26109625,"TASKGUID":"52b8707b-2d86-46e2-9085-75d463581a49","T_ID":"83a92610-a978-4dcd-9723-953eeed28359","G_ID":"633a124e-d36f-4542-8f37-8988c25d9c81","M_CODE":"203373","MATERIAL_ID":"5c44c917-6e0f-48e7-a472-e19a5401baf5","CD_TIME":"Sep 30, 2025 6:45:08 PM","CD_BATCH":"2025093000040","DISTRIBUTETAG":"all-data^non-investment^11110000660504319Y^110108000000^non-construction^11110000MB1503996K^non-construction_expansion","DATAJSONTEXT":"{\"VERSION\":\"20210903\"}"}]},{"ID":7331116,"TASKGUID":"52b8707b-2d86-46e2-9085-75d463581a49","T_ID":"d748f933-502f-43b7-9cb2-c82fceb81058","P_ID":"83a92610-a978-4dcd-9723-953eeed28359","NAME":"是否同意将最高额抵押权设立前已经存在的债权转入最高额抵押担保的债权范围","NODE_LEVEL":3,"NODE_PATH":"/7816e619-8f84-41f9-8649-a143195fb328/83a92610-a978-4dcd-9723-953eeed28359/d748f933-502f-43b7-9cb2-c82fceb81058","CHILD_COUNT":2,"ORDER_NUM":1,"SERIAL_NUMBER":"2.1.1","CONDITION_ATTR":"01","IS_RADIO":"1","IS_SUPPORT":"","SUMMARY":"","CD_TIME":"Sep 30, 2025 6:45:08 PM","CD_BATCH":"2025093000040","DISTRIBUTETAG":"all-data^non-investment^11110000660504319Y^110108000000^non-construction^11110000MB1503996K^non-construction_expansion","DATAJSONTEXT":"{\"VERSION\":\"20220810\",\"TREE_TYPE\":\"\",\"CONSULTATION_QA\":\"\"}","parOrder":"2","proOrder":"1","newOrderNum":"002.001.001","itemGuideConditionRelatedList":[]},{"ID":7331100,"TASKGUID":"52b8707b-2d86-46e2-9085-75d463581a49","T_ID":"66a57260-df67-4268-aff8-7ac1ecc14af1","P_ID":"d748f933-502f-43b7-9cb2-c82fceb81058","NAME":"是","NODE_LEVEL":4,"NODE_PATH":"/7816e619-8f84-41f9-8649-a143195fb328/83a92610-a978-4dcd-9723-953eeed28359/d748f933-502f-43b7-9cb2-c82fceb81058/66a57260-df67-4268-aff8-7ac1ecc14af1","CHILD_COUNT":0,"ORDER_NUM":1,"SERIAL_NUMBER":"2.1.1.1","CONDITION_ATTR":"02","IS_RADIO":"","IS_SUPPORT":"","SUMMARY":"","CD_TIME":"Sep 30, 2025 6:45:08 PM","CD_BATCH":"2025093000040","DISTRIBUTETAG":"all-data^non-investment^11110000660504319Y^110108000000^non-construction^11110000MB1503996K^non-construction_expansion","DATAJSONTEXT":"{\"VERSION\":\"20220810\",\"TREE_TYPE\":\"\",\"CONSULTATION_QA\":\"\"}","parOrder":"","proOrder":"","newOrderNum":"002.001.001.001","itemGuideConditionRelatedList":[{"ID":26109362,"TASKGUID":"52b8707b-2d86-46e2-9085-75d463581a49","T_ID":"66a57260-df67-4268-aff8-7ac1ecc14af1","G_ID":"96a98575-3dd2-4af3-a5a3-c859a7897623","M_CODE":"203452","MATERIAL_ID":"bce93944-4ae2-4d24-b801-179d66de046f","CD_TIME":"Sep 30, 2025 6:45:08 PM","CD_BATCH":"2025093000040","DISTRIBUTETAG":"all-data^non-investment^11110000660504319Y^110108000000^non-construction^11110000MB1503996K^non-construction_expansion","DATAJSONTEXT":"{\"VERSION\":\"20210903\"}"},{"ID":26109641,"TASKGUID":"52b8707b-2d86-46e2-9085-75d463581a49","T_ID":"66a57260-df67-4268-aff8-7ac1ecc14af1","G_ID":"bc3f5c24-2f80-451f-9caf-52c23e39d5c2","M_CODE":"203733","MATERIAL_ID":"dd46a77a-9781-4d52-a737-6921d414944a","CD_TIME":"Sep 30, 2025 6:45:08 PM","CD_BATCH":"2025093000040","DISTRIBUTETAG":"all-data^non-investment^11110000660504319Y^110108000000^non-construction^11110000MB1503996K^non-construction_expansion","DATAJSONTEXT":"{\"VERSION\":\"20210903\"}"}]},{"ID":7331105,"TASKGUID":"52b8707b-2d86-46e2-9085-75d463581a49","T_ID":"89b9d959-eece-44af-8f1c-556dc80eb8a3","P_ID":"d748f933-502f-43b7-9cb2-c82fceb81058","NAME":"否","NODE_LEVEL":4,"NODE_PATH":"/7816e619-8f84-41f9-8649-a143195fb328/83a92610-a978-4dcd-9723-953eeed28359/d748f933-502f-43b7-9cb2-c82fceb81058/89b9d959-eece-44af-8f1c-556dc80eb8a3","CHILD_COUNT":0,"ORDER_NUM":2,"SERIAL_NUMBER":"2.1.1.2","CONDITION_ATTR":"02","IS_RADIO":"","IS_SUPPORT":"","SUMMARY":"","CD_TIME":"Sep 30, 2025 6:45:08 PM","CD_BATCH":"2025093000040","DISTRIBUTETAG":"all-data^non-investment^11110000660504319Y^110108000000^non-construction^11110000MB1503996K^non-construction_expansion","DATAJSONTEXT":"{\"VERSION\":\"20220810\",\"TREE_TYPE\":\"\",\"CONSULTATION_QA\":\"\"}","parOrder":"","proOrder":"","newOrderNum":"002.001.001.002","itemGuideConditionRelatedList":[]},{"ID":7331110,"TASKGUID":"52b8707b-2d86-46e2-9085-75d463581a49","T_ID":"ab7e4752-dd0b-4592-a806-c32ff1e064dc","P_ID":"83a92610-a978-4dcd-9723-953eeed28359","NAME":"是否为在建建筑物最高额抵押权登记转建筑物最高额抵押权登记","NODE_LEVEL":3,"NODE_PATH":"/7816e619-8f84-41f9-8649-a143195fb328/83a92610-a978-4dcd-9723-953eeed28359/ab7e4752-dd0b-4592-a806-c32ff1e064dc","CHILD_COUNT":2,"ORDER_NUM":2,"SERIAL_NUMBER":"2.1.2","CONDITION_ATTR":"01","IS_RADIO":"1","IS_SUPPORT":"","SUMMARY":"","CD_TIME":"Sep 30, 2025 6:45:08 PM","CD_BATCH":"2025093000040","DISTRIBUTETAG":"all-data^non-investment^11110000660504319Y^110108000000^non-construction^11110000MB1503996K^non-construction_expansion","DATAJSONTEXT":"{\"VERSION\":\"20220810\",\"TREE_TYPE\":\"\",\"CONSULTATION_QA\":\"\"}","parOrder":"2","proOrder":"2","newOrderNum":"002.001.002","itemGuideConditionRelatedList":[]},{"ID":7331107,"TASKGUID":"52b8707b-2d86-46e2-9085-75d463581a49","T_ID":"9529f667-7532-440a-9ddf-8eb2c790f101","P_ID":"ab7e4752-dd0b-4592-a806-c32ff1e064dc","NAME":"是","NODE_LEVEL":4,"NODE_PATH":"/7816e619-8f84-41f9-8649-a143195fb328/83a92610-a978-4dcd-9723-953eeed28359/ab7e4752-dd0b-4592-a806-c32ff1e064dc/9529f667-7532-440a-9ddf-8eb2c790f101","CHILD_COUNT":0,"ORDER_NUM":1,"SERIAL_NUMBER":"2.1.2.1","CONDITION_ATTR":"02","IS_RADIO":"","IS_SUPPORT":"","SUMMARY":"","CD_TIME":"Sep 30, 2025 6:45:08 PM","CD_BATCH":"2025093000040","DISTRIBUTETAG":"all-data^non-investment^11110000660504319Y^110108000000^non-construction^11110000MB1503996K^non-construction_expansion","DATAJSONTEXT":"{\"VERSION\":\"20220810\",\"TREE_TYPE\":\"\",\"CONSULTATION_QA\":\"\"}","parOrder":"","proOrder":"","newOrderNum":"002.001.002.001","itemGuideConditionRelatedList":[{"ID":26109129,"TASKGUID":"52b8707b-2d86-46e2-9085-75d463581a49","T_ID":"9529f667-7532-440a-9ddf-8eb2c790f101","G_ID":"d7c9dad1-e1ab-47ea-a428-699235e8a832","M_CODE":"203711","MATERIAL_ID":"d4f38fbc-b781-4d1d-ad99-ab80bbb7e78e","CD_TIME":"Sep 30, 2025 6:45:08 PM","CD_BATCH":"2025093000040","DISTRIBUTETAG":"all-data^non-investment^11110000660504319Y^110108000000^non-construction^11110000MB1503996K^non-construction_expansion","DATAJSONTEXT":"{\"VERSION\":\"20210903\"}"},{"ID":26109257,"TASKGUID":"52b8707b-2d86-46e2-9085-75d463581a49","T_ID":"9529f667-7532-440a-9ddf-8eb2c790f101","G_ID":"0f4f8de1-ea86-41be-8175-156541f69adb","M_CODE":"341085","MATERIAL_ID":"6b9e87e1-8681-4896-b763-bac2c1a7a5aa","CD_TIME":"Sep 30, 2025 6:45:08 PM","CD_BATCH":"2025093000040","DISTRIBUTETAG":"all-data^non-investment^11110000660504319Y^110108000000^non-construction^11110000MB1503996K^non-construction_expansion","DATAJSONTEXT":"{\"VERSION\":\"20210903\"}"}]},{"ID":7331091,"TASKGUID":"52b8707b-2d86-46e2-9085-75d463581a49","T_ID":"274b812f-6abe-485d-8834-9bb73a3c5dc3","P_ID":"ab7e4752-dd0b-4592-a806-c32ff1e064dc","NAME":"否","NODE_LEVEL":4,"NODE_PATH":"/7816e619-8f84-41f9-8649-a143195fb328/83a92610-a978-4dcd-9723-953eeed28359/ab7e4752-dd0b-4592-a806-c32ff1e064dc/274b812f-6abe-485d-8834-9bb73a3c5dc3","CHILD_COUNT":0,"ORDER_NUM":2,"SERIAL_NUMBER":"2.1.2.2","CONDITION_ATTR":"02","IS_RADIO":"","IS_SUPPORT":"","SUMMARY":"","CD_TIME":"Sep 30, 2025 6:45:08 PM","CD_BATCH":"2025093000040","DISTRIBUTETAG":"all-data^non-investment^11110000660504319Y^110108000000^non-construction^11110000MB1503996K^non-construction_expansion","DATAJSONTEXT":"{\"VERSION\":\"20220810\",\"TREE_TYPE\":\"\",\"CONSULTATION_QA\":\"\"}","parOrder":"","proOrder":"","newOrderNum":"002.001.002.002","itemGuideConditionRelatedList":[]},{"ID":7331114,"TASKGUID":"52b8707b-2d86-46e2-9085-75d463581a49","T_ID":"ce873f28-d59e-4344-8bc9-1280a8411021","P_ID":"7816e619-8f84-41f9-8649-a143195fb328","NAME":"限价商品住房和经济适用住房抵押借款用途非支付本套住房购房款","NODE_LEVEL":2,"NODE_PATH":"/7816e619-8f84-41f9-8649-a143195fb328/ce873f28-d59e-4344-8bc9-1280a8411021","CHILD_COUNT":0,"ORDER_NUM":2,"SERIAL_NUMBER":"2.2","CONDITION_ATTR":"02","IS_RADIO":"","IS_SUPPORT":"","SUMMARY":"","CD_TIME":"Sep 30, 2025 6:45:08 PM","CD_BATCH":"2025093000040","DISTRIBUTETAG":"all-data^non-investment^11110000660504319Y^110108000000^non-construction^11110000MB1503996K^non-construction_expansion","DATAJSONTEXT":"{\"VERSION\":\"20220810\",\"TREE_TYPE\":\"\",\"CONSULTATION_QA\":\"\"}","parOrder":"","proOrder":"","newOrderNum":"002.002","itemGuideConditionRelatedList":[{"ID":26109725,"TASKGUID":"52b8707b-2d86-46e2-9085-75d463581a49","T_ID":"ce873f28-d59e-4344-8bc9-1280a8411021","G_ID":"6a4422a5-9761-496c-a8a2-bc52747ea2eb","M_CODE":"203386","MATERIAL_ID":"c8de4306-37e0-42e3-a878-cf3c964bcbfd","CD_TIME":"Sep 30, 2025 6:45:08 PM","CD_BATCH":"2025093000040","DISTRIBUTETAG":"all-data^non-investment^11110000660504319Y^110108000000^non-construction^11110000MB1503996K^non-construction_expansion","DATAJSONTEXT":"{\"VERSION\":\"20210903\"}"}]},{"ID":7331118,"TASKGUID":"52b8707b-2d86-46e2-9085-75d463581a49","T_ID":"f5d8220f-b8da-4b85-83b4-5dfb735fa436","P_ID":"7816e619-8f84-41f9-8649-a143195fb328","NAME":"以集体建设用地使用权抵押","NODE_LEVEL":2,"NODE_PATH":"/7816e619-8f84-41f9-8649-a143195fb328/f5d8220f-b8da-4b85-83b4-5dfb735fa436","CHILD_COUNT":0,"ORDER_NUM":3,"SERIAL_NUMBER":"2.3","CONDITION_ATTR":"02","IS_RADIO":"","IS_SUPPORT":"","SUMMARY":"","CD_TIME":"Sep 30, 2025 6:45:08 PM","CD_BATCH":"2025093000040","DISTRIBUTETAG":"all-data^non-investment^11110000660504319Y^110108000000^non-construction^11110000MB1503996K^non-construction_expansion","DATAJSONTEXT":"{\"VERSION\":\"20220810\",\"TREE_TYPE\":\"\",\"CONSULTATION_QA\":\"\"}","parOrder":"","proOrder":"","newOrderNum":"002.003","itemGuideConditionRelatedList":[{"ID":26109438,"TASKGUID":"52b8707b-2d86-46e2-9085-75d463581a49","T_ID":"f5d8220f-b8da-4b85-83b4-5dfb735fa436","G_ID":"93d72b96-7c26-4ab8-a045-1db14dba9912","M_CODE":"203636","MATERIAL_ID":"91661a7a-3a00-4ce1-89ec-85cf056d405d","CD_TIME":"Sep 30, 2025 6:45:08 PM","CD_BATCH":"2025093000040","DISTRIBUTETAG":"all-data^non-investment^11110000660504319Y^110108000000^non-construction^11110000MB1503996K^non-construction_expansion","DATAJSONTEXT":"{\"VERSION\":\"20210903\"}"},{"ID":26109521,"TASKGUID":"52b8707b-2d86-46e2-9085-75d463581a49","T_ID":"f5d8220f-b8da-4b85-83b4-5dfb735fa436","G_ID":"9ca13047-9533-465c-9a4d-507bed246f80","M_CODE":"345091","MATERIAL_ID":"c27f1841-2fdc-4435-85dd-dee545435ed2","CD_TIME":"Sep 30, 2025 6:45:08 PM","CD_BATCH":"2025093000040","DISTRIBUTETAG":"all-data^non-investment^11110000660504319Y^110108000000^non-construction^11110000MB1503996K^non-construction_expansion","DATAJSONTEXT":"{\"VERSION\":\"20210903\"}"},{"ID":26109537,"TASKGUID":"52b8707b-2d86-46e2-9085-75d463581a49","T_ID":"f5d8220f-b8da-4b85-83b4-5dfb735fa436","G_ID":"80d18948-b9f4-4dae-9f41-9e6a7bb9f28b","M_CODE":"203797","MATERIAL_ID":"77e681e3-272a-425c-b77f-9caa63a0e796","CD_TIME":"Sep 30, 2025 6:45:08 PM","CD_BATCH":"2025093000040","DISTRIBUTETAG":"all-data^non-investment^11110000660504319Y^110108000000^non-construction^11110000MB1503996K^non-construction_expansion","DATAJSONTEXT":"{\"VERSION\":\"20210903\"}"}]},{"ID":7331089,"TASKGUID":"52b8707b-2d86-46e2-9085-75d463581a49","T_ID":"180f7ed4-45cf-438e-81d6-2bbe9b30502d","P_ID":"7816e619-8f84-41f9-8649-a143195fb328","NAME":"在建建筑物抵押登记转建筑物抵押权登记","NODE_LEVEL":2,"NODE_PATH":"/7816e619-8f84-41f9-8649-a143195fb328/180f7ed4-45cf-438e-81d6-2bbe9b30502d","CHILD_COUNT":0,"ORDER_NUM":4,"SERIAL_NUMBER":"2.4","CONDITION_ATTR":"02","IS_RADIO":"","IS_SUPPORT":"","SUMMARY":"","CD_TIME":"Sep 30, 2025 6:45:08 PM","CD_BATCH":"2025093000040","DISTRIBUTETAG":"all-data^non-investment^11110000660504319Y^110108000000^non-construction^11110000MB1503996K^non-construction_expansion","DATAJSONTEXT":"{\"VERSION\":\"20220810\",\"TREE_TYPE\":\"\",\"CONSULTATION_QA\":\"\"}","parOrder":"","proOrder":"","newOrderNum":"002.004","itemGuideConditionRelatedList":[{"ID":26109513,"TASKGUID":"52b8707b-2d86-46e2-9085-75d463581a49","T_ID":"180f7ed4-45cf-438e-81d6-2bbe9b30502d","G_ID":"9d14dda0-c610-49f6-95c5-8cb2269276f8","M_CODE":"341085","MATERIAL_ID":"22c42b18-cf88-496c-94ba-82f17d256c7e","CD_TIME":"Sep 30, 2025 6:45:08 PM","CD_BATCH":"2025093000040","DISTRIBUTETAG":"all-data^non-investment^11110000660504319Y^110108000000^non-construction^11110000MB1503996K^non-construction_expansion","DATAJSONTEXT":"{\"VERSION\":\"20210903\"}"},{"ID":26109750,"TASKGUID":"52b8707b-2d86-46e2-9085-75d463581a49","T_ID":"180f7ed4-45cf-438e-81d6-2bbe9b30502d","G_ID":"745b3d5a-4012-4e0c-96f5-debc39d7dae8","M_CODE":"203711","MATERIAL_ID":"19bf27db-e11b-4adc-8dd9-6889e90515ce","CD_TIME":"Sep 30, 2025 6:45:08 PM","CD_BATCH":"2025093000040","DISTRIBUTETAG":"all-data^non-investment^11110000660504319Y^110108000000^non-construction^11110000MB1503996K^non-construction_expansion","DATAJSONTEXT":"{\"VERSION\":\"20210903\"}"}]},{"ID":7331111,"TASKGUID":"52b8707b-2d86-46e2-9085-75d463581a49","T_ID":"ac83af59-618a-4972-b287-ed63bfeb768f","P_ID":"7816e619-8f84-41f9-8649-a143195fb328","NAME":"在建建筑物抵押","NODE_LEVEL":2,"NODE_PATH":"/7816e619-8f84-41f9-8649-a143195fb328/ac83af59-618a-4972-b287-ed63bfeb768f","CHILD_COUNT":0,"ORDER_NUM":5,"SERIAL_NUMBER":"2.5","CONDITION_ATTR":"02","IS_RADIO":"","IS_SUPPORT":"","SUMMARY":"","CD_TIME":"Sep 30, 2025 6:45:08 PM","CD_BATCH":"2025093000040","DISTRIBUTETAG":"all-data^non-investment^11110000660504319Y^110108000000^non-construction^11110000MB1503996K^non-construction_expansion","DATAJSONTEXT":"{\"VERSION\":\"20220810\",\"TREE_TYPE\":\"\",\"CONSULTATION_QA\":\"\"}","parOrder":"","proOrder":"","newOrderNum":"002.005","itemGuideConditionRelatedList":[{"ID":26109280,"TASKGUID":"52b8707b-2d86-46e2-9085-75d463581a49","T_ID":"ac83af59-618a-4972-b287-ed63bfeb768f","G_ID":"d13ed72f-1c1f-4de4-b970-48793926aa84","M_CODE":"310032","MATERIAL_ID":"9297458f-56d5-4cfd-8adf-9bcb7f226999","CD_TIME":"Sep 30, 2025 6:45:08 PM","CD_BATCH":"2025093000040","DISTRIBUTETAG":"all-data^non-investment^11110000660504319Y^110108000000^non-construction^11110000MB1503996K^non-construction_expansion","DATAJSONTEXT":"{\"VERSION\":\"20210903\"}"},{"ID":26109512,"TASKGUID":"52b8707b-2d86-46e2-9085-75d463581a49","T_ID":"ac83af59-618a-4972-b287-ed63bfeb768f","G_ID":"db8aa7cf-3375-4353-8d89-1844735674db","M_CODE":"400437","MATERIAL_ID":"6e8395b3-bde3-47ef-a169-83c15f17ebb5","CD_TIME":"Sep 30, 2025 6:45:08 PM","CD_BATCH":"2025093000040","DISTRIBUTETAG":"all-data^non-investment^11110000660504319Y^110108000000^non-construction^11110000MB1503996K^non-construction_expansion","DATAJSONTEXT":"{\"VERSION\":\"20210903\"}"}]},{"ID":7331106,"TASKGUID":"52b8707b-2d86-46e2-9085-75d463581a49","T_ID":"8c600a94-8e9c-4dc7-8881-608923a09a7a","P_ID":"7816e619-8f84-41f9-8649-a143195fb328","NAME":"属于国家租赁国有建设用地使用权抵押","NODE_LEVEL":2,"NODE_PATH":"/7816e619-8f84-41f9-8649-a143195fb328/8c600a94-8e9c-4dc7-8881-608923a09a7a","CHILD_COUNT":0,"ORDER_NUM":6,"SERIAL_NUMBER":"2.6","CONDITION_ATTR":"02","IS_RADIO":"","IS_SUPPORT":"","SUMMARY":"","CD_TIME":"Sep 30, 2025 6:45:08 PM","CD_BATCH":"2025093000040","DISTRIBUTETAG":"all-data^non-investment^11110000660504319Y^110108000000^non-construction^11110000MB1503996K^non-construction_expansion","DATAJSONTEXT":"{\"VERSION\":\"20220810\",\"TREE_TYPE\":\"\",\"CONSULTATION_QA\":\"\"}","parOrder":"","proOrder":"","newOrderNum":"002.006","itemGuideConditionRelatedList":[{"ID":26109243,"TASKGUID":"52b8707b-2d86-46e2-9085-75d463581a49","T_ID":"8c600a94-8e9c-4dc7-8881-608923a09a7a","G_ID":"239dbaba-48ef-472e-8ec2-66c5e6a22c68","M_CODE":"345062","MATERIAL_ID":"672108a3-9f74-46f1-a36e-9a182e76c5bf","CD_TIME":"Sep 30, 2025 6:45:08 PM","CD_BATCH":"2025093000040","DISTRIBUTETAG":"all-data^non-investment^11110000660504319Y^110108000000^non-construction^11110000MB1503996K^non-construction_expansion","DATAJSONTEXT":"{\"VERSION\":\"20210903\"}"}]},{"ID":7331096,"TASKGUID":"52b8707b-2d86-46e2-9085-75d463581a49","T_ID":"4701e38e-3d1c-4691-abbb-edbb768ac2a8","P_ID":"7816e619-8f84-41f9-8649-a143195fb328","NAME":"属于划拨土地使用权抵押","NODE_LEVEL":2,"NODE_PATH":"/7816e619-8f84-41f9-8649-a143195fb328/4701e38e-3d1c-4691-abbb-edbb768ac2a8","CHILD_COUNT":0,"ORDER_NUM":7,"SERIAL_NUMBER":"2.7","CONDITION_ATTR":"02","IS_RADIO":"","IS_SUPPORT":"","SUMMARY":"","CD_TIME":"Sep 30, 2025 6:45:08 PM","CD_BATCH":"2025093000040","DISTRIBUTETAG":"all-data^non-investment^11110000660504319Y^110108000000^non-construction^11110000MB1503996K^non-construction_expansion","DATAJSONTEXT":"{\"VERSION\":\"20220810\",\"TREE_TYPE\":\"\",\"CONSULTATION_QA\":\"\"}","parOrder":"","proOrder":"","newOrderNum":"002.007","itemGuideConditionRelatedList":[{"ID":26109161,"TASKGUID":"52b8707b-2d86-46e2-9085-75d463581a49","T_ID":"4701e38e-3d1c-4691-abbb-edbb768ac2a8","G_ID":"4f7edbc5-2b48-4c94-9d30-de9018b8ce92","M_CODE":"345091","MATERIAL_ID":"b867e521-b2b4-457b-8386-cdc6d8d4c7fb","CD_TIME":"Sep 30, 2025 6:45:08 PM","CD_BATCH":"2025093000040","DISTRIBUTETAG":"all-data^non-investment^11110000660504319Y^110108000000^non-construction^11110000MB1503996K^non-construction_expansion","DATAJSONTEXT":"{\"VERSION\":\"20210903\"}"},{"ID":26109406,"TASKGUID":"52b8707b-2d86-46e2-9085-75d463581a49","T_ID":"4701e38e-3d1c-4691-abbb-edbb768ac2a8","G_ID":"49956ce9-58cf-44be-94ac-95d6d49f7cc2","M_CODE":"203713","MATERIAL_ID":"96fd4c07-5b67-48fd-b5a9-0d6d24ec62a3","CD_TIME":"Sep 30, 2025 6:45:08 PM","CD_BATCH":"2025093000040","DISTRIBUTETAG":"all-data^non-investment^11110000660504319Y^110108000000^non-construction^11110000MB1503996K^non-construction_expansion","DATAJSONTEXT":"{\"VERSION\":\"20210903\"}"}]}]
2
1^2^3^4^5^6^9
https://bjt.beijing.gov.cn/renzheng/open/login/goUserLogin?client_id=100100000228&redirect_uri=http://bdc.ghzrzyw.beijing.gov.cn/eo/user/bjtLogin&state=PC_101624010206&response_type=code&scope=user_info;https://yzt.beijing.gov.cn/am/oauth2/authorize?service=bjzwService&response_type=code&client_id=000026681_04&scope=cn+uid+idCardNumber+reserve3+extProperties+credenceClass&redirect_uri=http%3A%2F%2Fbdc.ghzrzyw.beijing.gov.cn%2Feo%2Fuser%2FyztLogin%3Fstate%3D101624010206

政务服务> 办事指南

抵押权首次登记

海淀区

切换简洁版

  • 承诺件

    办件类型

  • 0

    到现场次数

  • 30工作日

    法定办结时限

  • 5工作日

    承诺办结时限

好差评

5.0

办件承诺办结时限说明:(承诺时限为办理流程中“审查与决定”环节的计时时限)

办件承诺办结时限说明:

(承诺时限为办理流程中“审查与决定”环节的计时时限)

基本信息

实施主体 北京市规划和自然资源委员会海淀分局 服务对象 自然人、企业法人、事业法人、社会组织法人、非法人企业、行政机关、其他组织
事项类型 行政确认 办理形式 窗口办理、网上办理
受理条件 1.第六十五条 对下列财产进行抵押的,可以申请办理不动产抵押登记: (一)建设用地使用权; (二)建筑物和其他土地附着物; (三)海域使用权; (四)以招标、拍卖、公开协商等方式取得的荒地等土地承包经营权; (五)正在建造的建筑物; (六)法律、行政法规未禁止抵押的其他不动产。 以建设用地使用权、海域使用权抵押的,该土地、海域上的建筑物、构筑物一并抵押;以建筑物、构筑物抵押的,该建筑物、构筑物占用范围内的建设用地使用权、海域使用权一并抵押。 (依据来源:《不动产登记暂行条例实施细则 》 第六十五条) 2.第六十六条 自然人、法人或者其他组织为保障其债权的实现,依法以不动产设定抵押的,可以由当事人持不动产权属证书、抵押合同与主债权合同等必要材料,共同申请办理抵押登记。 (依据来源:《不动产登记暂行条例实施细则 》 第六十六条) 抵押合同可以是单独订立的书面合同,也可以是主债权合同中的抵押条款。 3.第六十七条 同一不动产上设立多个抵押权的,不动产登记机构应当按照受理时间的先后顺序依次办理登记,并记载于不动产登记簿。当事人对抵押权顺位另有约定的,从其规定办理登记。 (依据来源:《不动产登记暂行条例实施细则 》 第六十七条) 4.材料齐全,填写完整; 5.提交的证照证件或批复文件齐全完整、如提交复印件,应完整清晰并与原件一致; 6.申请材料所载基本信息与提交的证照证件或批复文件所载内容一致; 7.申请材料按要求签字、盖章,且签章内容与申请材料所载内容、提交的证照证件或批复文件所载内容一致。
办理时间 海淀区政务服务中心(航天桥办公区):工作日上午09:00-12:00,下午13:30-17:00(延时服务时间:工作日早08:30-9:00,中午12:00-13:30,下午17:00-17:30,周六提供预约或非预约服务8:30-12:30) 查看详情
办理地点 海淀区政务服务中心(航天桥办公区):北京市海淀区阜成路67号银都大厦3层 查看详情
咨询方式

咨询电话:

(010)60609304【展开】

咨询窗口地址:

北京市海淀区阜成路67号银都大厦(海淀政务服务中心航天桥分中心)三层咨询台【展开】

咨询信件地址:

北京市海淀区阜成路67号银都大厦(海淀政务服务中心航天桥分中心)三层咨询台【展开】

投诉监督方式

投诉监督电话:

(010)12345【展开】

投诉窗口地址:

北京市海淀区阜成路67号银都大厦(海淀政务服务中心航天桥分中心)二层221室【展开】

信件投诉地址:

北京市海淀区阜成路67号银都大厦(海淀政务服务中心航天桥分中心)二层221室【展开】

基本编码 000715001014 事项编码 11110000660504319Y3000715001014
业务办理项编码 11110000660504319Y300071500101403 进驻大厅类型 政务服务中心
权力来源 上级委托 网上支付
所属机构 北京市规划和自然资源委员会海淀分局 委托部门 北京市规划和自然资源委员会
联办机构 实施主体性质 受委托组织
办理进程查询途径 网上查询:http://bdc.ghzrzyw.beijing.gov.cn/eo/
行使层级 区级 运行系统 市级自建(垂管)
物流快递 办理方式 自办件
预约办理 数量限制 无数量限制
中介服务 权限划分 分条件办理(市区)
通办范围 全区 特别程序
行使内容 对涉及在京中央和国家机关、驻京部队、保密单位的业务为市级办理 ,其余的登记业务在不动产所在地的各区不动产登记中心办理
显示更多

请选择情形:

提示:通过情形选择可引导出您办理该事项所需的材料,若要查看全部材料,请点击"查看全部材料"

查看全部材料 情形引导

收起

1、申请人身份

境内自然人

香港、澳门特别行政区自然人

台湾地区自然人

华侨

外籍自然人

境内营利法人

境内非营利法人

境内特别法人

境内非法人组织

香港特别行政区、澳门特别行政区、台湾地区的法人或非法人组织

境外法人或非法人组织

外国驻华使(领)馆和外国驻华办事机构、国际组织驻华代表机构

2、抵押类型

最高额抵押

限价商品住房和经济适用住房抵押借款用途非支付本套住房购房款

以集体建设用地使用权抵押

在建建筑物抵押登记转建筑物抵押权登记

在建建筑物抵押

属于国家租赁国有建设用地使用权抵押

属于划拨土地使用权抵押

我选好了重选条件

序号 材料名称 材料来源 材料
必要性
数量要求 介质要求 表格及样例
下载
受理标准 提供材料
依据
其他要求
申请材料总要求委托办理的:提交授权委托书(原件1份)、受托人身份材料(原件1份,复印件1份);无、限制民事行为能力人申请登记的:提交证实被监护人为无、限制民事行为能力人的材料(原件1份,复印件1份)、监护关系材料(原件1份,复印件1份)、监护人的身份材料(原件1份,复印件1份)
序号 材料名称 材料来源 材料
必要性
数量要求 介质要求 表格及样例
下载
受理标准 提供材料
依据
其他要求
不动产登记申请书申请人自备必要原件1份表格类;纸质样表下载空表下载1、申请书信息填写是否完整;2、申请信息与申请材料内容是否一致。【展开】《中华人民共和国民法典》第二百一十一条 当事人申请登记,应当根据不同登记事项提供权属证明和不动产界址、面积等必要材料。 《不动产登记暂行条例》第十六条 申请人应当提交下列材料,并对申请材料的真实性负责:(一)登记申请书【展开】不动产登记大厅窗口工作人员录入相关信息,通过系统打印后,由申请人签字确认,申请人无需填写。【展开】
二、申请人身份材料
(一)、境内自然人
1、成年人
中华人民共和国居民身份证政府部门核发来源说明>必要正本原件1份(正本原件仅供查验);正本复印件1份结果文书类;纸质样例下载1.提交的证照证件或批复文件齐全完整、合法有效; 2.证照证件需在有效期之内; 3.提交的复印件需与原件保持一致。【展开】《不动产登记暂行条例》第十六条 申请人应当提交下列材料,并对申请材料的真实性负责:(二)申请人、代理人身份证明材料、授权委托书【展开】【展开】
2、未成年人
中华人民共和国居民身份证政府部门核发来源说明>必要正本原件1份(正本原件仅供查验);正本复印件1份结果文书类;纸质样例下载1.照面清晰完整;证件在有效期内;居民身份证与户口簿上的姓名、性别、出生日期、公民身份号码应当一致(户口簿上的公民身份号码为升位前15位数字的,视为一致),不一致的(户口簿上无公民身份号码的,视为不一致),当事人应当先到户口登记机关更正户口簿或者补领新的居民身份证。居民身份证有效期满、严重损坏不能辨认(不含无法通过身份证阅读器读取芯片信息)或者照片与本人相貌特征发生较大变化的,当事人应当补领新的居民身份证或者提交有效的临时居民身份证 2.原件 3.公安机关出具【展开】《中华人民共和国民法典》第二百一十一条 当事人申请登记,应当根据不同登记事项提供权属证明和不动产界址、面积等必要材料。 《不动产登记暂行条例》第十六条 申请人应当提交下列材料,并对申请材料的真实性负责:(二)申请人、代理人身份证明材料、授权委托书【展开】【展开】
居民户口簿政府部门核发来源说明>必要正本原件1份(正本原件仅供查验);正本复印件1份结果文书类;纸质样例下载1、内容清晰完整,页面无折损、污迹 2、需提交居民户口簿原件 3、公安机关出具【展开】《中华人民共和国民法典》第二百一十一条 当事人申请登记,应当根据不同登记事项提供权属证明和不动产界址、面积等必要材料。 《不动产登记暂行条例》第十六条 申请人应当提交下列材料,并对申请材料的真实性负责:(二)申请人、代理人身份证明材料、授权委托书【展开】【展开】
3相应身份证件政府部门核发来源说明>必要正本原件1份(正本原件仅供查验);正本复印件1份结果文书类;纸质样例下载1、内容清晰完整,页面无折损、污迹 2、需提交原件 3、公安机关出具【展开】《中华人民共和国民法典》第二百一十一条 当事人申请登记,应当根据不同登记事项提供权属证明和不动产界址、面积等必要材料。 《不动产登记暂行条例》第十六条 申请人应当提交下列材料,并对申请材料的真实性负责:(二)申请人、代理人身份证明材料、授权委托书【展开】个体工商户或农村承包经营户提供【展开】
4、个体工商户
身份证件政府部门核发来源说明>必要原件1份;复印件1份结果文书类;纸质样例下载1、内容清晰完整,页面无折损、污迹 2、需提交原件 3、公安机关出具【展开】《中华人民共和国民法典》第二百一十一条 当事人申请登记,应当根据不同登记事项提供权属证明和不动产界址、面积等必要材料。 《不动产登记暂行条例》第十六条 申请人应当提交下列材料,并对申请材料的真实性负责:(二)申请人、代理人身份证明材料、授权委托书【展开】【展开】
(二)、香港、澳门特别行政区自然人
1香港、澳门特别行政区香港永久性居民身份证政府部门核发来源说明>必要正本原件1份(正本原件仅供查验);正本复印件1份结果文书类;纸质样例下载1.照面清晰完整;证件在有效期内;真实有效,信息准确。 2.正本原件1份 3.政府部门(公安部门)出具【展开】《中华人民共和国民法典》第二百一十一条 当事人申请登记,应当根据不同登记事项提供权属证明和不动产界址、面积等必要材料。 《不动产登记暂行条例》第十六条 申请人应当提交下列材料,并对申请材料的真实性负责:(二)申请人、代理人身份证明材料、授权委托书【展开】【展开】
澳门永久性居民身份证政府部门核发来源说明>必要正本原件1份(正本原件仅供查验);正本复印件1份结果文书类;纸质样例下载1.照面清晰完整;证件在有效期内;真实有效,信息准确。 2.正本原件1份 3.中华人民共和国澳门特别行政区身份证明局出具【展开】《中华人民共和国民法典》第二百一十一条 当事人申请登记,应当根据不同登记事项提供权属证明和不动产界址、面积等必要材料。 《不动产登记暂行条例》第十六条 申请人应当提交下列材料,并对申请材料的真实性负责:(二)申请人、代理人身份证明材料、授权委托书【展开】【展开】
中华人民共和国香港特别行政区护照政府部门核发来源说明>必要正本原件1份(正本原件仅供查验);正本复印件1份结果文书类;纸质样例下载1.照面清晰完整;证件在有效期内;真实有效,信息准确。 2.正本原件1份 3.政府部门出具【展开】《中华人民共和国民法典》第二百一十一条 当事人申请登记,应当根据不同登记事项提供权属证明和不动产界址、面积等必要材料。 《不动产登记暂行条例》第十六条 申请人应当提交下列材料,并对申请材料的真实性负责:(二)申请人、代理人身份证明材料、授权委托书【展开】【展开】
中华人民共和国澳门特别行政区护照政府部门核发来源说明>必要正本原件1份(正本原件仅供查验);正本复印件1份结果文书类;纸质样例下载证件真实有效【展开】《中华人民共和国民法典》第二百一十一条 当事人申请登记,应当根据不同登记事项提供权属证明和不动产界址、面积等必要材料。 《不动产登记暂行条例》第十六条 申请人应当提交下列材料,并对申请材料的真实性负责:(二)申请人、代理人身份证明材料、授权委托书【展开】【展开】
港澳居民来往内地通行证政府部门核发来源说明>必要正本原件1份(正本原件仅供查验);正本复印件1份结果文书类;纸质样例下载1.照面清晰完整;证件在有效期内;身份信息与本人身份证信息一致 2.原件 3.公安部出入境管理局出具【展开】《中华人民共和国民法典》第二百一十一条 当事人申请登记,应当根据不同登记事项提供权属证明和不动产界址、面积等必要材料。 《不动产登记暂行条例》第十六条 申请人应当提交下列材料,并对申请材料的真实性负责:(二)申请人、代理人身份证明材料、授权委托书【展开】【展开】
中华人民共和国港澳居民居住证政府部门核发来源说明>必要正本原件1份(正本原件仅供查验);正本复印件1份结果文书类;纸质样例下载1.提交的证照证件或批复文件齐全完整、合法有效; 2.证照证件需在有效期之内; 3.提交的复印件需与原件保持一致。【展开】《不动产登记暂行条例》第十六条 申请人应当提交下列材料,并对申请材料的真实性负责:(二)申请人、代理人身份证明材料、授权委托书【展开】【展开】
(三)、台湾地区自然人
1台湾居民来往大陆通行证政府部门核发来源说明>必要正本原件1份(正本原件仅供查验);正本复印件1份结果文书类;纸质样例下载1.照面清晰完整;证件在有效期内;身份信息与本人身份证信息一致 2.原件 3.公安部出入境管理局出具【展开】《中华人民共和国民法典》第二百一十一条 当事人申请登记,应当根据不同登记事项提供权属证明和不动产界址、面积等必要材料。 《不动产登记暂行条例》第十六条 申请人应当提交下列材料,并对申请材料的真实性负责:(二)申请人、代理人身份证明材料、授权委托书【展开】【展开】
台湾居民居住证政府部门核发来源说明>必要原件1份(原件仅供查验);复印件1份结果文书类;纸质样例下载1.照面清晰完整;证件在有效期内;身份信息与本人身份证信息一致 2.原件 3.公安部出入境管理局出具【展开】《中华人民共和国民法典》第二百一十一条 当事人申请登记,应当根据不同登记事项提供权属证明和不动产界址、面积等必要材料。 《不动产登记暂行条例》第十六条 申请人应当提交下列材料,并对申请材料的真实性负责:(二)申请人、代理人身份证明材料、授权委托书【展开】【展开】
(四)、华侨
1中华人民共和国护照政府部门核发来源说明>必要正本原件1份(正本原件仅供查验);正本复印件1份结果文书类;纸质样例下载1.照面清晰完整;证件在有效期内;真实有效,信息准确。 2.正本原件1份 3.政府部门(公安部门)出具【展开】《中华人民共和国民法典》第二百一十一条 当事人申请登记,应当根据不同登记事项提供权属证明和不动产界址、面积等必要材料。 《不动产登记暂行条例》第十六条 申请人应当提交下列材料,并对申请材料的真实性负责:(二)申请人、代理人身份证明材料、授权委托书【展开】【展开】
2国外长期居留身份证件政府部门核发来源说明>必要正本原件1份(正本原件仅供查验);正本复印件1份结果文书类;纸质样例下载1.照面清晰完整;证件在有效期内;真实有效,信息准确。 2.正本原件1份 3.政府部门(公安部门)出具【展开】《中华人民共和国民法典》第二百一十一条 当事人申请登记,应当根据不同登记事项提供权属证明和不动产界址、面积等必要材料。 《不动产登记暂行条例》第十六条 申请人应当提交下列材料,并对申请材料的真实性负责:(二)申请人、代理人身份证明材料、授权委托书【展开】【展开】
(五)、外籍自然人
1外国护照政府部门核发来源说明>必要原件1份(原件仅供查验);复印件1份文本类;纸质样例下载1.照面清晰完整;证件在有效期内;真实有效,信息准确。 2.正本原件1份 3.政府部门(护照核发部门)出具【展开】《中华人民共和国民法典》第二百一十一条 当事人申请登记,应当根据不同登记事项提供权属证明和不动产界址、面积等必要材料。 《不动产登记暂行条例》第十六条 申请人应当提交下列材料,并对申请材料的真实性负责:(二)申请人、代理人身份证明材料、授权委托书【展开】【展开】
中华人民共和国外国人永久居留身份证政府部门核发来源说明>必要正本原件1份(正本原件仅供查验);正本复印件1份结果文书类;纸质样例下载核对身份证件是否真实有效,原件与复印件是否一致。【展开】《中华人民共和国民法典》第二百一十一条 当事人申请登记,应当根据不同登记事项提供权属证明和不动产界址、面积等必要材料。 《不动产登记暂行条例》第十六条 申请人应当提交下列材料,并对申请材料的真实性负责:(二)申请人、代理人身份证明材料、授权委托书【展开】【展开】
(六)、境内营利法人
1营业执照政府部门核发来源说明>必要正本原件1份(正本原件仅供查验);正本复印件1份结果文书类;纸质样例下载1、统一社会信用代码、名称须与申请人信息一致。 2、营业期限须在有效期范围内 3、由市场监督管理部门发放【展开】《中华人民共和国民法典》第二百一十一条 当事人申请登记,应当根据不同登记事项提供权属证明和不动产界址、面积等必要材料。 《不动产登记暂行条例》第十六条 申请人应当提交下列材料,并对申请材料的真实性负责:(二)申请人、代理人身份证明材料、授权委托书【展开】【展开】
(七)、境内非营利法人
1事业单位法人证书政府部门核发来源说明>必要正本原件1份(正本原件仅供查验);正本复印件1份结果文书类;纸质样例下载1、名称与申请人信息一致 2、事业单位法人证书在有效期范围内 3、由中共北京市委机构编制委员会办公室发放【展开】《中华人民共和国民法典》第二百一十一条 当事人申请登记,应当根据不同登记事项提供权属证明和不动产界址、面积等必要材料。 《不动产登记暂行条例》第十六条 申请人应当提交下列材料,并对申请材料的真实性负责:(二)申请人、代理人身份证明材料、授权委托书【展开】【展开】
2社会团体法人登记证书政府部门核发来源说明>必要正本原件1份(正本原件仅供查验);正本复印件1份结果文书类;纸质样例下载1.统一社会信用代码、名称须与申请人信息一致; 2.证件需在有效期之内; 3.由民政部门发放【展开】《中华人民共和国民法典》第二百一十一条 当事人申请登记,应当根据不同登记事项提供权属证明和不动产界址、面积等必要材料。 《不动产登记暂行条例》第十六条 申请人应当提交下列材料,并对申请材料的真实性负责:(二)申请人、代理人身份证明材料、授权委托书【展开】【展开】
3基金会法人登记证书政府部门核发来源说明>必要正本原件1份(正本原件仅供查验);正本复印件1份结果文书类;纸质样例下载1.统一社会信用代码、名称须与申请人信息一致; 2.证件需在有效期之内; 3.由民政部门发放【展开】《中华人民共和国民法典》第二百一十一条 当事人申请登记,应当根据不同登记事项提供权属证明和不动产界址、面积等必要材料。 《不动产登记暂行条例》第十六条 申请人应当提交下列材料,并对申请材料的真实性负责:(二)申请人、代理人身份证明材料、授权委托书【展开】【展开】
4社会服务机构登记证书政府部门核发来源说明>必要正本原件1份(正本原件仅供查验);正本复印件1份结果文书类;纸质样例下载1.统一社会信用代码、名称须与申请人信息一致; 2.证件需在有效期之内; 3.由民政部门发放【展开】《中华人民共和国民法典》第二百一十一条 当事人申请登记,应当根据不同登记事项提供权属证明和不动产界址、面积等必要材料。 《不动产登记暂行条例》第十六条 申请人应当提交下列材料,并对申请材料的真实性负责:(二)申请人、代理人身份证明材料、授权委托书【展开】【展开】
5身份文件申请人自备必要原件1份(原件仅供查验);复印件1份文本类;纸质样例下载1.提交的证照证件或批复文件齐全完整、合法有效; 2.证照证件需在有效期之内; 3.提交的复印件需与原件保持一致。【展开】《中华人民共和国民法典》第二百一十一条 当事人申请登记,应当根据不同登记事项提供权属证明和不动产界址、面积等必要材料。 《不动产登记暂行条例》第十六条 申请人应当提交下列材料,并对申请材料的真实性负责:(二)申请人、代理人身份证明材料、授权委托书【展开】【展开】
成立之日起即具有法人资格所依据的文件申请人自备必要原件1份(原件仅供查验);复印件1份文本类;纸质样例下载1.提交的证照证件或批复文件齐全完整、合法有效; 2.证照证件需在有效期之内; 3.提交的复印件需与原件保持一致。【展开】《中华人民共和国民法典》第二百一十一条 当事人申请登记,应当根据不同登记事项提供权属证明和不动产界址、面积等必要材料。 《不动产登记暂行条例》第十六条 申请人应当提交下列材料,并对申请材料的真实性负责:(二)申请人、代理人身份证明材料、授权委托书【展开】【展开】
(八)、境内特别法人
1统一社会信用代码证书政府部门核发来源说明>必要正本原件1份(正本原件仅供查验);正本复印件1份结果文书类;纸质样例下载1.统一社会信用代码、名称须与申请人信息一致; 2.证件需在有效期之内; 3.由民政部门发放【展开】《中华人民共和国民法典》第二百一十一条 当事人申请登记,应当根据不同登记事项提供权属证明和不动产界址、面积等必要材料。 《不动产登记暂行条例》第十六条 申请人应当提交下列材料,并对申请材料的真实性负责:(二)申请人、代理人身份证明材料、授权委托书【展开】【展开】
2北京市农村合作经济组织法人身份登记证件政府部门核发来源说明>必要正本原件1份(正本原件仅供查验);正本复印件1份结果文书类;纸质样例下载1.统一社会信用代码、名称须与申请人信息一致; 2.证件需在有效期之内; 3.由农业农村局发放【展开】《中华人民共和国民法典》第二百一十一条 当事人申请登记,应当根据不同登记事项提供权属证明和不动产界址、面积等必要材料。 《不动产登记暂行条例》第十六条 申请人应当提交下列材料,并对申请材料的真实性负责:(二)申请人、代理人身份证明材料、授权委托书【展开】【展开】
3城镇农村的合作经济组织法人身份登记证件政府部门核发来源说明>必要正本原件1份(正本原件仅供查验);正本复印件1份结果文书类;纸质样例下载1.提交的证照证件或批复文件齐全完整、合法有效; 2.证照证件需在有效期之内; 3.提交的复印件需与原件保持一致。【展开】《中华人民共和国民法典》第二百一十一条 当事人申请登记,应当根据不同登记事项提供权属证明和不动产界址、面积等必要材料。 《不动产登记暂行条例》第十六条 申请人应当提交下列材料,并对申请材料的真实性负责:(二)申请人、代理人身份证明材料、授权委托书【展开】【展开】
基层群众性自治组织法人身份登记材料政府部门核发来源说明>必要正本原件1份(正本原件仅供查验);正本复印件1份结果文书类;纸质样例下载1.提交的证照证件或批复文件齐全完整、合法有效; 2.证照证件需在有效期之内; 3.提交的复印件需与原件保持一致。【展开】《中华人民共和国民法典》第二百一十一条 当事人申请登记,应当根据不同登记事项提供权属证明和不动产界址、面积等必要材料。 《不动产登记暂行条例》第十六条 申请人应当提交下列材料,并对申请材料的真实性负责:(二)申请人、代理人身份证明材料、授权委托书【展开】【展开】
成立之日起即具有法人资格所依据的文件申请人自备必要原件1份(原件仅供查验);复印件1份文本类;纸质样例下载1.提交的证照证件或批复文件齐全完整、合法有效; 2.证照证件需在有效期之内; 3.提交的复印件需与原件保持一致。【展开】《不动产登记暂行条例》第十六条 申请人应当提交下列材料,并对申请材料的真实性负责:(二)申请人、代理人身份证明材料、授权委托书【展开】【展开】
(九)、境内非法人组织
1营业执照政府部门核发来源说明>必要正本原件1份(正本原件仅供查验);正本复印件1份结果文书类;纸质样例下载1、统一社会信用代码、名称须与申请人信息一致。 2、营业期限须在有效期范围内 3、由市场监督管理部门发放【展开】《中华人民共和国民法典》第二百一十一条 当事人申请登记,应当根据不同登记事项提供权属证明和不动产界址、面积等必要材料。 《不动产登记暂行条例》第十六条 申请人应当提交下列材料,并对申请材料的真实性负责:(二)申请人、代理人身份证明材料、授权委托书【展开】【展开】
身份文件申请人自备必要原件1份(原件仅供查验);复印件1份文本类;纸质样例下载1、统一社会信用代码、名称须与申请人信息一致。 2、营业期限须在有效期范围内 3、由政府部门发放【展开】《中华人民共和国民法典》第二百一十一条 当事人申请登记,应当根据不同登记事项提供权属证明和不动产界址、面积等必要材料。 《不动产登记暂行条例》第十六条 申请人应当提交下列材料,并对申请材料的真实性负责:(二)申请人、代理人身份证明材料、授权委托书【展开】【展开】
(十)、香港特别行政区、澳门特别行政区、台湾地区的法人或非法人组织
1在境内设立分支机构或代表机构的批准文件政府部门核发来源说明>必要正本原件1份(正本原件仅供查验);正本复印件1份结果文书类;纸质样例下载1.批复文件内容齐全完整、与申请人信息一致; 2.证照证件需在有效期之内; 3.由市场监管部门、公安部门发放。【展开】《中华人民共和国民法典》第二百一十一条 当事人申请登记,应当根据不同登记事项提供权属证明和不动产界址、面积等必要材料。 《不动产登记暂行条例》第十六条 申请人应当提交下列材料,并对申请材料的真实性负责:(二)申请人、代理人身份证明材料、授权委托书【展开】【展开】
在境内设立分支机构或代表机构的注册文件政府部门核发来源说明>必要正本原件1份(正本原件仅供查验);正本复印件1份结果文书类;纸质样例下载1.批复文件内容齐全完整、与申请人信息一致; 2.证照证件需在有效期之内; 3.由市场监管部门、公安部门发放。【展开】《中华人民共和国民法典》第二百一十一条 当事人申请登记,应当根据不同登记事项提供权属证明和不动产界址、面积等必要材料。 《不动产登记暂行条例》第十六条 申请人应当提交下列材料,并对申请材料的真实性负责:(二)申请人、代理人身份证明材料、授权委托书【展开】【展开】
注册文件在注册地公证后经有关部门转递或确认的材料中介机构或法定机构产生来源说明>必要原件1份(原件仅供查验);复印件1份文本类;纸质样例下载1.材料内容齐全完整、与申请人信息一致; 2.证照证件需在有效期之内; 3.由中国法律服务(香港或者澳门)有限公司提供【展开】《中华人民共和国民法典》第二百一十一条 当事人申请登记,应当根据不同登记事项提供权属证明和不动产界址、面积等必要材料。 《不动产登记暂行条例》第十六条 申请人应当提交下列材料,并对申请材料的真实性负责:(二)申请人、代理人身份证明材料、授权委托书【展开】【展开】
(十一)、境外法人或非法人组织
1在境内设立分支机构或代表机构的批准文件政府部门核发来源说明>必要正本原件1份(正本原件仅供查验);正本复印件1份结果文书类;纸质样例下载1.批复文件内容齐全完整、与申请人信息一致; 2.证照证件需在有效期之内; 3.由市场监管部门、公安部门发放。【展开】《中华人民共和国民法典》第二百一十一条 当事人申请登记,应当根据不同登记事项提供权属证明和不动产界址、面积等必要材料。 《不动产登记暂行条例》第十六条 申请人应当提交下列材料,并对申请材料的真实性负责:(二)申请人、代理人身份证明材料、授权委托书【展开】【展开】
在境内设立分支机构或代表机构的注册文件政府部门核发来源说明>必要正本原件1份(正本原件仅供查验);正本复印件1份结果文书类;纸质样例下载1.批复文件内容齐全完整、与申请人信息一致; 2.证照证件需在有效期之内; 3.由市场监管部门、公安部门发放。【展开】《中华人民共和国民法典》第二百一十一条 当事人申请登记,应当根据不同登记事项提供权属证明和不动产界址、面积等必要材料。 《不动产登记暂行条例》第十六条 申请人应当提交下列材料,并对申请材料的真实性负责:(二)申请人、代理人身份证明材料、授权委托书【展开】【展开】
注册文件在注册地公证后经中国驻外使(领)馆认证的材料政府部门核发来源说明>必要原件1份(原件仅供查验);复印件1份文本类;纸质样例下载1.材料内容齐全完整、与申请人信息一致; 2.证照证件需在有效期之内; 3.由中国驻外使(领)馆提供。【展开】《中华人民共和国民法典》第二百一十一条 当事人申请登记,应当根据不同登记事项提供权属证明和不动产界址、面积等必要材料。 《不动产登记暂行条例》第十六条 申请人应当提交下列材料,并对申请材料的真实性负责:(二)申请人、代理人身份证明材料、授权委托书【展开】【展开】
(十二)、外国驻华使(领)馆和外国驻华办事机构、国际组织驻华代表机构
1该使(领)馆、办事机构、代表机构的身份文件申请人自备必要原件1份(原件仅供查验);复印件1份文本类;纸质样例下载1.提交的证照证件或批复文件齐全完整、与申请人信息一致; 2.证照证件需在有效期之内; 3.申请人自备。【展开】《中华人民共和国民法典》第二百一十一条 当事人申请登记,应当根据不同登记事项提供权属证明和不动产界址、面积等必要材料。 《不动产登记暂行条例》第十六条 申请人应当提交下列材料,并对申请材料的真实性负责:(二)申请人、代理人身份证明材料、授权委托书【展开】【展开】
不动产权属证书政府部门核发来源说明>必要正本原件1份结果文书类;纸质样例下载1、证面印有中华人民共和国国徽,中华人民共和国不动产权证书字样;不动产证书记载内容主要有权利人、共有情况、坐落、面积、用途、使用年限、权利类型、权利性质、不动产权证书号、不动产单元号、权利其他状况、附记等信息。 2、原件 3、不动产登记部门出具【展开】《中华人民共和国民法典》第二百一十一条 当事人申请登记,应当根据不同登记事项提供权属证明和不动产界址、面积等必要材料。 《不动产登记暂行条例》第十六条 申请人应当提交下列材料,并对申请材料的真实性负责:(三)相关的不动产权属来源证明材料、登记原因证明文件、不动产权属证书;【展开】【展开】
主债权合同申请人自备必要原件1份文本类;纸质样例下载1.合同写清抵押人与抵押权人身份信息、主债权数额及币种、债务履行期限、不动产权证号、抵押不动产坐落、抵押不动产建筑面积、被担保主债权数额、担保范围、债 务 人、是否存在禁止或限制转让抵押不动产的约定、特别约定等事项,甲乙双方签字或盖章,主债权合同签订日期不得在抵押合同签订日期之后; 2.原件; 3.申请人自备【展开】《中华人民共和国民法典》第二百一十一条 当事人申请登记,应当根据不同登记事项提供权属证明和不动产界址、面积等必要材料。 《不动产登记暂行条例》第十六条 申请人应当提交下列材料,并对申请材料的真实性负责:(三)相关的不动产权属来源证明材料、登记原因证明文件、不动产权属证书;【展开】【展开】
抵押合同申请人自备必要原件1份文本类;纸质样例下载1.合同写清抵押人与抵押权人身份信息、主债权数额及币种、债务履行期限、不动产权证号、抵押不动产坐落、抵押不动产建筑面积、被担保主债权数额、担保范围、债 务 人、是否存在禁止或限制转让抵押不动产的约定、特别约定等事项,甲乙双方签字或盖章,主债权合同签订日期不得在抵押合同签订日期之后; 2.原件; 3.申请人自备【展开】《中华人民共和国民法典》第二百一十一条 当事人申请登记,应当根据不同登记事项提供权属证明和不动产界址、面积等必要材料。 《不动产登记暂行条例》第十六条 申请人应当提交下列材料,并对申请材料的真实性负责:(三)相关的不动产权属来源证明材料、登记原因证明文件、不动产权属证书;【展开】【展开】
六、下列情形还应当提交以下材料
(一)、最高额抵押的
1最高额抵押合同申请人自备必要原件1份文本类;纸质样例下载1.合同写清抵押人与抵押权人身份信息、主债权数额及币种、债务履行期限、不动产权证号、抵押不动产坐落、抵押不动产建筑面积、被担保主债权数额、担保范围、债 务 人、是否存在禁止或限制转让抵押不动产的约定、特别约定等事项,甲乙双方签字或盖章,主债权合同签订日期不得在抵押合同签订日期之后; 2.原件; 3.申请人自备【展开】《中华人民共和国民法典》第二百一十一条 当事人申请登记,应当根据不同登记事项提供权属证明和不动产界址、面积等必要材料。 《不动产登记暂行条例》第十六条 申请人应当提交下列材料,并对申请材料的真实性负责:(三)相关的不动产权属来源证明材料、登记原因证明文件、不动产权属证书;【展开】【展开】
登记原因文件申请人自备必要原件1份文本类;纸质样例下载1.合同写清抵押人与抵押权人身份信息、主债权数额及币种、债务履行期限、不动产权证号、抵押不动产坐落、抵押不动产建筑面积、被担保主债权数额、担保范围、债 务 人、是否存在禁止或限制转让抵押不动产的约定、特别约定等事项,甲乙双方签字或盖章,主债权合同签订日期不得在抵押合同签订日期之后; 2.原件; 3.申请人自备【展开】不动产登记暂行条例》第十六条 申请人应当提交下列材料,并对申请材料的真实性负责:(二)申请人、代理人身份证明材料、授权委托书【展开】【展开】
2、同意将最高额抵押权设立前已经存在的债权转入最高额抵押担保的债权范围的
已存在债权的合同申请人自备必要原件1份文本类;纸质样例下载1.材料内容载明当事人同意将该债权纳入最高额抵押权担保范围的意思表示并签字或盖章; 2.原件; 3.申请人自备【展开】《中华人民共和国民法典》第二百一十一条 当事人申请登记,应当根据不同登记事项提供权属证明和不动产界址、面积等必要材料。 《不动产登记暂行条例》第十六条 申请人应当提交下列材料,并对申请材料的真实性负责:(三)相关的不动产权属来源证明材料、登记原因证明文件、不动产权属证书;【展开】【展开】
当事人同意将该债权纳入最高额抵押权担保范围的书面材料申请人自备必要原件1份文本类;纸质样例下载1.材料内容载明当事人同意将该债权纳入最高额抵押权担保范围的意思表示并签字或盖章; 2.原件; 3.申请人自备【展开】《中华人民共和国民法典》第二百一十一条 当事人申请登记,应当根据不同登记事项提供权属证明和不动产界址、面积等必要材料。 《不动产登记暂行条例》第十六条 申请人应当提交下列材料,并对申请材料的真实性负责:(三)相关的不动产权属来源证明材料、登记原因证明文件、不动产权属证书;【展开】【展开】
3、在建建筑物最高额抵押权登记转建筑物最高额抵押权登记的
抵押人与抵押权人关于在建建筑物抵押转为建筑物抵押的书面协议申请人自备必要原件1份文本类;纸质样例下载1.材料内容载明抵押人与抵押权人关于在建建筑物抵押转为建筑物抵押约定事项并签字或盖章; 2.原件; 3.申请人自备【展开】《中华人民共和国民法典》第二百一十一条 当事人申请登记,应当根据不同登记事项提供权属证明和不动产界址、面积等必要材料。 《不动产登记暂行条例》第十六条 申请人应当提交下列材料,并对申请材料的真实性负责:(三)相关的不动产权属来源证明材料、登记原因证明文件、不动产权属证书;【展开】【展开】
《不动产登记证明》政府部门核发来源说明>必要正本原件1份(正本原件仅供查验);正本复印件1份结果文书类;纸质样例下载1、证面印有不动产登记证明字样;记载内容主要有不动产证明号、证明权利或事项、权利人、义务人、坐落、不动产权证书号、不动产单元号、权利其他状况、附记等信息。 2、原件 3、不动产登记部门出具【展开】《中华人民共和国民法典》第二百一十一条 当事人申请登记,应当根据不同登记事项提供权属证明和不动产界址、面积等必要材料。 《不动产登记暂行条例》第十六条 申请人应当提交下列材料,并对申请材料的真实性负责:(三)相关的不动产权属来源证明材料、登记原因证明文件、不动产权属证书;【展开】【展开】
(二)、限价商品住房和经济适用住房抵押借款用途非支付本套住房购房款的
1住房保障管理部门出具的批准意见政府部门核发来源说明>必要原件1份文本类;纸质样例下载1.材料内容载明住房保障管理部门出具的批准意见并盖章; 2.原件; 3.住房保障管理部门出具【展开】《中华人民共和国民法典》第二百一十一条 当事人申请登记,应当根据不同登记事项提供权属证明和不动产界址、面积等必要材料。 《不动产登记暂行条例》第十六条 申请人应当提交下列材料,并对申请材料的真实性负责:(三)相关的不动产权属来源证明材料、登记原因证明文件、不动产权属证书;【展开】【展开】
(三)、以集体建设用地使用权抵押的
1集体土地所有权人同意的材料政府部门核发来源说明>必要原件1份(原件仅供查验);复印件1份文本类;纸质样例下载1.材料内容载明集体土地所有权人同意的意思表示并签字或盖章; 2.原件; 3.集体经济组织出具【展开】《中华人民共和国民法典》第二百一十一条 当事人申请登记,应当根据不同登记事项提供权属证明和不动产界址、面积等必要材料。 《不动产登记暂行条例》第十六条 申请人应当提交下列材料,并对申请材料的真实性负责:(三)相关的不动产权属来源证明材料、登记原因证明文件、不动产权属证书;【展开】【展开】
本集体经济组织三分之二以上成员或者三分之二以上村民代表同意的材料申请人自备必要原件1份(原件仅供查验);复印件1份文本类;纸质样例下载1.材料内容载明本集体经济组织三分之二以上成员或者三分之二以上村民代表同意的意思表示并签字或盖章; 2.原件; 3.申请人自备【展开】《中华人民共和国民法典》第二百一十一条 当事人申请登记,应当根据不同登记事项提供权属证明和不动产界址、面积等必要材料。 《不动产登记暂行条例》第十六条 申请人应当提交下列材料,并对申请材料的真实性负责:(三)相关的不动产权属来源证明材料、登记原因证明文件、不动产权属证书;【展开】【展开】
2地上建筑物、其他附着物的不动产权属证书政府部门核发来源说明>必要正本原件1份(正本原件仅供查验);正本复印件1份结果文书类;纸质样例下载1、证面印有中华人民共和国国徽,中华人民共和国不动产权证书字样;不动产证书记载内容主要有权利人、共有情况、坐落、面积、用途、使用年限、权利类型、权利性质、不动产权证书号、不动产单元号、权利其他状况、附记等信息。 2、原件 3、不动产登记部门出具【展开】《中华人民共和国民法典》第二百一十一条 当事人申请登记,应当根据不同登记事项提供权属证明和不动产界址、面积等必要材料。 《不动产登记暂行条例》第十六条 申请人应当提交下列材料,并对申请材料的真实性负责:(三)相关的不动产权属来源证明材料、登记原因证明文件、不动产权属证书;【展开】【展开】
(四)、在建建筑物抵押登记转建筑物抵押权登记的
1抵押人与抵押权人关于在建建筑物抵押转为建筑物抵押的书面协议申请人自备必要原件1份文本类;纸质样例下载1.提交的证照证件或批复文件齐全完整、合法有效; 1.材料内容载明抵押人与抵押权人关于在建建筑物抵押转为建筑物抵押约定事项并签字或盖章; 2.原件; 3.申请人自备【展开】《中华人民共和国民法典》第二百一十一条 当事人申请登记,应当根据不同登记事项提供权属证明和不动产界址、面积等必要材料。 《不动产登记暂行条例》第十六条 申请人应当提交下列材料,并对申请材料的真实性负责:(三)相关的不动产权属来源证明材料、登记原因证明文件、不动产权属证书;【展开】【展开】
《不动产登记证明》政府部门核发来源说明>必要原件1份(原件仅供查验);复印件1份结果文书类;纸质样例下载1、证面印有不动产登记证明字样;记载内容主要有不动产证明号、证明权利或事项、权利人、义务人、坐落、不动产权证书号、不动产单元号、权利其他状况、附记等信息。 2、原件 3、不动产登记部门出具【展开】《中华人民共和国民法典》第二百一十一条 当事人申请登记,应当根据不同登记事项提供权属证明和不动产界址、面积等必要材料。 《不动产登记暂行条例》第十六条 申请人应当提交下列材料,并对申请材料的真实性负责:(三)相关的不动产权属来源证明材料、登记原因证明文件、不动产权属证书;【展开】【展开】
(五)、在建建筑物抵押的
1中华人民共和国建设工程规划许可证政府部门核发来源说明>必要正本原件1份;正本复印件1份结果文书类;纸质样例下载1、证面印有中华人民共和国国徽,中华人民共和国不动产权证书字样;不动产证书记载内容主要有权利人、共有情况、坐落、面积、用途、使用年限、权利类型、权利性质、不动产权证书号、不动产单元号、权利其他状况、附记等信息。 2、原件 3、不动产登记部门出具【展开】《中华人民共和国民法典》第二百一十一条 当事人申请登记,应当根据不同登记事项提供权属证明和不动产界址、面积等必要材料。 《不动产登记暂行条例》第十六条 申请人应当提交下列材料,并对申请材料的真实性负责:(三)相关的不动产权属来源证明材料、登记原因证明文件、不动产权属证书;【展开】【展开】
有资质不动产测绘机构出具的抵押面积确认文件中介机构或法定机构产生来源说明>必要复印件1份其他;纸质样例下载1、确认文件中申请登记权利人的名称与提交的身份证明的名称一致,承诺中体现“抵押权实现时优先交纳出让金”,申请人签字或盖章; 2.原件; 3.申请人自备【展开】《中华人民共和国民法典》第二百一十一条 当事人申请登记,应当根据不同登记事项提供权属证明和不动产界址、面积等必要材料。 《不动产登记暂行条例》第十六条 申请人应当提交下列材料,并对申请材料的真实性负责:(三)相关的不动产权属来源证明材料、登记原因证明文件、不动产权属证书;【展开】【展开】
(六)、属于国家租赁国有建设用地使用权抵押的
1规划自然资源主管部门同意抵押的文件政府部门核发来源说明>必要原件1份;复印件1份结果文书类;纸质样例下载1.材料内容载明规划国土主管部门同意抵押的意见并盖章; 2.证明文件中的不动产登记信息与登记簿记载一致; 3.原件; 4.规划国土主管部门出具。【展开】《中华人民共和国民法典》第二百一十一条 当事人申请登记,应当根据不同登记事项提供权属证明和不动产界址、面积等必要材料。 《不动产登记暂行条例》第十六条 申请人应当提交下列材料,并对申请材料的真实性负责:(三)相关的不动产权属来源证明材料、登记原因证明文件、不动产权属证书;【展开】该材料仅需提供文号【展开】
(七)、属于划拨土地使用权抵押的
1地上建筑物、其他附着物的不动产权属证书政府部门核发来源说明>必要原件1份;复印件1份结果文书类;纸质样例下载1、证面印有中华人民共和国国徽,中华人民共和国不动产权证书字样;不动产证书记载内容主要有权利人、共有情况、坐落、面积、用途、使用年限、权利类型、权利性质、不动产权证书号、不动产单元号、权利其他状况、附记等信息。 2、原件 3、不动产登记部门出具【展开】《中华人民共和国民法典》第二百一十一条 当事人申请登记,应当根据不同登记事项提供权属证明和不动产界址、面积等必要材料。 《不动产登记暂行条例》第十六条 申请人应当提交下列材料,并对申请材料的真实性负责:(三)相关的不动产权属来源证明材料、登记原因证明文件、不动产权属证书;【展开】【展开】
2抵押权实现时优先交纳出让金的确认文件申请人自备必要原件1份;复印件1份文本类;纸质样例下载1、确认文件中申请登记权利人的名称与提交的身份证明的名称一致,承诺中体现“抵押权实现时优先交纳出让金”,申请人签字或盖章; 2.原件; 3.申请人自备【展开】《中华人民共和国民法典》第二百一十一条 当事人申请登记,应当根据不同登记事项提供权属证明和不动产界址、面积等必要材料。 《不动产登记暂行条例》第十六条 申请人应当提交下列材料,并对申请材料的真实性负责:(三)相关的不动产权属来源证明材料、登记原因证明文件、不动产权属证书;【展开】【展开】
申请材料总要求委托办理的:提交授权委托书(原件1份)、受托人身份材料(原件1份,复印件1份);无、限制民事行为能力人申请登记的:提交证实被监护人为无、限制民事行为能力人的材料(原件1份,复印件1份)、监护关系材料(原件1份,复印件1份)、监护人的身份材料(原件1份,复印件1份)
显示更多

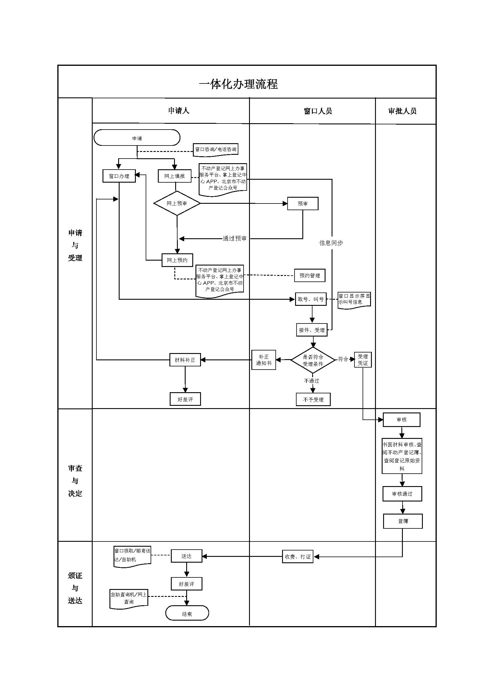
查看流程图

  • 申请与受理1

    办理步骤办理时限办理人员办理结果
    申报/收件0个工作日申请人/

    审查标准

    1.第六十五条 对下列财产进行抵押的,可以申请办理不动产抵押登记:
    (一)建设用地使用权;
    (二)建筑物和其他土地附着物;
    (三)海域使用权;
    (四)以招标、拍卖、公开协商等方式取得的荒地等土地承包经营权;
    (五)正在建造的建筑物;
    (六)法律、行政法规未禁止抵押的其他不动产。
    以建设用地使用权、海域使用权抵押的,该土地、海域上的建筑物、构筑物一并抵押;以建筑物、构筑物抵押的,该建筑物、构筑物占用范围内的建设用地使用权、海域使用权一并抵押。 (依据来源:《不动产登记暂行条例实施细则 》 第六十五条)
    3.第六十六条 自然人、法人或者其他组织为保障其债权的实现,依法以不动产设定抵押的,可以由当事人持不动产权属证书、抵押合同与主债权合同等必要材料,共同申请办理抵押登记。 (依据来源:《不动产登记暂行条例实施细则 》 第六十六条)
    抵押合同可以是单独订立的书面合同,也可以是主债权合同中的抵押条款。
    4.第六十七条 同一不动产上设立多个抵押权的,不动产登记机构应当按照受理时间的先后顺序依次办理登记,并记载于不动产登记簿。当事人对抵押权顺位另有约定的,从其规定办理登记。 (依据来源:《不动产登记暂行条例实施细则 》 第六十七条)
    5.材料齐全,填写完整;
    6.提交的证照证件或批复文件齐全完整、如提交复印件,应完整清晰并与原件一致;
    7.申请材料所载基本信息与提交的证照证件或批复文件所载内容一致;
    8.申请材料按要求签字、盖章,且签章内容与申请材料所载内容、提交的证照证件或批复文件所载内容一致。
    【展开】
    办理步骤办理时限办理人员办理结果
    受理0个工作日综窗人员符合受理标准,出具《不动产登记受理凭证》; 不符合标准,出具《不动产登记不予受理告知书》。

    审查标准

    以下列财产进行抵押的,可以申请办理不动产抵押权登记:
    1.建设用地使用权;
    2.建筑物、构筑物等定着物;
    3.正在建造的建筑物;
    4.林地使用权(仅限于林地使用权/森林、林木使用权);
    5.林地经营权;
    6.法律、行政法规未禁止抵押的其他不动产。
    【展开】
  • 审查与决定2

    办理步骤办理时限办理人员办理结果
    审查3个工作日首席代表或部门负责人/

    审查标准

    一、一般性审查标准
    1.申请人是否按照登记部门要求进一步补充材料;
    2.申请人、委托代理人身份证明材料以及授权委托书是否与申请人一致;
    3.申请登记的不动产是否符合不动产单元设定条件;
    4.申请登记的事项与权属来源材料或者登记原因文件是否一致;
    5.申请登记的事项与不动产登记簿的记载是否相冲突;
    6.不动产是否存在权属争议,但申请异议登记除外;
    7.是否属于未依法缴纳土地出让价款、土地租金或者相关税费的;
    8.申请登记的不动产权利是否超过规定期限;
    9.是否属于不动产被依法查封期间,权利人处分该不动产申请登记的;
    10.是否属于未经预告登记权利人书面同意,当事人处分该不动产申请登记的;
    11.是否属于未办理不动产首次登记而申请办理其他类型登记的,法律、法规另有规定的除外;
    12.法律、行政法规规定的其他情形。
    二、业务性审核标准
    1.抵押财产是否已经办理不动产登记;
    2.抵押财产是否属于法律、行政法规禁止抵押的不动产;
    3.抵押合同上记载的抵押人、抵押权人、被担保主债权的数额或种类、担保范围、债务履行期限、抵押不动产是否明确;最高额抵押权登记的,最高债权额限度、债权确定的期间是否明确;
    4.申请人与不动产权属证书或登记证明、主债权合同、抵押合同、最高额抵押合同等记载的主体是否一致;
    5.在建建筑物抵押的,抵押财产不包括已经办理预告登记的预购商品房和已办理预售合同登记备案的商品房;
    6.在建建筑物抵押转建筑物抵押的,抵押财产不包括以下房屋:
    (1)已经办理预告登记的预购商品房和已办理预售合同登记备案的商品房;
    (2)已经登记为全体业主共有的房屋;
    (3)办理在建建筑物抵押登记后新增的房屋;
    (4)法律、行政法规规定的其他情形。
    7.在建建筑物抵押,实地查看抵押部位是否已完工;
    8.有查封登记的,不予办理抵押登记,但在商品房抵押预告登记后办理的预查封登记,不影响商品房抵押预告登记转抵押权首次登记;
    9.办理抵押预告登记转抵押权首次登记,抵押权人与抵押预告登记权利人是否一致;
    10.同一不动产上设有多个抵押权的,应当按照受理时间的先后顺序依次办理登记;
    11.以具有土地使用年限的房地产设定抵押的,所担保债务的履行期限是否超过国有建设用地使用权出让合同规定的使用年限减去已经使用年限后的剩余年限;
    12.按份共有人以其所有份额设定抵押的,可不需其他共有人同意抵押的书面材料;
    13.申请抵押登记双方应对抵押的不动产是否禁止或限制在抵押期间转让的事项进行约定;
    14.登记申请是否违反法律、行政法规的规定;
    15.本规范第4章要求的其他审查事项。
    【展开】
    办理步骤办理时限办理人员办理结果
    决定2个工作日首席代表或部门负责人符合登记条件,记载于登记簿。

    审查标准

    1.抵押财产是否已经办理不动产登记;
    2.抵押财产是否属于法律、行政法规禁止抵押的不动产;
    3.抵押合同上记载的抵押人、抵押权人、被担保主债权的数额或种类、担保范围、债务履行期限、抵押不动产是否明确;最高额抵押权登记的,最高债权额限度、债权确定的期间是否明确;
    4.申请人与不动产权属证书或登记证明、主债权合同、抵押合同、最高额抵押合同等记载的主体是否一致;
    5.在建建筑物抵押的,抵押财产不包括已经办理预告登记的预购商品房和已办理预售合同登记备案的商品房;
    6.在建建筑物抵押转建筑物抵押的,抵押财产不包括以下房屋:
    (1)已经办理预告登记的预购商品房和已办理预售合同登记备案的商品房;
    (2)已经登记为全体业主共有的房屋;
    (3)办理在建建筑物抵押登记后新增的房屋;
    (4)法律、行政法规规定的其他情形。
    7.在建建筑物抵押,实地查看抵押部位是否已完工;
    8.有查封登记的,不予办理抵押登记,但在商品房抵押预告登记后办理的预查封登记,不影响商品房抵押预告登记转抵押权首次登记;
    9.办理抵押预告登记转抵押权首次登记,抵押权人与抵押预告登记权利人是否一致;
    10.同一不动产上设有多个抵押权的,应当按照受理时间的先后顺序依次办理登记;
    11.以具有土地使用年限的房地产设定抵押的,所担保债务的履行期限是否超过国有建设用地使用权出让合同规定的使用年限减去已经使用年限后的剩余年限;
    12.按份共有人以其所有份额设定抵押的,可不需其他共有人同意抵押的书面材料;
    13.申请抵押登记双方应对抵押的不动产是否禁止或限制在抵押期间转让的事项进行约定;
    14.登记申请是否违反法律、行政法规的规定;
    15.本规范第4章要求的其他审查事项。
    【展开】
  • 颁证与送达3

    办理步骤办理时限办理人员结果名称
    制证0个工作日制证人员
    发证0个工作日制证人员

    1、《不动产登记证明》

    送达方式
    窗口领取邮寄送达

《不动产登记证明》
结果名称《不动产登记证明》
结果文书类型证照
结果样本不动产登记证明.docx
有效时间无时限

【法律】中华人民共和国民法典
制定机关全国人民代表大会常务委员会
依据名称中华人民共和国民法典
发布号令(文号)2020年5月28日 2021年1月1日 中华人民共和国主席令第45号
法条(具体规定)内容第二百一十条:不动产登记,由不动产所在地的登记机构办理。国家对不动产实行统一登记制度。统一登记的范围、登记机构和登记办法,由法律、行政法规规定。 【展开】

是否收费:

收费项目名称抵押权首次登记
收费标准1.《国家发展改革委 财政部关于不动产登记收费标准等有关问题的通知》(发改价格规〔2016〕2559号)一、不动产登记收费标准。县级以上不动产登记机构依法办理不动产权利登记时,根据不同情形,收取不动产登记费。(一)住宅类不动产登记收费标准。落实不动产统一登记制度,实行房屋所有权及其建设用地使用权一体登记。原有住房及其建设用地分别办理各类登记时收取的登记费,统一整合调整为不动产登记收费,即住宅所有权及其建设用地使用权一并登记,收取一次登记费。规划用途为住宅的房屋(以下简称住宅)及其建设用地使用权申请办理下列不动产登记事项,提供具体服务内容,据实收取不动产登记费,收费标准为每件80元。1、房地产开发企业等法人、其他组织、自然人合法建设的住宅,申请办理房屋所有权及其建设用地使用权首次登记;2、居民等自然人、法人、其他组织购买住宅,以及互换、赠与、继承、受遗赠等情形,住宅所有权及其建设用地使用权发生转移,申请办理不动产转移登记;3、住宅及其建设用地用途、面积、权利期限、来源等状况发生变化,以及共有性质发生变更等,申请办理不动产变更登记;4、当事人以住宅及其建设用地设定抵押,办理抵押权登记(包括抵押权首次登记、变更登记、转移登记);5、当事人按照约定在住宅及其建设用地上设定地役权,申请办理地役权登记(包括地役权首次登记、变更登记、转移登记)。为推进保障性安居工程建设,减轻登记申请人负担,廉租住房、公共租赁住房、经济适用住房和棚户区改造安置住房所有权及其建设用地使用权办理不动产登记,登记收费标准为零。(二)非住宅类不动产登记收费标准。办理下列非住宅类不动产权利的首次登记、转移登记、变更登记,收取不动产登记费,收费标准为每件550元。1、住宅以外的房屋等建筑物、构筑物所有权及其建设用地使用权或者海域使用权;2、无建筑物、构筑物的建设用地使用权;3、森林、林木所有权及其占用林地的承包经营权或者使用权;4、耕地、草地、水域、滩涂等土地承包经营权;5、地役权;6、抵押权。不动产登记机构依法办理不动产查封登记、注销登记、预告登记和因不动产登记机构错误导致的更正登记,不得收取不动产登记费。二、证书工本费标准。不动产登记机构按本通知第一条规定收取不动产登记费,核发一本不动产权属证书的不收取证书工本费。向一个以上不动产权利人核发权属证书的,每增加一本证书加收证书工本费10元。不动产登记机构依法核发不动产登记证明,不得收取登记证明工本费。三、收费优惠减免。对下列情形,执行优惠收费标准。(一)按照本通知第一条规定的收费标准减半收取登记费,同时不收取第一本不动产权属证书的工本费:1、申请不动产更正登记、异议登记的;2、不动产权利人姓名、名称、身份证明类型或者身份证明号码发生变更申请变更登记的;3、同一权利人因分割、合并不动产申请变更登记的;4、国家法律、法规规定予以减半收取的。(二)免收不动产登记费(含第一本不动产权属证书的工本费):1、申请与房屋配套的车库、车位、储藏室等登记,不单独核发不动产权属证书的(申请单独发放权属证书的,按本通知第一条规定的收费标准收取登记费);2、因行政区划调整导致不动产坐落的街道、门牌号或房屋名称变更而申请变更登记的;3、小微企业(含个体工商户)申请不动产登记的;4、农村集体经济组织成员以家庭承包或其他方式承包取得农用地的土地承包经营权申请登记的;5、农村集体经济组织成员以家庭承包或其他方式承包取得森林、林木所有权及其占用的林地承包经营权申请登记的;6、依法由农民集体使用的国有农用地从事种植业、林业、畜牧业、渔业等农业生产,申请土地承包经营权登记或国有农用地使用权登记的;7、因农村集体产权制度改革导致土地、房屋等确权变更而申请变更登记的;8、国家法律、法规规定予以免收的。(三)只收取不动产权属证书工本费,每本证书10元:1、单独申请宅基地使用权登记的;2、申请宅基地使用权及地上房屋所有权登记的;3、夫妻间不动产权利人变更,申请登记的;4、因不动产权属证书丢失、损坏等原因申请补发、换发证书的。四、不动产登记计费单位。不动产登记费按件收取,不得按照不动产的面积、体积或者价款的比例收取。申请人以一个不动产单元提出一项不动产权利的登记申请,并完成一个登记类型登记的为一件。申请人以同一宗土地上多个抵押物办理一笔贷款,申请办理抵押权登记的,按一件收费;非同宗土地上多个抵押物办理一笔贷款,申请办理抵押权登记的,按多件收费。不动产单元,是指权属界线封闭且具有独立使用价值的空间。有房屋等建筑物、构筑物以及森林、林木定着物的,以该房屋等建筑物、构筑物以及森林、林木定着物与土地权属界线封闭的空间为不动产单元。房屋包括独立成幢、权属界线封闭的空间,以及区分套、层、间等可以独立使用、权属界线封闭的空间。没有房屋等建筑物、构筑物以及森林、林木定着物的,以土地权属界线封闭的空间为不动产单元。五、登记费缴纳。不动产登记费由登记申请人缴纳。按规定需由当事各方共同申请不动产登记的,不动产登记费由登记为不动产权利人的一方缴纳;不动产抵押权登记,登记费由登记为抵押权人的一方缴纳;不动产为多个权利人共有(用)的,不动产登记费由共有(用)人共同缴纳,具体分摊份额由共有(用)人自行协商。房地产开发企业不得把新建商品房办理首次登记的登记费,以及因提供测绘资料所产生的测绘费等其他费用转嫁给购房人承担;向购房人提供抵押贷款的商业银行,不得把办理抵押权登记的费用转嫁给购房人承担;2.《财政部国家发展改革委关于减免部分行政事业性收费有关政策的通知》(财税〔2019〕45号)一、减免不动产登记费(一)对下列情形免征不动产登记费:1.申请办理变更登记、更正登记的;2.申请办理森林、林木所有权及其占用的林地承包经营权或林地使用权,及相关抵押权、地役权不动产权利登记的;3.申请办理耕地、草地、水域、滩涂等土地承包经营权或国有农用地使用权,及相关抵押权、地役权不动产权利登记的。(二)对申请办理车库、车位、储藏室不动产登记,单独核发不动产权属证书或登记证明的,不动产登记费由原非住宅类不动产登记每件550元,减按住宅类不动产登记每件80元收取。
收费依据1.《国家发展改革委 财政部关于不动产登记收费标准等有关问题的通知》(发改价格规〔2016〕2559号)一、不动产登记收费标准。县级以上不动产登记机构依法办理不动产权利登记时,根据不同情形,收取不动产登记费。(一)住宅类不动产登记收费标准。落实不动产统一登记制度,实行房屋所有权及其建设用地使用权一体登记。原有住房及其建设用地分别办理各类登记时收取的登记费,统一整合调整为不动产登记收费,即住宅所有权及其建设用地使用权一并登记,收取一次登记费。规划用途为住宅的房屋(以下简称住宅)及其建设用地使用权申请办理下列不动产登记事项,提供具体服务内容,据实收取不动产登记费,收费标准为每件80元。1、房地产开发企业等法人、其他组织、自然人合法建设的住宅,申请办理房屋所有权及其建设用地使用权首次登记;2、居民等自然人、法人、其他组织购买住宅,以及互换、赠与、继承、受遗赠等情形,住宅所有权及其建设用地使用权发生转移,申请办理不动产转移登记;3、住宅及其建设用地用途、面积、权利期限、来源等状况发生变化,以及共有性质发生变更等,申请办理不动产变更登记;4、当事人以住宅及其建设用地设定抵押,办理抵押权登记(包括抵押权首次登记、变更登记、转移登记);5、当事人按照约定在住宅及其建设用地上设定地役权,申请办理地役权登记(包括地役权首次登记、变更登记、转移登记)。为推进保障性安居工程建设,减轻登记申请人负担,廉租住房、公共租赁住房、经济适用住房和棚户区改造安置住房所有权及其建设用地使用权办理不动产登记,登记收费标准为零。(二)非住宅类不动产登记收费标准。办理下列非住宅类不动产权利的首次登记、转移登记、变更登记,收取不动产登记费,收费标准为每件550元。1、住宅以外的房屋等建筑物、构筑物所有权及其建设用地使用权或者海域使用权;2、无建筑物、构筑物的建设用地使用权;3、森林、林木所有权及其占用林地的承包经营权或者使用权;4、耕地、草地、水域、滩涂等土地承包经营权;5、地役权;6、抵押权。不动产登记机构依法办理不动产查封登记、注销登记、预告登记和因不动产登记机构错误导致的更正登记,不得收取不动产登记费。二、证书工本费标准。不动产登记机构按本通知第一条规定收取不动产登记费,核发一本不动产权属证书的不收取证书工本费。向一个以上不动产权利人核发权属证书的,每增加一本证书加收证书工本费10元。不动产登记机构依法核发不动产登记证明,不得收取登记证明工本费。三、收费优惠减免。对下列情形,执行优惠收费标准。(一)按照本通知第一条规定的收费标准减半收取登记费,同时不收取第一本不动产权属证书的工本费:1、申请不动产更正登记、异议登记的;2、不动产权利人姓名、名称、身份证明类型或者身份证明号码发生变更申请变更登记的;3、同一权利人因分割、合并不动产申请变更登记的;4、国家法律、法规规定予以减半收取的。(二)免收不动产登记费(含第一本不动产权属证书的工本费):1、申请与房屋配套的车库、车位、储藏室等登记,不单独核发不动产权属证书的(申请单独发放权属证书的,按本通知第一条规定的收费标准收取登记费);2、因行政区划调整导致不动产坐落的街道、门牌号或房屋名称变更而申请变更登记的;3、小微企业(含个体工商户)申请不动产登记的;4、农村集体经济组织成员以家庭承包或其他方式承包取得农用地的土地承包经营权申请登记的;5、农村集体经济组织成员以家庭承包或其他方式承包取得森林、林木所有权及其占用的林地承包经营权申请登记的;6、依法由农民集体使用的国有农用地从事种植业、林业、畜牧业、渔业等农业生产,申请土地承包经营权登记或国有农用地使用权登记的;7、因农村集体产权制度改革导致土地、房屋等确权变更而申请变更登记的;8、国家法律、法规规定予以免收的。(三)只收取不动产权属证书工本费,每本证书10元:1、单独申请宅基地使用权登记的;2、申请宅基地使用权及地上房屋所有权登记的;3、夫妻间不动产权利人变更,申请登记的;4、因不动产权属证书丢失、损坏等原因申请补发、换发证书的。四、不动产登记计费单位。不动产登记费按件收取,不得按照不动产的面积、体积或者价款的比例收取。申请人以一个不动产单元提出一项不动产权利的登记申请,并完成一个登记类型登记的为一件。申请人以同一宗土地上多个抵押物办理一笔贷款,申请办理抵押权登记的,按一件收费;非同宗土地上多个抵押物办理一笔贷款,申请办理抵押权登记的,按多件收费。不动产单元,是指权属界线封闭且具有独立使用价值的空间。有房屋等建筑物、构筑物以及森林、林木定着物的,以该房屋等建筑物、构筑物以及森林、林木定着物与土地权属界线封闭的空间为不动产单元。房屋包括独立成幢、权属界线封闭的空间,以及区分套、层、间等可以独立使用、权属界线封闭的空间。没有房屋等建筑物、构筑物以及森林、林木定着物的,以土地权属界线封闭的空间为不动产单元。五、登记费缴纳。不动产登记费由登记申请人缴纳。按规定需由当事各方共同申请不动产登记的,不动产登记费由登记为不动产权利人的一方缴纳;不动产抵押权登记,登记费由登记为抵押权人的一方缴纳;不动产为多个权利人共有(用)的,不动产登记费由共有(用)人共同缴纳,具体分摊份额由共有(用)人自行协商。房地产开发企业不得把新建商品房办理首次登记的登记费,以及因提供测绘资料所产生的测绘费等其他费用转嫁给购房人承担;向购房人提供抵押贷款的商业银行,不得把办理抵押权登记的费用转嫁给购房人承担;2.《财政部国家发展改革委关于减免部分行政事业性收费有关政策的通知》(财税〔2019〕45号)一、减免不动产登记费(一)对下列情形免征不动产登记费:1.申请办理变更登记、更正登记的;2.申请办理森林、林木所有权及其占用的林地承包经营权或林地使用权,及相关抵押权、地役权不动产权利登记的;3.申请办理耕地、草地、水域、滩涂等土地承包经营权或国有农用地使用权,及相关抵押权、地役权不动产权利登记的。(二)对申请办理车库、车位、储藏室不动产登记,单独核发不动产权属证书或登记证明的,不动产登记费由原非住宅类不动产登记每件550元,减按住宅类不动产登记每件80元收取。
是否允许减免
减免收费情形申请办理森林、林木所有权及其占用的林地承包经营权或林地使用权,及相关抵押权、地役权不动产权利登记的,申请办理耕地、草地、水域、滩涂等土地承包经营权或国有农用地使用权,及相关抵押权、地役权不动产权利登记的免征不动产登记费
允许减免依据《关于减免部分行政事业性收费有关政策的通知》(财税〔2019〕45号)
备注
1、在建建筑物抵押,是否需要现场查看?
需要现场查看

指南分享

党政机关

移动版

主办:北京市人民政府办公厅

承办:北京市政务服务和数据管理局

版权所有:北京市人民政府网站 京ICP备05060933号

政府网站标识码:1100000088 京公网安备 11010502039640 京ICP备05060933号

运行管理:首都之窗运行管理中心

请选择您的办理区域:

北京市

请选择需要办理的事项: