3
07
11110000660504319Y
北京市规划和自然资源委员会海淀分局
抵押权转移登记
11110000660504319Y300071500101405
11110000660504319Y3000715001014
0
a0a2a6c4-b908-4077-8e73-710ea8e827eb
4f464787-787d-4264-836a-d914ab23ea2e
2^3
07
市规划自然委海淀区分局
110108000000
北京市规划和自然资源委员会海淀分局
海淀区政务服务中心(航天桥办公区):法定工作日: 上午: 08:30 - 12:00; 下午: 12:00 - 17:30; (延时服务时间: 周六上午08:30 - 12:30; );
海淀区政务服务中心(航天桥办公区):北京市海淀区阜成路67号银都大厦3层综合窗口;
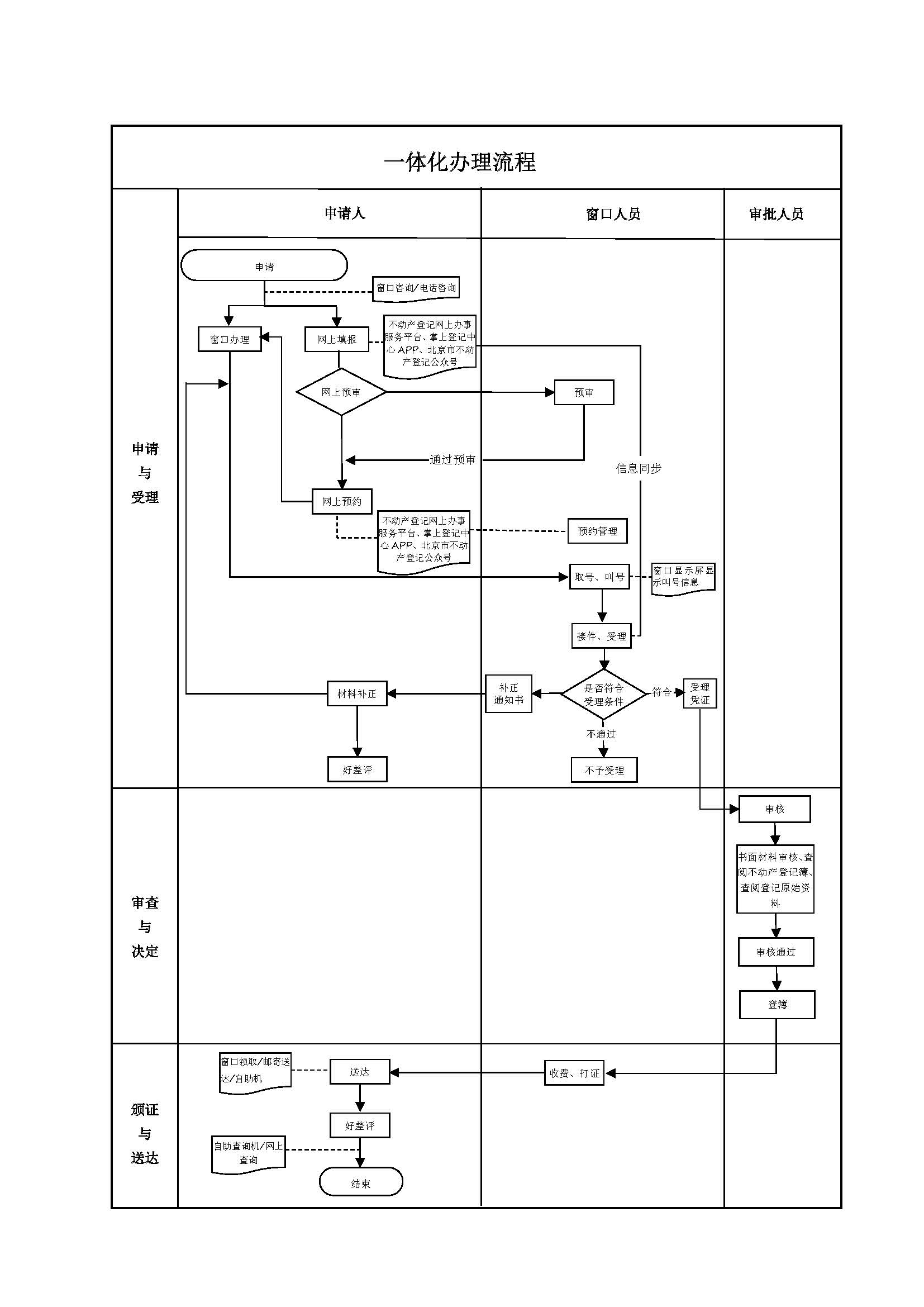
1.因主债权转让导致抵押权转让的,当事人可以持不动产权属证书、不动产登记证明、被担保主债权的转让协议、债权人已经通知债务人的材料等相关材料,申请抵押权的转移登记。 2.申请登记事项在本登记部门的登记职责范围内; 3.申请材料形式符合要求; 4.申请人与依法应当提交的申请材料记载的主体一致; 5.申请登记的不动产权利与登记原因文件记载的不动产权利一致; 6.申请内容与询问记录不冲突。
{"IS_GUIDE":"1","ONLINE_DECLARE_SYSTEM_MODE":"99","ITEM_REALITY_USELEVEL":"","SERVICE_OBJCT":"","IS_CONSTRUCTION":"0","CL_SERVICE_TYPE":"","APP_CODE_ID":"","YESNO_CITY_UNICOM":"0^1","CROSS_AREA":"","ISSHOHCENTER":"0","WECHAT_CODE_ID":"","FINANCIAL":"","LITTLEPROGRAM_CODE_NAME":"","CROSS_AREA_ALL":"","CROSS_PROVINCE":"","ALIAS_NAME":"[\"抵押权登记\"]","EAR_DISABILITY_GRAD":"","LIB_DISABILITY_GRAD":"","SPEAK_DISABILITY_GRAD":"","REGISTER":"","ONLINE_HANDLING_DEPTH_STANDARD":"05","APPROVAL_TYPE":"1","MIND_DISABILITY_GRAD":"","ACCEPTSERVICE":"99","YWBLX_ID":"e3fd25b4-2323-4a70-87a7-48c440d0f768","ONLINE_DECLARE_SYSTEM_DEPT":"","CONSTRUCTION_EXPANSION":"0","EMPOWER":"0","EXEMPT_MATERIALS":"","LITTLEPROGRAM_CODE_ID":"","EYE_DISABILITY_GRAD":"","ISMONVEINCENTER":"0","DATA_FLAG":"","BUSINESS_APPROVAL_DEPT":"北京市规划和自然资源委员会","POWER_NAME":"不动产统一登记","ITEM_ATTRIBUTE":"04^05^06^11^13","CROSS_AREA_ATEXT":"","AGE":"","BGSYSTEM_APPROVAL_OTHER":"北京市不动产登记信息系统v2.0","WIT_DISABILITY_GRAD":"","WECHAT_CODE_NAME":"","POWER_CODE":"H1202810","DISABILITY_TYPE":"","IS_ENABLE_CERTIFICATE_SHARE":"","POWER_ATTRIBUTE":"1","ONLY_ID":"1e2a4714-81ed-11ea-8de7-fa163e4f9ad9","YES_NO_OPEN":"1","BGSYSTEM_APPROVAL_NAME":"其他","APP_CODE_NAME":"","HOLDER":"","VERSION":"20241125"}
[{"ID":8130409,"TASKGUID":"a0a2a6c4-b908-4077-8e73-710ea8e827eb","T_ID":"16f0c125-5f46-4074-8ccd-7d1df1c71f7b","P_ID":"","NAME":"申请人身份","NODE_LEVEL":1,"NODE_PATH":"/16f0c125-5f46-4074-8ccd-7d1df1c71f7b","CHILD_COUNT":12,"ORDER_NUM":1,"SERIAL_NUMBER":"1","CONDITION_ATTR":"01","IS_RADIO":"1","IS_SUPPORT":"","SUMMARY":"1 申请人身份\n\t1.1 境内自然人\n\t\t1.1.1 是否成年\n\t\t\t1.1.1.1 是\n\t\t\t1.1.1.2 否\n\t\t1.1.2 是否为个体工商户或农村承包经营户\n\t\t\t1.1.2.1 是\n\t\t\t1.1.2.2 否\n\t1.10 香港特别行政区、澳门特别行政区、台湾地区的法人或非法人组织\n\t1.11 境外法人或非法人组织\n\t1.12 外国驻华使(领)馆和外国驻华办事机构、国际组织驻华代表机构\n\t1.2 香港、澳门特别行政区自然人\n\t1.3 台湾地区自然人\n\t1.4 华侨\n\t1.5 外籍自然人\n\t1.6 境内营利法人\n\t1.7 境内非营利法人\n\t1.8 境内特别法人\n\t1.9 境内非法人组织","CD_TIME":"Jan 5, 2026 5:50:33 PM","CD_BATCH":"2026010500039","DISTRIBUTETAG":"all-data^non-investment^11110000660504319Y^110108000000^non-construction^11110000MB1503996K^non-construction_expansion","DATAJSONTEXT":"{\"VERSION\":\"20220810\",\"TREE_TYPE\":\"\",\"CONSULTATION_QA\":\"\"}","parOrder":"","proOrder":"1","newOrderNum":"001","itemGuideConditionRelatedList":[]},{"ID":8130404,"TASKGUID":"a0a2a6c4-b908-4077-8e73-710ea8e827eb","T_ID":"020575b0-8a7c-4188-9f33-fbe44bae2dca","P_ID":"16f0c125-5f46-4074-8ccd-7d1df1c71f7b","NAME":"境内自然人","NODE_LEVEL":2,"NODE_PATH":"/16f0c125-5f46-4074-8ccd-7d1df1c71f7b/020575b0-8a7c-4188-9f33-fbe44bae2dca","CHILD_COUNT":2,"ORDER_NUM":1,"SERIAL_NUMBER":"1.1","CONDITION_ATTR":"02","IS_RADIO":"","IS_SUPPORT":"","SUMMARY":"","CD_TIME":"Jan 5, 2026 5:50:33 PM","CD_BATCH":"2026010500039","DISTRIBUTETAG":"all-data^non-investment^11110000660504319Y^110108000000^non-construction^11110000MB1503996K^non-construction_expansion","DATAJSONTEXT":"{\"VERSION\":\"20220810\",\"TREE_TYPE\":\"\",\"CONSULTATION_QA\":\"\"}","parOrder":"","proOrder":"","newOrderNum":"001.001","itemGuideConditionRelatedList":[]},{"ID":8130405,"TASKGUID":"a0a2a6c4-b908-4077-8e73-710ea8e827eb","T_ID":"06c89ccb-1446-4447-bdb8-575dec00d584","P_ID":"020575b0-8a7c-4188-9f33-fbe44bae2dca","NAME":"是否成年","NODE_LEVEL":3,"NODE_PATH":"/16f0c125-5f46-4074-8ccd-7d1df1c71f7b/020575b0-8a7c-4188-9f33-fbe44bae2dca/06c89ccb-1446-4447-bdb8-575dec00d584","CHILD_COUNT":2,"ORDER_NUM":1,"SERIAL_NUMBER":"1.1.1","CONDITION_ATTR":"01","IS_RADIO":"1","IS_SUPPORT":"","SUMMARY":"","CD_TIME":"Jan 5, 2026 5:50:33 PM","CD_BATCH":"2026010500039","DISTRIBUTETAG":"all-data^non-investment^11110000660504319Y^110108000000^non-construction^11110000MB1503996K^non-construction_expansion","DATAJSONTEXT":"{\"VERSION\":\"20220810\",\"TREE_TYPE\":\"\",\"CONSULTATION_QA\":\"\"}","parOrder":"1","proOrder":"1","newOrderNum":"001.001.001","itemGuideConditionRelatedList":[]},{"ID":8130410,"TASKGUID":"a0a2a6c4-b908-4077-8e73-710ea8e827eb","T_ID":"31df2c3a-80cf-4a5f-bf83-b32e768cab78","P_ID":"06c89ccb-1446-4447-bdb8-575dec00d584","NAME":"是","NODE_LEVEL":4,"NODE_PATH":"/16f0c125-5f46-4074-8ccd-7d1df1c71f7b/020575b0-8a7c-4188-9f33-fbe44bae2dca/06c89ccb-1446-4447-bdb8-575dec00d584/31df2c3a-80cf-4a5f-bf83-b32e768cab78","CHILD_COUNT":0,"ORDER_NUM":1,"SERIAL_NUMBER":"1.1.1.1","CONDITION_ATTR":"02","IS_RADIO":"","IS_SUPPORT":"","SUMMARY":"","CD_TIME":"Jan 5, 2026 5:50:33 PM","CD_BATCH":"2026010500039","DISTRIBUTETAG":"all-data^non-investment^11110000660504319Y^110108000000^non-construction^11110000MB1503996K^non-construction_expansion","DATAJSONTEXT":"{\"VERSION\":\"20220810\",\"TREE_TYPE\":\"\",\"CONSULTATION_QA\":\"\"}","parOrder":"","proOrder":"","newOrderNum":"001.001.001.001","itemGuideConditionRelatedList":[{"ID":26691195,"TASKGUID":"a0a2a6c4-b908-4077-8e73-710ea8e827eb","T_ID":"31df2c3a-80cf-4a5f-bf83-b32e768cab78","G_ID":"1c48fd9e-6e4a-481e-8c8a-71a013eb8261","M_CODE":"320006","MATERIAL_ID":"25d4e896-4820-42d3-9eb4-bc9bed0211ba","CD_TIME":"Jan 5, 2026 5:50:33 PM","CD_BATCH":"2026010500039","DISTRIBUTETAG":"all-data^non-investment^11110000660504319Y^110108000000^non-construction^11110000MB1503996K^non-construction_expansion","DATAJSONTEXT":"{\"VERSION\":\"20210903\"}"}]},{"ID":8130415,"TASKGUID":"a0a2a6c4-b908-4077-8e73-710ea8e827eb","T_ID":"5da8a916-d228-460a-9c99-fc5109b847a0","P_ID":"06c89ccb-1446-4447-bdb8-575dec00d584","NAME":"否","NODE_LEVEL":4,"NODE_PATH":"/16f0c125-5f46-4074-8ccd-7d1df1c71f7b/020575b0-8a7c-4188-9f33-fbe44bae2dca/06c89ccb-1446-4447-bdb8-575dec00d584/5da8a916-d228-460a-9c99-fc5109b847a0","CHILD_COUNT":0,"ORDER_NUM":2,"SERIAL_NUMBER":"1.1.1.2","CONDITION_ATTR":"02","IS_RADIO":"","IS_SUPPORT":"","SUMMARY":"","CD_TIME":"Jan 5, 2026 5:50:33 PM","CD_BATCH":"2026010500039","DISTRIBUTETAG":"all-data^non-investment^11110000660504319Y^110108000000^non-construction^11110000MB1503996K^non-construction_expansion","DATAJSONTEXT":"{\"VERSION\":\"20220810\",\"TREE_TYPE\":\"\",\"CONSULTATION_QA\":\"\"}","parOrder":"","proOrder":"","newOrderNum":"001.001.001.002","itemGuideConditionRelatedList":[{"ID":26690870,"TASKGUID":"a0a2a6c4-b908-4077-8e73-710ea8e827eb","T_ID":"5da8a916-d228-460a-9c99-fc5109b847a0","G_ID":"ef3be139-3bfc-4cd2-8540-a6d58206045a","M_CODE":"340593","MATERIAL_ID":"1a5f6828-62ac-4a13-bb97-332cd7aab5d0","CD_TIME":"Jan 5, 2026 5:50:33 PM","CD_BATCH":"2026010500039","DISTRIBUTETAG":"all-data^non-investment^11110000660504319Y^110108000000^non-construction^11110000MB1503996K^non-construction_expansion","DATAJSONTEXT":"{\"VERSION\":\"20210903\"}"},{"ID":26691423,"TASKGUID":"a0a2a6c4-b908-4077-8e73-710ea8e827eb","T_ID":"5da8a916-d228-460a-9c99-fc5109b847a0","G_ID":"c70f54ce-db41-4a38-8e79-46eaa3bc78d6","M_CODE":"320006","MATERIAL_ID":"e50298d0-35be-47cb-b761-d28355b496f6","CD_TIME":"Jan 5, 2026 5:50:33 PM","CD_BATCH":"2026010500039","DISTRIBUTETAG":"all-data^non-investment^11110000660504319Y^110108000000^non-construction^11110000MB1503996K^non-construction_expansion","DATAJSONTEXT":"{\"VERSION\":\"20210903\"}"}]},{"ID":8130419,"TASKGUID":"a0a2a6c4-b908-4077-8e73-710ea8e827eb","T_ID":"7af5b247-208f-4fb4-a3c7-f91faec99e7c","P_ID":"020575b0-8a7c-4188-9f33-fbe44bae2dca","NAME":"是否为个体工商户或农村承包经营户","NODE_LEVEL":3,"NODE_PATH":"/16f0c125-5f46-4074-8ccd-7d1df1c71f7b/020575b0-8a7c-4188-9f33-fbe44bae2dca/7af5b247-208f-4fb4-a3c7-f91faec99e7c","CHILD_COUNT":2,"ORDER_NUM":2,"SERIAL_NUMBER":"1.1.2","CONDITION_ATTR":"01","IS_RADIO":"1","IS_SUPPORT":"","SUMMARY":"","CD_TIME":"Jan 5, 2026 5:50:33 PM","CD_BATCH":"2026010500039","DISTRIBUTETAG":"all-data^non-investment^11110000660504319Y^110108000000^non-construction^11110000MB1503996K^non-construction_expansion","DATAJSONTEXT":"{\"VERSION\":\"20220810\",\"TREE_TYPE\":\"\",\"CONSULTATION_QA\":\"\"}","parOrder":"1","proOrder":"2","newOrderNum":"001.001.002","itemGuideConditionRelatedList":[]},{"ID":8130413,"TASKGUID":"a0a2a6c4-b908-4077-8e73-710ea8e827eb","T_ID":"5a72a7ee-7054-4015-9cd0-3a6ec0c7d074","P_ID":"7af5b247-208f-4fb4-a3c7-f91faec99e7c","NAME":"是","NODE_LEVEL":4,"NODE_PATH":"/16f0c125-5f46-4074-8ccd-7d1df1c71f7b/020575b0-8a7c-4188-9f33-fbe44bae2dca/7af5b247-208f-4fb4-a3c7-f91faec99e7c/5a72a7ee-7054-4015-9cd0-3a6ec0c7d074","CHILD_COUNT":0,"ORDER_NUM":1,"SERIAL_NUMBER":"1.1.2.1","CONDITION_ATTR":"02","IS_RADIO":"","IS_SUPPORT":"","SUMMARY":"","CD_TIME":"Jan 5, 2026 5:50:33 PM","CD_BATCH":"2026010500039","DISTRIBUTETAG":"all-data^non-investment^11110000660504319Y^110108000000^non-construction^11110000MB1503996K^non-construction_expansion","DATAJSONTEXT":"{\"VERSION\":\"20220810\",\"TREE_TYPE\":\"\",\"CONSULTATION_QA\":\"\"}","parOrder":"","proOrder":"","newOrderNum":"001.001.002.001","itemGuideConditionRelatedList":[{"ID":26691393,"TASKGUID":"a0a2a6c4-b908-4077-8e73-710ea8e827eb","T_ID":"5a72a7ee-7054-4015-9cd0-3a6ec0c7d074","G_ID":"5dd88e57-8c98-4fdc-aeb9-ad55689d6c11","M_CODE":"209630","MATERIAL_ID":"790ffdb1-a278-439a-b0d8-1518328dfbbc","CD_TIME":"Jan 5, 2026 5:50:33 PM","CD_BATCH":"2026010500039","DISTRIBUTETAG":"all-data^non-investment^11110000660504319Y^110108000000^non-construction^11110000MB1503996K^non-construction_expansion","DATAJSONTEXT":"{\"VERSION\":\"20210903\"}"}]},{"ID":8130423,"TASKGUID":"a0a2a6c4-b908-4077-8e73-710ea8e827eb","T_ID":"f5744b5c-e31e-4c70-8968-3f049685efda","P_ID":"7af5b247-208f-4fb4-a3c7-f91faec99e7c","NAME":"否","NODE_LEVEL":4,"NODE_PATH":"/16f0c125-5f46-4074-8ccd-7d1df1c71f7b/020575b0-8a7c-4188-9f33-fbe44bae2dca/7af5b247-208f-4fb4-a3c7-f91faec99e7c/f5744b5c-e31e-4c70-8968-3f049685efda","CHILD_COUNT":0,"ORDER_NUM":2,"SERIAL_NUMBER":"1.1.2.2","CONDITION_ATTR":"02","IS_RADIO":"","IS_SUPPORT":"","SUMMARY":"","CD_TIME":"Jan 5, 2026 5:50:33 PM","CD_BATCH":"2026010500039","DISTRIBUTETAG":"all-data^non-investment^11110000660504319Y^110108000000^non-construction^11110000MB1503996K^non-construction_expansion","DATAJSONTEXT":"{\"VERSION\":\"20220810\",\"TREE_TYPE\":\"\",\"CONSULTATION_QA\":\"\"}","parOrder":"","proOrder":"","newOrderNum":"001.001.002.002","itemGuideConditionRelatedList":[]},{"ID":8130411,"TASKGUID":"a0a2a6c4-b908-4077-8e73-710ea8e827eb","T_ID":"5045b1c3-8a76-4728-86d2-cfbf2c4bf2d3","P_ID":"16f0c125-5f46-4074-8ccd-7d1df1c71f7b","NAME":"香港、澳门特别行政区自然人","NODE_LEVEL":2,"NODE_PATH":"/16f0c125-5f46-4074-8ccd-7d1df1c71f7b/5045b1c3-8a76-4728-86d2-cfbf2c4bf2d3","CHILD_COUNT":0,"ORDER_NUM":2,"SERIAL_NUMBER":"1.2","CONDITION_ATTR":"02","IS_RADIO":"","IS_SUPPORT":"","SUMMARY":"","CD_TIME":"Jan 5, 2026 5:50:33 PM","CD_BATCH":"2026010500039","DISTRIBUTETAG":"all-data^non-investment^11110000660504319Y^110108000000^non-construction^11110000MB1503996K^non-construction_expansion","DATAJSONTEXT":"{\"VERSION\":\"20220810\",\"TREE_TYPE\":\"\",\"CONSULTATION_QA\":\"\"}","parOrder":"","proOrder":"","newOrderNum":"001.002","itemGuideConditionRelatedList":[{"ID":26690545,"TASKGUID":"a0a2a6c4-b908-4077-8e73-710ea8e827eb","T_ID":"5045b1c3-8a76-4728-86d2-cfbf2c4bf2d3","G_ID":"16e858cc-4373-4db5-81b9-194a1ab34432","M_CODE":"340580","MATERIAL_ID":"b5bd73c2-86d1-4122-b255-fe88866f363a","CD_TIME":"Jan 5, 2026 5:50:33 PM","CD_BATCH":"2026010500039","DISTRIBUTETAG":"all-data^non-investment^11110000660504319Y^110108000000^non-construction^11110000MB1503996K^non-construction_expansion","DATAJSONTEXT":"{\"VERSION\":\"20210903\"}"},{"ID":26690751,"TASKGUID":"a0a2a6c4-b908-4077-8e73-710ea8e827eb","T_ID":"5045b1c3-8a76-4728-86d2-cfbf2c4bf2d3","G_ID":"1ca2995e-f3cc-451f-a38b-537318d6573a","M_CODE":"347360","MATERIAL_ID":"de521d4f-c69c-4a4d-abca-d74a3c234c53","CD_TIME":"Jan 5, 2026 5:50:33 PM","CD_BATCH":"2026010500039","DISTRIBUTETAG":"all-data^non-investment^11110000660504319Y^110108000000^non-construction^11110000MB1503996K^non-construction_expansion","DATAJSONTEXT":"{\"VERSION\":\"20210903\"}"},{"ID":26690899,"TASKGUID":"a0a2a6c4-b908-4077-8e73-710ea8e827eb","T_ID":"5045b1c3-8a76-4728-86d2-cfbf2c4bf2d3","G_ID":"f645dbaf-ef2a-4f14-bf26-6226fa9c9dd8","M_CODE":"346621","MATERIAL_ID":"032df8ee-9a85-4c17-a678-01df25f9f9e8","CD_TIME":"Jan 5, 2026 5:50:33 PM","CD_BATCH":"2026010500039","DISTRIBUTETAG":"all-data^non-investment^11110000660504319Y^110108000000^non-construction^11110000MB1503996K^non-construction_expansion","DATAJSONTEXT":"{\"VERSION\":\"20210903\"}"},{"ID":26691066,"TASKGUID":"a0a2a6c4-b908-4077-8e73-710ea8e827eb","T_ID":"5045b1c3-8a76-4728-86d2-cfbf2c4bf2d3","G_ID":"5cbc3ff3-2170-492f-ac79-e0f078267189","M_CODE":"345889","MATERIAL_ID":"b4452a18-7452-42c3-8062-c2d8d1f4e330","CD_TIME":"Jan 5, 2026 5:50:33 PM","CD_BATCH":"2026010500039","DISTRIBUTETAG":"all-data^non-investment^11110000660504319Y^110108000000^non-construction^11110000MB1503996K^non-construction_expansion","DATAJSONTEXT":"{\"VERSION\":\"20210903\"}"},{"ID":26691332,"TASKGUID":"a0a2a6c4-b908-4077-8e73-710ea8e827eb","T_ID":"5045b1c3-8a76-4728-86d2-cfbf2c4bf2d3","G_ID":"c8943ec6-21f5-435f-b8d5-2e75ee5df3f5","M_CODE":"347022","MATERIAL_ID":"1c040b96-3e71-49c9-aed5-be16d26feb56","CD_TIME":"Jan 5, 2026 5:50:33 PM","CD_BATCH":"2026010500039","DISTRIBUTETAG":"all-data^non-investment^11110000660504319Y^110108000000^non-construction^11110000MB1503996K^non-construction_expansion","DATAJSONTEXT":"{\"VERSION\":\"20210903\"}"},{"ID":26691392,"TASKGUID":"a0a2a6c4-b908-4077-8e73-710ea8e827eb","T_ID":"5045b1c3-8a76-4728-86d2-cfbf2c4bf2d3","G_ID":"318f0ce4-4dc1-40f6-88f8-95c27d16c2f1","M_CODE":"206127","MATERIAL_ID":"e7ebf596-485c-42bd-a074-18a96c946602","CD_TIME":"Jan 5, 2026 5:50:33 PM","CD_BATCH":"2026010500039","DISTRIBUTETAG":"all-data^non-investment^11110000660504319Y^110108000000^non-construction^11110000MB1503996K^non-construction_expansion","DATAJSONTEXT":"{\"VERSION\":\"20210903\"}"}]},{"ID":8130412,"TASKGUID":"a0a2a6c4-b908-4077-8e73-710ea8e827eb","T_ID":"5a0b343c-2dd8-4286-85b8-b72ad0524e07","P_ID":"16f0c125-5f46-4074-8ccd-7d1df1c71f7b","NAME":"台湾地区自然人","NODE_LEVEL":2,"NODE_PATH":"/16f0c125-5f46-4074-8ccd-7d1df1c71f7b/5a0b343c-2dd8-4286-85b8-b72ad0524e07","CHILD_COUNT":0,"ORDER_NUM":3,"SERIAL_NUMBER":"1.3","CONDITION_ATTR":"02","IS_RADIO":"","IS_SUPPORT":"","SUMMARY":"","CD_TIME":"Jan 5, 2026 5:50:33 PM","CD_BATCH":"2026010500039","DISTRIBUTETAG":"all-data^non-investment^11110000660504319Y^110108000000^non-construction^11110000MB1503996K^non-construction_expansion","DATAJSONTEXT":"{\"VERSION\":\"20220810\",\"TREE_TYPE\":\"\",\"CONSULTATION_QA\":\"\"}","parOrder":"","proOrder":"","newOrderNum":"001.003","itemGuideConditionRelatedList":[{"ID":26690973,"TASKGUID":"a0a2a6c4-b908-4077-8e73-710ea8e827eb","T_ID":"5a0b343c-2dd8-4286-85b8-b72ad0524e07","G_ID":"c5d84dac-2763-4094-a24b-6a62c5b93fb3","M_CODE":"345560","MATERIAL_ID":"63cc2c2a-5e3a-4b46-b2eb-d550c0d879d9","CD_TIME":"Jan 5, 2026 5:50:33 PM","CD_BATCH":"2026010500039","DISTRIBUTETAG":"all-data^non-investment^11110000660504319Y^110108000000^non-construction^11110000MB1503996K^non-construction_expansion","DATAJSONTEXT":"{\"VERSION\":\"20210903\"}"},{"ID":26691618,"TASKGUID":"a0a2a6c4-b908-4077-8e73-710ea8e827eb","T_ID":"5a0b343c-2dd8-4286-85b8-b72ad0524e07","G_ID":"4596b543-5e36-43f2-8d06-29f3f1b58999","M_CODE":"340581","MATERIAL_ID":"53956eb9-a77e-49dc-bfa0-188a66edc451","CD_TIME":"Jan 5, 2026 5:50:33 PM","CD_BATCH":"2026010500039","DISTRIBUTETAG":"all-data^non-investment^11110000660504319Y^110108000000^non-construction^11110000MB1503996K^non-construction_expansion","DATAJSONTEXT":"{\"VERSION\":\"20210903\"}"}]},{"ID":8130422,"TASKGUID":"a0a2a6c4-b908-4077-8e73-710ea8e827eb","T_ID":"ee88c374-f7c9-47cc-87ba-896c1fe754ac","P_ID":"16f0c125-5f46-4074-8ccd-7d1df1c71f7b","NAME":"华侨","NODE_LEVEL":2,"NODE_PATH":"/16f0c125-5f46-4074-8ccd-7d1df1c71f7b/ee88c374-f7c9-47cc-87ba-896c1fe754ac","CHILD_COUNT":0,"ORDER_NUM":4,"SERIAL_NUMBER":"1.4","CONDITION_ATTR":"02","IS_RADIO":"","IS_SUPPORT":"","SUMMARY":"","CD_TIME":"Jan 5, 2026 5:50:33 PM","CD_BATCH":"2026010500039","DISTRIBUTETAG":"all-data^non-investment^11110000660504319Y^110108000000^non-construction^11110000MB1503996K^non-construction_expansion","DATAJSONTEXT":"{\"VERSION\":\"20220810\",\"TREE_TYPE\":\"\",\"CONSULTATION_QA\":\"\"}","parOrder":"","proOrder":"","newOrderNum":"001.004","itemGuideConditionRelatedList":[{"ID":26691106,"TASKGUID":"a0a2a6c4-b908-4077-8e73-710ea8e827eb","T_ID":"ee88c374-f7c9-47cc-87ba-896c1fe754ac","G_ID":"a805b12c-6f6d-4829-b49b-212b081c1ae9","M_CODE":"340576","MATERIAL_ID":"baef6924-5461-474c-9891-d5d1f0ea20e0","CD_TIME":"Jan 5, 2026 5:50:33 PM","CD_BATCH":"2026010500039","DISTRIBUTETAG":"all-data^non-investment^11110000660504319Y^110108000000^non-construction^11110000MB1503996K^non-construction_expansion","DATAJSONTEXT":"{\"VERSION\":\"20210903\"}"},{"ID":26691770,"TASKGUID":"a0a2a6c4-b908-4077-8e73-710ea8e827eb","T_ID":"ee88c374-f7c9-47cc-87ba-896c1fe754ac","G_ID":"07e571f4-b893-4e0c-88bf-ad9600ac5ad1","M_CODE":"209630","MATERIAL_ID":"6bbf24f8-4c79-4836-87b0-b9d81480b07d","CD_TIME":"Jan 5, 2026 5:50:33 PM","CD_BATCH":"2026010500039","DISTRIBUTETAG":"all-data^non-investment^11110000660504319Y^110108000000^non-construction^11110000MB1503996K^non-construction_expansion","DATAJSONTEXT":"{\"VERSION\":\"20210903\"}"}]},{"ID":8130416,"TASKGUID":"a0a2a6c4-b908-4077-8e73-710ea8e827eb","T_ID":"6b1f8450-9f85-4e6b-8208-38b81b589468","P_ID":"16f0c125-5f46-4074-8ccd-7d1df1c71f7b","NAME":"外籍自然人","NODE_LEVEL":2,"NODE_PATH":"/16f0c125-5f46-4074-8ccd-7d1df1c71f7b/6b1f8450-9f85-4e6b-8208-38b81b589468","CHILD_COUNT":0,"ORDER_NUM":5,"SERIAL_NUMBER":"1.5","CONDITION_ATTR":"02","IS_RADIO":"","IS_SUPPORT":"","SUMMARY":"","CD_TIME":"Jan 5, 2026 5:50:33 PM","CD_BATCH":"2026010500039","DISTRIBUTETAG":"all-data^non-investment^11110000660504319Y^110108000000^non-construction^11110000MB1503996K^non-construction_expansion","DATAJSONTEXT":"{\"VERSION\":\"20220810\",\"TREE_TYPE\":\"\",\"CONSULTATION_QA\":\"\"}","parOrder":"","proOrder":"","newOrderNum":"001.005","itemGuideConditionRelatedList":[{"ID":26691119,"TASKGUID":"a0a2a6c4-b908-4077-8e73-710ea8e827eb","T_ID":"6b1f8450-9f85-4e6b-8208-38b81b589468","G_ID":"09926b84-6e7f-459b-a247-af93ec4c7324","M_CODE":"345804","MATERIAL_ID":"7c0390ae-ede6-410f-804e-13d2a70d0400","CD_TIME":"Jan 5, 2026 5:50:33 PM","CD_BATCH":"2026010500039","DISTRIBUTETAG":"all-data^non-investment^11110000660504319Y^110108000000^non-construction^11110000MB1503996K^non-construction_expansion","DATAJSONTEXT":"{\"VERSION\":\"20210903\"}"},{"ID":26691196,"TASKGUID":"a0a2a6c4-b908-4077-8e73-710ea8e827eb","T_ID":"6b1f8450-9f85-4e6b-8208-38b81b589468","G_ID":"09a90c17-6483-4e89-83d2-cc871e2e0a1b","M_CODE":"344780","MATERIAL_ID":"e5d5cd33-900a-4284-bf9f-30b8417e236a","CD_TIME":"Jan 5, 2026 5:50:33 PM","CD_BATCH":"2026010500039","DISTRIBUTETAG":"all-data^non-investment^11110000660504319Y^110108000000^non-construction^11110000MB1503996K^non-construction_expansion","DATAJSONTEXT":"{\"VERSION\":\"20210903\"}"}]},{"ID":8130403,"TASKGUID":"a0a2a6c4-b908-4077-8e73-710ea8e827eb","T_ID":"01ccf90d-a5f3-415a-a87f-c0fdcb2acd73","P_ID":"16f0c125-5f46-4074-8ccd-7d1df1c71f7b","NAME":"境内营利法人","NODE_LEVEL":2,"NODE_PATH":"/16f0c125-5f46-4074-8ccd-7d1df1c71f7b/01ccf90d-a5f3-415a-a87f-c0fdcb2acd73","CHILD_COUNT":0,"ORDER_NUM":6,"SERIAL_NUMBER":"1.6","CONDITION_ATTR":"02","IS_RADIO":"","IS_SUPPORT":"","SUMMARY":"","CD_TIME":"Jan 5, 2026 5:50:33 PM","CD_BATCH":"2026010500039","DISTRIBUTETAG":"all-data^non-investment^11110000660504319Y^110108000000^non-construction^11110000MB1503996K^non-construction_expansion","DATAJSONTEXT":"{\"VERSION\":\"20220810\",\"TREE_TYPE\":\"\",\"CONSULTATION_QA\":\"\"}","parOrder":"","proOrder":"","newOrderNum":"001.006","itemGuideConditionRelatedList":[{"ID":26690928,"TASKGUID":"a0a2a6c4-b908-4077-8e73-710ea8e827eb","T_ID":"01ccf90d-a5f3-415a-a87f-c0fdcb2acd73","G_ID":"e27d7a9f-2c1b-4b58-95b8-c526f4968203","M_CODE":"341898","MATERIAL_ID":"f141964b-9217-4749-bb0f-9aae71ac7922","CD_TIME":"Jan 5, 2026 5:50:33 PM","CD_BATCH":"2026010500039","DISTRIBUTETAG":"all-data^non-investment^11110000660504319Y^110108000000^non-construction^11110000MB1503996K^non-construction_expansion","DATAJSONTEXT":"{\"VERSION\":\"20210903\"}"}]},{"ID":8130424,"TASKGUID":"a0a2a6c4-b908-4077-8e73-710ea8e827eb","T_ID":"fcd7791c-4c39-4aff-8d50-0554b37c6720","P_ID":"16f0c125-5f46-4074-8ccd-7d1df1c71f7b","NAME":"境内非营利法人","NODE_LEVEL":2,"NODE_PATH":"/16f0c125-5f46-4074-8ccd-7d1df1c71f7b/fcd7791c-4c39-4aff-8d50-0554b37c6720","CHILD_COUNT":0,"ORDER_NUM":7,"SERIAL_NUMBER":"1.7","CONDITION_ATTR":"02","IS_RADIO":"","IS_SUPPORT":"","SUMMARY":"","CD_TIME":"Jan 5, 2026 5:50:33 PM","CD_BATCH":"2026010500039","DISTRIBUTETAG":"all-data^non-investment^11110000660504319Y^110108000000^non-construction^11110000MB1503996K^non-construction_expansion","DATAJSONTEXT":"{\"VERSION\":\"20220810\",\"TREE_TYPE\":\"\",\"CONSULTATION_QA\":\"\"}","parOrder":"","proOrder":"","newOrderNum":"001.007","itemGuideConditionRelatedList":[{"ID":26690594,"TASKGUID":"a0a2a6c4-b908-4077-8e73-710ea8e827eb","T_ID":"fcd7791c-4c39-4aff-8d50-0554b37c6720","G_ID":"073f13e0-9a7b-4fab-b4fc-42191b32e483","M_CODE":"344352","MATERIAL_ID":"b51a1fa4-c260-483c-9625-a3608d7a1621","CD_TIME":"Jan 5, 2026 5:50:33 PM","CD_BATCH":"2026010500039","DISTRIBUTETAG":"all-data^non-investment^11110000660504319Y^110108000000^non-construction^11110000MB1503996K^non-construction_expansion","DATAJSONTEXT":"{\"VERSION\":\"20210903\"}"},{"ID":26690652,"TASKGUID":"a0a2a6c4-b908-4077-8e73-710ea8e827eb","T_ID":"fcd7791c-4c39-4aff-8d50-0554b37c6720","G_ID":"1e0c12e8-e21c-4f72-b99b-255a1de69618","M_CODE":"340675","MATERIAL_ID":"aaa8fa5c-3919-46b7-b0c3-7551ebe227c7","CD_TIME":"Jan 5, 2026 5:50:33 PM","CD_BATCH":"2026010500039","DISTRIBUTETAG":"all-data^non-investment^11110000660504319Y^110108000000^non-construction^11110000MB1503996K^non-construction_expansion","DATAJSONTEXT":"{\"VERSION\":\"20210903\"}"},{"ID":26691135,"TASKGUID":"a0a2a6c4-b908-4077-8e73-710ea8e827eb","T_ID":"fcd7791c-4c39-4aff-8d50-0554b37c6720","G_ID":"18a69200-a7da-44d8-925b-ef7ddca2f5b4","M_CODE":"340680","MATERIAL_ID":"0fcb25fa-256b-4226-afbf-fef9739fad14","CD_TIME":"Jan 5, 2026 5:50:33 PM","CD_BATCH":"2026010500039","DISTRIBUTETAG":"all-data^non-investment^11110000660504319Y^110108000000^non-construction^11110000MB1503996K^non-construction_expansion","DATAJSONTEXT":"{\"VERSION\":\"20210903\"}"},{"ID":26691492,"TASKGUID":"a0a2a6c4-b908-4077-8e73-710ea8e827eb","T_ID":"fcd7791c-4c39-4aff-8d50-0554b37c6720","G_ID":"1c11002e-cb53-48f8-bef8-260ef8f731c7","M_CODE":"203760","MATERIAL_ID":"84e62d92-0e0d-4c1a-95d2-10c8dc49a348","CD_TIME":"Jan 5, 2026 5:50:33 PM","CD_BATCH":"2026010500039","DISTRIBUTETAG":"all-data^non-investment^11110000660504319Y^110108000000^non-construction^11110000MB1503996K^non-construction_expansion","DATAJSONTEXT":"{\"VERSION\":\"20210903\"}"},{"ID":26691576,"TASKGUID":"a0a2a6c4-b908-4077-8e73-710ea8e827eb","T_ID":"fcd7791c-4c39-4aff-8d50-0554b37c6720","G_ID":"e9df0ac5-ccec-4a86-bc7c-261c703bdf45","M_CODE":"209630","MATERIAL_ID":"93ed342e-5066-4fd5-9bcd-e89f74e8ab3a","CD_TIME":"Jan 5, 2026 5:50:33 PM","CD_BATCH":"2026010500039","DISTRIBUTETAG":"all-data^non-investment^11110000660504319Y^110108000000^non-construction^11110000MB1503996K^non-construction_expansion","DATAJSONTEXT":"{\"VERSION\":\"20210903\"}"},{"ID":26691613,"TASKGUID":"a0a2a6c4-b908-4077-8e73-710ea8e827eb","T_ID":"fcd7791c-4c39-4aff-8d50-0554b37c6720","G_ID":"bf100736-0cb9-4c13-b997-e53817e46456","M_CODE":"345025","MATERIAL_ID":"abeea682-ce87-470d-a66c-ba9af3379590","CD_TIME":"Jan 5, 2026 5:50:33 PM","CD_BATCH":"2026010500039","DISTRIBUTETAG":"all-data^non-investment^11110000660504319Y^110108000000^non-construction^11110000MB1503996K^non-construction_expansion","DATAJSONTEXT":"{\"VERSION\":\"20210903\"}"}]},{"ID":8130414,"TASKGUID":"a0a2a6c4-b908-4077-8e73-710ea8e827eb","T_ID":"5c0bac99-1b78-4f6c-b3b0-ab2edb3d5a5f","P_ID":"16f0c125-5f46-4074-8ccd-7d1df1c71f7b","NAME":"境内特别法人","NODE_LEVEL":2,"NODE_PATH":"/16f0c125-5f46-4074-8ccd-7d1df1c71f7b/5c0bac99-1b78-4f6c-b3b0-ab2edb3d5a5f","CHILD_COUNT":0,"ORDER_NUM":8,"SERIAL_NUMBER":"1.8","CONDITION_ATTR":"02","IS_RADIO":"","IS_SUPPORT":"","SUMMARY":"","CD_TIME":"Jan 5, 2026 5:50:33 PM","CD_BATCH":"2026010500039","DISTRIBUTETAG":"all-data^non-investment^11110000660504319Y^110108000000^non-construction^11110000MB1503996K^non-construction_expansion","DATAJSONTEXT":"{\"VERSION\":\"20220810\",\"TREE_TYPE\":\"\",\"CONSULTATION_QA\":\"\"}","parOrder":"","proOrder":"","newOrderNum":"001.008","itemGuideConditionRelatedList":[{"ID":26690613,"TASKGUID":"a0a2a6c4-b908-4077-8e73-710ea8e827eb","T_ID":"5c0bac99-1b78-4f6c-b3b0-ab2edb3d5a5f","G_ID":"bbc13316-ec5a-437b-a034-72c7462a02e2","M_CODE":"320084","MATERIAL_ID":"aea75e21-ab39-45dd-b95a-8de030a98eee","CD_TIME":"Jan 5, 2026 5:50:33 PM","CD_BATCH":"2026010500039","DISTRIBUTETAG":"all-data^non-investment^11110000660504319Y^110108000000^non-construction^11110000MB1503996K^non-construction_expansion","DATAJSONTEXT":"{\"VERSION\":\"20210903\"}"},{"ID":26690946,"TASKGUID":"a0a2a6c4-b908-4077-8e73-710ea8e827eb","T_ID":"5c0bac99-1b78-4f6c-b3b0-ab2edb3d5a5f","G_ID":"ab4c7148-c8e2-4e48-bc17-247af7d8d72e","M_CODE":"345097","MATERIAL_ID":"5e3dd0c7-3b0a-4be7-a578-09beea555ed4","CD_TIME":"Jan 5, 2026 5:50:33 PM","CD_BATCH":"2026010500039","DISTRIBUTETAG":"all-data^non-investment^11110000660504319Y^110108000000^non-construction^11110000MB1503996K^non-construction_expansion","DATAJSONTEXT":"{\"VERSION\":\"20210903\"}"},{"ID":26690962,"TASKGUID":"a0a2a6c4-b908-4077-8e73-710ea8e827eb","T_ID":"5c0bac99-1b78-4f6c-b3b0-ab2edb3d5a5f","G_ID":"2c3ea09d-f4ca-4800-8174-d306ee08d762","M_CODE":"203376","MATERIAL_ID":"a7f67394-d6d2-4f42-b1cb-1bcc544063ac","CD_TIME":"Jan 5, 2026 5:50:33 PM","CD_BATCH":"2026010500039","DISTRIBUTETAG":"all-data^non-investment^11110000660504319Y^110108000000^non-construction^11110000MB1503996K^non-construction_expansion","DATAJSONTEXT":"{\"VERSION\":\"20210903\"}"},{"ID":26691577,"TASKGUID":"a0a2a6c4-b908-4077-8e73-710ea8e827eb","T_ID":"5c0bac99-1b78-4f6c-b3b0-ab2edb3d5a5f","G_ID":"dbfd89b7-1538-4ab9-910d-1c958fb272e6","M_CODE":"346737","MATERIAL_ID":"63196c89-fd59-4676-9e49-6a7109e91791","CD_TIME":"Jan 5, 2026 5:50:33 PM","CD_BATCH":"2026010500039","DISTRIBUTETAG":"all-data^non-investment^11110000660504319Y^110108000000^non-construction^11110000MB1503996K^non-construction_expansion","DATAJSONTEXT":"{\"VERSION\":\"20210903\"}"},{"ID":26691721,"TASKGUID":"a0a2a6c4-b908-4077-8e73-710ea8e827eb","T_ID":"5c0bac99-1b78-4f6c-b3b0-ab2edb3d5a5f","G_ID":"e7ea7c0b-21b5-4257-a47e-9e1b813c1c80","M_CODE":"346738","MATERIAL_ID":"f5dd1659-4bd2-44b8-829f-dcf8a6f7c55e","CD_TIME":"Jan 5, 2026 5:50:33 PM","CD_BATCH":"2026010500039","DISTRIBUTETAG":"all-data^non-investment^11110000660504319Y^110108000000^non-construction^11110000MB1503996K^non-construction_expansion","DATAJSONTEXT":"{\"VERSION\":\"20210903\"}"}]},{"ID":8130406,"TASKGUID":"a0a2a6c4-b908-4077-8e73-710ea8e827eb","T_ID":"0b1fe806-1c11-4714-8a36-574188dbf92f","P_ID":"16f0c125-5f46-4074-8ccd-7d1df1c71f7b","NAME":"境内非法人组织","NODE_LEVEL":2,"NODE_PATH":"/16f0c125-5f46-4074-8ccd-7d1df1c71f7b/0b1fe806-1c11-4714-8a36-574188dbf92f","CHILD_COUNT":0,"ORDER_NUM":9,"SERIAL_NUMBER":"1.9","CONDITION_ATTR":"02","IS_RADIO":"","IS_SUPPORT":"","SUMMARY":"","CD_TIME":"Jan 5, 2026 5:50:33 PM","CD_BATCH":"2026010500039","DISTRIBUTETAG":"all-data^non-investment^11110000660504319Y^110108000000^non-construction^11110000MB1503996K^non-construction_expansion","DATAJSONTEXT":"{\"VERSION\":\"20220810\",\"TREE_TYPE\":\"\",\"CONSULTATION_QA\":\"\"}","parOrder":"","proOrder":"","newOrderNum":"001.009","itemGuideConditionRelatedList":[{"ID":26691602,"TASKGUID":"a0a2a6c4-b908-4077-8e73-710ea8e827eb","T_ID":"0b1fe806-1c11-4714-8a36-574188dbf92f","G_ID":"f57cb9ce-81ee-46e1-9f07-453d32351e7a","M_CODE":"341898","MATERIAL_ID":"c220a835-a19d-4ea2-ad72-e108b61a3163","CD_TIME":"Jan 5, 2026 5:50:33 PM","CD_BATCH":"2026010500039","DISTRIBUTETAG":"all-data^non-investment^11110000660504319Y^110108000000^non-construction^11110000MB1503996K^non-construction_expansion","DATAJSONTEXT":"{\"VERSION\":\"20210903\"}"},{"ID":26691691,"TASKGUID":"a0a2a6c4-b908-4077-8e73-710ea8e827eb","T_ID":"0b1fe806-1c11-4714-8a36-574188dbf92f","G_ID":"dd97caca-fac1-4131-a2a9-d915b0204d51","M_CODE":"209630","MATERIAL_ID":"cf2c5566-01b7-431e-9407-ea9cb0295e6c","CD_TIME":"Jan 5, 2026 5:50:33 PM","CD_BATCH":"2026010500039","DISTRIBUTETAG":"all-data^non-investment^11110000660504319Y^110108000000^non-construction^11110000MB1503996K^non-construction_expansion","DATAJSONTEXT":"{\"VERSION\":\"20210903\"}"}]},{"ID":8130408,"TASKGUID":"a0a2a6c4-b908-4077-8e73-710ea8e827eb","T_ID":"148102af-bc1c-456a-85e3-ea99ae7c5c09","P_ID":"16f0c125-5f46-4074-8ccd-7d1df1c71f7b","NAME":"香港特别行政区、澳门特别行政区、台湾地区的法人或非法人组织","NODE_LEVEL":2,"NODE_PATH":"/16f0c125-5f46-4074-8ccd-7d1df1c71f7b/148102af-bc1c-456a-85e3-ea99ae7c5c09","CHILD_COUNT":0,"ORDER_NUM":10,"SERIAL_NUMBER":"1.10","CONDITION_ATTR":"02","IS_RADIO":"","IS_SUPPORT":"","SUMMARY":"","CD_TIME":"Jan 5, 2026 5:50:33 PM","CD_BATCH":"2026010500039","DISTRIBUTETAG":"all-data^non-investment^11110000660504319Y^110108000000^non-construction^11110000MB1503996K^non-construction_expansion","DATAJSONTEXT":"{\"VERSION\":\"20220810\",\"TREE_TYPE\":\"\",\"CONSULTATION_QA\":\"\"}","parOrder":"","proOrder":"","newOrderNum":"001.010","itemGuideConditionRelatedList":[{"ID":26690752,"TASKGUID":"a0a2a6c4-b908-4077-8e73-710ea8e827eb","T_ID":"148102af-bc1c-456a-85e3-ea99ae7c5c09","G_ID":"3536632f-a4c5-4eda-9faf-ec6192dff7bd","M_CODE":"203426","MATERIAL_ID":"ccc4ac46-a56e-4431-991f-4267860badc2","CD_TIME":"Jan 5, 2026 5:50:33 PM","CD_BATCH":"2026010500039","DISTRIBUTETAG":"all-data^non-investment^11110000660504319Y^110108000000^non-construction^11110000MB1503996K^non-construction_expansion","DATAJSONTEXT":"{\"VERSION\":\"20210903\"}"},{"ID":26690827,"TASKGUID":"a0a2a6c4-b908-4077-8e73-710ea8e827eb","T_ID":"148102af-bc1c-456a-85e3-ea99ae7c5c09","G_ID":"55ab615f-7e30-42c7-865c-840bf9a391ab","M_CODE":"203425","MATERIAL_ID":"6f95917d-b010-40d7-a68c-77e6b38fd33a","CD_TIME":"Jan 5, 2026 5:50:33 PM","CD_BATCH":"2026010500039","DISTRIBUTETAG":"all-data^non-investment^11110000660504319Y^110108000000^non-construction^11110000MB1503996K^non-construction_expansion","DATAJSONTEXT":"{\"VERSION\":\"20210903\"}"},{"ID":26691193,"TASKGUID":"a0a2a6c4-b908-4077-8e73-710ea8e827eb","T_ID":"148102af-bc1c-456a-85e3-ea99ae7c5c09","G_ID":"c977a3ac-55cd-4f62-85a0-077beaa39eeb","M_CODE":"203379","MATERIAL_ID":"3c51c230-b131-4501-a94c-984e72bb9f1e","CD_TIME":"Jan 5, 2026 5:50:33 PM","CD_BATCH":"2026010500039","DISTRIBUTETAG":"all-data^non-investment^11110000660504319Y^110108000000^non-construction^11110000MB1503996K^non-construction_expansion","DATAJSONTEXT":"{\"VERSION\":\"20210903\"}"}]},{"ID":8130417,"TASKGUID":"a0a2a6c4-b908-4077-8e73-710ea8e827eb","T_ID":"7653c108-f87a-471f-a55d-c29ecf91118b","P_ID":"16f0c125-5f46-4074-8ccd-7d1df1c71f7b","NAME":"境外法人或非法人组织","NODE_LEVEL":2,"NODE_PATH":"/16f0c125-5f46-4074-8ccd-7d1df1c71f7b/7653c108-f87a-471f-a55d-c29ecf91118b","CHILD_COUNT":0,"ORDER_NUM":11,"SERIAL_NUMBER":"1.11","CONDITION_ATTR":"02","IS_RADIO":"","IS_SUPPORT":"","SUMMARY":"","CD_TIME":"Jan 5, 2026 5:50:33 PM","CD_BATCH":"2026010500039","DISTRIBUTETAG":"all-data^non-investment^11110000660504319Y^110108000000^non-construction^11110000MB1503996K^non-construction_expansion","DATAJSONTEXT":"{\"VERSION\":\"20220810\",\"TREE_TYPE\":\"\",\"CONSULTATION_QA\":\"\"}","parOrder":"","proOrder":"","newOrderNum":"001.011","itemGuideConditionRelatedList":[{"ID":26691121,"TASKGUID":"a0a2a6c4-b908-4077-8e73-710ea8e827eb","T_ID":"7653c108-f87a-471f-a55d-c29ecf91118b","G_ID":"69fed20a-601a-4d62-85be-43b7f0e2205f","M_CODE":"203426","MATERIAL_ID":"a4b1c072-0726-4165-a5dd-8caec589212f","CD_TIME":"Jan 5, 2026 5:50:33 PM","CD_BATCH":"2026010500039","DISTRIBUTETAG":"all-data^non-investment^11110000660504319Y^110108000000^non-construction^11110000MB1503996K^non-construction_expansion","DATAJSONTEXT":"{\"VERSION\":\"20210903\"}"},{"ID":26691174,"TASKGUID":"a0a2a6c4-b908-4077-8e73-710ea8e827eb","T_ID":"7653c108-f87a-471f-a55d-c29ecf91118b","G_ID":"c966616b-adf4-478e-a48d-6644db18afbf","M_CODE":"203425","MATERIAL_ID":"9489004b-5495-412d-a378-f726d4f37ad2","CD_TIME":"Jan 5, 2026 5:50:33 PM","CD_BATCH":"2026010500039","DISTRIBUTETAG":"all-data^non-investment^11110000660504319Y^110108000000^non-construction^11110000MB1503996K^non-construction_expansion","DATAJSONTEXT":"{\"VERSION\":\"20210903\"}"},{"ID":26691497,"TASKGUID":"a0a2a6c4-b908-4077-8e73-710ea8e827eb","T_ID":"7653c108-f87a-471f-a55d-c29ecf91118b","G_ID":"15f116df-1395-4dcb-ab6e-8d9ae6677053","M_CODE":"203378","MATERIAL_ID":"536daab4-aae4-443a-98ca-7365116ed710","CD_TIME":"Jan 5, 2026 5:50:33 PM","CD_BATCH":"2026010500039","DISTRIBUTETAG":"all-data^non-investment^11110000660504319Y^110108000000^non-construction^11110000MB1503996K^non-construction_expansion","DATAJSONTEXT":"{\"VERSION\":\"20210903\"}"}]},{"ID":8130418,"TASKGUID":"a0a2a6c4-b908-4077-8e73-710ea8e827eb","T_ID":"778102d0-b9c8-449d-81ae-428044cb8dd6","P_ID":"16f0c125-5f46-4074-8ccd-7d1df1c71f7b","NAME":"外国驻华使(领)馆和外国驻华办事机构、国际组织驻华代表机构","NODE_LEVEL":2,"NODE_PATH":"/16f0c125-5f46-4074-8ccd-7d1df1c71f7b/778102d0-b9c8-449d-81ae-428044cb8dd6","CHILD_COUNT":0,"ORDER_NUM":12,"SERIAL_NUMBER":"1.12","CONDITION_ATTR":"02","IS_RADIO":"","IS_SUPPORT":"","SUMMARY":"","CD_TIME":"Jan 5, 2026 5:50:33 PM","CD_BATCH":"2026010500039","DISTRIBUTETAG":"all-data^non-investment^11110000660504319Y^110108000000^non-construction^11110000MB1503996K^non-construction_expansion","DATAJSONTEXT":"{\"VERSION\":\"20220810\",\"TREE_TYPE\":\"\",\"CONSULTATION_QA\":\"\"}","parOrder":"","proOrder":"","newOrderNum":"001.012","itemGuideConditionRelatedList":[{"ID":26691010,"TASKGUID":"a0a2a6c4-b908-4077-8e73-710ea8e827eb","T_ID":"778102d0-b9c8-449d-81ae-428044cb8dd6","G_ID":"77f02d58-e4d4-41ca-b57e-6732df17e4b8","M_CODE":"209630","MATERIAL_ID":"d2d093ff-0820-4b35-ab0c-525e7af735e8","CD_TIME":"Jan 5, 2026 5:50:33 PM","CD_BATCH":"2026010500039","DISTRIBUTETAG":"all-data^non-investment^11110000660504319Y^110108000000^non-construction^11110000MB1503996K^non-construction_expansion","DATAJSONTEXT":"{\"VERSION\":\"20210903\"}"}]},{"ID":8130421,"TASKGUID":"a0a2a6c4-b908-4077-8e73-710ea8e827eb","T_ID":"c7cd0255-10ba-46ba-9188-8be18b94cd7e","P_ID":"","NAME":"抵押权转移的类型","NODE_LEVEL":1,"NODE_PATH":"/c7cd0255-10ba-46ba-9188-8be18b94cd7e","CHILD_COUNT":2,"ORDER_NUM":2,"SERIAL_NUMBER":"2","CONDITION_ATTR":"01","IS_RADIO":"1","IS_SUPPORT":"","SUMMARY":"2 抵押权转移的类型\n\t2.1 申请一般抵押权转移登记\n\t2.2 申请最高额抵押权转移登记","CD_TIME":"Jan 5, 2026 5:50:33 PM","CD_BATCH":"2026010500039","DISTRIBUTETAG":"all-data^non-investment^11110000660504319Y^110108000000^non-construction^11110000MB1503996K^non-construction_expansion","DATAJSONTEXT":"{\"VERSION\":\"20220810\",\"TREE_TYPE\":\"\",\"CONSULTATION_QA\":\"\"}","parOrder":"","proOrder":"2","newOrderNum":"002","itemGuideConditionRelatedList":[]},{"ID":8130420,"TASKGUID":"a0a2a6c4-b908-4077-8e73-710ea8e827eb","T_ID":"964962ec-d5d2-473d-ad44-6e6ca246927a","P_ID":"c7cd0255-10ba-46ba-9188-8be18b94cd7e","NAME":"申请一般抵押权转移登记","NODE_LEVEL":2,"NODE_PATH":"/c7cd0255-10ba-46ba-9188-8be18b94cd7e/964962ec-d5d2-473d-ad44-6e6ca246927a","CHILD_COUNT":0,"ORDER_NUM":1,"SERIAL_NUMBER":"2.1","CONDITION_ATTR":"02","IS_RADIO":"","IS_SUPPORT":"","SUMMARY":"","CD_TIME":"Jan 5, 2026 5:50:33 PM","CD_BATCH":"2026010500039","DISTRIBUTETAG":"all-data^non-investment^11110000660504319Y^110108000000^non-construction^11110000MB1503996K^non-construction_expansion","DATAJSONTEXT":"{\"VERSION\":\"20220810\",\"TREE_TYPE\":\"\",\"CONSULTATION_QA\":\"\"}","parOrder":"","proOrder":"","newOrderNum":"002.001","itemGuideConditionRelatedList":[{"ID":26690610,"TASKGUID":"a0a2a6c4-b908-4077-8e73-710ea8e827eb","T_ID":"964962ec-d5d2-473d-ad44-6e6ca246927a","G_ID":"4735d1af-0382-4f05-9d92-7bc923cb167e","M_CODE":"203801","MATERIAL_ID":"4e74bee3-6ada-4ad0-a40d-280c9422b508","CD_TIME":"Jan 5, 2026 5:50:33 PM","CD_BATCH":"2026010500039","DISTRIBUTETAG":"all-data^non-investment^11110000660504319Y^110108000000^non-construction^11110000MB1503996K^non-construction_expansion","DATAJSONTEXT":"{\"VERSION\":\"20210903\"}"}]},{"ID":8130407,"TASKGUID":"a0a2a6c4-b908-4077-8e73-710ea8e827eb","T_ID":"13730e29-834a-4fd4-ab0b-8473a0ef0895","P_ID":"c7cd0255-10ba-46ba-9188-8be18b94cd7e","NAME":"申请最高额抵押权转移登记","NODE_LEVEL":2,"NODE_PATH":"/c7cd0255-10ba-46ba-9188-8be18b94cd7e/13730e29-834a-4fd4-ab0b-8473a0ef0895","CHILD_COUNT":0,"ORDER_NUM":2,"SERIAL_NUMBER":"2.2","CONDITION_ATTR":"02","IS_RADIO":"","IS_SUPPORT":"","SUMMARY":"","CD_TIME":"Jan 5, 2026 5:50:33 PM","CD_BATCH":"2026010500039","DISTRIBUTETAG":"all-data^non-investment^11110000660504319Y^110108000000^non-construction^11110000MB1503996K^non-construction_expansion","DATAJSONTEXT":"{\"VERSION\":\"20220810\",\"TREE_TYPE\":\"\",\"CONSULTATION_QA\":\"\"}","parOrder":"","proOrder":"","newOrderNum":"002.002","itemGuideConditionRelatedList":[{"ID":26691288,"TASKGUID":"a0a2a6c4-b908-4077-8e73-710ea8e827eb","T_ID":"13730e29-834a-4fd4-ab0b-8473a0ef0895","G_ID":"be5b1db1-0f44-4619-a2ed-ccbea21f4c82","M_CODE":"203782","MATERIAL_ID":"7944327d-24f1-4a7d-b261-6301d3bdda80","CD_TIME":"Jan 5, 2026 5:50:33 PM","CD_BATCH":"2026010500039","DISTRIBUTETAG":"all-data^non-investment^11110000660504319Y^110108000000^non-construction^11110000MB1503996K^non-construction_expansion","DATAJSONTEXT":"{\"VERSION\":\"20210903\"}"},{"ID":26691546,"TASKGUID":"a0a2a6c4-b908-4077-8e73-710ea8e827eb","T_ID":"13730e29-834a-4fd4-ab0b-8473a0ef0895","G_ID":"95df567e-2a02-4030-a647-a1025762d1b7","M_CODE":"203732","MATERIAL_ID":"a76346c4-938b-41f0-86a4-66ac8c4c41c9","CD_TIME":"Jan 5, 2026 5:50:33 PM","CD_BATCH":"2026010500039","DISTRIBUTETAG":"all-data^non-investment^11110000660504319Y^110108000000^non-construction^11110000MB1503996K^non-construction_expansion","DATAJSONTEXT":"{\"VERSION\":\"20210903\"}"}]}]
2
1^2^3^4^5^6^9
https://bjt.beijing.gov.cn/renzheng/open/login/goUserLogin?client_id=100100000228&redirect_uri=http://bdc.ghzrzyw.beijing.gov.cn/eo/user/bjtLogin&state=PC_140000001&response_type=code&scope=user_info;https://yzt.beijing.gov.cn/am/oauth2/authorize?service=bjzwService&response_type=code&client_id=000026681_04&scope=cn+uid+idCardNumber+reserve3+extProperties+credenceClass&redirect_uri=http%3A%2F%2Fbdc.ghzrzyw.beijing.gov.cn%2Feo%2Fuser%2FyztLogin%3Fstate%3D140000001

政务服务> 办事指南

抵押权转移登记

北京市

切换简洁版

  • 承诺件

    办件类型

  • 0

    到现场次数

  • 30工作日

    法定办结时限

  • 5工作日

    承诺办结时限

好差评

5.0

办件承诺办结时限说明:(承诺时限为办理流程中“审查与决定”环节的计时时限)

办件承诺办结时限说明:

(承诺时限为办理流程中“审查与决定”环节的计时时限)

基本信息

实施主体 北京市规划和自然资源委员会海淀分局 服务对象
事项类型 行政确认 办理形式
受理条件 1.因主债权转让导致抵押权转让的,当事人可以持不动产权属证书、不动产登记证明、被担保主债权的转让协议、债权人已经通知债务人的材料等相关材料,申请抵押权的转移登记。 2.申请登记事项在本登记部门的登记职责范围内; 3.申请材料形式符合要求; 4.申请人与依法应当提交的申请材料记载的主体一致; 5.申请登记的不动产权利与登记原因文件记载的不动产权利一致; 6.申请内容与询问记录不冲突。
办理时间 海淀区政务服务中心(航天桥办公区):法定工作日: 上午: 08:30 - 12:00; 下午: 12:00 - 17:30; (延时服务时间: 周六上午08:30 - 12:30; ); 查看详情
办理地点 海淀区政务服务中心(航天桥办公区):北京市海淀区阜成路67号银都大厦3层综合窗口; 查看详情
咨询方式

咨询电话:

(010)60609304【展开】

咨询窗口地址:

北京市海淀区阜成路67号银都大厦(海淀政务服务中心航天桥分中心)三层咨询台【展开】

咨询信件地址:

北京市海淀区阜成路67号银都大厦(海淀政务服务中心航天桥分中心)三层咨询台【展开】

投诉监督方式
基本编码 000715001014 事项编码 11110000660504319Y3000715001014
业务办理项编码 11110000660504319Y300071500101405 进驻大厅类型
权力来源 上级委托 网上支付
所属机构 北京市规划和自然资源委员会海淀分局 委托部门 北京市规划和自然资源委员会
联办机构 实施主体性质 受委托组织
办理进程查询途径
行使层级 区级 运行系统 市级自建(垂管)
物流快递 办理方式 自办件
预约办理 数量限制 无数量限制
中介服务 权限划分
通办范围 全区 特殊程序
行使内容 对涉及在京中央和国家机关、驻京部队、保密单位的业务为市级办理 ,其余的登记业务在不动产所在地的各区不动产登记中心办理
显示更多

请选择情形:

提示:通过情形选择可引导出您办理该事项所需的材料,若要查看全部材料,请点击"查看全部材料"

查看全部材料 情形引导

收起
我选好了重选条件

序号 材料名称 材料来源 材料
必要性
数量要求 介质要求 表格及样例
下载
受理标准 提供材料
依据
其他要求
申请材料总要求委托办理的:提交授权委托书(原件1份)、受托人身份材料(原件1份,复印件1份);无、限制民事行为能力人申请登记的:提交证实被监护人为无、限制民事行为能力人的材料(原件1份,复印件1份)、监护关系材料(原件1份,复印件1份)、监护人的身份材料(原件1份,复印件1份)
序号 材料名称 材料来源 材料
必要性
数量要求 介质要求 表格及样例
下载
受理标准 提供材料
依据
其他要求
申请材料总要求委托办理的:提交授权委托书(原件1份)、受托人身份材料(原件1份,复印件1份);无、限制民事行为能力人申请登记的:提交证实被监护人为无、限制民事行为能力人的材料(原件1份,复印件1份)、监护关系材料(原件1份,复印件1份)、监护人的身份材料(原件1份,复印件1份)
显示更多

指南分享