政务服务> 办事指南
北京市
切换简洁版
基本信息
| 实施主体 | 双泉嘉苑社区 | 服务对象 | |
| 事项类型 | 公共服务 | 办理形式 | |
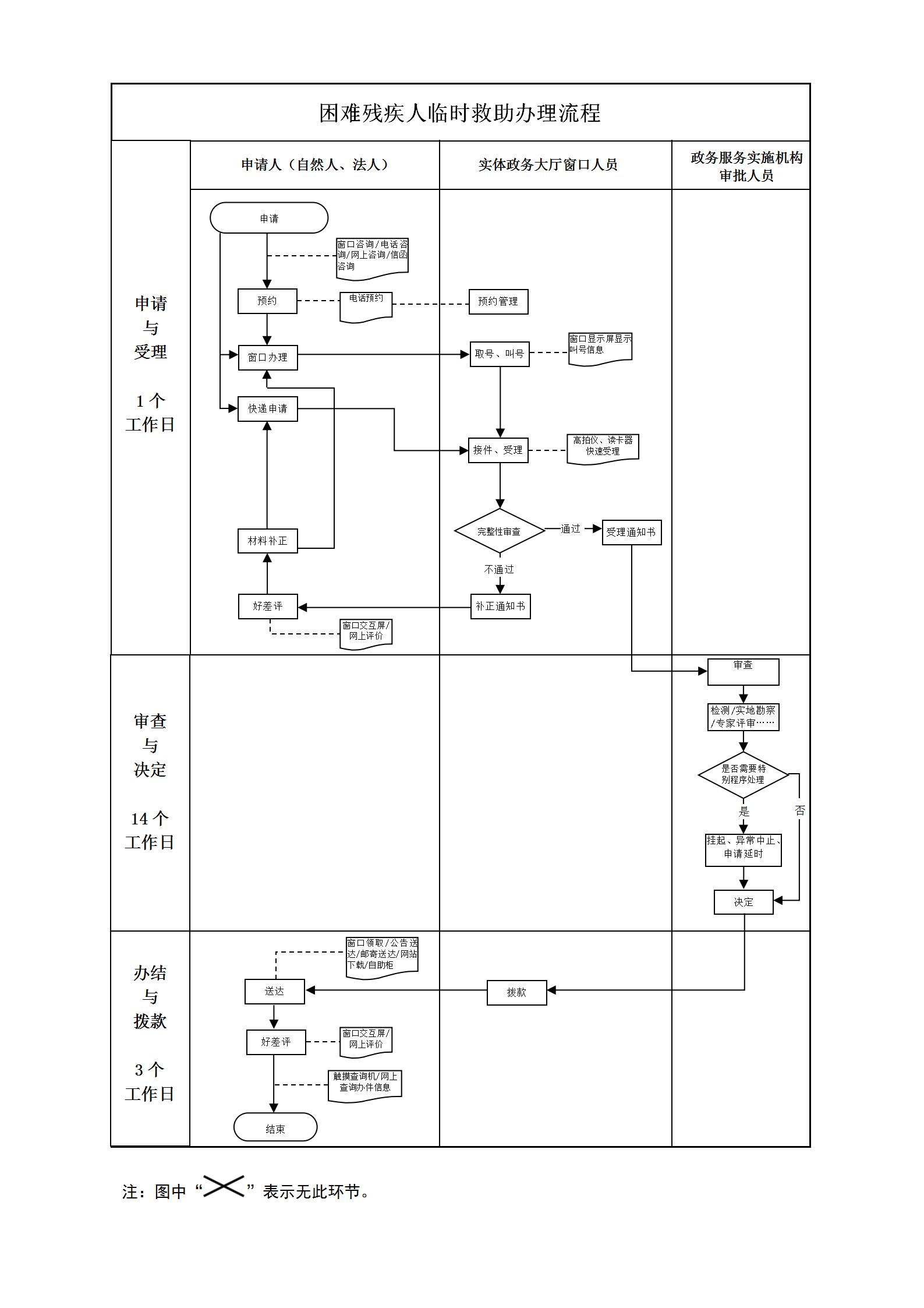
| 受理条件 | 根据《海淀区困难残疾人临时救助实施办法》(海残字〔2019〕38号) 1、适用程序正确、符合以下五种临时救助条件(享受本区民政部门低保待遇、城市重残人生活补助或低收入救助的残疾人;未享受低保待遇、城市重残人生活补助或城乡低收入救助的失业且无稳定收入的男年满16周岁不满60周岁,女年满16 周岁不满55周岁的残疾人;未享受低保低保待遇、城市重残人生活补助或城乡低收入救助的一户多残或老残一体家庭中无稳定性收入的残疾人;因自然灾害、突发性、不可抗拒性因素或其他特殊情况造成家庭生活特别困难的残疾人;本区农业户籍享受低收入救助的残疾人家庭,无能力实现危房改造的)之一的、审核意见正确的,予以批准(来源:《海淀区困难残疾人临时救助实施办法》第三条);提交材料齐全、真实有效、填写完整清晰 2、适用程序不正确,不符合临时救助条件的,或者初审意见错误、不明确的,做出不予批准的决定。 | ||
| 办理时间 | 海淀区学院路街道政务服务中心:法定工作日: 上午: 09:00 - 12:00; 下午: 13:30 - 17:00; (延时服务时间: 工作日上午08:30 - 09:00; 中午12:00 - 13:30; 下午17:00 - 17:30; 周六上午08:30 - 12:30; ) 查看详情 | ||
| 办理地点 | 北京市海淀区学院路街道双泉嘉苑小区北门11号楼2层双泉嘉苑居委会服务站窗口 查看详情 | ||
| 咨询方式 |
咨询电话: (010)62322115【展开】 咨询窗口地址: 海淀区学院路街道政务服务中心:北京市海淀区志新西路志新村小区西门(志新村24号楼)学院路街道政务服务中心5号窗口【展开】 |
||
| 投诉监督方式 | |||
| 基本编码 | 112073034001 | 事项编码 | 11110108000058392G511207303400111110108000058392G32 |
| 业务办理项编码 | 11110108000058392G511207303400111110108000058392G3201 | 进驻大厅类型 | |
| 权力来源 | 法定本级行使 | 网上支付 | 否 |
| 所属机构 | 双泉嘉苑社区 | 委托部门 | 无 |
| 联办机构 | 无 | 实施主体性质 | 法定机关 |
| 办理进程查询途径 | |||
| 行使层级 | 村(社区)级 | 运行系统 | 无 |
| 物流快递 | 否 | 办理方式 | 自办件 |
| 预约办理 | 数量限制 | 每年1次 | |
| 中介服务 | 无 | 权限划分 | 街乡初审、区级终审 |
| 通办范围 | 全区 | 特殊程序 | 无 |
| 行使内容 | 社区收件,街道初审,区残联终审 | ||
| 必须现场办理原因说明 | 申请人需要携带相关材料原件,由户籍地所在社区居委会通过三级联动上传 | ||

指南分享