2
20
91110000101100238R
北京市热力集团有限责任公司
供热报装业务
91110000101100238R2112082001000
0
24debad7-9565-11e9-8300-507b9d3e4710
24550cf5-5ace-4b9a-b868-219579270776
2^3
20
市热力集团
110000000000
北京市热力集团有限责任公司
法定工作日: 上午08:30 - 12:00、下午12:00 - 17:30; 周六:上午:08:30 - 12:30(需预约);法定节假日不对外服务。;法定工作日: 上午: 09:00 - 12:00; 下午: 12:00 - 17:00; (延时服务时间: 工作日上午08:30 - 09:00; 下午17:00 - 17:30; 周六上午09:00 - 13:00; )...
北京市政务服务中心:北京市丰台区西三环南路1号(六里桥西南角)二层工程建设项目审批专区 北京城市副中心政务服务中心:北京市通州区新华东街48号二区(东南角)二层F09、F10、F11、F12窗口
1、北京热力及所属企业供热范围内;2、申报材料齐全;3、申报材料须加盖公章。
{"IS_GUIDE":"0","ONLINE_DECLARE_SYSTEM_MODE":"02","SERVICE_OBJCT":"","IS_CONSTRUCTION":"1","CL_SERVICE_TYPE":"","APP_CODE_ID":"","YESNO_CITY_UNICOM":"0^1","CROSS_AREA":"","ISSHOHCENTER":"0","WECHAT_CODE_ID":"","FINANCIAL":"","LITTLEPROGRAM_CODE_NAME":"京通.png","CROSS_AREA_ALL":"","CROSS_PROVINCE":"","ALIAS_NAME":"[\"供热报装\"]","EAR_DISABILITY_GRAD":"","LIB_DISABILITY_GRAD":"","systemDocumentLITTLEPROGRAM":{"ID":84825247,"TASKGUID":"24debad7-9565-11e9-8300-507b9d3e4710","DOC_ID":"67d47bee-4c06-445c-a4e1-caa195e3eaf3","DOC_NAME":"京通.png","DOC_EXT":"png","DOC_LASTMODIFIED":"Mar 28, 2025 11:11:11 AM","CD_TIME":"Nov 14, 2025 7:49:35 PM","CD_BATCH":"2025111400026","DISTRIBUTETAG":"all-data^investment^91110000101100238R^110000000000^construction^91110000101100238R^non-construction_expansion","DATAJSONTEXT":"{\"VERSION\":\"20191230\"}"},"SPEAK_DISABILITY_GRAD":"","REGISTER":"","ONLINE_HANDLING_DEPTH_STANDARD":"05","APPROVAL_TYPE":"0","MIND_DISABILITY_GRAD":"","ACCEPTSERVICE":"99","YWBLX_ID":"24550cf5-5ace-4b9a-b868-219579270776","ONLINE_DECLARE_SYSTEM_DEPT":"北京市政务服务和数据管理局","CONSTRUCTION_EXPANSION":"","EMPOWER":"0","EXEMPT_MATERIALS":"","LITTLEPROGRAM_CODE_ID":"67d47bee-4c06-445c-a4e1-caa195e3eaf3","EYE_DISABILITY_GRAD":"","ISMONVEINCENTER":"1","BUSINESS_APPROVAL_DEPT":"北京市政务服务管理局","ITEM_ATTRIBUTE":"01^04^05^11","CROSS_AREA_ATEXT":"","AGE":"","BGSYSTEM_APPROVAL_OTHER":"","WIT_DISABILITY_GRAD":"","WECHAT_CODE_NAME":"","DISABILITY_TYPE":"","IS_ENABLE_CERTIFICATE_SHARE":"0","ONLY_ID":"a9deeaa7-d296-41bb-9cc0-7aec63ddef6e","YES_NO_OPEN":"1","BGSYSTEM_APPROVAL_NAME":"北京市投资项目在线审批监管平台","APP_CODE_NAME":"","HOLDER":"","VERSION":"20241125"}
[]
2
2^3^4^6^9
http://yzt.beijing.gov.cn/am/oauth2/authorize?service=bjzwService&response_type=code&client_id=101100238_01&scope=cn+uid+idCardNumber+extProperties&redirect_uri=https%3A%2F%2Fwsyy.bdhg.com.cn%2FyztLogin%2Ftoa.jhtml

政务服务> 办事指南

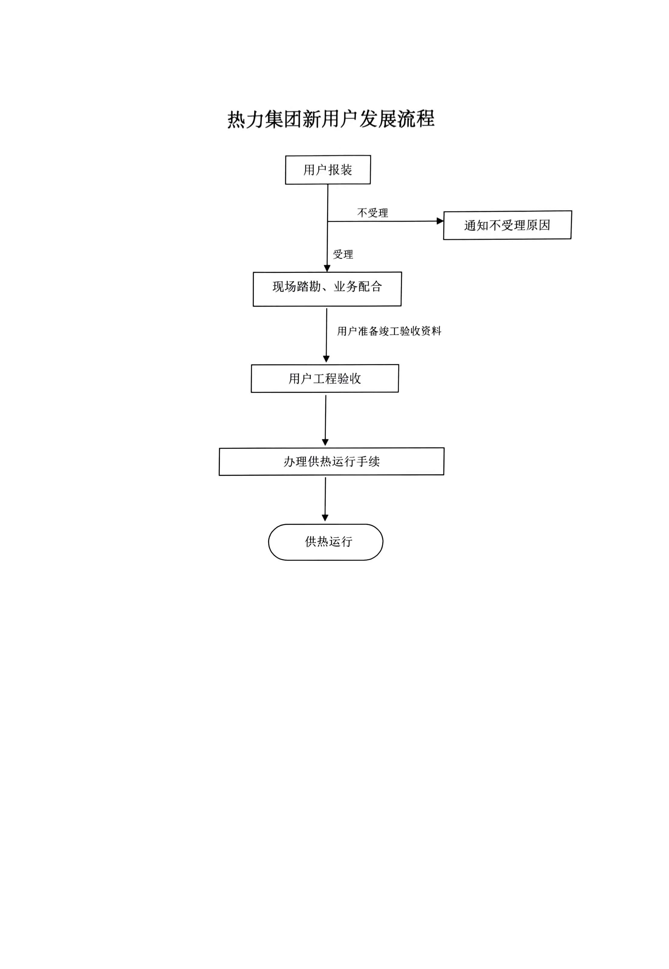
供热报装业务

北京市

切换简洁版

  • 即办件

    办件类型

  • 0

    到现场次数

  • 0工作日

    法定办结时限

  • 0工作日

    承诺办结时限

好差评

5.0

办件承诺办结时限说明:即办件,办理时限:4小时内。(承诺时限为办理流程中“审查与决定”环节的计时时限)

办件承诺办结时限说明:

即办件,办理时限:4小时内。(承诺时限为办理流程中“审查与决定”环节的计时时限)

基本信息

实施主体 北京市热力集团有限责任公司 服务对象
事项类型 公共服务 办理形式
受理条件 1、北京热力及所属企业供热范围内;2、申报材料齐全;3、申报材料须加盖公章。
办理时间 法定工作日: 上午08:30 - 12:00、下午12:00 - 17:30; 周六:上午:08:30 - 12:30(需预约);法定节假日不对外服务。;法定工作日: 上午: 09:00 - 12:00; 下午: 12:00 - 17:00; (延时服务时间: 工作日上午08:30 - 09:00; 下午17:00 - 17:30; 周六上午09:00 - 13:00; )... 查看详情
办理地点 北京市政务服务中心:北京市丰台区西三环南路1号(六里桥西南角)二层工程建设项目审批专区 北京城市副中心政务服务中心:北京市通州区新华东街48号二区(东南角)二层F09、F10、F11、F12窗口 查看详情
咨询方式

咨询电话:

(010)89150609【展开】

咨询窗口地址:

北京市政务服务中心:北京市丰台区西三环南路1号(六里桥西南角)二层C区工程建设项目审批专区 北京城市副中心政务服务中心:北京市通州区新华东街48号二区(东南角)(综合窗口)【展开】

投诉监督方式
基本编码 112082001000 事项编码 91110000101100238R2112082001000
业务办理项编码 91110000101100238R211208200100001 进驻大厅类型
权力来源 法定本级行使 网上支付
所属机构 北京市热力集团有限责任公司 委托部门
联办机构 实施主体性质 授权组织
办理进程查询途径
行使层级 市级 运行系统 市级统建系统
物流快递 办理方式 自办件
预约办理 数量限制
中介服务 权限划分
通办范围 特殊程序
行使内容
显示更多

请选择情形:

提示:通过情形选择可引导出您办理该事项所需的材料,若要查看全部材料,请点击"查看全部材料"

查看全部材料 情形引导

收起
我选好了重选条件

序号 材料名称 材料来源 材料
必要性
数量要求 介质要求 表格及样例
下载
受理标准 提供材料
依据
其他要求
申请材料总要求材料总体要求内容如下:1、申报材料需加盖公章; 2、申报资料齐全;
序号 材料名称 材料来源 材料
必要性
数量要求 介质要求 表格及样例
下载
受理标准 提供材料
依据
其他要求
申请材料总要求材料总体要求内容如下:1、申报材料需加盖公章; 2、申报资料齐全;
显示更多

指南分享