2
07
11110000MB1503996K
北京市规划和自然资源委员会
抵押权变更登记
11110000MB1503996K200071500101402
11110000MB1503996K2000715001014
0
4cfd37b9-d1c1-4efd-95a7-613d4fa6de24
4f464787-787d-4264-836a-d914ab23ea2e
2^3
07
市规划自然资源委
110000000000
北京市规划和自然资源委员会
北京市政务服务中心:法定工作日: 上午: 09:00 - 12:00; 下午: 13:30 - 17:00; (延时服务时间: 工作日上午08:30 - 09:00; 下午17:00 - 17:30; 周六上午09:00 - 13:00; );北京城市副中心政务服务中心:法定工作日: 上午: 09:00 - 12:00; 下午: 12:00 - 17:00; (延时服务时间: 工作日上午08:30 - 09:00; 下午17:00 - 17:30; 周六上午09:00 - 13:00; )
北京市政务服务中心:北京市丰台区西三环南路1号(六里桥西南角)综合窗口 北京城市副中心政务服务中心:北京市通州区新华东街48号二区(东南角)综合窗口
已经登记的抵押权,因下列情形发生变更的,当事人可以申请抵押权变更登记: 1.权利人姓名或者名称、身份证件类型或者身份证件号码发生变化的; 2.担保范围发生变化的; 3.抵押权顺位发生变更的; 4.被担保的主债权种类或者数额发生变化的; 5.债务履行期限发生变化的; 6.最高债权额发生变化的; 7.最高额抵押权债权确定的期间发生变化的; 8.不动产发生转移导致抵押人发生变化的; 9.对抵押不动产转移禁止或限制性约定发生变化的; 10.法律、行政法规规定的其他情形。
{"IS_GUIDE":"1","ONLINE_DECLARE_SYSTEM_MODE":"99","ITEM_REALITY_USELEVEL":"","SERVICE_OBJCT":"","IS_CONSTRUCTION":"0","CL_SERVICE_TYPE":"","APP_CODE_ID":"","YESNO_CITY_UNICOM":"0^1","CROSS_AREA":"","ISSHOHCENTER":"0","WECHAT_CODE_ID":"","FINANCIAL":"","LITTLEPROGRAM_CODE_NAME":"","CROSS_AREA_ALL":"","CROSS_PROVINCE":"","ALIAS_NAME":"[\"抵押权登记\"]","EAR_DISABILITY_GRAD":"","LIB_DISABILITY_GRAD":"","SPEAK_DISABILITY_GRAD":"","REGISTER":"","ONLINE_HANDLING_DEPTH_STANDARD":"05","APPROVAL_TYPE":"0","MIND_DISABILITY_GRAD":"","ACCEPTSERVICE":"99","YWBLX_ID":"69e95832-8648-4d19-9e57-5403ffb6de2d","ONLINE_DECLARE_SYSTEM_DEPT":"","CONSTRUCTION_EXPANSION":"0","EMPOWER":"0","EXEMPT_MATERIALS":"","LITTLEPROGRAM_CODE_ID":"","EYE_DISABILITY_GRAD":"","ISMONVEINCENTER":"1","DATA_FLAG":"","BUSINESS_APPROVAL_DEPT":"北京市规划和自然资源委员会","POWER_NAME":"不动产统一登记","ITEM_ATTRIBUTE":"04^05^11^13","CROSS_AREA_ATEXT":"","AGE":"","BGSYSTEM_APPROVAL_OTHER":"北京市不动产登记信息系统v2.0","WIT_DISABILITY_GRAD":"","WECHAT_CODE_NAME":"","POWER_CODE":"H1202810","DISABILITY_TYPE":"","IS_ENABLE_CERTIFICATE_SHARE":"","POWER_ATTRIBUTE":"1","ONLY_ID":"182e9fe5-81ed-11ea-8de7-fa163e4f9ad9","YES_NO_OPEN":"1","BGSYSTEM_APPROVAL_NAME":"其他","APP_CODE_NAME":"","HOLDER":"","VERSION":"20241125"}
[{"ID":7434352,"TASKGUID":"4cfd37b9-d1c1-4efd-95a7-613d4fa6de24","T_ID":"04d13329-2b24-47c4-8b0f-7b8e8b6062a6","P_ID":"","NAME":"申请人身份","NODE_LEVEL":1,"NODE_PATH":"/04d13329-2b24-47c4-8b0f-7b8e8b6062a6","CHILD_COUNT":12,"ORDER_NUM":1,"SERIAL_NUMBER":"1","CONDITION_ATTR":"01","IS_RADIO":"1","IS_SUPPORT":"","SUMMARY":"1 申请人身份\n\t1.1 境内自然人\n\t\t1.1.1 是否成年\n\t\t\t1.1.1.1 是\n\t\t\t1.1.1.2 否\n\t\t1.1.2 是否为个体工商户或农村承包经营户\n\t\t\t1.1.2.1 是\n\t\t\t1.1.2.2 否\n\t1.10 香港特别行政区、澳门特别行政区、台湾地区的法人或非法人组织\n\t1.11 境外法人或非法人组织\n\t1.12 外国驻华使(领)馆和外国驻华办事机构、国际组织驻华代表机构\n\t1.2 香港、澳门特别行政区自然人\n\t1.3 台湾地区自然人\n\t1.4 华侨\n\t1.5 外籍自然人\n\t1.6 境内营利法人\n\t1.7 境内非营利法人\n\t1.8 境内特别法人\n\t1.9 境内非法人组织","CD_TIME":"Oct 24, 2025 4:44:23 PM","CD_BATCH":"2025102400019","DISTRIBUTETAG":"all-data^non-investment^11110000MB1503996K^110000000000^non-construction^11110000MB1503996K^non-construction_expansion","DATAJSONTEXT":"{\"VERSION\":\"20220810\",\"TREE_TYPE\":\"\",\"CONSULTATION_QA\":\"\"}","parOrder":"","proOrder":"1","newOrderNum":"001","itemGuideConditionRelatedList":[]},{"ID":7434371,"TASKGUID":"4cfd37b9-d1c1-4efd-95a7-613d4fa6de24","T_ID":"c7fdc43d-2c5a-4f67-9e7c-3e3ab6af5407","P_ID":"04d13329-2b24-47c4-8b0f-7b8e8b6062a6","NAME":"境内自然人","NODE_LEVEL":2,"NODE_PATH":"/04d13329-2b24-47c4-8b0f-7b8e8b6062a6/c7fdc43d-2c5a-4f67-9e7c-3e3ab6af5407","CHILD_COUNT":2,"ORDER_NUM":1,"SERIAL_NUMBER":"1.1","CONDITION_ATTR":"02","IS_RADIO":"","IS_SUPPORT":"","SUMMARY":"","CD_TIME":"Oct 24, 2025 4:44:23 PM","CD_BATCH":"2025102400019","DISTRIBUTETAG":"all-data^non-investment^11110000MB1503996K^110000000000^non-construction^11110000MB1503996K^non-construction_expansion","DATAJSONTEXT":"{\"VERSION\":\"20220810\",\"TREE_TYPE\":\"\",\"CONSULTATION_QA\":\"\"}","parOrder":"","proOrder":"","newOrderNum":"001.001","itemGuideConditionRelatedList":[]},{"ID":7434375,"TASKGUID":"4cfd37b9-d1c1-4efd-95a7-613d4fa6de24","T_ID":"fca6a663-f9d1-4885-9f1b-ff535b8687a4","P_ID":"c7fdc43d-2c5a-4f67-9e7c-3e3ab6af5407","NAME":"是否成年","NODE_LEVEL":3,"NODE_PATH":"/04d13329-2b24-47c4-8b0f-7b8e8b6062a6/c7fdc43d-2c5a-4f67-9e7c-3e3ab6af5407/fca6a663-f9d1-4885-9f1b-ff535b8687a4","CHILD_COUNT":2,"ORDER_NUM":1,"SERIAL_NUMBER":"1.1.1","CONDITION_ATTR":"01","IS_RADIO":"1","IS_SUPPORT":"","SUMMARY":"","CD_TIME":"Oct 24, 2025 4:44:23 PM","CD_BATCH":"2025102400019","DISTRIBUTETAG":"all-data^non-investment^11110000MB1503996K^110000000000^non-construction^11110000MB1503996K^non-construction_expansion","DATAJSONTEXT":"{\"VERSION\":\"20220810\",\"TREE_TYPE\":\"\",\"CONSULTATION_QA\":\"\"}","parOrder":"1","proOrder":"1","newOrderNum":"001.001.001","itemGuideConditionRelatedList":[]},{"ID":7434366,"TASKGUID":"4cfd37b9-d1c1-4efd-95a7-613d4fa6de24","T_ID":"768d0160-706c-410a-b13f-b1132fac4ca3","P_ID":"fca6a663-f9d1-4885-9f1b-ff535b8687a4","NAME":"是","NODE_LEVEL":4,"NODE_PATH":"/04d13329-2b24-47c4-8b0f-7b8e8b6062a6/c7fdc43d-2c5a-4f67-9e7c-3e3ab6af5407/fca6a663-f9d1-4885-9f1b-ff535b8687a4/768d0160-706c-410a-b13f-b1132fac4ca3","CHILD_COUNT":0,"ORDER_NUM":1,"SERIAL_NUMBER":"1.1.1.1","CONDITION_ATTR":"02","IS_RADIO":"","IS_SUPPORT":"","SUMMARY":"","CD_TIME":"Oct 24, 2025 4:44:23 PM","CD_BATCH":"2025102400019","DISTRIBUTETAG":"all-data^non-investment^11110000MB1503996K^110000000000^non-construction^11110000MB1503996K^non-construction_expansion","DATAJSONTEXT":"{\"VERSION\":\"20220810\",\"TREE_TYPE\":\"\",\"CONSULTATION_QA\":\"\"}","parOrder":"","proOrder":"","newOrderNum":"001.001.001.001","itemGuideConditionRelatedList":[{"ID":26201264,"TASKGUID":"4cfd37b9-d1c1-4efd-95a7-613d4fa6de24","T_ID":"768d0160-706c-410a-b13f-b1132fac4ca3","G_ID":"2b9129e6-c996-473f-99c8-3f226b98f51a","M_CODE":"320006","MATERIAL_ID":"d205863e-a4e8-4e89-88f7-56fb46a59eff","CD_TIME":"Oct 24, 2025 4:44:23 PM","CD_BATCH":"2025102400019","DISTRIBUTETAG":"all-data^non-investment^11110000MB1503996K^110000000000^non-construction^11110000MB1503996K^non-construction_expansion","DATAJSONTEXT":"{\"VERSION\":\"20210903\"}"}]},{"ID":7434361,"TASKGUID":"4cfd37b9-d1c1-4efd-95a7-613d4fa6de24","T_ID":"6507d920-98de-4fdf-9828-9c4a2ec11e1a","P_ID":"fca6a663-f9d1-4885-9f1b-ff535b8687a4","NAME":"否","NODE_LEVEL":4,"NODE_PATH":"/04d13329-2b24-47c4-8b0f-7b8e8b6062a6/c7fdc43d-2c5a-4f67-9e7c-3e3ab6af5407/fca6a663-f9d1-4885-9f1b-ff535b8687a4/6507d920-98de-4fdf-9828-9c4a2ec11e1a","CHILD_COUNT":0,"ORDER_NUM":2,"SERIAL_NUMBER":"1.1.1.2","CONDITION_ATTR":"02","IS_RADIO":"","IS_SUPPORT":"","SUMMARY":"","CD_TIME":"Oct 24, 2025 4:44:23 PM","CD_BATCH":"2025102400019","DISTRIBUTETAG":"all-data^non-investment^11110000MB1503996K^110000000000^non-construction^11110000MB1503996K^non-construction_expansion","DATAJSONTEXT":"{\"VERSION\":\"20220810\",\"TREE_TYPE\":\"\",\"CONSULTATION_QA\":\"\"}","parOrder":"","proOrder":"","newOrderNum":"001.001.001.002","itemGuideConditionRelatedList":[{"ID":26201468,"TASKGUID":"4cfd37b9-d1c1-4efd-95a7-613d4fa6de24","T_ID":"6507d920-98de-4fdf-9828-9c4a2ec11e1a","G_ID":"b8b3006f-666f-469c-b91e-95c4200042ab","M_CODE":"340593","MATERIAL_ID":"b7625cc6-3593-4b8d-8b3f-74ee3e4f4cf4","CD_TIME":"Oct 24, 2025 4:44:23 PM","CD_BATCH":"2025102400019","DISTRIBUTETAG":"all-data^non-investment^11110000MB1503996K^110000000000^non-construction^11110000MB1503996K^non-construction_expansion","DATAJSONTEXT":"{\"VERSION\":\"20210903\"}"},{"ID":26201832,"TASKGUID":"4cfd37b9-d1c1-4efd-95a7-613d4fa6de24","T_ID":"6507d920-98de-4fdf-9828-9c4a2ec11e1a","G_ID":"1784b893-7be9-489d-b758-9f1de97a6065","M_CODE":"320006","MATERIAL_ID":"827a5d8a-9e8d-4424-b184-6d00040d90f1","CD_TIME":"Oct 24, 2025 4:44:23 PM","CD_BATCH":"2025102400019","DISTRIBUTETAG":"all-data^non-investment^11110000MB1503996K^110000000000^non-construction^11110000MB1503996K^non-construction_expansion","DATAJSONTEXT":"{\"VERSION\":\"20210903\"}"}]},{"ID":7434360,"TASKGUID":"4cfd37b9-d1c1-4efd-95a7-613d4fa6de24","T_ID":"58a86d13-200b-402b-862f-457ef0605fe2","P_ID":"c7fdc43d-2c5a-4f67-9e7c-3e3ab6af5407","NAME":"是否为个体工商户或农村承包经营户","NODE_LEVEL":3,"NODE_PATH":"/04d13329-2b24-47c4-8b0f-7b8e8b6062a6/c7fdc43d-2c5a-4f67-9e7c-3e3ab6af5407/58a86d13-200b-402b-862f-457ef0605fe2","CHILD_COUNT":2,"ORDER_NUM":2,"SERIAL_NUMBER":"1.1.2","CONDITION_ATTR":"01","IS_RADIO":"1","IS_SUPPORT":"","SUMMARY":"","CD_TIME":"Oct 24, 2025 4:44:23 PM","CD_BATCH":"2025102400019","DISTRIBUTETAG":"all-data^non-investment^11110000MB1503996K^110000000000^non-construction^11110000MB1503996K^non-construction_expansion","DATAJSONTEXT":"{\"VERSION\":\"20220810\",\"TREE_TYPE\":\"\",\"CONSULTATION_QA\":\"\"}","parOrder":"1","proOrder":"2","newOrderNum":"001.001.002","itemGuideConditionRelatedList":[]},{"ID":7434374,"TASKGUID":"4cfd37b9-d1c1-4efd-95a7-613d4fa6de24","T_ID":"f6ae7232-d90f-484a-8c52-d40589feffbc","P_ID":"58a86d13-200b-402b-862f-457ef0605fe2","NAME":"是","NODE_LEVEL":4,"NODE_PATH":"/04d13329-2b24-47c4-8b0f-7b8e8b6062a6/c7fdc43d-2c5a-4f67-9e7c-3e3ab6af5407/58a86d13-200b-402b-862f-457ef0605fe2/f6ae7232-d90f-484a-8c52-d40589feffbc","CHILD_COUNT":0,"ORDER_NUM":1,"SERIAL_NUMBER":"1.1.2.1","CONDITION_ATTR":"02","IS_RADIO":"","IS_SUPPORT":"","SUMMARY":"","CD_TIME":"Oct 24, 2025 4:44:23 PM","CD_BATCH":"2025102400019","DISTRIBUTETAG":"all-data^non-investment^11110000MB1503996K^110000000000^non-construction^11110000MB1503996K^non-construction_expansion","DATAJSONTEXT":"{\"VERSION\":\"20220810\",\"TREE_TYPE\":\"\",\"CONSULTATION_QA\":\"\"}","parOrder":"","proOrder":"","newOrderNum":"001.001.002.001","itemGuideConditionRelatedList":[{"ID":26201080,"TASKGUID":"4cfd37b9-d1c1-4efd-95a7-613d4fa6de24","T_ID":"f6ae7232-d90f-484a-8c52-d40589feffbc","G_ID":"107facb8-1f14-4f82-97c4-709f7692981d","M_CODE":"209630","MATERIAL_ID":"f296c043-1209-4e46-a8d3-054d5e093997","CD_TIME":"Oct 24, 2025 4:44:23 PM","CD_BATCH":"2025102400019","DISTRIBUTETAG":"all-data^non-investment^11110000MB1503996K^110000000000^non-construction^11110000MB1503996K^non-construction_expansion","DATAJSONTEXT":"{\"VERSION\":\"20210903\"}"}]},{"ID":7434358,"TASKGUID":"4cfd37b9-d1c1-4efd-95a7-613d4fa6de24","T_ID":"4cd0407b-fbd4-4a78-8938-78630e4daa67","P_ID":"58a86d13-200b-402b-862f-457ef0605fe2","NAME":"否","NODE_LEVEL":4,"NODE_PATH":"/04d13329-2b24-47c4-8b0f-7b8e8b6062a6/c7fdc43d-2c5a-4f67-9e7c-3e3ab6af5407/58a86d13-200b-402b-862f-457ef0605fe2/4cd0407b-fbd4-4a78-8938-78630e4daa67","CHILD_COUNT":0,"ORDER_NUM":2,"SERIAL_NUMBER":"1.1.2.2","CONDITION_ATTR":"02","IS_RADIO":"","IS_SUPPORT":"","SUMMARY":"","CD_TIME":"Oct 24, 2025 4:44:23 PM","CD_BATCH":"2025102400019","DISTRIBUTETAG":"all-data^non-investment^11110000MB1503996K^110000000000^non-construction^11110000MB1503996K^non-construction_expansion","DATAJSONTEXT":"{\"VERSION\":\"20220810\",\"TREE_TYPE\":\"\",\"CONSULTATION_QA\":\"\"}","parOrder":"","proOrder":"","newOrderNum":"001.001.002.002","itemGuideConditionRelatedList":[]},{"ID":7434355,"TASKGUID":"4cfd37b9-d1c1-4efd-95a7-613d4fa6de24","T_ID":"1f1b2257-3ea6-4626-9ee8-ebe5c8b1a041","P_ID":"04d13329-2b24-47c4-8b0f-7b8e8b6062a6","NAME":"香港、澳门特别行政区自然人","NODE_LEVEL":2,"NODE_PATH":"/04d13329-2b24-47c4-8b0f-7b8e8b6062a6/1f1b2257-3ea6-4626-9ee8-ebe5c8b1a041","CHILD_COUNT":0,"ORDER_NUM":2,"SERIAL_NUMBER":"1.2","CONDITION_ATTR":"02","IS_RADIO":"","IS_SUPPORT":"","SUMMARY":"","CD_TIME":"Oct 24, 2025 4:44:23 PM","CD_BATCH":"2025102400019","DISTRIBUTETAG":"all-data^non-investment^11110000MB1503996K^110000000000^non-construction^11110000MB1503996K^non-construction_expansion","DATAJSONTEXT":"{\"VERSION\":\"20220810\",\"TREE_TYPE\":\"\",\"CONSULTATION_QA\":\"\"}","parOrder":"","proOrder":"","newOrderNum":"001.002","itemGuideConditionRelatedList":[{"ID":26201067,"TASKGUID":"4cfd37b9-d1c1-4efd-95a7-613d4fa6de24","T_ID":"1f1b2257-3ea6-4626-9ee8-ebe5c8b1a041","G_ID":"92a11286-ace7-4ad3-aa5a-4c518d18f9c1","M_CODE":"340580","MATERIAL_ID":"25ff0067-3741-4785-be71-f6d585d2dc56","CD_TIME":"Oct 24, 2025 4:44:23 PM","CD_BATCH":"2025102400019","DISTRIBUTETAG":"all-data^non-investment^11110000MB1503996K^110000000000^non-construction^11110000MB1503996K^non-construction_expansion","DATAJSONTEXT":"{\"VERSION\":\"20210903\"}"},{"ID":26201094,"TASKGUID":"4cfd37b9-d1c1-4efd-95a7-613d4fa6de24","T_ID":"1f1b2257-3ea6-4626-9ee8-ebe5c8b1a041","G_ID":"23485d0d-b2d0-4c49-a925-0c82a0437bb6","M_CODE":"347022","MATERIAL_ID":"76d68c4b-4a8c-4d6b-a8bd-0b4d070177e7","CD_TIME":"Oct 24, 2025 4:44:23 PM","CD_BATCH":"2025102400019","DISTRIBUTETAG":"all-data^non-investment^11110000MB1503996K^110000000000^non-construction^11110000MB1503996K^non-construction_expansion","DATAJSONTEXT":"{\"VERSION\":\"20210903\"}"},{"ID":26201096,"TASKGUID":"4cfd37b9-d1c1-4efd-95a7-613d4fa6de24","T_ID":"1f1b2257-3ea6-4626-9ee8-ebe5c8b1a041","G_ID":"584883b5-4234-4fb5-8807-6da8f1aee1f9","M_CODE":"206127","MATERIAL_ID":"720cc2cc-cf5a-4f13-9f35-b0b330cee082","CD_TIME":"Oct 24, 2025 4:44:23 PM","CD_BATCH":"2025102400019","DISTRIBUTETAG":"all-data^non-investment^11110000MB1503996K^110000000000^non-construction^11110000MB1503996K^non-construction_expansion","DATAJSONTEXT":"{\"VERSION\":\"20210903\"}"},{"ID":26201259,"TASKGUID":"4cfd37b9-d1c1-4efd-95a7-613d4fa6de24","T_ID":"1f1b2257-3ea6-4626-9ee8-ebe5c8b1a041","G_ID":"75d5b3cb-10a6-4dc3-91ad-9757450c8296","M_CODE":"347360","MATERIAL_ID":"4bc5b9f0-4bc5-4074-a1b4-91f6f69f0b61","CD_TIME":"Oct 24, 2025 4:44:23 PM","CD_BATCH":"2025102400019","DISTRIBUTETAG":"all-data^non-investment^11110000MB1503996K^110000000000^non-construction^11110000MB1503996K^non-construction_expansion","DATAJSONTEXT":"{\"VERSION\":\"20210903\"}"},{"ID":26201423,"TASKGUID":"4cfd37b9-d1c1-4efd-95a7-613d4fa6de24","T_ID":"1f1b2257-3ea6-4626-9ee8-ebe5c8b1a041","G_ID":"894cf80f-7b59-405c-baa3-634797c97d52","M_CODE":"345889","MATERIAL_ID":"e627f34a-2f5f-4fbd-bafb-b0d87e36e556","CD_TIME":"Oct 24, 2025 4:44:23 PM","CD_BATCH":"2025102400019","DISTRIBUTETAG":"all-data^non-investment^11110000MB1503996K^110000000000^non-construction^11110000MB1503996K^non-construction_expansion","DATAJSONTEXT":"{\"VERSION\":\"20210903\"}"},{"ID":26201845,"TASKGUID":"4cfd37b9-d1c1-4efd-95a7-613d4fa6de24","T_ID":"1f1b2257-3ea6-4626-9ee8-ebe5c8b1a041","G_ID":"ec309eeb-239a-4da6-81e9-48cb20d8ec2c","M_CODE":"346621","MATERIAL_ID":"9c59aa29-7841-4377-83d9-46fb0177416f","CD_TIME":"Oct 24, 2025 4:44:23 PM","CD_BATCH":"2025102400019","DISTRIBUTETAG":"all-data^non-investment^11110000MB1503996K^110000000000^non-construction^11110000MB1503996K^non-construction_expansion","DATAJSONTEXT":"{\"VERSION\":\"20210903\"}"}]},{"ID":7434362,"TASKGUID":"4cfd37b9-d1c1-4efd-95a7-613d4fa6de24","T_ID":"679cf8b0-6a59-47ed-a9b4-88ab9e81cd4e","P_ID":"04d13329-2b24-47c4-8b0f-7b8e8b6062a6","NAME":"台湾地区自然人","NODE_LEVEL":2,"NODE_PATH":"/04d13329-2b24-47c4-8b0f-7b8e8b6062a6/679cf8b0-6a59-47ed-a9b4-88ab9e81cd4e","CHILD_COUNT":0,"ORDER_NUM":3,"SERIAL_NUMBER":"1.3","CONDITION_ATTR":"02","IS_RADIO":"","IS_SUPPORT":"","SUMMARY":"","CD_TIME":"Oct 24, 2025 4:44:23 PM","CD_BATCH":"2025102400019","DISTRIBUTETAG":"all-data^non-investment^11110000MB1503996K^110000000000^non-construction^11110000MB1503996K^non-construction_expansion","DATAJSONTEXT":"{\"VERSION\":\"20220810\",\"TREE_TYPE\":\"\",\"CONSULTATION_QA\":\"\"}","parOrder":"","proOrder":"","newOrderNum":"001.003","itemGuideConditionRelatedList":[{"ID":26201077,"TASKGUID":"4cfd37b9-d1c1-4efd-95a7-613d4fa6de24","T_ID":"679cf8b0-6a59-47ed-a9b4-88ab9e81cd4e","G_ID":"3f6498bd-666e-4af9-b95d-535a0c6c6bc2","M_CODE":"340581","MATERIAL_ID":"7828882b-5673-415d-989b-47675af31c0e","CD_TIME":"Oct 24, 2025 4:44:23 PM","CD_BATCH":"2025102400019","DISTRIBUTETAG":"all-data^non-investment^11110000MB1503996K^110000000000^non-construction^11110000MB1503996K^non-construction_expansion","DATAJSONTEXT":"{\"VERSION\":\"20210903\"}"},{"ID":26201367,"TASKGUID":"4cfd37b9-d1c1-4efd-95a7-613d4fa6de24","T_ID":"679cf8b0-6a59-47ed-a9b4-88ab9e81cd4e","G_ID":"7b3437de-b72a-4c7b-8ce4-3e1dc7dfa9e2","M_CODE":"345560","MATERIAL_ID":"d1133533-aa07-464b-b2ae-541ae7cbf808","CD_TIME":"Oct 24, 2025 4:44:23 PM","CD_BATCH":"2025102400019","DISTRIBUTETAG":"all-data^non-investment^11110000MB1503996K^110000000000^non-construction^11110000MB1503996K^non-construction_expansion","DATAJSONTEXT":"{\"VERSION\":\"20210903\"}"}]},{"ID":7434368,"TASKGUID":"4cfd37b9-d1c1-4efd-95a7-613d4fa6de24","T_ID":"a26b6d0e-9895-4dfa-8b30-1ef5615c8d42","P_ID":"04d13329-2b24-47c4-8b0f-7b8e8b6062a6","NAME":"华侨","NODE_LEVEL":2,"NODE_PATH":"/04d13329-2b24-47c4-8b0f-7b8e8b6062a6/a26b6d0e-9895-4dfa-8b30-1ef5615c8d42","CHILD_COUNT":0,"ORDER_NUM":4,"SERIAL_NUMBER":"1.4","CONDITION_ATTR":"02","IS_RADIO":"","IS_SUPPORT":"","SUMMARY":"","CD_TIME":"Oct 24, 2025 4:44:23 PM","CD_BATCH":"2025102400019","DISTRIBUTETAG":"all-data^non-investment^11110000MB1503996K^110000000000^non-construction^11110000MB1503996K^non-construction_expansion","DATAJSONTEXT":"{\"VERSION\":\"20220810\",\"TREE_TYPE\":\"\",\"CONSULTATION_QA\":\"\"}","parOrder":"","proOrder":"","newOrderNum":"001.004","itemGuideConditionRelatedList":[{"ID":26201133,"TASKGUID":"4cfd37b9-d1c1-4efd-95a7-613d4fa6de24","T_ID":"a26b6d0e-9895-4dfa-8b30-1ef5615c8d42","G_ID":"e239cb14-d8e4-4d2b-a508-db00ceb99e92","M_CODE":"209630","MATERIAL_ID":"4d9722fe-22d7-4114-9afe-0311e0796aaf","CD_TIME":"Oct 24, 2025 4:44:23 PM","CD_BATCH":"2025102400019","DISTRIBUTETAG":"all-data^non-investment^11110000MB1503996K^110000000000^non-construction^11110000MB1503996K^non-construction_expansion","DATAJSONTEXT":"{\"VERSION\":\"20210903\"}"},{"ID":26201981,"TASKGUID":"4cfd37b9-d1c1-4efd-95a7-613d4fa6de24","T_ID":"a26b6d0e-9895-4dfa-8b30-1ef5615c8d42","G_ID":"f2aed7fd-d55f-4038-acc7-89f9596fbeb7","M_CODE":"340576","MATERIAL_ID":"63be7c15-2d3f-46af-9853-288811e62514","CD_TIME":"Oct 24, 2025 4:44:23 PM","CD_BATCH":"2025102400019","DISTRIBUTETAG":"all-data^non-investment^11110000MB1503996K^110000000000^non-construction^11110000MB1503996K^non-construction_expansion","DATAJSONTEXT":"{\"VERSION\":\"20210903\"}"}]},{"ID":7434370,"TASKGUID":"4cfd37b9-d1c1-4efd-95a7-613d4fa6de24","T_ID":"b1990c47-8fe8-4729-ae0b-9b6e6936b458","P_ID":"04d13329-2b24-47c4-8b0f-7b8e8b6062a6","NAME":"外籍自然人","NODE_LEVEL":2,"NODE_PATH":"/04d13329-2b24-47c4-8b0f-7b8e8b6062a6/b1990c47-8fe8-4729-ae0b-9b6e6936b458","CHILD_COUNT":0,"ORDER_NUM":5,"SERIAL_NUMBER":"1.5","CONDITION_ATTR":"02","IS_RADIO":"","IS_SUPPORT":"","SUMMARY":"","CD_TIME":"Oct 24, 2025 4:44:23 PM","CD_BATCH":"2025102400019","DISTRIBUTETAG":"all-data^non-investment^11110000MB1503996K^110000000000^non-construction^11110000MB1503996K^non-construction_expansion","DATAJSONTEXT":"{\"VERSION\":\"20220810\",\"TREE_TYPE\":\"\",\"CONSULTATION_QA\":\"\"}","parOrder":"","proOrder":"","newOrderNum":"001.005","itemGuideConditionRelatedList":[{"ID":26201229,"TASKGUID":"4cfd37b9-d1c1-4efd-95a7-613d4fa6de24","T_ID":"b1990c47-8fe8-4729-ae0b-9b6e6936b458","G_ID":"383f06d4-34d7-43bd-acd9-d5ee0f25c90b","M_CODE":"344780","MATERIAL_ID":"0220cfee-960d-420d-a371-45e4cc4776b9","CD_TIME":"Oct 24, 2025 4:44:23 PM","CD_BATCH":"2025102400019","DISTRIBUTETAG":"all-data^non-investment^11110000MB1503996K^110000000000^non-construction^11110000MB1503996K^non-construction_expansion","DATAJSONTEXT":"{\"VERSION\":\"20210903\"}"},{"ID":26201886,"TASKGUID":"4cfd37b9-d1c1-4efd-95a7-613d4fa6de24","T_ID":"b1990c47-8fe8-4729-ae0b-9b6e6936b458","G_ID":"ce3b7e24-c783-436f-9695-5543a9a8de26","M_CODE":"345804","MATERIAL_ID":"dea2f399-2ecb-4bff-85e6-ca476eed9a1e","CD_TIME":"Oct 24, 2025 4:44:23 PM","CD_BATCH":"2025102400019","DISTRIBUTETAG":"all-data^non-investment^11110000MB1503996K^110000000000^non-construction^11110000MB1503996K^non-construction_expansion","DATAJSONTEXT":"{\"VERSION\":\"20210903\"}"}]},{"ID":7434367,"TASKGUID":"4cfd37b9-d1c1-4efd-95a7-613d4fa6de24","T_ID":"91dfdda0-91cf-4a43-85ca-9a4a5aa963f0","P_ID":"04d13329-2b24-47c4-8b0f-7b8e8b6062a6","NAME":"境内营利法人","NODE_LEVEL":2,"NODE_PATH":"/04d13329-2b24-47c4-8b0f-7b8e8b6062a6/91dfdda0-91cf-4a43-85ca-9a4a5aa963f0","CHILD_COUNT":0,"ORDER_NUM":6,"SERIAL_NUMBER":"1.6","CONDITION_ATTR":"02","IS_RADIO":"","IS_SUPPORT":"","SUMMARY":"","CD_TIME":"Oct 24, 2025 4:44:23 PM","CD_BATCH":"2025102400019","DISTRIBUTETAG":"all-data^non-investment^11110000MB1503996K^110000000000^non-construction^11110000MB1503996K^non-construction_expansion","DATAJSONTEXT":"{\"VERSION\":\"20220810\",\"TREE_TYPE\":\"\",\"CONSULTATION_QA\":\"\"}","parOrder":"","proOrder":"","newOrderNum":"001.006","itemGuideConditionRelatedList":[{"ID":26201966,"TASKGUID":"4cfd37b9-d1c1-4efd-95a7-613d4fa6de24","T_ID":"91dfdda0-91cf-4a43-85ca-9a4a5aa963f0","G_ID":"cdf32d67-0f81-4e3b-9471-abc064895c99","M_CODE":"341898","MATERIAL_ID":"c4384032-6b16-4810-894c-4de4389ecf77","CD_TIME":"Oct 24, 2025 4:44:23 PM","CD_BATCH":"2025102400019","DISTRIBUTETAG":"all-data^non-investment^11110000MB1503996K^110000000000^non-construction^11110000MB1503996K^non-construction_expansion","DATAJSONTEXT":"{\"VERSION\":\"20210903\"}"}]},{"ID":7434365,"TASKGUID":"4cfd37b9-d1c1-4efd-95a7-613d4fa6de24","T_ID":"7388fb0e-4667-475a-99aa-b0dd2e67f702","P_ID":"04d13329-2b24-47c4-8b0f-7b8e8b6062a6","NAME":"境内非营利法人","NODE_LEVEL":2,"NODE_PATH":"/04d13329-2b24-47c4-8b0f-7b8e8b6062a6/7388fb0e-4667-475a-99aa-b0dd2e67f702","CHILD_COUNT":0,"ORDER_NUM":7,"SERIAL_NUMBER":"1.7","CONDITION_ATTR":"02","IS_RADIO":"","IS_SUPPORT":"","SUMMARY":"","CD_TIME":"Oct 24, 2025 4:44:23 PM","CD_BATCH":"2025102400019","DISTRIBUTETAG":"all-data^non-investment^11110000MB1503996K^110000000000^non-construction^11110000MB1503996K^non-construction_expansion","DATAJSONTEXT":"{\"VERSION\":\"20220810\",\"TREE_TYPE\":\"\",\"CONSULTATION_QA\":\"\"}","parOrder":"","proOrder":"","newOrderNum":"001.007","itemGuideConditionRelatedList":[{"ID":26201408,"TASKGUID":"4cfd37b9-d1c1-4efd-95a7-613d4fa6de24","T_ID":"7388fb0e-4667-475a-99aa-b0dd2e67f702","G_ID":"16bc894d-d819-4f2c-98e1-21de6c3dbb5d","M_CODE":"209630","MATERIAL_ID":"b85b9d35-3548-4539-9976-d2a74bd259b0","CD_TIME":"Oct 24, 2025 4:44:23 PM","CD_BATCH":"2025102400019","DISTRIBUTETAG":"all-data^non-investment^11110000MB1503996K^110000000000^non-construction^11110000MB1503996K^non-construction_expansion","DATAJSONTEXT":"{\"VERSION\":\"20210903\"}"},{"ID":26201609,"TASKGUID":"4cfd37b9-d1c1-4efd-95a7-613d4fa6de24","T_ID":"7388fb0e-4667-475a-99aa-b0dd2e67f702","G_ID":"2864448b-5f61-4449-97cf-f517b971d2ca","M_CODE":"340680","MATERIAL_ID":"533b6964-d756-4f6d-aade-bcb25a0441a6","CD_TIME":"Oct 24, 2025 4:44:23 PM","CD_BATCH":"2025102400019","DISTRIBUTETAG":"all-data^non-investment^11110000MB1503996K^110000000000^non-construction^11110000MB1503996K^non-construction_expansion","DATAJSONTEXT":"{\"VERSION\":\"20210903\"}"},{"ID":26201693,"TASKGUID":"4cfd37b9-d1c1-4efd-95a7-613d4fa6de24","T_ID":"7388fb0e-4667-475a-99aa-b0dd2e67f702","G_ID":"0efaaf10-c704-4ba8-b53d-c9e9cdf63674","M_CODE":"345025","MATERIAL_ID":"96640d8d-e2f8-471a-9872-0517a23cdef4","CD_TIME":"Oct 24, 2025 4:44:23 PM","CD_BATCH":"2025102400019","DISTRIBUTETAG":"all-data^non-investment^11110000MB1503996K^110000000000^non-construction^11110000MB1503996K^non-construction_expansion","DATAJSONTEXT":"{\"VERSION\":\"20210903\"}"},{"ID":26201743,"TASKGUID":"4cfd37b9-d1c1-4efd-95a7-613d4fa6de24","T_ID":"7388fb0e-4667-475a-99aa-b0dd2e67f702","G_ID":"e4829566-ae43-46ec-8a03-678d333b4932","M_CODE":"203760","MATERIAL_ID":"d39ae2c7-d8a9-4344-8f1e-0fdbf6e22cd4","CD_TIME":"Oct 24, 2025 4:44:23 PM","CD_BATCH":"2025102400019","DISTRIBUTETAG":"all-data^non-investment^11110000MB1503996K^110000000000^non-construction^11110000MB1503996K^non-construction_expansion","DATAJSONTEXT":"{\"VERSION\":\"20210903\"}"},{"ID":26201846,"TASKGUID":"4cfd37b9-d1c1-4efd-95a7-613d4fa6de24","T_ID":"7388fb0e-4667-475a-99aa-b0dd2e67f702","G_ID":"765d3b02-63be-4046-89d8-e0441f1b1d81","M_CODE":"340675","MATERIAL_ID":"5a558949-7e8b-4f1b-9ee4-8c47b8c7619d","CD_TIME":"Oct 24, 2025 4:44:23 PM","CD_BATCH":"2025102400019","DISTRIBUTETAG":"all-data^non-investment^11110000MB1503996K^110000000000^non-construction^11110000MB1503996K^non-construction_expansion","DATAJSONTEXT":"{\"VERSION\":\"20210903\"}"},{"ID":26201953,"TASKGUID":"4cfd37b9-d1c1-4efd-95a7-613d4fa6de24","T_ID":"7388fb0e-4667-475a-99aa-b0dd2e67f702","G_ID":"50f18331-3bc0-4e3a-bb52-00008d98c0c6","M_CODE":"344352","MATERIAL_ID":"0dc29ffd-e237-4194-abce-8d77645b6d7a","CD_TIME":"Oct 24, 2025 4:44:23 PM","CD_BATCH":"2025102400019","DISTRIBUTETAG":"all-data^non-investment^11110000MB1503996K^110000000000^non-construction^11110000MB1503996K^non-construction_expansion","DATAJSONTEXT":"{\"VERSION\":\"20210903\"}"}]},{"ID":7434376,"TASKGUID":"4cfd37b9-d1c1-4efd-95a7-613d4fa6de24","T_ID":"fff679c1-db7c-4ea0-97ba-c696b35573f6","P_ID":"04d13329-2b24-47c4-8b0f-7b8e8b6062a6","NAME":"境内特别法人","NODE_LEVEL":2,"NODE_PATH":"/04d13329-2b24-47c4-8b0f-7b8e8b6062a6/fff679c1-db7c-4ea0-97ba-c696b35573f6","CHILD_COUNT":0,"ORDER_NUM":8,"SERIAL_NUMBER":"1.8","CONDITION_ATTR":"02","IS_RADIO":"","IS_SUPPORT":"","SUMMARY":"","CD_TIME":"Oct 24, 2025 4:44:23 PM","CD_BATCH":"2025102400019","DISTRIBUTETAG":"all-data^non-investment^11110000MB1503996K^110000000000^non-construction^11110000MB1503996K^non-construction_expansion","DATAJSONTEXT":"{\"VERSION\":\"20220810\",\"TREE_TYPE\":\"\",\"CONSULTATION_QA\":\"\"}","parOrder":"","proOrder":"","newOrderNum":"001.008","itemGuideConditionRelatedList":[{"ID":26201134,"TASKGUID":"4cfd37b9-d1c1-4efd-95a7-613d4fa6de24","T_ID":"fff679c1-db7c-4ea0-97ba-c696b35573f6","G_ID":"5107f052-0820-4eb2-a6f6-41e2438c520a","M_CODE":"346738","MATERIAL_ID":"2a9c5a2c-41f7-4a37-90fd-c431b05aea18","CD_TIME":"Oct 24, 2025 4:44:23 PM","CD_BATCH":"2025102400019","DISTRIBUTETAG":"all-data^non-investment^11110000MB1503996K^110000000000^non-construction^11110000MB1503996K^non-construction_expansion","DATAJSONTEXT":"{\"VERSION\":\"20210903\"}"},{"ID":26201401,"TASKGUID":"4cfd37b9-d1c1-4efd-95a7-613d4fa6de24","T_ID":"fff679c1-db7c-4ea0-97ba-c696b35573f6","G_ID":"38df874e-c89b-43af-a4e0-e2dc5ef9c072","M_CODE":"320084","MATERIAL_ID":"467192e6-d6e8-4c7f-a745-ffe6b636cb50","CD_TIME":"Oct 24, 2025 4:44:23 PM","CD_BATCH":"2025102400019","DISTRIBUTETAG":"all-data^non-investment^11110000MB1503996K^110000000000^non-construction^11110000MB1503996K^non-construction_expansion","DATAJSONTEXT":"{\"VERSION\":\"20210903\"}"},{"ID":26201735,"TASKGUID":"4cfd37b9-d1c1-4efd-95a7-613d4fa6de24","T_ID":"fff679c1-db7c-4ea0-97ba-c696b35573f6","G_ID":"4ca7b6b0-0ccd-4932-922f-0f07d2f7ebb7","M_CODE":"203376","MATERIAL_ID":"3c87b041-facb-4629-a405-42e96a54b46c","CD_TIME":"Oct 24, 2025 4:44:23 PM","CD_BATCH":"2025102400019","DISTRIBUTETAG":"all-data^non-investment^11110000MB1503996K^110000000000^non-construction^11110000MB1503996K^non-construction_expansion","DATAJSONTEXT":"{\"VERSION\":\"20210903\"}"},{"ID":26201785,"TASKGUID":"4cfd37b9-d1c1-4efd-95a7-613d4fa6de24","T_ID":"fff679c1-db7c-4ea0-97ba-c696b35573f6","G_ID":"6dd8ff7c-1959-4933-b9e1-2bfcb9d5621d","M_CODE":"346737","MATERIAL_ID":"155a8524-5b25-4a20-9a12-e1c553f30ddd","CD_TIME":"Oct 24, 2025 4:44:23 PM","CD_BATCH":"2025102400019","DISTRIBUTETAG":"all-data^non-investment^11110000MB1503996K^110000000000^non-construction^11110000MB1503996K^non-construction_expansion","DATAJSONTEXT":"{\"VERSION\":\"20210903\"}"},{"ID":26201964,"TASKGUID":"4cfd37b9-d1c1-4efd-95a7-613d4fa6de24","T_ID":"fff679c1-db7c-4ea0-97ba-c696b35573f6","G_ID":"2a56279a-b851-4298-af0b-96dec20c378d","M_CODE":"345097","MATERIAL_ID":"ae68f184-a3fb-47ba-beb7-f5461d367970","CD_TIME":"Oct 24, 2025 4:44:23 PM","CD_BATCH":"2025102400019","DISTRIBUTETAG":"all-data^non-investment^11110000MB1503996K^110000000000^non-construction^11110000MB1503996K^non-construction_expansion","DATAJSONTEXT":"{\"VERSION\":\"20210903\"}"}]},{"ID":7434354,"TASKGUID":"4cfd37b9-d1c1-4efd-95a7-613d4fa6de24","T_ID":"138165b5-141e-45fe-aa53-01c7ed625790","P_ID":"04d13329-2b24-47c4-8b0f-7b8e8b6062a6","NAME":"境内非法人组织","NODE_LEVEL":2,"NODE_PATH":"/04d13329-2b24-47c4-8b0f-7b8e8b6062a6/138165b5-141e-45fe-aa53-01c7ed625790","CHILD_COUNT":0,"ORDER_NUM":9,"SERIAL_NUMBER":"1.9","CONDITION_ATTR":"02","IS_RADIO":"","IS_SUPPORT":"","SUMMARY":"","CD_TIME":"Oct 24, 2025 4:44:23 PM","CD_BATCH":"2025102400019","DISTRIBUTETAG":"all-data^non-investment^11110000MB1503996K^110000000000^non-construction^11110000MB1503996K^non-construction_expansion","DATAJSONTEXT":"{\"VERSION\":\"20220810\",\"TREE_TYPE\":\"\",\"CONSULTATION_QA\":\"\"}","parOrder":"","proOrder":"","newOrderNum":"001.009","itemGuideConditionRelatedList":[{"ID":26201089,"TASKGUID":"4cfd37b9-d1c1-4efd-95a7-613d4fa6de24","T_ID":"138165b5-141e-45fe-aa53-01c7ed625790","G_ID":"5a8285f5-6de6-4e66-ab65-b5bcae74006c","M_CODE":"341898","MATERIAL_ID":"02b4e2ce-665f-4e52-b395-55af32626f10","CD_TIME":"Oct 24, 2025 4:44:23 PM","CD_BATCH":"2025102400019","DISTRIBUTETAG":"all-data^non-investment^11110000MB1503996K^110000000000^non-construction^11110000MB1503996K^non-construction_expansion","DATAJSONTEXT":"{\"VERSION\":\"20210903\"}"},{"ID":26201931,"TASKGUID":"4cfd37b9-d1c1-4efd-95a7-613d4fa6de24","T_ID":"138165b5-141e-45fe-aa53-01c7ed625790","G_ID":"b0000f99-610b-4092-8cbb-94440bb45648","M_CODE":"209630","MATERIAL_ID":"cc1345cd-90fd-4dcd-89bc-2b0c9799a842","CD_TIME":"Oct 24, 2025 4:44:23 PM","CD_BATCH":"2025102400019","DISTRIBUTETAG":"all-data^non-investment^11110000MB1503996K^110000000000^non-construction^11110000MB1503996K^non-construction_expansion","DATAJSONTEXT":"{\"VERSION\":\"20210903\"}"}]},{"ID":7434372,"TASKGUID":"4cfd37b9-d1c1-4efd-95a7-613d4fa6de24","T_ID":"e4331757-b7c3-4074-b870-8175810d96fd","P_ID":"04d13329-2b24-47c4-8b0f-7b8e8b6062a6","NAME":"香港特别行政区、澳门特别行政区、台湾地区的法人或非法人组织","NODE_LEVEL":2,"NODE_PATH":"/04d13329-2b24-47c4-8b0f-7b8e8b6062a6/e4331757-b7c3-4074-b870-8175810d96fd","CHILD_COUNT":0,"ORDER_NUM":10,"SERIAL_NUMBER":"1.10","CONDITION_ATTR":"02","IS_RADIO":"","IS_SUPPORT":"","SUMMARY":"","CD_TIME":"Oct 24, 2025 4:44:23 PM","CD_BATCH":"2025102400019","DISTRIBUTETAG":"all-data^non-investment^11110000MB1503996K^110000000000^non-construction^11110000MB1503996K^non-construction_expansion","DATAJSONTEXT":"{\"VERSION\":\"20220810\",\"TREE_TYPE\":\"\",\"CONSULTATION_QA\":\"\"}","parOrder":"","proOrder":"","newOrderNum":"001.010","itemGuideConditionRelatedList":[{"ID":26201432,"TASKGUID":"4cfd37b9-d1c1-4efd-95a7-613d4fa6de24","T_ID":"e4331757-b7c3-4074-b870-8175810d96fd","G_ID":"40c2c3f5-326f-4de2-b657-2d45528fcfe5","M_CODE":"203425","MATERIAL_ID":"73b006b4-7a19-4ccf-a6f3-2fdb778653b4","CD_TIME":"Oct 24, 2025 4:44:23 PM","CD_BATCH":"2025102400019","DISTRIBUTETAG":"all-data^non-investment^11110000MB1503996K^110000000000^non-construction^11110000MB1503996K^non-construction_expansion","DATAJSONTEXT":"{\"VERSION\":\"20210903\"}"},{"ID":26201656,"TASKGUID":"4cfd37b9-d1c1-4efd-95a7-613d4fa6de24","T_ID":"e4331757-b7c3-4074-b870-8175810d96fd","G_ID":"1733745c-cd76-47a0-a1e8-7c802d02c35b","M_CODE":"203426","MATERIAL_ID":"6a1b4ce1-6ada-4b5d-b330-6a46cbdb148b","CD_TIME":"Oct 24, 2025 4:44:23 PM","CD_BATCH":"2025102400019","DISTRIBUTETAG":"all-data^non-investment^11110000MB1503996K^110000000000^non-construction^11110000MB1503996K^non-construction_expansion","DATAJSONTEXT":"{\"VERSION\":\"20210903\"}"},{"ID":26201695,"TASKGUID":"4cfd37b9-d1c1-4efd-95a7-613d4fa6de24","T_ID":"e4331757-b7c3-4074-b870-8175810d96fd","G_ID":"970e084a-15c0-471a-b5dd-f9f42c60a0ca","M_CODE":"203379","MATERIAL_ID":"104b0b04-b7df-41a4-b88e-080173cd32e2","CD_TIME":"Oct 24, 2025 4:44:23 PM","CD_BATCH":"2025102400019","DISTRIBUTETAG":"all-data^non-investment^11110000MB1503996K^110000000000^non-construction^11110000MB1503996K^non-construction_expansion","DATAJSONTEXT":"{\"VERSION\":\"20210903\"}"}]},{"ID":7434356,"TASKGUID":"4cfd37b9-d1c1-4efd-95a7-613d4fa6de24","T_ID":"3eec3d33-495d-4010-bbc1-86f3c38e5655","P_ID":"04d13329-2b24-47c4-8b0f-7b8e8b6062a6","NAME":"境外法人或非法人组织","NODE_LEVEL":2,"NODE_PATH":"/04d13329-2b24-47c4-8b0f-7b8e8b6062a6/3eec3d33-495d-4010-bbc1-86f3c38e5655","CHILD_COUNT":0,"ORDER_NUM":11,"SERIAL_NUMBER":"1.11","CONDITION_ATTR":"02","IS_RADIO":"","IS_SUPPORT":"","SUMMARY":"","CD_TIME":"Oct 24, 2025 4:44:23 PM","CD_BATCH":"2025102400019","DISTRIBUTETAG":"all-data^non-investment^11110000MB1503996K^110000000000^non-construction^11110000MB1503996K^non-construction_expansion","DATAJSONTEXT":"{\"VERSION\":\"20220810\",\"TREE_TYPE\":\"\",\"CONSULTATION_QA\":\"\"}","parOrder":"","proOrder":"","newOrderNum":"001.011","itemGuideConditionRelatedList":[{"ID":26201082,"TASKGUID":"4cfd37b9-d1c1-4efd-95a7-613d4fa6de24","T_ID":"3eec3d33-495d-4010-bbc1-86f3c38e5655","G_ID":"4ec872c9-7c7f-4744-9ee7-786ef8c7de13","M_CODE":"203378","MATERIAL_ID":"23fb8c4c-f2a8-48c4-a742-6fc64d061fcb","CD_TIME":"Oct 24, 2025 4:44:23 PM","CD_BATCH":"2025102400019","DISTRIBUTETAG":"all-data^non-investment^11110000MB1503996K^110000000000^non-construction^11110000MB1503996K^non-construction_expansion","DATAJSONTEXT":"{\"VERSION\":\"20210903\"}"},{"ID":26201245,"TASKGUID":"4cfd37b9-d1c1-4efd-95a7-613d4fa6de24","T_ID":"3eec3d33-495d-4010-bbc1-86f3c38e5655","G_ID":"85a88fee-ed17-4e37-8c9c-3b6168337659","M_CODE":"203426","MATERIAL_ID":"58ca8474-b38d-4ece-804e-366f0ea5fa26","CD_TIME":"Oct 24, 2025 4:44:23 PM","CD_BATCH":"2025102400019","DISTRIBUTETAG":"all-data^non-investment^11110000MB1503996K^110000000000^non-construction^11110000MB1503996K^non-construction_expansion","DATAJSONTEXT":"{\"VERSION\":\"20210903\"}"},{"ID":26201353,"TASKGUID":"4cfd37b9-d1c1-4efd-95a7-613d4fa6de24","T_ID":"3eec3d33-495d-4010-bbc1-86f3c38e5655","G_ID":"5f80395b-ed65-4f95-acab-9ab84b29b7e1","M_CODE":"203425","MATERIAL_ID":"717a22ae-96c1-434f-b933-07d33a564ea3","CD_TIME":"Oct 24, 2025 4:44:23 PM","CD_BATCH":"2025102400019","DISTRIBUTETAG":"all-data^non-investment^11110000MB1503996K^110000000000^non-construction^11110000MB1503996K^non-construction_expansion","DATAJSONTEXT":"{\"VERSION\":\"20210903\"}"}]},{"ID":7434359,"TASKGUID":"4cfd37b9-d1c1-4efd-95a7-613d4fa6de24","T_ID":"50f1eadb-c14f-4e3d-8eba-d7337ccbb61c","P_ID":"04d13329-2b24-47c4-8b0f-7b8e8b6062a6","NAME":"外国驻华使(领)馆和外国驻华办事机构、国际组织驻华代表机构","NODE_LEVEL":2,"NODE_PATH":"/04d13329-2b24-47c4-8b0f-7b8e8b6062a6/50f1eadb-c14f-4e3d-8eba-d7337ccbb61c","CHILD_COUNT":0,"ORDER_NUM":12,"SERIAL_NUMBER":"1.12","CONDITION_ATTR":"02","IS_RADIO":"","IS_SUPPORT":"","SUMMARY":"","CD_TIME":"Oct 24, 2025 4:44:23 PM","CD_BATCH":"2025102400019","DISTRIBUTETAG":"all-data^non-investment^11110000MB1503996K^110000000000^non-construction^11110000MB1503996K^non-construction_expansion","DATAJSONTEXT":"{\"VERSION\":\"20220810\",\"TREE_TYPE\":\"\",\"CONSULTATION_QA\":\"\"}","parOrder":"","proOrder":"","newOrderNum":"001.012","itemGuideConditionRelatedList":[{"ID":26201518,"TASKGUID":"4cfd37b9-d1c1-4efd-95a7-613d4fa6de24","T_ID":"50f1eadb-c14f-4e3d-8eba-d7337ccbb61c","G_ID":"5e565f73-a977-4170-a6ff-298db6dac030","M_CODE":"209630","MATERIAL_ID":"64a59fce-9d89-4b00-8210-e542abf76844","CD_TIME":"Oct 24, 2025 4:44:23 PM","CD_BATCH":"2025102400019","DISTRIBUTETAG":"all-data^non-investment^11110000MB1503996K^110000000000^non-construction^11110000MB1503996K^non-construction_expansion","DATAJSONTEXT":"{\"VERSION\":\"20210903\"}"}]},{"ID":7434363,"TASKGUID":"4cfd37b9-d1c1-4efd-95a7-613d4fa6de24","T_ID":"71f20a26-becf-4324-b060-46ea4ba4a585","P_ID":"","NAME":"抵押权变更登记的类型","NODE_LEVEL":1,"NODE_PATH":"/71f20a26-becf-4324-b060-46ea4ba4a585","CHILD_COUNT":2,"ORDER_NUM":2,"SERIAL_NUMBER":"2","CONDITION_ATTR":"01","IS_RADIO":"1","IS_SUPPORT":"","SUMMARY":"2 抵押权变更登记的类型\n\t2.1 抵押权人或者抵押人姓名、名称变更\n\t2.2 担保范围、抵押权顺位、被担保债权种类或者数额、债务履行期限、最高债权额、债权确定期间等发生变更\n\t\t2.2.1 是否对其他抵押权人(含预告登记权利人)产生不利影响\n\t\t\t2.2.1.1 是\n\t\t\t2.2.1.2 否","CD_TIME":"Oct 24, 2025 4:44:23 PM","CD_BATCH":"2025102400019","DISTRIBUTETAG":"all-data^non-investment^11110000MB1503996K^110000000000^non-construction^11110000MB1503996K^non-construction_expansion","DATAJSONTEXT":"{\"VERSION\":\"20220810\",\"TREE_TYPE\":\"\",\"CONSULTATION_QA\":\"\"}","parOrder":"","proOrder":"2","newOrderNum":"002","itemGuideConditionRelatedList":[]},{"ID":7434373,"TASKGUID":"4cfd37b9-d1c1-4efd-95a7-613d4fa6de24","T_ID":"ebcb062f-0579-4dc0-b7d2-8f778a4de2b7","P_ID":"71f20a26-becf-4324-b060-46ea4ba4a585","NAME":"抵押权人或者抵押人姓名、名称变更","NODE_LEVEL":2,"NODE_PATH":"/71f20a26-becf-4324-b060-46ea4ba4a585/ebcb062f-0579-4dc0-b7d2-8f778a4de2b7","CHILD_COUNT":0,"ORDER_NUM":1,"SERIAL_NUMBER":"2.1","CONDITION_ATTR":"02","IS_RADIO":"","IS_SUPPORT":"","SUMMARY":"","CD_TIME":"Oct 24, 2025 4:44:23 PM","CD_BATCH":"2025102400019","DISTRIBUTETAG":"all-data^non-investment^11110000MB1503996K^110000000000^non-construction^11110000MB1503996K^non-construction_expansion","DATAJSONTEXT":"{\"VERSION\":\"20220810\",\"TREE_TYPE\":\"\",\"CONSULTATION_QA\":\"\"}","parOrder":"","proOrder":"","newOrderNum":"002.001","itemGuideConditionRelatedList":[{"ID":26201753,"TASKGUID":"4cfd37b9-d1c1-4efd-95a7-613d4fa6de24","T_ID":"ebcb062f-0579-4dc0-b7d2-8f778a4de2b7","G_ID":"fa794a6e-b111-4554-a9db-34a8e869adc1","M_CODE":"209088","MATERIAL_ID":"6321bdc7-5d4a-4de5-a81e-ed4cd8f2f9cf","CD_TIME":"Oct 24, 2025 4:44:23 PM","CD_BATCH":"2025102400019","DISTRIBUTETAG":"all-data^non-investment^11110000MB1503996K^110000000000^non-construction^11110000MB1503996K^non-construction_expansion","DATAJSONTEXT":"{\"VERSION\":\"20210903\"}"}]},{"ID":7434369,"TASKGUID":"4cfd37b9-d1c1-4efd-95a7-613d4fa6de24","T_ID":"a8c121fe-5a13-492f-bfa8-93d80def13f0","P_ID":"71f20a26-becf-4324-b060-46ea4ba4a585","NAME":"担保范围、抵押权顺位、被担保债权种类或者数额、债务履行期限、最高债权额、债权确定期间等发生变更","NODE_LEVEL":2,"NODE_PATH":"/71f20a26-becf-4324-b060-46ea4ba4a585/a8c121fe-5a13-492f-bfa8-93d80def13f0","CHILD_COUNT":1,"ORDER_NUM":2,"SERIAL_NUMBER":"2.2","CONDITION_ATTR":"02","IS_RADIO":"","IS_SUPPORT":"","SUMMARY":"","CD_TIME":"Oct 24, 2025 4:44:23 PM","CD_BATCH":"2025102400019","DISTRIBUTETAG":"all-data^non-investment^11110000MB1503996K^110000000000^non-construction^11110000MB1503996K^non-construction_expansion","DATAJSONTEXT":"{\"VERSION\":\"20220810\",\"TREE_TYPE\":\"\",\"CONSULTATION_QA\":\"\"}","parOrder":"","proOrder":"","newOrderNum":"002.002","itemGuideConditionRelatedList":[{"ID":26201340,"TASKGUID":"4cfd37b9-d1c1-4efd-95a7-613d4fa6de24","T_ID":"a8c121fe-5a13-492f-bfa8-93d80def13f0","G_ID":"42311123-3fe1-41d5-8bbf-96b27253aca6","M_CODE":"203710","MATERIAL_ID":"73aa6300-9bdb-4563-9211-d0ddf2c6622a","CD_TIME":"Oct 24, 2025 4:44:23 PM","CD_BATCH":"2025102400019","DISTRIBUTETAG":"all-data^non-investment^11110000MB1503996K^110000000000^non-construction^11110000MB1503996K^non-construction_expansion","DATAJSONTEXT":"{\"VERSION\":\"20210903\"}"}]},{"ID":7434364,"TASKGUID":"4cfd37b9-d1c1-4efd-95a7-613d4fa6de24","T_ID":"73469f19-f3a0-42d3-ad59-64dbda0fd81d","P_ID":"a8c121fe-5a13-492f-bfa8-93d80def13f0","NAME":"是否对其他抵押权人(含预告登记权利人)产生不利影响","NODE_LEVEL":3,"NODE_PATH":"/71f20a26-becf-4324-b060-46ea4ba4a585/a8c121fe-5a13-492f-bfa8-93d80def13f0/73469f19-f3a0-42d3-ad59-64dbda0fd81d","CHILD_COUNT":2,"ORDER_NUM":1,"SERIAL_NUMBER":"2.2.1","CONDITION_ATTR":"01","IS_RADIO":"1","IS_SUPPORT":"","SUMMARY":"","CD_TIME":"Oct 24, 2025 4:44:23 PM","CD_BATCH":"2025102400019","DISTRIBUTETAG":"all-data^non-investment^11110000MB1503996K^110000000000^non-construction^11110000MB1503996K^non-construction_expansion","DATAJSONTEXT":"{\"VERSION\":\"20220810\",\"TREE_TYPE\":\"\",\"CONSULTATION_QA\":\"\"}","parOrder":"2","proOrder":"1","newOrderNum":"002.002.001","itemGuideConditionRelatedList":[]},{"ID":7434353,"TASKGUID":"4cfd37b9-d1c1-4efd-95a7-613d4fa6de24","T_ID":"092b4896-532a-4cfd-a592-843e84ede8ab","P_ID":"73469f19-f3a0-42d3-ad59-64dbda0fd81d","NAME":"是","NODE_LEVEL":4,"NODE_PATH":"/71f20a26-becf-4324-b060-46ea4ba4a585/a8c121fe-5a13-492f-bfa8-93d80def13f0/73469f19-f3a0-42d3-ad59-64dbda0fd81d/092b4896-532a-4cfd-a592-843e84ede8ab","CHILD_COUNT":0,"ORDER_NUM":1,"SERIAL_NUMBER":"2.2.1.1","CONDITION_ATTR":"02","IS_RADIO":"","IS_SUPPORT":"","SUMMARY":"","CD_TIME":"Oct 24, 2025 4:44:23 PM","CD_BATCH":"2025102400019","DISTRIBUTETAG":"all-data^non-investment^11110000MB1503996K^110000000000^non-construction^11110000MB1503996K^non-construction_expansion","DATAJSONTEXT":"{\"VERSION\":\"20220810\",\"TREE_TYPE\":\"\",\"CONSULTATION_QA\":\"\"}","parOrder":"","proOrder":"","newOrderNum":"002.002.001.001","itemGuideConditionRelatedList":[{"ID":26201521,"TASKGUID":"4cfd37b9-d1c1-4efd-95a7-613d4fa6de24","T_ID":"092b4896-532a-4cfd-a592-843e84ede8ab","G_ID":"d7beb0ef-87c3-4055-8c5b-c8b54e9226f2","M_CODE":"203571","MATERIAL_ID":"5c5b3370-cd8b-468f-9b2a-f2f87309c494","CD_TIME":"Oct 24, 2025 4:44:23 PM","CD_BATCH":"2025102400019","DISTRIBUTETAG":"all-data^non-investment^11110000MB1503996K^110000000000^non-construction^11110000MB1503996K^non-construction_expansion","DATAJSONTEXT":"{\"VERSION\":\"20210903\"}"},{"ID":26201539,"TASKGUID":"4cfd37b9-d1c1-4efd-95a7-613d4fa6de24","T_ID":"092b4896-532a-4cfd-a592-843e84ede8ab","G_ID":"535e6cb5-4a43-443f-bd9b-f732835d67a9","M_CODE":"209630","MATERIAL_ID":"03f8ca32-e707-4f0c-89b1-b12c82f2aa80","CD_TIME":"Oct 24, 2025 4:44:23 PM","CD_BATCH":"2025102400019","DISTRIBUTETAG":"all-data^non-investment^11110000MB1503996K^110000000000^non-construction^11110000MB1503996K^non-construction_expansion","DATAJSONTEXT":"{\"VERSION\":\"20210903\"}"}]},{"ID":7434357,"TASKGUID":"4cfd37b9-d1c1-4efd-95a7-613d4fa6de24","T_ID":"485b92e8-8935-4299-b484-a6e61f638912","P_ID":"73469f19-f3a0-42d3-ad59-64dbda0fd81d","NAME":"否","NODE_LEVEL":4,"NODE_PATH":"/71f20a26-becf-4324-b060-46ea4ba4a585/a8c121fe-5a13-492f-bfa8-93d80def13f0/73469f19-f3a0-42d3-ad59-64dbda0fd81d/485b92e8-8935-4299-b484-a6e61f638912","CHILD_COUNT":0,"ORDER_NUM":2,"SERIAL_NUMBER":"2.2.1.2","CONDITION_ATTR":"02","IS_RADIO":"","IS_SUPPORT":"","SUMMARY":"","CD_TIME":"Oct 24, 2025 4:44:23 PM","CD_BATCH":"2025102400019","DISTRIBUTETAG":"all-data^non-investment^11110000MB1503996K^110000000000^non-construction^11110000MB1503996K^non-construction_expansion","DATAJSONTEXT":"{\"VERSION\":\"20220810\",\"TREE_TYPE\":\"\",\"CONSULTATION_QA\":\"\"}","parOrder":"","proOrder":"","newOrderNum":"002.002.001.002","itemGuideConditionRelatedList":[]}]
2
1^2^3^4^5^6^9
https://bjt.beijing.gov.cn/renzheng/open/login/goUserLogin?client_id=100100000228&redirect_uri=http://bdc.ghzrzyw.beijing.gov.cn/eo/user/bjtLogin&state=PC_101624010206&response_type=code&scope=user_info;https://yzt.beijing.gov.cn/am/oauth2/authorize?service=bjzwService&response_type=code&client_id=000026681_04&scope=cn+uid+idCardNumber+reserve3+extProperties+credenceClass&redirect_uri=http%3A%2F%2Fbdc.ghzrzyw.beijing.gov.cn%2Feo%2Fuser%2FyztLogin%3Fstate%3D101624010206

政务服务> 办事指南

抵押权变更登记

北京市

切换简洁版

  • 承诺件

    办件类型

  • 0

    到现场次数

  • 30工作日

    法定办结时限

  • 5工作日

    承诺办结时限

好差评

5.0

办件承诺办结时限说明:(承诺时限为办理流程中“审查与决定”环节的计时时限)

办件承诺办结时限说明:

(承诺时限为办理流程中“审查与决定”环节的计时时限)

基本信息

实施主体 北京市规划和自然资源委员会 服务对象 自然人、企业法人、事业法人、社会组织法人、非法人企业、行政机关、其他组织
事项类型 行政确认 办理形式 窗口办理、网上办理
受理条件 已经登记的抵押权,因下列情形发生变更的,当事人可以申请抵押权变更登记: 1.权利人姓名或者名称、身份证件类型或者身份证件号码发生变化的; 2.担保范围发生变化的; 3.抵押权顺位发生变更的; 4.被担保的主债权种类或者数额发生变化的; 5.债务履行期限发生变化的; 6.最高债权额发生变化的; 7.最高额抵押权债权确定的期间发生变化的; 8.不动产发生转移导致抵押人发生变化的; 9.对抵押不动产转移禁止或限制性约定发生变化的; 10.法律、行政法规规定的其他情形。
办理时间 北京市政务服务中心:法定工作日: 上午: 09:00 - 12:00; 下午: 13:30 - 17:00; (延时服务时间: 工作日上午08:30 - 09:00; 下午17:00 - 17:30; 周六上午09:00 - 13:00; );北京城市副中心政务服务中心:法定工作日: 上午: 09:00 - 12:00; 下午: 12:00 - 17:00; (延时服务时间: 工作日上午08:30 - 09:00; 下午17:00 - 17:30; 周六上午09:00 - 13:00; ) 查看详情
办理地点 北京市政务服务中心:北京市丰台区西三环南路1号(六里桥西南角)综合窗口 北京城市副中心政务服务中心:北京市通州区新华东街48号二区(东南角)综合窗口 查看详情
咨询方式

咨询电话:

(010)89150318【展开】

咨询窗口地址:

北京市政务服务中心:北京市丰台区西三环南路1号(六里桥西南角)2层C岛综合窗口 北京城市副中心政务服务中心:北京市通州区新华东街48号二区(东南角)(综合窗口)【展开】

投诉监督方式

投诉监督电话:

(010)12345【展开】

基本编码 000715001014 事项编码 11110000MB1503996K2000715001014
业务办理项编码 11110000MB1503996K200071500101402 进驻大厅类型 政务服务中心
权力来源 法定本级行使 网上支付
所属机构 北京市规划和自然资源委员会 委托部门
联办机构 实施主体性质 法定机关
办理进程查询途径 网上查询:http://bdc.ghzrzyw.beijing.gov.cn/eo/
行使层级 市级 运行系统 市级自建(垂管)
物流快递 办理方式 自办件
预约办理 数量限制 无数量限制
中介服务 权限划分 分条件办理(市区)
通办范围 全区 特殊程序
行使内容 对涉及在京中央和国家机关、驻京部队、保密单位的业务为市级办理 ,其余的登记业务在不动产所在地的各区不动产登记中心办理
显示更多

请选择情形:

提示:通过情形选择可引导出您办理该事项所需的材料,若要查看全部材料,请点击"查看全部材料"

查看全部材料 情形引导

收起
我选好了重选条件

序号 材料名称 材料来源 材料
必要性
数量要求 介质要求 表格及样例
下载
受理标准 提供材料
依据
其他要求
申请材料总要求委托办理的:提交授权委托书(原件1份)、受托人身份材料(原件1份,复印件1份);无、限制民事行为能力人申请登记的:提交证实被监护人为无、限制民事行为能力人的材料(原件1份,复印件1份)、监护关系材料(原件1份,复印件1份)、监护人的身份材料(原件1份,复印件1份)。提交原件的,应提交原件;未要求提交申请材料原件的,提交与原件核验一致的复印件,并经登记部门工作人员比对后,由登记部门工作人员签字并加盖原件相符章。
序号 材料名称 材料来源 材料
必要性
数量要求 介质要求 表格及样例
下载
受理标准 提供材料
依据
其他要求
不动产登记申请书申请人自备必要原件1份文本类;纸质样例下载1.综窗人员登录北京市不动产登记信息系统V2.0录入信息,在系统中打印不动产登记申请书; 2.使用A4纸打印,原件; 2.申请人核对相关信息无误后签字确认或加盖公章。【展开】《中华人民共和国民法典》第二百一十一条 当事人申请登记,应当根据不同登记事项提供权属证明和不动产界址、面积等必要材料。 《不动产登记暂行条例》第十六条 申请人应当提交下列材料,并对申请材料的真实性负责:(一)登记申请书【展开】不动产登记大厅窗口工作人员录入相关信息,通过系统打印后,由申请人签字确认,申请人无需填写。【展开】
二、申请人身份材料
(一)、境内自然人
1、成年人
中华人民共和国居民身份证政府部门核发来源说明>必要正本原件1份(正本原件仅供查验);正本复印件1份结果文书类;纸质样例下载1.照面清晰完整;证件在有效期内;居民身份证与户口簿上的姓名、性别、出生日期、公民身份号码应当一致(户口簿上的公民身份号码为升位前15位数字的,视为一致),不一致的(户口簿上无公民身份号码的,视为不一致),当事人应当先到户口登记机关更正户口簿或者补领新的居民身份证。居民身份证有效期满、严重损坏不能辨认(不含无法通过身份证阅读器读取芯片信息)或者照片与本人相貌特征发生较大变化的,当事人应当补领新的居民身份证或者提交有效的临时居民身份证 2.原件 3.公安机关出具【展开】《中华人民共和国民法典》第二百一十一条 当事人申请登记,应当根据不同登记事项提供权属证明和不动产界址、面积等必要材料。 《不动产登记暂行条例》第十六条 申请人应当提交下列材料,并对申请材料的真实性负责:(二)申请人、代理人身份证明材料、授权委托书【展开】【展开】
2、未成年人
中华人民共和国居民身份证政府部门核发来源说明>必要正本原件1份(正本原件仅供查验);正本复印件1份结果文书类;纸质样例下载1.照面清晰完整;证件在有效期内;居民身份证与户口簿上的姓名、性别、出生日期、公民身份号码应当一致(户口簿上的公民身份号码为升位前15位数字的,视为一致),不一致的(户口簿上无公民身份号码的,视为不一致),当事人应当先到户口登记机关更正户口簿或者补领新的居民身份证。居民身份证有效期满、严重损坏不能辨认(不含无法通过身份证阅读器读取芯片信息)或者照片与本人相貌特征发生较大变化的,当事人应当补领新的居民身份证或者提交有效的临时居民身份证 2.原件 3.公安机关出具【展开】《中华人民共和国民法典》第二百一十一条 当事人申请登记,应当根据不同登记事项提供权属证明和不动产界址、面积等必要材料。 《不动产登记暂行条例》第十六条 申请人应当提交下列材料,并对申请材料的真实性负责:(二)申请人、代理人身份证明材料、授权委托书【展开】【展开】
居民户口簿政府部门核发来源说明>必要正本原件1份(正本原件仅供查验);正本复印件1份结果文书类;纸质样例下载1、内容清晰完整,页面无折损、污迹 2、需提交居民户口簿原件 3、公安机关出具【展开】《中华人民共和国民法典》第二百一十一条 当事人申请登记,应当根据不同登记事项提供权属证明和不动产界址、面积等必要材料。 《不动产登记暂行条例》第十六条 申请人应当提交下列材料,并对申请材料的真实性负责:(二)申请人、代理人身份证明材料、授权委托书【展开】【展开】
3相应身份文件申请人自备必要原件1份(原件仅供查验);复印件1份文本类;纸质样例下载1、内容清晰完整,页面无折损、污迹 2、需提交原件 3、公安机关出具【展开】《中华人民共和国民法典》第二百一十一条 当事人申请登记,应当根据不同登记事项提供权属证明和不动产界址、面积等必要材料。 《不动产登记暂行条例》第十六条 申请人应当提交下列材料,并对申请材料的真实性负责:(二)申请人、代理人身份证明材料、授权委托书【展开】个体工商户或农村承包经营户提供【展开】
4、个体工商户
中华人民共和国居民身份证政府部门核发来源说明>必要原件1份;复印件1份结果文书类;纸质样例下载1.提交的证照证件或批复文件齐全完整、合法有效; 2.证照证件需在有效期之内; 3.提交的复印件需与原件保持一致。【展开】《中华人民共和国民法典》第二百一十一条 当事人申请登记,应当根据不同登记事项提供权属证明和不动产界址、面积等必要材料。 《不动产登记暂行条例》第十六条 申请人应当提交下列材料,并对申请材料的真实性负责:(二)申请人、代理人身份证明材料、授权委托书【展开】【展开】
(二)、香港、澳门特别行政区自然人
1香港、澳门特别行政区香港永久性居民身份证政府部门核发来源说明>必要正本原件1份(正本原件仅供查验);正本复印件1份结果文书类;纸质样例下载1.照面清晰完整;证件在有效期内;真实有效,信息准确。 2.正本原件1份 3.政府部门(公安部门)出具【展开】《中华人民共和国民法典》第二百一十一条 当事人申请登记,应当根据不同登记事项提供权属证明和不动产界址、面积等必要材料。 《不动产登记暂行条例》第十六条 申请人应当提交下列材料,并对申请材料的真实性负责:(二)申请人、代理人身份证明材料、授权委托书【展开】【展开】
澳门永久性居民身份证政府部门核发来源说明>必要正本原件1份(正本原件仅供查验);正本复印件1份结果文书类;纸质样例下载1.照面清晰完整;证件在有效期内;真实有效,信息准确。 2.正本原件1份 3.中华人民共和国澳门特别行政区身份证明局出具【展开】《中华人民共和国民法典》第二百一十一条 当事人申请登记,应当根据不同登记事项提供权属证明和不动产界址、面积等必要材料。 《不动产登记暂行条例》第十六条 申请人应当提交下列材料,并对申请材料的真实性负责:(二)申请人、代理人身份证明材料、授权委托书【展开】【展开】
中华人民共和国澳门特别行政区护照政府部门核发来源说明>必要正本原件1份(正本原件仅供查验);正本复印件1份结果文书类;纸质样例下载证件真实有效【展开】《中华人民共和国民法典》第二百一十一条 当事人申请登记,应当根据不同登记事项提供权属证明和不动产界址、面积等必要材料。 《不动产登记暂行条例》第十六条 申请人应当提交下列材料,并对申请材料的真实性负责:(二)申请人、代理人身份证明材料、授权委托书【展开】【展开】
中华人民共和国香港特别行政区护照政府部门核发来源说明>必要正本原件1份(正本原件仅供查验);正本复印件1份结果文书类;纸质样例下载1.照面清晰完整;证件在有效期内;真实有效,信息准确。 2.正本原件1份 3.政府部门出具【展开】《中华人民共和国民法典》第二百一十一条 当事人申请登记,应当根据不同登记事项提供权属证明和不动产界址、面积等必要材料。 《不动产登记暂行条例》第十六条 申请人应当提交下列材料,并对申请材料的真实性负责:(二)申请人、代理人身份证明材料、授权委托书【展开】【展开】
港澳居民来往内地通行证政府部门核发来源说明>必要正本原件1份(正本原件仅供查验);正本复印件1份结果文书类;纸质样例下载1.照面清晰完整;证件在有效期内;身份信息与本人身份证信息一致 2.原件 3.公安部出入境管理局出具【展开】《中华人民共和国民法典》第二百一十一条 当事人申请登记,应当根据不同登记事项提供权属证明和不动产界址、面积等必要材料。 《不动产登记暂行条例》第十六条 申请人应当提交下列材料,并对申请材料的真实性负责:(二)申请人、代理人身份证明材料、授权委托书【展开】【展开】
中华人民共和国港澳居民居住证政府部门核发来源说明>必要正本原件1份(正本原件仅供查验);正本复印件1份结果文书类;纸质样例下载1.提交的证照证件或批复文件齐全完整、合法有效; 2.证照证件需在有效期之内; 3.提交的复印件需与原件保持一致。【展开】《不动产登记暂行条例》第十六条 申请人应当提交下列材料,并对申请材料的真实性负责:(二)申请人、代理人身份证明材料、授权委托书【展开】【展开】
(三)、台湾地区自然人
1台湾居民来往大陆通行证政府部门核发来源说明>必要正本原件1份(正本原件仅供查验);正本复印件1份结果文书类;纸质样例下载1.照面清晰完整;证件在有效期内;身份信息与本人身份证信息一致 2.原件 3.公安部出入境管理局出具【展开】《中华人民共和国民法典》第二百一十一条 当事人申请登记,应当根据不同登记事项提供权属证明和不动产界址、面积等必要材料。 《不动产登记暂行条例》第十六条 申请人应当提交下列材料,并对申请材料的真实性负责:(二)申请人、代理人身份证明材料、授权委托书【展开】【展开】
台湾居民居住证政府部门核发来源说明>必要原件1份(原件仅供查验);复印件1份结果文书类;纸质样例下载1.照面清晰完整;证件在有效期内;身份信息与本人身份证信息一致 2.原件 3.公安部出入境管理局出具【展开】《中华人民共和国民法典》第二百一十一条 当事人申请登记,应当根据不同登记事项提供权属证明和不动产界址、面积等必要材料。 《不动产登记暂行条例》第十六条 申请人应当提交下列材料,并对申请材料的真实性负责:(二)申请人、代理人身份证明材料、授权委托书【展开】【展开】
(四)、华侨
1中华人民共和国护照政府部门核发来源说明>必要正本原件1份(正本原件仅供查验);正本复印件1份结果文书类;纸质样例下载1.照面清晰完整;证件在有效期内;真实有效,信息准确。 2.正本原件1份 3.政府部门(公安部门)出具【展开】《中华人民共和国民法典》第二百一十一条 当事人申请登记,应当根据不同登记事项提供权属证明和不动产界址、面积等必要材料。 《不动产登记暂行条例》第十六条 申请人应当提交下列材料,并对申请材料的真实性负责:(二)申请人、代理人身份证明材料、授权委托书【展开】【展开】
2国外长期居留身份文件申请人自备必要原件1份(原件仅供查验);复印件1份文本类;纸质样例下载1.照面清晰完整;证件在有效期内;真实有效,信息准确。 2.正本原件1份 3.政府部门(公安部门)出具【展开】《中华人民共和国民法典》第二百一十一条 当事人申请登记,应当根据不同登记事项提供权属证明和不动产界址、面积等必要材料。 《不动产登记暂行条例》第十六条 申请人应当提交下列材料,并对申请材料的真实性负责:(二)申请人、代理人身份证明材料、授权委托书【展开】【展开】
(五)、外籍自然人
1中国政府主管机关签发的居留证件政府部门核发来源说明>必要原件1份(原件仅供查验);复印件1份文本类;纸质样例下载1.照面清晰完整;证件在有效期内;真实有效,信息准确。 2.正本原件1份 3.政府部门(公安部门)出具【展开】《中华人民共和国民法典》第二百一十一条 当事人申请登记,应当根据不同登记事项提供权属证明和不动产界址、面积等必要材料。 《不动产登记暂行条例》第十六条 申请人应当提交下列材料,并对申请材料的真实性负责:(二)申请人、代理人身份证明材料、授权委托书【展开】【展开】
2外国护照政府部门核发来源说明>必要原件1份(原件仅供查验);复印件1份文本类;纸质样例下载1.照面清晰完整;证件在有效期内;真实有效,信息准确。 2.正本原件1份 3.政府部门(护照核发部门)出具【展开】《中华人民共和国民法典》第二百一十一条 当事人申请登记,应当根据不同登记事项提供权属证明和不动产界址、面积等必要材料。 《不动产登记暂行条例》第十六条 申请人应当提交下列材料,并对申请材料的真实性负责:(二)申请人、代理人身份证明材料、授权委托书【展开】【展开】
(六)、境内营利法人
1营业执照政府部门核发来源说明>必要正本原件1份(正本原件仅供查验);正本复印件1份结果文书类;纸质样例下载1、统一社会信用代码、名称须与申请人信息一致。 2、营业期限须在有效期范围内 3、由市场监督管理部门发放【展开】《中华人民共和国民法典》第二百一十一条 当事人申请登记,应当根据不同登记事项提供权属证明和不动产界址、面积等必要材料。 《不动产登记暂行条例》第十六条 申请人应当提交下列材料,并对申请材料的真实性负责:(二)申请人、代理人身份证明材料、授权委托书【展开】【展开】
(七)、境内非营利法人
1事业单位法人证书政府部门核发来源说明>必要正本原件1份(正本原件仅供查验);正本复印件1份结果文书类;纸质样例下载1、名称与申请人信息一致 2、事业单位法人证书在有效期范围内 3、由中共北京市委机构编制委员会办公室发放【展开】《中华人民共和国民法典》第二百一十一条 当事人申请登记,应当根据不同登记事项提供权属证明和不动产界址、面积等必要材料。 《不动产登记暂行条例》第十六条 申请人应当提交下列材料,并对申请材料的真实性负责:(二)申请人、代理人身份证明材料、授权委托书【展开】【展开】
2社会团体法人登记证书政府部门核发来源说明>必要正本原件1份(正本原件仅供查验);正本复印件1份结果文书类;纸质样例下载1.统一社会信用代码、名称须与申请人信息一致; 2.证件需在有效期之内; 3.由民政部门发放【展开】《中华人民共和国民法典》第二百一十一条 当事人申请登记,应当根据不同登记事项提供权属证明和不动产界址、面积等必要材料。 《不动产登记暂行条例》第十六条 申请人应当提交下列材料,并对申请材料的真实性负责:(二)申请人、代理人身份证明材料、授权委托书【展开】【展开】
3基金会法人登记证书政府部门核发来源说明>必要正本原件1份(正本原件仅供查验);正本复印件1份结果文书类;纸质样例下载1.统一社会信用代码、名称须与申请人信息一致; 2.证件需在有效期之内; 3.由民政部门发放【展开】《中华人民共和国民法典》第二百一十一条 当事人申请登记,应当根据不同登记事项提供权属证明和不动产界址、面积等必要材料。 《不动产登记暂行条例》第十六条 申请人应当提交下列材料,并对申请材料的真实性负责:(二)申请人、代理人身份证明材料、授权委托书【展开】【展开】
4社会服务机构登记证书政府部门核发来源说明>必要正本原件1份(正本原件仅供查验);正本复印件1份结果文书类;纸质样例下载1.统一社会信用代码、名称须与申请人信息一致; 2.证件需在有效期之内; 3.由民政部门发放【展开】《中华人民共和国民法典》第二百一十一条 当事人申请登记,应当根据不同登记事项提供权属证明和不动产界址、面积等必要材料。 《不动产登记暂行条例》第十六条 申请人应当提交下列材料,并对申请材料的真实性负责:(二)申请人、代理人身份证明材料、授权委托书【展开】【展开】
5身份文件申请人自备必要原件1份(原件仅供查验);复印件1份文本类;纸质样例下载1.统一社会信用代码、名称须与申请人信息一致; 2.证件需在有效期之内; 3.由民政部门发放【展开】《中华人民共和国民法典》第二百一十一条 当事人申请登记,应当根据不同登记事项提供权属证明和不动产界址、面积等必要材料。 《不动产登记暂行条例》第十六条 申请人应当提交下列材料,并对申请材料的真实性负责:(二)申请人、代理人身份证明材料、授权委托书【展开】【展开】
成立之日起即具有法人资格所依据的文件申请人自备必要原件1份(原件仅供查验);复印件1份文本类;纸质样例下载1.提交的证照证件或批复文件齐全完整、合法有效; 2.证照证件需在有效期之内; 3.提交的复印件需与原件保持一致。【展开】《中华人民共和国民法典》第二百一十一条 当事人申请登记,应当根据不同登记事项提供权属证明和不动产界址、面积等必要材料。 《不动产登记暂行条例》第十六条 申请人应当提交下列材料,并对申请材料的真实性负责:(二)申请人、代理人身份证明材料、授权委托书【展开】【展开】
(八)、境内特别法人
1统一社会信用代码证书政府部门核发来源说明>必要正本原件1份(正本原件仅供查验);正本复印件1份结果文书类;纸质样例下载1.统一社会信用代码、名称须与申请人信息一致; 2.证件需在有效期之内; 3.由民政部门发放【展开】《中华人民共和国民法典》第二百一十一条 当事人申请登记,应当根据不同登记事项提供权属证明和不动产界址、面积等必要材料。 《不动产登记暂行条例》第十六条 申请人应当提交下列材料,并对申请材料的真实性负责:(二)申请人、代理人身份证明材料、授权委托书【展开】【展开】
2北京市农村合作经济组织法人身份登记证件政府部门核发来源说明>必要正本原件1份(正本原件仅供查验);正本复印件1份结果文书类;纸质样例下载1.统一社会信用代码、名称须与申请人信息一致; 2.证件需在有效期之内; 3.由农业农村局发放【展开】《中华人民共和国民法典》第二百一十一条 当事人申请登记,应当根据不同登记事项提供权属证明和不动产界址、面积等必要材料。 《不动产登记暂行条例》第十六条 申请人应当提交下列材料,并对申请材料的真实性负责:(二)申请人、代理人身份证明材料、授权委托书【展开】【展开】
3城镇农村的合作经济组织法人身份登记证件政府部门核发来源说明>必要正本原件1份(正本原件仅供查验);正本复印件1份结果文书类;纸质样例下载1.提交的证照证件或批复文件齐全完整、合法有效; 2.证照证件需在有效期之内; 3.提交的复印件需与原件保持一致。【展开】《不动产登记暂行条例》第十六条 申请人应当提交下列材料,并对申请材料的真实性负责:(二)申请人、代理人身份证明材料、授权委托书【展开】【展开】
基层群众性自治组织法人身份登记材料政府部门核发来源说明>必要正本原件1份(正本原件仅供查验);正本复印件1份结果文书类;纸质样例下载1.提交的证照证件或批复文件齐全完整、合法有效; 2.证照证件需在有效期之内; 3.提交的复印件需与原件保持一致。【展开】《不动产登记暂行条例》第十六条 申请人应当提交下列材料,并对申请材料的真实性负责:(二)申请人、代理人身份证明材料、授权委托书【展开】【展开】
成立之日起即具有法人资格所依据的文件申请人自备必要原件1份(原件仅供查验);复印件1份文本类;纸质样例下载1.提交的证照证件或批复文件齐全完整、合法有效; 2.证照证件需在有效期之内; 3.提交的复印件需与原件保持一致。【展开】《中华人民共和国民法典》第二百一十一条 当事人申请登记,应当根据不同登记事项提供权属证明和不动产界址、面积等必要材料。 《不动产登记暂行条例》第十六条 申请人应当提交下列材料,并对申请材料的真实性负责:(二)申请人、代理人身份证明材料、授权委托书【展开】【展开】
(九)、境内非法人组织
1营业执照政府部门核发来源说明>必要正本原件1份(正本原件仅供查验);正本复印件1份结果文书类;纸质样例下载1、统一社会信用代码、名称须与申请人信息一致。 2、营业期限须在有效期范围内 3、由市场监督管理部门发放【展开】《中华人民共和国民法典》第二百一十一条 当事人申请登记,应当根据不同登记事项提供权属证明和不动产界址、面积等必要材料。 《不动产登记暂行条例》第十六条 申请人应当提交下列材料,并对申请材料的真实性负责:(二)申请人、代理人身份证明材料、授权委托书【展开】【展开】
身份文件申请人自备必要原件1份(原件仅供查验);复印件1份文本类;纸质样例下载1、统一社会信用代码、名称须与申请人信息一致。 2、营业期限须在有效期范围内 3、由政府部门发放【展开】《中华人民共和国民法典》第二百一十一条 当事人申请登记,应当根据不同登记事项提供权属证明和不动产界址、面积等必要材料。 《不动产登记暂行条例》第十六条 申请人应当提交下列材料,并对申请材料的真实性负责:(二)申请人、代理人身份证明材料、授权委托书【展开】【展开】
(十)、香港特别行政区、澳门特别行政区、台湾地区的法人或非法人组织
1在境内设立分支机构或代表机构的批准文件政府部门核发来源说明>必要正本原件1份(正本原件仅供查验);正本复印件1份结果文书类;纸质样例下载1.批复文件内容齐全完整、与申请人信息一致; 2.证照证件需在有效期之内; 3.由市场监管部门、公安部门发放。【展开】《中华人民共和国民法典》第二百一十一条 当事人申请登记,应当根据不同登记事项提供权属证明和不动产界址、面积等必要材料。 《不动产登记暂行条例》第十六条 申请人应当提交下列材料,并对申请材料的真实性负责:(二)申请人、代理人身份证明材料、授权委托书【展开】【展开】
在境内设立分支机构或代表机构的注册文件政府部门核发来源说明>必要正本原件1份(正本原件仅供查验);正本复印件1份结果文书类;纸质样例下载1.批复文件内容齐全完整、与申请人信息一致; 2.证照证件需在有效期之内; 3.由市场监管部门、公安部门发放。【展开】《中华人民共和国民法典》第二百一十一条 当事人申请登记,应当根据不同登记事项提供权属证明和不动产界址、面积等必要材料。 《不动产登记暂行条例》第十六条 申请人应当提交下列材料,并对申请材料的真实性负责:(二)申请人、代理人身份证明材料、授权委托书【展开】【展开】
注册文件在注册地公证后经有关部门转递或确认的材料中介机构或法定机构产生来源说明>必要原件1份(原件仅供查验);复印件1份文本类;纸质样例下载1.材料内容齐全完整、与申请人信息一致; 2.证照证件需在有效期之内; 3.由中国法律服务(香港或者澳门)有限公司提供。【展开】《中华人民共和国民法典》第二百一十一条 当事人申请登记,应当根据不同登记事项提供权属证明和不动产界址、面积等必要材料。 《不动产登记暂行条例》第十六条 申请人应当提交下列材料,并对申请材料的真实性负责:(二)申请人、代理人身份证明材料、授权委托书【展开】【展开】
(十一)、境外法人或非法人组织
1在境内设立分支机构或代表机构的批准文件政府部门核发来源说明>必要正本原件1份(正本原件仅供查验);正本复印件1份结果文书类;纸质样例下载1.批复文件内容齐全完整、与申请人信息一致; 2.证照证件需在有效期之内; 3.由市场监管部门、公安部门发放。【展开】《中华人民共和国民法典》第二百一十一条 当事人申请登记,应当根据不同登记事项提供权属证明和不动产界址、面积等必要材料。 《不动产登记暂行条例》第十六条 申请人应当提交下列材料,并对申请材料的真实性负责:(二)申请人、代理人身份证明材料、授权委托书【展开】【展开】
在境内设立分支机构或代表机构的注册文件政府部门核发来源说明>必要正本原件1份(正本原件仅供查验);正本复印件1份结果文书类;纸质样例下载1.批复文件内容齐全完整、与申请人信息一致; 2.证照证件需在有效期之内; 3.由市场监管部门、公安部门发放。【展开】《中华人民共和国民法典》第二百一十一条 当事人申请登记,应当根据不同登记事项提供权属证明和不动产界址、面积等必要材料。 《不动产登记暂行条例》第十六条 申请人应当提交下列材料,并对申请材料的真实性负责:(二)申请人、代理人身份证明材料、授权委托书【展开】【展开】
注册文件在注册地公证后经中国驻外使(领)馆认证的材料政府部门核发来源说明>必要原件1份(原件仅供查验);复印件1份文本类;纸质样例下载1.材料内容齐全完整、与申请人信息一致; 2.证照证件需在有效期之内; 3.由中国驻外使(领)馆提供。【展开】《中华人民共和国民法典》第二百一十一条 当事人申请登记,应当根据不同登记事项提供权属证明和不动产界址、面积等必要材料。 《不动产登记暂行条例》第十六条 申请人应当提交下列材料,并对申请材料的真实性负责:(二)申请人、代理人身份证明材料、授权委托书【展开】【展开】
(十二)、外国驻华使(领)馆和外国驻华办事机构、国际组织驻华代表机构
1该使(领)馆、办事机构、代表机构的身份文件申请人自备必要原件1份(原件仅供查验);复印件1份文本类;纸质样例下载1.提交的证照证件或批复文件齐全完整、与申请人信息一致; 2.证照证件需在有效期之内; 3.申请人自备。【展开】《中华人民共和国民法典》第二百一十一条 当事人申请登记,应当根据不同登记事项提供权属证明和不动产界址、面积等必要材料。 《不动产登记暂行条例》第十六条 申请人应当提交下列材料,并对申请材料的真实性负责:(二)申请人、代理人身份证明材料、授权委托书【展开】【展开】
不动产权属证书政府部门核发来源说明>必要正本原件1份结果文书类;纸质样例下载1、证面印有中华人民共和国国徽,中华人民共和国不动产权证书字样;不动产证书记载内容主要有权利人、共有情况、坐落、面积、用途、使用年限、权利类型、权利性质、不动产权证书号、不动产单元号、权利其他状况、附记等信息。 2、原件 3、不动产登记部门出具【展开】《中华人民共和国民法典》第二百一十一条 当事人申请登记,应当根据不同登记事项提供权属证明和不动产界址、面积等必要材料。 《不动产登记暂行条例》第十六条 申请人应当提交下列材料,并对申请材料的真实性负责:(三)相关的不动产权属来源证明材料、登记原因证明文件、不动产权属证书;【展开】【展开】
《不动产登记证明》政府部门核发来源说明>必要正本原件1份(正本原件仅供查验);正本复印件1份结果文书类;纸质样例下载1、证面印有不动产登记证明字样;记载内容主要有不动产证明号、证明权利或事项、权利人、义务人、坐落、不动产权证书号、不动产单元号、权利其他状况、附记等信息。 2、原件 3、不动产登记部门出具【展开】《不动产登记暂行条例》第十六条 申请人应当提交下列材料,并对申请材料的真实性负责:(二)申请人、代理人身份证明材料、授权委托书【展开】【展开】
四、抵押权变更登记的材料
(一)、抵押权人或者抵押人姓名、名称变更的
1能够证实身份信息发生变化的文件申请人自备必要原件1份(原件仅供查验);复印件1份文本类;纸质样例下载1.材料内容齐全完整、与申请人信息一致; 2.变更前后内容具有关联性; 2.原件; 3.申请人自备。【展开】《中华人民共和国民法典》第二百一十一条 当事人申请登记,应当根据不同登记事项提供权属证明和不动产界址、面积等必要材料。 《不动产登记暂行条例》第十六条 申请人应当提交下列材料,并对申请材料的真实性负责:(三)相关的不动产权属来源证明材料、登记原因证明文件、不动产权属证书;【展开】【展开】
(二)、担保范围、抵押权顺位、被担保债权种类或者数额、债务履行期限、最高债权额、债权确定期间等发生变更的
1抵押人与抵押权人约定变更内容的协议申请人自备必要原件1份(原件仅供查验);复印件1份文本类;纸质样例下载1.材料内容载明抵押人与抵押权人约定变更的内容并签字或盖章; 2.变更前后内容具有关联性; 3.原件; 4.申请人自备。【展开】《中华人民共和国民法典》第二百一十一条 当事人申请登记,应当根据不同登记事项提供权属证明和不动产界址、面积等必要材料。 《不动产登记暂行条例》第十六条 申请人应当提交下列材料,并对申请材料的真实性负责:(三)相关的不动产权属来源证明材料、登记原因证明文件、不动产权属证书;【展开】【展开】
证实最高额抵押权担保的债权尚未确定的材料申请人自备必要原件1份文本类;纸质样例下载1.材料内容齐全完整、与申请人信息一致; 2.变更前后内容具有关联性; 2.原件; 3.申请人自备。【展开】《中华人民共和国民法典》第二百一十一条 当事人申请登记,应当根据不同登记事项提供权属证明和不动产界址、面积等必要材料。 《不动产登记暂行条例》第十六条 申请人应当提交下列材料,并对申请材料的真实性负责:(三)相关的不动产权属来源证明材料、登记原因证明文件、不动产权属证书;【展开】【展开】
六、因抵押权顺位、被担保债权数额、最高债权额、担保范围、债务履行期限发生变更等
(一)、对其他抵押权人(含预告登记权利人)产生不利影响的
1其他抵押权人(含预告登记权利人)的书面同意文件申请人自备必要原件1份(原件仅供查验);复印件1份文本类;纸质样例下载1.材料内容载明其他抵押权人(含预告登记权利人)同意的意思表示并签字或盖章; 2.原件; 3.申请人自备【展开】《中华人民共和国民法典》第二百一十一条 当事人申请登记,应当根据不同登记事项提供权属证明和不动产界址、面积等必要材料。 《不动产登记暂行条例》第十六条 申请人应当提交下列材料,并对申请材料的真实性负责:(三)相关的不动产权属来源证明材料、登记原因证明文件、不动产权属证书;(五)与他人利害关系的说明材料;【展开】【展开】
2身份文件申请人自备必要原件1份(原件仅供查验);复印件1份文本类;纸质样例下载1.提交的身份文件齐全完整、合法有效; 2.身份文件需在有效期之内; 3.原件; 3.申请人自备【展开】《中华人民共和国民法典》第二百一十一条 当事人申请登记,应当根据不同登记事项提供权属证明和不动产界址、面积等必要材料。 《不动产登记暂行条例》第十六条 申请人应当提交下列材料,并对申请材料的真实性负责:(三)相关的不动产权属来源证明材料、登记原因证明文件、不动产权属证书;(五)与他人利害关系的说明材料;【展开】【展开】
申请材料总要求委托办理的:提交授权委托书(原件1份)、受托人身份材料(原件1份,复印件1份);无、限制民事行为能力人申请登记的:提交证实被监护人为无、限制民事行为能力人的材料(原件1份,复印件1份)、监护关系材料(原件1份,复印件1份)、监护人的身份材料(原件1份,复印件1份)。提交原件的,应提交原件;未要求提交申请材料原件的,提交与原件核验一致的复印件,并经登记部门工作人员比对后,由登记部门工作人员签字并加盖原件相符章。
显示更多

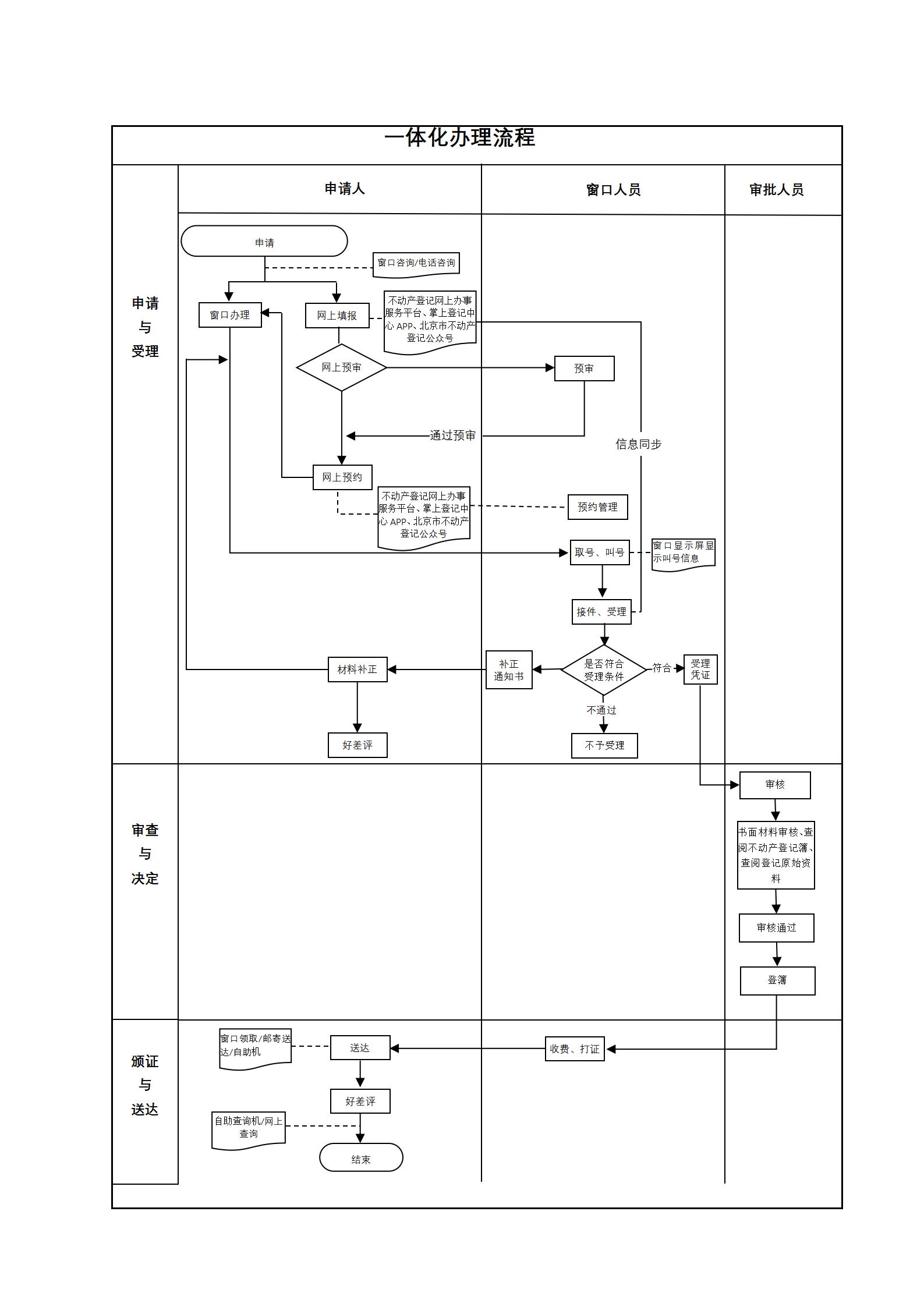
查看流程图

  • 申请与受理1

    办理步骤办理时限办理人员办理结果
    申报/收件0个工作日申请人/

    审查标准

    已经登记的抵押权,因下列情形发生变更的,当事人可以申请抵押权变更登记:
    1.权利人姓名或者名称、身份证件类型或者身份证件号码发生变化的;
    2.担保范围发生变化的;
    3.抵押权顺位发生变更的;
    4.被担保的主债权种类或者数额发生变化的;
    5.债务履行期限发生变化的;
    6.最高债权额发生变化的;
    7.最高额抵押权债权确定的期间发生变化的;
    8.不动产发生转移导致抵押人发生变化的;
    9.对抵押不动产转移禁止或限制性约定发生变化的;
    10.法律、行政法规规定的其他情形。
    【展开】
    办理步骤办理时限办理人员办理结果
    受理0个工作日综窗人员符合受理标准,出具《不动产登记受理凭证》; 不符合标准,出具《不动产登记不予受理告知书》。

    审查标准

    1.申请变更登记的抵押权是否已经登记;
    2.抵押权变更的材料是否齐全、有效;
    3.申请变更的事项与变更登记文件记载的变更事实是否一致;
    4.申请登记事项与不动产登记簿的记载是否冲突;
    5.抵押权变更影响其他抵押权人利益的,是否已经其他抵押权人书面同意;
    6.本规范第4章要求的其他审查事项。
    【展开】
  • 审查与决定2

    办理步骤办理时限办理人员办理结果
    审查3个工作日首席代表或部门负责人/

    审查标准

    一、一般性审查标准
    1.申请人是否按照登记部门要求进一步补充材料;
    2.申请人、委托代理人身份证明材料以及授权委托书是否与申请人一致;
    3.申请登记的不动产是否符合不动产单元设定条件;
    4.申请登记的事项与权属来源材料或者登记原因文件是否一致;
    5.申请登记的事项与不动产登记簿的记载是否相冲突;
    6.不动产是否存在权属争议,但申请异议登记除外;
    7.是否属于未依法缴纳土地出让价款、土地租金或者相关税费的;
    8.申请登记的不动产权利是否超过规定期限;
    9.是否属于不动产被依法查封期间,权利人处分该不动产申请登记的;
    10.是否属于未经预告登记权利人书面同意,当事人处分该不动产申请登记的;
    11.是否属于未办理不动产首次登记而申请办理其他类型登记的,法律、法规另有规定的除外;
    12.法律、行政法规规定的其他情形。
    二、业务性审核标准
    1.申请变更登记的抵押权是否已经登记;
    2.抵押权变更的材料是否齐全、有效;
    3.申请变更的事项与变更登记文件记载的变更事实是否一致;
    4.申请登记事项与不动产登记簿的记载是否冲突;
    5.抵押权变更影响其他抵押权人利益的,是否已经其他抵押权人书面同意;
    6.本规范第4章要求的其他审查事项。
    【展开】
    办理步骤办理时限办理人员办理结果
    决定2个工作日首席代表或部门负责人 符合登记条件,记载于登记簿。

    审查标准

    1.申请变更登记的抵押权是否已经登记;
    2.抵押权变更的材料是否齐全、有效;
    3.申请变更的事项与变更登记文件记载的变更事实是否一致;
    4.申请登记事项与不动产登记簿的记载是否冲突;
    5.抵押权变更影响其他抵押权人利益的,是否已经其他抵押权人书面同意;
    6.本规范第4章要求的其他审查事项。
    【展开】
  • 颁证与送达3

    办理步骤办理时限办理人员结果名称
    制证0个工作日制证人员
    发证0个工作日制证人员

    1、《不动产登记证明》

    送达方式
    窗口领取邮寄送达

《不动产登记证明》
结果名称《不动产登记证明》
结果文书类型证照
结果样本不动产登记证明.docx
有效时间无时限

【法律】中华人民共和国民法典
制定机关全国人民代表大会常务委员会
依据名称中华人民共和国民法典
发布号令(文号)2020年5月28日 2021年1月1日 中华人民共和国主席令第45号
法条(具体规定)内容第二百一十条:不动产登记,由不动产所在地的登记机构办理。国家对不动产实行统一登记制度。统一登记的范围、登记机构和登记办法,由法律、行政法规规定。 【展开】

是否收费:

1、不同抵押权人可以重新约定抵押权的顺位后申请变更登记吗?
可以

指南分享

党政机关

移动版

主办:北京市人民政府办公厅

承办:北京市政务服务和数据管理局

版权所有:北京市人民政府网站 京ICP备05060933号

政府网站标识码:1100000088 京公网安备 11010502039640 京ICP备05060933号

运行管理:首都之窗运行管理中心

请选择您的办理区域:

北京市

请选择需要办理的事项: