2
07
11110000MB1503996K
北京市规划和自然资源委员会
查封登记
11110000MB1503996K200071500101802
11110000MB1503996K2000715001018
0
9558e71c-0bd1-49df-9204-feb1619664e3
3e106a59-02c6-455e-b36b-8dca43aa6e4d
2^3
07
市规划自然资源委
110000000000
北京市规划和自然资源委员会
法定工作日: 上午08:30 - 12:00、下午12:00 - 17:30; 周六:上午:08:30 - 12:30(需预约);法定节假日不对外服务。;法定工作日: 上午: 09:00 - 12:00; 下午: 12:00 - 17:00; (延时服务时间: 工作日上午08:30 - 09:00; 下午17:00 - 17:30; 周六上午09:00 - 13:00; )...
北京市政务服务中心:北京市丰台区西三环南路1号(六里桥西南角)综合窗口 北京城市副中心政务服务中心:北京市通州区新华东街48号二区(东南角)综合窗口
1、不动产界址、空间界限、面积等材料与申请登记的不动产状况一致;2、有关证明材料、文件与申请登记的内容一致;3、登记申请符合法律、行政法规规定。(依据来源:《不动产登记暂行条例》第十八条)
{"IS_GUIDE":"1","ONLINE_DECLARE_SYSTEM_MODE":"","ITEM_REALITY_USELEVEL":"","SERVICE_OBJCT":"","IS_CONSTRUCTION":"0","CL_SERVICE_TYPE":"","APP_CODE_ID":"","YESNO_CITY_UNICOM":"0^1","CROSS_AREA":"","ISSHOHCENTER":"0","WECHAT_CODE_ID":"","FINANCIAL":"","LITTLEPROGRAM_CODE_NAME":"","CROSS_AREA_ALL":"","CROSS_PROVINCE":"","ALIAS_NAME":"[\"查封登记\"]","EAR_DISABILITY_GRAD":"","LIB_DISABILITY_GRAD":"","SPEAK_DISABILITY_GRAD":"","REGISTER":"","ONLINE_HANDLING_DEPTH_STANDARD":"05","APPROVAL_TYPE":"0","MIND_DISABILITY_GRAD":"","ACCEPTSERVICE":"99","YWBLX_ID":"4126bd78-68b7-4b47-be5f-6aad948e3b84","ONLINE_DECLARE_SYSTEM_DEPT":"","CONSTRUCTION_EXPANSION":"0","EMPOWER":"0","EXEMPT_MATERIALS":"","LITTLEPROGRAM_CODE_ID":"","EYE_DISABILITY_GRAD":"","ISMONVEINCENTER":"1","DATA_FLAG":"","BUSINESS_APPROVAL_DEPT":"北京市规划和自然资源委员会","POWER_NAME":"不动产统一登记","ITEM_ATTRIBUTE":"01^04^05^11","CROSS_AREA_ATEXT":"","AGE":"","BGSYSTEM_APPROVAL_OTHER":"北京市不动产登记信息系统v2.0","WIT_DISABILITY_GRAD":"","WECHAT_CODE_NAME":"","POWER_CODE":"H1202814","DISABILITY_TYPE":"","IS_ENABLE_CERTIFICATE_SHARE":"","POWER_ATTRIBUTE":"1","ONLY_ID":"26315dc8-81ed-11ea-8de7-fa163e4f9ad9","YES_NO_OPEN":"1","BGSYSTEM_APPROVAL_NAME":"其他","APP_CODE_NAME":"","HOLDER":"","VERSION":"20241125"}
[{"ID":7855766,"TASKGUID":"9558e71c-0bd1-49df-9204-feb1619664e3","T_ID":"ec8437f0-9aad-451e-904e-e1f125f53616","P_ID":"","NAME":"是否委托其他法院送达","NODE_LEVEL":1,"NODE_PATH":"/ec8437f0-9aad-451e-904e-e1f125f53616","CHILD_COUNT":2,"ORDER_NUM":1,"SERIAL_NUMBER":"1","CONDITION_ATTR":"01","IS_RADIO":"1","IS_SUPPORT":"1","SUMMARY":"1 是否委托其他法院送达\n\t1.1 是\n\t1.2 否","CD_TIME":"Dec 5, 2025 11:52:18 AM","CD_BATCH":"2025120500015","DISTRIBUTETAG":"all-data^non-investment^11110000MB1503996K^110000000000^non-construction^11110000MB1503996K^non-construction_expansion","DATAJSONTEXT":"{\"VERSION\":\"20220810\",\"TREE_TYPE\":\"\",\"CONSULTATION_QA\":\"\"}","parOrder":"","proOrder":"1","newOrderNum":"001","itemGuideConditionRelatedList":[]},{"ID":7855760,"TASKGUID":"9558e71c-0bd1-49df-9204-feb1619664e3","T_ID":"3a741407-a435-4393-89ca-5b4f15d54877","P_ID":"ec8437f0-9aad-451e-904e-e1f125f53616","NAME":"是","NODE_LEVEL":2,"NODE_PATH":"/ec8437f0-9aad-451e-904e-e1f125f53616/3a741407-a435-4393-89ca-5b4f15d54877","CHILD_COUNT":0,"ORDER_NUM":1,"SERIAL_NUMBER":"1.1","CONDITION_ATTR":"02","IS_RADIO":"","IS_SUPPORT":"","CD_TIME":"Dec 5, 2025 11:52:18 AM","CD_BATCH":"2025120500015","DISTRIBUTETAG":"all-data^non-investment^11110000MB1503996K^110000000000^non-construction^11110000MB1503996K^non-construction_expansion","DATAJSONTEXT":"{\"VERSION\":\"20220810\",\"TREE_TYPE\":\"\",\"CONSULTATION_QA\":\"\"}","parOrder":"","proOrder":"","newOrderNum":"001.001","itemGuideConditionRelatedList":[{"ID":26486857,"TASKGUID":"9558e71c-0bd1-49df-9204-feb1619664e3","T_ID":"3a741407-a435-4393-89ca-5b4f15d54877","G_ID":"6ccd7d15-f7c7-40d5-b7f7-7522a04b9270","M_CODE":"345012","MATERIAL_ID":"a7812772-499a-437a-8018-6c89f688276c","CD_TIME":"Dec 5, 2025 11:52:18 AM","CD_BATCH":"2025120500015","DISTRIBUTETAG":"all-data^non-investment^11110000MB1503996K^110000000000^non-construction^11110000MB1503996K^non-construction_expansion","DATAJSONTEXT":"{\"VERSION\":\"20210903\"}"}]},{"ID":7855764,"TASKGUID":"9558e71c-0bd1-49df-9204-feb1619664e3","T_ID":"b1a6e8cd-1008-47a9-8e03-a4f7eb2fbe29","P_ID":"ec8437f0-9aad-451e-904e-e1f125f53616","NAME":"否","NODE_LEVEL":2,"NODE_PATH":"/ec8437f0-9aad-451e-904e-e1f125f53616/b1a6e8cd-1008-47a9-8e03-a4f7eb2fbe29","CHILD_COUNT":0,"ORDER_NUM":2,"SERIAL_NUMBER":"1.2","CONDITION_ATTR":"02","IS_RADIO":"","IS_SUPPORT":"","CD_TIME":"Dec 5, 2025 11:52:18 AM","CD_BATCH":"2025120500015","DISTRIBUTETAG":"all-data^non-investment^11110000MB1503996K^110000000000^non-construction^11110000MB1503996K^non-construction_expansion","DATAJSONTEXT":"{\"VERSION\":\"20220810\",\"TREE_TYPE\":\"\",\"CONSULTATION_QA\":\"\"}","parOrder":"","proOrder":"","newOrderNum":"001.002","itemGuideConditionRelatedList":[]},{"ID":7855761,"TASKGUID":"9558e71c-0bd1-49df-9204-feb1619664e3","T_ID":"57af94e2-3ac2-43bd-92d5-26c549051414","P_ID":"","NAME":"是否人民法院查封","NODE_LEVEL":1,"NODE_PATH":"/57af94e2-3ac2-43bd-92d5-26c549051414","CHILD_COUNT":2,"ORDER_NUM":2,"SERIAL_NUMBER":"2","CONDITION_ATTR":"01","IS_RADIO":"1","IS_SUPPORT":"1","SUMMARY":"2 是否人民法院查封\n\t2.1 是\n\t2.2 否","CD_TIME":"Dec 5, 2025 11:52:18 AM","CD_BATCH":"2025120500015","DISTRIBUTETAG":"all-data^non-investment^11110000MB1503996K^110000000000^non-construction^11110000MB1503996K^non-construction_expansion","DATAJSONTEXT":"{\"VERSION\":\"20220810\",\"TREE_TYPE\":\"\",\"CONSULTATION_QA\":\"\"}","parOrder":"","proOrder":"2","newOrderNum":"002","itemGuideConditionRelatedList":[]},{"ID":7855759,"TASKGUID":"9558e71c-0bd1-49df-9204-feb1619664e3","T_ID":"21d91e69-aa9e-484b-9a31-81fedb50bee7","P_ID":"57af94e2-3ac2-43bd-92d5-26c549051414","NAME":"是","NODE_LEVEL":2,"NODE_PATH":"/57af94e2-3ac2-43bd-92d5-26c549051414/21d91e69-aa9e-484b-9a31-81fedb50bee7","CHILD_COUNT":0,"ORDER_NUM":1,"SERIAL_NUMBER":"2.1","CONDITION_ATTR":"02","IS_RADIO":"","IS_SUPPORT":"","CD_TIME":"Dec 5, 2025 11:52:18 AM","CD_BATCH":"2025120500015","DISTRIBUTETAG":"all-data^non-investment^11110000MB1503996K^110000000000^non-construction^11110000MB1503996K^non-construction_expansion","DATAJSONTEXT":"{\"VERSION\":\"20220810\",\"TREE_TYPE\":\"\",\"CONSULTATION_QA\":\"\"}","parOrder":"","proOrder":"","newOrderNum":"002.001","itemGuideConditionRelatedList":[{"ID":26486913,"TASKGUID":"9558e71c-0bd1-49df-9204-feb1619664e3","T_ID":"21d91e69-aa9e-484b-9a31-81fedb50bee7","G_ID":"e6ed0d48-69bb-4633-bb31-4fcbfe6da795","M_CODE":"345047","MATERIAL_ID":"482ec8b6-97e8-4dd4-938f-7202ab60eebe","CD_TIME":"Dec 5, 2025 11:52:18 AM","CD_BATCH":"2025120500015","DISTRIBUTETAG":"all-data^non-investment^11110000MB1503996K^110000000000^non-construction^11110000MB1503996K^non-construction_expansion","DATAJSONTEXT":"{\"VERSION\":\"20210903\"}"},{"ID":26487484,"TASKGUID":"9558e71c-0bd1-49df-9204-feb1619664e3","T_ID":"21d91e69-aa9e-484b-9a31-81fedb50bee7","G_ID":"b378b2a0-c63c-4a0d-ab7b-111381534b01","M_CODE":"345049","MATERIAL_ID":"470a6163-be56-4c0a-9970-508805bf94c4","CD_TIME":"Dec 5, 2025 11:52:18 AM","CD_BATCH":"2025120500015","DISTRIBUTETAG":"all-data^non-investment^11110000MB1503996K^110000000000^non-construction^11110000MB1503996K^non-construction_expansion","DATAJSONTEXT":"{\"VERSION\":\"20210903\"}"}]},{"ID":7855763,"TASKGUID":"9558e71c-0bd1-49df-9204-feb1619664e3","T_ID":"b17e0b1a-15ae-4557-8df5-8759ca0f84dd","P_ID":"57af94e2-3ac2-43bd-92d5-26c549051414","NAME":"否","NODE_LEVEL":2,"NODE_PATH":"/57af94e2-3ac2-43bd-92d5-26c549051414/b17e0b1a-15ae-4557-8df5-8759ca0f84dd","CHILD_COUNT":0,"ORDER_NUM":2,"SERIAL_NUMBER":"2.2","CONDITION_ATTR":"02","IS_RADIO":"","IS_SUPPORT":"","CD_TIME":"Dec 5, 2025 11:52:18 AM","CD_BATCH":"2025120500015","DISTRIBUTETAG":"all-data^non-investment^11110000MB1503996K^110000000000^non-construction^11110000MB1503996K^non-construction_expansion","DATAJSONTEXT":"{\"VERSION\":\"20220810\",\"TREE_TYPE\":\"\",\"CONSULTATION_QA\":\"\"}","parOrder":"","proOrder":"","newOrderNum":"002.002","itemGuideConditionRelatedList":[]},{"ID":7855762,"TASKGUID":"9558e71c-0bd1-49df-9204-feb1619664e3","T_ID":"732b0a74-8a46-4366-a1ac-8b5d84528800","P_ID":"","NAME":"是否人民检察院、公安等国家有权机关查封","NODE_LEVEL":1,"NODE_PATH":"/732b0a74-8a46-4366-a1ac-8b5d84528800","CHILD_COUNT":2,"ORDER_NUM":3,"SERIAL_NUMBER":"3","CONDITION_ATTR":"01","IS_RADIO":"1","IS_SUPPORT":"1","SUMMARY":"3 是否人民检察院、公安等国家有权机关查封\n\t3.1 是\n\t3.2 否","CD_TIME":"Dec 5, 2025 11:52:18 AM","CD_BATCH":"2025120500015","DISTRIBUTETAG":"all-data^non-investment^11110000MB1503996K^110000000000^non-construction^11110000MB1503996K^non-construction_expansion","DATAJSONTEXT":"{\"VERSION\":\"20220810\",\"TREE_TYPE\":\"\",\"CONSULTATION_QA\":\"\"}","parOrder":"","proOrder":"3","newOrderNum":"003","itemGuideConditionRelatedList":[]},{"ID":7855767,"TASKGUID":"9558e71c-0bd1-49df-9204-feb1619664e3","T_ID":"f890cf5f-0d91-4d81-af1d-1ad5a737a1ed","P_ID":"732b0a74-8a46-4366-a1ac-8b5d84528800","NAME":"是","NODE_LEVEL":2,"NODE_PATH":"/732b0a74-8a46-4366-a1ac-8b5d84528800/f890cf5f-0d91-4d81-af1d-1ad5a737a1ed","CHILD_COUNT":0,"ORDER_NUM":1,"SERIAL_NUMBER":"3.1","CONDITION_ATTR":"02","IS_RADIO":"","IS_SUPPORT":"","CD_TIME":"Dec 5, 2025 11:52:18 AM","CD_BATCH":"2025120500015","DISTRIBUTETAG":"all-data^non-investment^11110000MB1503996K^110000000000^non-construction^11110000MB1503996K^non-construction_expansion","DATAJSONTEXT":"{\"VERSION\":\"20220810\",\"TREE_TYPE\":\"\",\"CONSULTATION_QA\":\"\"}","parOrder":"","proOrder":"","newOrderNum":"003.001","itemGuideConditionRelatedList":[{"ID":26486949,"TASKGUID":"9558e71c-0bd1-49df-9204-feb1619664e3","T_ID":"f890cf5f-0d91-4d81-af1d-1ad5a737a1ed","G_ID":"591e5746-e84a-4787-918b-7f63969d2f6c","M_CODE":"345009","MATERIAL_ID":"567806a4-9a95-494f-8faf-738e68ea6f1d","CD_TIME":"Dec 5, 2025 11:52:18 AM","CD_BATCH":"2025120500015","DISTRIBUTETAG":"all-data^non-investment^11110000MB1503996K^110000000000^non-construction^11110000MB1503996K^non-construction_expansion","DATAJSONTEXT":"{\"VERSION\":\"20210903\"}"}]},{"ID":7855765,"TASKGUID":"9558e71c-0bd1-49df-9204-feb1619664e3","T_ID":"dd674efc-4fde-4f67-ae35-5ce76e69e7bd","P_ID":"732b0a74-8a46-4366-a1ac-8b5d84528800","NAME":"否","NODE_LEVEL":2,"NODE_PATH":"/732b0a74-8a46-4366-a1ac-8b5d84528800/dd674efc-4fde-4f67-ae35-5ce76e69e7bd","CHILD_COUNT":0,"ORDER_NUM":2,"SERIAL_NUMBER":"3.2","CONDITION_ATTR":"02","IS_RADIO":"","IS_SUPPORT":"","CD_TIME":"Dec 5, 2025 11:52:18 AM","CD_BATCH":"2025120500015","DISTRIBUTETAG":"all-data^non-investment^11110000MB1503996K^110000000000^non-construction^11110000MB1503996K^non-construction_expansion","DATAJSONTEXT":"{\"VERSION\":\"20220810\",\"TREE_TYPE\":\"\",\"CONSULTATION_QA\":\"\"}","parOrder":"","proOrder":"","newOrderNum":"003.002","itemGuideConditionRelatedList":[]}]
2
6^9
https://yzt.beijing.gov.cn/am/oauth2/authorize?service=bjzwService&response_type=code&client_id=000026681_04&scope=cn+uid+idCardNumber+reserve3+extProperties+credenceClass&redirect_uri=http%3A%2F%2Fbdc.ghzrzyw.beijing.gov.cn%2Feo%2Fuser%2FyztLogin%3Fstate%3D140000001

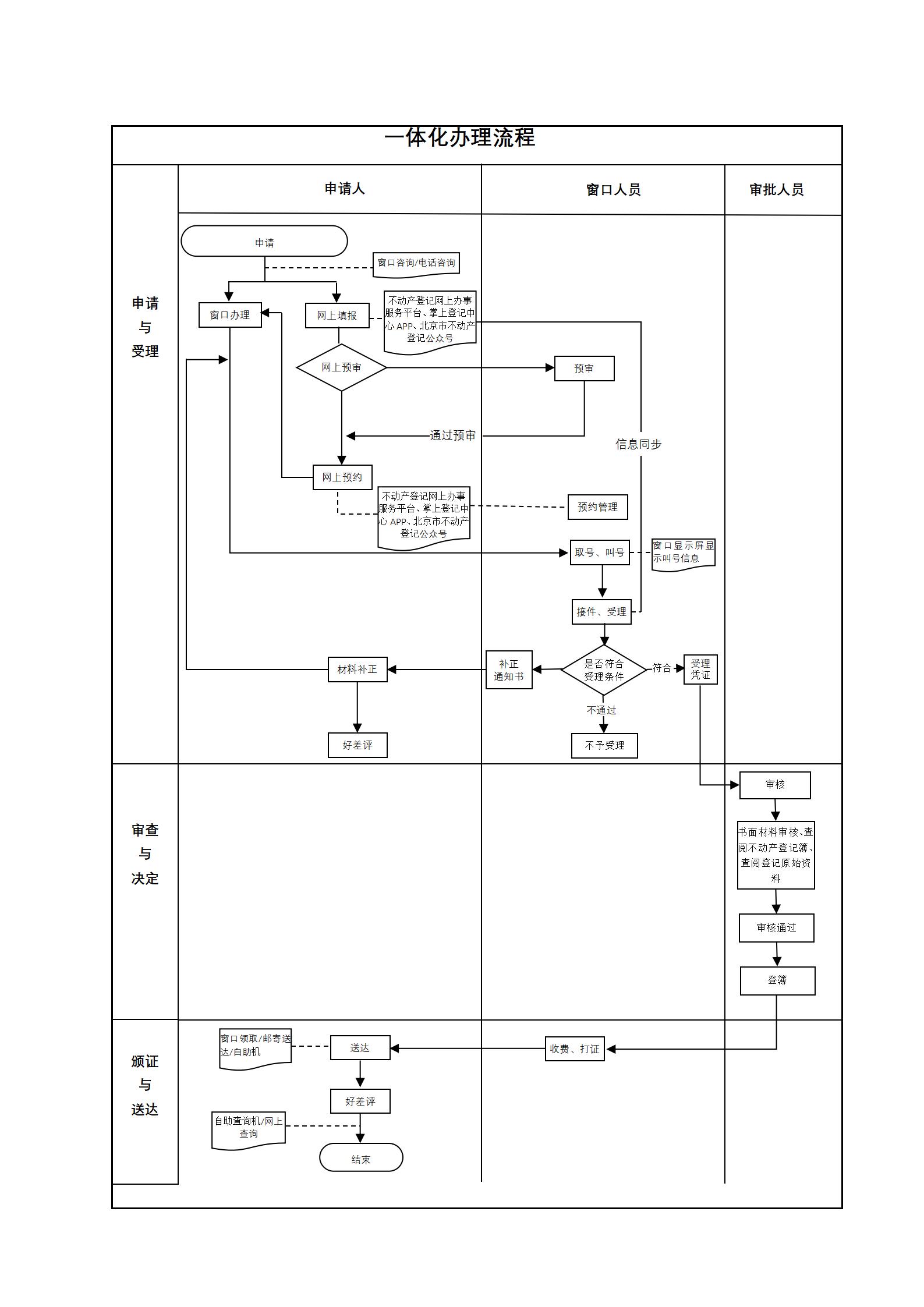
政务服务> 办事指南

查封登记

北京市

切换简洁版

  • 即办件

    办件类型

  • 0

    到现场次数

  • 30工作日

    法定办结时限

  • 1工作日

    承诺办结时限

好差评

5.0

办件承诺办结时限说明:当日办结(承诺时限为办理流程中“审查与决定”环节的计时时限)

办件承诺办结时限说明:

当日办结(承诺时限为办理流程中“审查与决定”环节的计时时限)

基本信息

实施主体 北京市规划和自然资源委员会 服务对象
事项类型 行政确认 办理形式
受理条件 1、不动产界址、空间界限、面积等材料与申请登记的不动产状况一致;2、有关证明材料、文件与申请登记的内容一致;3、登记申请符合法律、行政法规规定。(依据来源:《不动产登记暂行条例》第十八条)
办理时间 法定工作日: 上午08:30 - 12:00、下午12:00 - 17:30; 周六:上午:08:30 - 12:30(需预约);法定节假日不对外服务。;法定工作日: 上午: 09:00 - 12:00; 下午: 12:00 - 17:00; (延时服务时间: 工作日上午08:30 - 09:00; 下午17:00 - 17:30; 周六上午09:00 - 13:00; )... 查看详情
办理地点 北京市政务服务中心:北京市丰台区西三环南路1号(六里桥西南角)综合窗口 北京城市副中心政务服务中心:北京市通州区新华东街48号二区(东南角)综合窗口 查看详情
咨询方式

咨询电话:

(010)89150318【展开】

咨询窗口地址:

北京市政务服务中心:北京市丰台区西三环南路1号(六里桥西南角)2层C岛综合窗口 北京城市副中心政务服务中心:北京市通州区新华东街48号二区(东南角)(综合窗口)【展开】

投诉监督方式
基本编码 000715001018 事项编码 11110000MB1503996K2000715001018
业务办理项编码 11110000MB1503996K200071500101802 进驻大厅类型
权力来源 法定本级行使 网上支付
所属机构 北京市规划和自然资源委员会 委托部门
联办机构 实施主体性质 法定机关
办理进程查询途径
行使层级 市级 运行系统 市级自建(垂管)
物流快递 办理方式 自办件
预约办理 数量限制 无数量限制
中介服务 权限划分
通办范围 全区 特殊程序
行使内容 对涉及在京中央单位、驻京部队、保密单位的业务为市级办理 ,其余的登记业务在不动产所在地的各区不动产登记中心办理
显示更多

请选择情形:

提示:通过情形选择可引导出您办理该事项所需的材料,若要查看全部材料,请点击"查看全部材料"

查看全部材料 情形引导

收起
我选好了重选条件

序号 材料名称 材料来源 材料
必要性
数量要求 介质要求 表格及样例
下载
受理标准 提供材料
依据
其他要求
申请材料总要求
序号 材料名称 材料来源 材料
必要性
数量要求 介质要求 表格及样例
下载
受理标准 提供材料
依据
其他要求
申请材料总要求
显示更多

指南分享