2
20
11110000000021135M
北京市住房和城乡建设委员会
一级造价工程师注册证书领取
11110000000021135M211201403500003
11110000000021135M2112014035000
0
b168360a-ea16-4e6d-8132-8a41fc43269a
c006d1f3-6110-4461-92d3-39a3ed3e51e1
2
20
市住房城乡建设委
110000000000
北京市建筑业执业资格注册中心、政务服务中心
北京市政务服务中心:法定工作日: 上午: 08:30 - 12:00; 下午: 12:00 - 17:30; (延时服务时间: 周六上午08:30 - 12:30; )
北京市政务服务中心:北京市丰台区西三环南路1号(六里桥西南角)综合窗口
自2025年1月20日起启用一级造价工程师电子注册证书,即日起不再发放纸质注册证书、停止办理遗失补办业务,咨询电话010-68331219。个人登录一级造价工程师注册管理信息系统上传签名图像、在住建部政务服务平台设定使用有效期申领电子注册证书、下载打印后手写签名使用。执业人员按照注册造价工程师执业专用章的统一要求和规定样式自行刻制执业印章。
{"IS_GUIDE":"1","ONLINE_DECLARE_SYSTEM_MODE":"99","SERVICE_OBJCT":"","IS_CONSTRUCTION":"0","CL_SERVICE_TYPE":"","APP_CODE_ID":"","YESNO_CITY_UNICOM":"99","CROSS_AREA":"","ISSHOHCENTER":"0","WECHAT_CODE_ID":"","FINANCIAL":"","LITTLEPROGRAM_CODE_NAME":"","CROSS_AREA_ALL":"","CROSS_PROVINCE":"","ALIAS_NAME":"[\"一级造价工程师\"]","EAR_DISABILITY_GRAD":"","LIB_DISABILITY_GRAD":"","SPEAK_DISABILITY_GRAD":"","REGISTER":"","ONLINE_HANDLING_DEPTH_STANDARD":"01","APPROVAL_TYPE":"2","MIND_DISABILITY_GRAD":"","ACCEPTSERVICE":"99","YWBLX_ID":"09c576cc-145f-45ea-bad0-a3c624080b42","ONLINE_DECLARE_SYSTEM_DEPT":"","CONSTRUCTION_EXPANSION":"0","EMPOWER":"0","EXEMPT_MATERIALS":"","LITTLEPROGRAM_CODE_ID":"","EYE_DISABILITY_GRAD":"","ISMONVEINCENTER":"0","BUSINESS_APPROVAL_DEPT":"中华人民共和国住房和城乡建设部","ITEM_ATTRIBUTE":"01^03^07^11","CROSS_AREA_ATEXT":"","AGE":"","BGSYSTEM_APPROVAL_OTHER":"全国工程造价咨询管理系统","WIT_DISABILITY_GRAD":"","WECHAT_CODE_NAME":"","DISABILITY_TYPE":"","IS_ENABLE_CERTIFICATE_SHARE":"0","ONLY_ID":"be209a29-7ef9-4388-97be-90dad9793f89","YES_NO_OPEN":"1","BGSYSTEM_APPROVAL_NAME":"其他","APP_CODE_NAME":"","HOLDER":"","VERSION":"20241125"}
[{"ID":7833953,"TASKGUID":"b168360a-ea16-4e6d-8132-8a41fc43269a","T_ID":"f1104b78-60f8-43ae-a91d-bff24161a71a","P_ID":"","NAME":"领取证书类型","NODE_LEVEL":1,"NODE_PATH":"/f1104b78-60f8-43ae-a91d-bff24161a71a","CHILD_COUNT":2,"ORDER_NUM":1,"SERIAL_NUMBER":"1","CONDITION_ATTR":"01","IS_RADIO":"1","IS_SUPPORT":"1","SUMMARY":"1 领取证书类型\n\t1.1 经初始注册、遗失补办注册证书等审批合格的新制发注册证书\n\t\t1.1.1 是否持证人本人到现场领取\n\t\t\t1.1.1.1 持证人本人到现场领取\n\t\t\t1.1.1.2 受托人到现场领取\n\t1.2 经延续、变更注册审批合格在原注册证书上进行打印标识的\n\t\t1.2.1 是否持证人本人到现场办理\n\t\t\t1.2.1.1 持证人本人到现场办理\n\t\t\t1.2.1.2 受托人到现场办理","CD_TIME":"Dec 2, 2025 5:46:51 PM","CD_BATCH":"2025120200025","DISTRIBUTETAG":"all-data^non-investment^11110000000021135M^110000000000^non-construction^11110000000021135M^non-construction_expansion","DATAJSONTEXT":"{\"VERSION\":\"20220810\",\"TREE_TYPE\":\"\",\"CONSULTATION_QA\":\"\"}","parOrder":"","proOrder":"1","newOrderNum":"001","itemGuideConditionRelatedList":[]},{"ID":7833945,"TASKGUID":"b168360a-ea16-4e6d-8132-8a41fc43269a","T_ID":"02da8984-e0fe-4cb2-b591-ba73c6f8ca31","P_ID":"f1104b78-60f8-43ae-a91d-bff24161a71a","NAME":"经初始注册、遗失补办注册证书等审批合格的新制发注册证书","NODE_LEVEL":2,"NODE_PATH":"/f1104b78-60f8-43ae-a91d-bff24161a71a/02da8984-e0fe-4cb2-b591-ba73c6f8ca31","CHILD_COUNT":1,"ORDER_NUM":1,"SERIAL_NUMBER":"1.1","CONDITION_ATTR":"02","IS_RADIO":"","IS_SUPPORT":"","CD_TIME":"Dec 2, 2025 5:46:51 PM","CD_BATCH":"2025120200025","DISTRIBUTETAG":"all-data^non-investment^11110000000021135M^110000000000^non-construction^11110000000021135M^non-construction_expansion","DATAJSONTEXT":"{\"VERSION\":\"20220810\",\"TREE_TYPE\":\"\",\"CONSULTATION_QA\":\"\"}","parOrder":"","proOrder":"","newOrderNum":"001.001","itemGuideConditionRelatedList":[]},{"ID":7833950,"TASKGUID":"b168360a-ea16-4e6d-8132-8a41fc43269a","T_ID":"5286dcd7-b5a3-45f1-8963-a6cadd3083f8","P_ID":"02da8984-e0fe-4cb2-b591-ba73c6f8ca31","NAME":"是否持证人本人到现场领取","NODE_LEVEL":3,"NODE_PATH":"/f1104b78-60f8-43ae-a91d-bff24161a71a/02da8984-e0fe-4cb2-b591-ba73c6f8ca31/5286dcd7-b5a3-45f1-8963-a6cadd3083f8","CHILD_COUNT":2,"ORDER_NUM":1,"SERIAL_NUMBER":"1.1.1","CONDITION_ATTR":"01","IS_RADIO":"1","IS_SUPPORT":"1","CD_TIME":"Dec 2, 2025 5:46:51 PM","CD_BATCH":"2025120200025","DISTRIBUTETAG":"all-data^non-investment^11110000000021135M^110000000000^non-construction^11110000000021135M^non-construction_expansion","DATAJSONTEXT":"{\"VERSION\":\"20220810\",\"TREE_TYPE\":\"\",\"CONSULTATION_QA\":\"\"}","parOrder":"1","proOrder":"1","newOrderNum":"001.001.001","itemGuideConditionRelatedList":[]},{"ID":7833948,"TASKGUID":"b168360a-ea16-4e6d-8132-8a41fc43269a","T_ID":"2d53f086-b1f9-40fe-8409-c4d1c18b0f4c","P_ID":"5286dcd7-b5a3-45f1-8963-a6cadd3083f8","NAME":"持证人本人到现场领取","NODE_LEVEL":4,"NODE_PATH":"/f1104b78-60f8-43ae-a91d-bff24161a71a/02da8984-e0fe-4cb2-b591-ba73c6f8ca31/5286dcd7-b5a3-45f1-8963-a6cadd3083f8/2d53f086-b1f9-40fe-8409-c4d1c18b0f4c","CHILD_COUNT":0,"ORDER_NUM":1,"SERIAL_NUMBER":"1.1.1.1","CONDITION_ATTR":"02","IS_RADIO":"","IS_SUPPORT":"","CD_TIME":"Dec 2, 2025 5:46:51 PM","CD_BATCH":"2025120200025","DISTRIBUTETAG":"all-data^non-investment^11110000000021135M^110000000000^non-construction^11110000000021135M^non-construction_expansion","DATAJSONTEXT":"{\"VERSION\":\"20220810\",\"TREE_TYPE\":\"\",\"CONSULTATION_QA\":\"\"}","parOrder":"","proOrder":"","newOrderNum":"001.001.001.001","itemGuideConditionRelatedList":[{"ID":26470041,"TASKGUID":"b168360a-ea16-4e6d-8132-8a41fc43269a","T_ID":"2d53f086-b1f9-40fe-8409-c4d1c18b0f4c","G_ID":"bef2929c-b13e-4076-bde8-f73f1e9157b1","M_CODE":"320006","MATERIAL_ID":"763e7c16-cdfd-4222-9aa8-834eeb038f95","CD_TIME":"Dec 2, 2025 5:46:51 PM","CD_BATCH":"2025120200025","DISTRIBUTETAG":"all-data^non-investment^11110000000021135M^110000000000^non-construction^11110000000021135M^non-construction_expansion","DATAJSONTEXT":"{\"VERSION\":\"20210903\"}"},{"ID":26470047,"TASKGUID":"b168360a-ea16-4e6d-8132-8a41fc43269a","T_ID":"2d53f086-b1f9-40fe-8409-c4d1c18b0f4c","G_ID":"c479dc38-8f4a-4c1b-ab66-5a259d61b583","M_CODE":"400549","MATERIAL_ID":"9f94744d-505f-46f5-a970-ed2aeb6e7363","CD_TIME":"Dec 2, 2025 5:46:51 PM","CD_BATCH":"2025120200025","DISTRIBUTETAG":"all-data^non-investment^11110000000021135M^110000000000^non-construction^11110000000021135M^non-construction_expansion","DATAJSONTEXT":"{\"VERSION\":\"20210903\"}"}]},{"ID":7833949,"TASKGUID":"b168360a-ea16-4e6d-8132-8a41fc43269a","T_ID":"2ec7cbbe-2778-4686-91ee-e6b7c6422c4f","P_ID":"5286dcd7-b5a3-45f1-8963-a6cadd3083f8","NAME":"受托人到现场领取","NODE_LEVEL":4,"NODE_PATH":"/f1104b78-60f8-43ae-a91d-bff24161a71a/02da8984-e0fe-4cb2-b591-ba73c6f8ca31/5286dcd7-b5a3-45f1-8963-a6cadd3083f8/2ec7cbbe-2778-4686-91ee-e6b7c6422c4f","CHILD_COUNT":0,"ORDER_NUM":2,"SERIAL_NUMBER":"1.1.1.2","CONDITION_ATTR":"02","IS_RADIO":"","IS_SUPPORT":"","CD_TIME":"Dec 2, 2025 5:46:51 PM","CD_BATCH":"2025120200025","DISTRIBUTETAG":"all-data^non-investment^11110000000021135M^110000000000^non-construction^11110000000021135M^non-construction_expansion","DATAJSONTEXT":"{\"VERSION\":\"20220810\",\"TREE_TYPE\":\"\",\"CONSULTATION_QA\":\"\"}","parOrder":"","proOrder":"","newOrderNum":"001.001.001.002","itemGuideConditionRelatedList":[{"ID":26470035,"TASKGUID":"b168360a-ea16-4e6d-8132-8a41fc43269a","T_ID":"2ec7cbbe-2778-4686-91ee-e6b7c6422c4f","G_ID":"1d1bfe59-389f-4d72-9c35-2a3f10ae42c1","M_CODE":"201228","MATERIAL_ID":"1d2180c2-2033-4e83-9251-281b60e3ef19","CD_TIME":"Dec 2, 2025 5:46:51 PM","CD_BATCH":"2025120200025","DISTRIBUTETAG":"all-data^non-investment^11110000000021135M^110000000000^non-construction^11110000000021135M^non-construction_expansion","DATAJSONTEXT":"{\"VERSION\":\"20210903\"}"},{"ID":26470040,"TASKGUID":"b168360a-ea16-4e6d-8132-8a41fc43269a","T_ID":"2ec7cbbe-2778-4686-91ee-e6b7c6422c4f","G_ID":"bb1372d2-a11e-4a07-b3c6-e48ab1a2402f","M_CODE":"400549","MATERIAL_ID":"384b838c-c3a0-4960-bde3-cd7994f23432","CD_TIME":"Dec 2, 2025 5:46:51 PM","CD_BATCH":"2025120200025","DISTRIBUTETAG":"all-data^non-investment^11110000000021135M^110000000000^non-construction^11110000000021135M^non-construction_expansion","DATAJSONTEXT":"{\"VERSION\":\"20210903\"}"},{"ID":26470045,"TASKGUID":"b168360a-ea16-4e6d-8132-8a41fc43269a","T_ID":"2ec7cbbe-2778-4686-91ee-e6b7c6422c4f","G_ID":"2b512867-59c7-4ba6-8172-78e71b16b787","M_CODE":"320006","MATERIAL_ID":"42e27ac5-b54c-4bc7-aa4e-25562550179a","CD_TIME":"Dec 2, 2025 5:46:51 PM","CD_BATCH":"2025120200025","DISTRIBUTETAG":"all-data^non-investment^11110000000021135M^110000000000^non-construction^11110000000021135M^non-construction_expansion","DATAJSONTEXT":"{\"VERSION\":\"20210903\"}"},{"ID":26470046,"TASKGUID":"b168360a-ea16-4e6d-8132-8a41fc43269a","T_ID":"2ec7cbbe-2778-4686-91ee-e6b7c6422c4f","G_ID":"1b8baa87-7edf-4026-819d-88892ca62a95","M_CODE":"320006","MATERIAL_ID":"aa25f9ce-8b08-459b-a2ef-d8491ad0e1de","CD_TIME":"Dec 2, 2025 5:46:51 PM","CD_BATCH":"2025120200025","DISTRIBUTETAG":"all-data^non-investment^11110000000021135M^110000000000^non-construction^11110000000021135M^non-construction_expansion","DATAJSONTEXT":"{\"VERSION\":\"20210903\"}"}]},{"ID":7833951,"TASKGUID":"b168360a-ea16-4e6d-8132-8a41fc43269a","T_ID":"9ea5ac19-a828-4be2-9479-0f5aa31cc4a8","P_ID":"f1104b78-60f8-43ae-a91d-bff24161a71a","NAME":"经延续、变更注册审批合格在原注册证书上进行打印标识的","NODE_LEVEL":2,"NODE_PATH":"/f1104b78-60f8-43ae-a91d-bff24161a71a/9ea5ac19-a828-4be2-9479-0f5aa31cc4a8","CHILD_COUNT":1,"ORDER_NUM":2,"SERIAL_NUMBER":"1.2","CONDITION_ATTR":"02","IS_RADIO":"","IS_SUPPORT":"","CD_TIME":"Dec 2, 2025 5:46:51 PM","CD_BATCH":"2025120200025","DISTRIBUTETAG":"all-data^non-investment^11110000000021135M^110000000000^non-construction^11110000000021135M^non-construction_expansion","DATAJSONTEXT":"{\"VERSION\":\"20220810\",\"TREE_TYPE\":\"\",\"CONSULTATION_QA\":\"\"}","parOrder":"","proOrder":"","newOrderNum":"001.002","itemGuideConditionRelatedList":[]},{"ID":7833947,"TASKGUID":"b168360a-ea16-4e6d-8132-8a41fc43269a","T_ID":"21e974e5-7dac-463e-aebb-138e2e9846fa","P_ID":"9ea5ac19-a828-4be2-9479-0f5aa31cc4a8","NAME":"是否持证人本人到现场办理","NODE_LEVEL":3,"NODE_PATH":"/f1104b78-60f8-43ae-a91d-bff24161a71a/9ea5ac19-a828-4be2-9479-0f5aa31cc4a8/21e974e5-7dac-463e-aebb-138e2e9846fa","CHILD_COUNT":2,"ORDER_NUM":1,"SERIAL_NUMBER":"1.2.1","CONDITION_ATTR":"01","IS_RADIO":"1","IS_SUPPORT":"1","CD_TIME":"Dec 2, 2025 5:46:51 PM","CD_BATCH":"2025120200025","DISTRIBUTETAG":"all-data^non-investment^11110000000021135M^110000000000^non-construction^11110000000021135M^non-construction_expansion","DATAJSONTEXT":"{\"VERSION\":\"20220810\",\"TREE_TYPE\":\"\",\"CONSULTATION_QA\":\"\"}","parOrder":"1","proOrder":"2","newOrderNum":"001.002.001","itemGuideConditionRelatedList":[]},{"ID":7833946,"TASKGUID":"b168360a-ea16-4e6d-8132-8a41fc43269a","T_ID":"15d696da-399c-401f-baa2-1da03ae5dc95","P_ID":"21e974e5-7dac-463e-aebb-138e2e9846fa","NAME":"持证人本人到现场办理","NODE_LEVEL":4,"NODE_PATH":"/f1104b78-60f8-43ae-a91d-bff24161a71a/9ea5ac19-a828-4be2-9479-0f5aa31cc4a8/21e974e5-7dac-463e-aebb-138e2e9846fa/15d696da-399c-401f-baa2-1da03ae5dc95","CHILD_COUNT":0,"ORDER_NUM":1,"SERIAL_NUMBER":"1.2.1.1","CONDITION_ATTR":"02","IS_RADIO":"","IS_SUPPORT":"","CD_TIME":"Dec 2, 2025 5:46:51 PM","CD_BATCH":"2025120200025","DISTRIBUTETAG":"all-data^non-investment^11110000000021135M^110000000000^non-construction^11110000000021135M^non-construction_expansion","DATAJSONTEXT":"{\"VERSION\":\"20220810\",\"TREE_TYPE\":\"\",\"CONSULTATION_QA\":\"\"}","parOrder":"","proOrder":"","newOrderNum":"001.002.001.001","itemGuideConditionRelatedList":[{"ID":26470036,"TASKGUID":"b168360a-ea16-4e6d-8132-8a41fc43269a","T_ID":"15d696da-399c-401f-baa2-1da03ae5dc95","G_ID":"2e119ae9-2ad7-431f-97e1-a5449223713b","M_CODE":"320006","MATERIAL_ID":"6cf3370e-e8e7-4e6d-8822-12ea66abd11b","CD_TIME":"Dec 2, 2025 5:46:51 PM","CD_BATCH":"2025120200025","DISTRIBUTETAG":"all-data^non-investment^11110000000021135M^110000000000^non-construction^11110000000021135M^non-construction_expansion","DATAJSONTEXT":"{\"VERSION\":\"20210903\"}"},{"ID":26470049,"TASKGUID":"b168360a-ea16-4e6d-8132-8a41fc43269a","T_ID":"15d696da-399c-401f-baa2-1da03ae5dc95","G_ID":"fcc01aed-db49-42af-abd7-091d0973a54d","M_CODE":"340382","MATERIAL_ID":"a47663a8-221d-4378-b520-46376ddadb72","CD_TIME":"Dec 2, 2025 5:46:51 PM","CD_BATCH":"2025120200025","DISTRIBUTETAG":"all-data^non-investment^11110000000021135M^110000000000^non-construction^11110000000021135M^non-construction_expansion","DATAJSONTEXT":"{\"VERSION\":\"20210903\"}"}]},{"ID":7833952,"TASKGUID":"b168360a-ea16-4e6d-8132-8a41fc43269a","T_ID":"ae803850-cb4c-4384-9205-755898eb2d75","P_ID":"21e974e5-7dac-463e-aebb-138e2e9846fa","NAME":"受托人到现场办理","NODE_LEVEL":4,"NODE_PATH":"/f1104b78-60f8-43ae-a91d-bff24161a71a/9ea5ac19-a828-4be2-9479-0f5aa31cc4a8/21e974e5-7dac-463e-aebb-138e2e9846fa/ae803850-cb4c-4384-9205-755898eb2d75","CHILD_COUNT":0,"ORDER_NUM":2,"SERIAL_NUMBER":"1.2.1.2","CONDITION_ATTR":"02","IS_RADIO":"","IS_SUPPORT":"","CD_TIME":"Dec 2, 2025 5:46:51 PM","CD_BATCH":"2025120200025","DISTRIBUTETAG":"all-data^non-investment^11110000000021135M^110000000000^non-construction^11110000000021135M^non-construction_expansion","DATAJSONTEXT":"{\"VERSION\":\"20220810\",\"TREE_TYPE\":\"\",\"CONSULTATION_QA\":\"\"}","parOrder":"","proOrder":"","newOrderNum":"001.002.001.002","itemGuideConditionRelatedList":[{"ID":26470038,"TASKGUID":"b168360a-ea16-4e6d-8132-8a41fc43269a","T_ID":"ae803850-cb4c-4384-9205-755898eb2d75","G_ID":"6359988f-8dce-4eb2-a99d-897bd5237b03","M_CODE":"340382","MATERIAL_ID":"f15f1ddf-ddef-4359-948b-8d1e7f8ed603","CD_TIME":"Dec 2, 2025 5:46:51 PM","CD_BATCH":"2025120200025","DISTRIBUTETAG":"all-data^non-investment^11110000000021135M^110000000000^non-construction^11110000000021135M^non-construction_expansion","DATAJSONTEXT":"{\"VERSION\":\"20210903\"}"},{"ID":26470043,"TASKGUID":"b168360a-ea16-4e6d-8132-8a41fc43269a","T_ID":"ae803850-cb4c-4384-9205-755898eb2d75","G_ID":"3c4632c8-2340-4a1d-9c3b-71c072327dc8","M_CODE":"201228","MATERIAL_ID":"f35eac85-f87a-4c1b-88c5-635ce53f77f8","CD_TIME":"Dec 2, 2025 5:46:51 PM","CD_BATCH":"2025120200025","DISTRIBUTETAG":"all-data^non-investment^11110000000021135M^110000000000^non-construction^11110000000021135M^non-construction_expansion","DATAJSONTEXT":"{\"VERSION\":\"20210903\"}"},{"ID":26470050,"TASKGUID":"b168360a-ea16-4e6d-8132-8a41fc43269a","T_ID":"ae803850-cb4c-4384-9205-755898eb2d75","G_ID":"4b3c06c2-e0b9-4c1d-bfd0-435141952a9c","M_CODE":"320006","MATERIAL_ID":"6bc370a9-10fa-4176-b8e3-f9acd934b4a4","CD_TIME":"Dec 2, 2025 5:46:51 PM","CD_BATCH":"2025120200025","DISTRIBUTETAG":"all-data^non-investment^11110000000021135M^110000000000^non-construction^11110000000021135M^non-construction_expansion","DATAJSONTEXT":"{\"VERSION\":\"20210903\"}"},{"ID":26470051,"TASKGUID":"b168360a-ea16-4e6d-8132-8a41fc43269a","T_ID":"ae803850-cb4c-4384-9205-755898eb2d75","G_ID":"06495071-00af-4785-80aa-730a7810a3c9","M_CODE":"320006","MATERIAL_ID":"30aa2119-e4ef-4377-b8ad-070c25182663","CD_TIME":"Dec 2, 2025 5:46:51 PM","CD_BATCH":"2025120200025","DISTRIBUTETAG":"all-data^non-investment^11110000000021135M^110000000000^non-construction^11110000000021135M^non-construction_expansion","DATAJSONTEXT":"{\"VERSION\":\"20210903\"}"}]}]
0
1

政务服务> 办事指南

一级造价工程师注册证书领取

北京市

切换简洁版

  • 即办件

    办件类型

  • 1

    到现场次数

  • 1工作日

    法定办结时限

  • 1工作日

    承诺办结时限

好差评

5.0

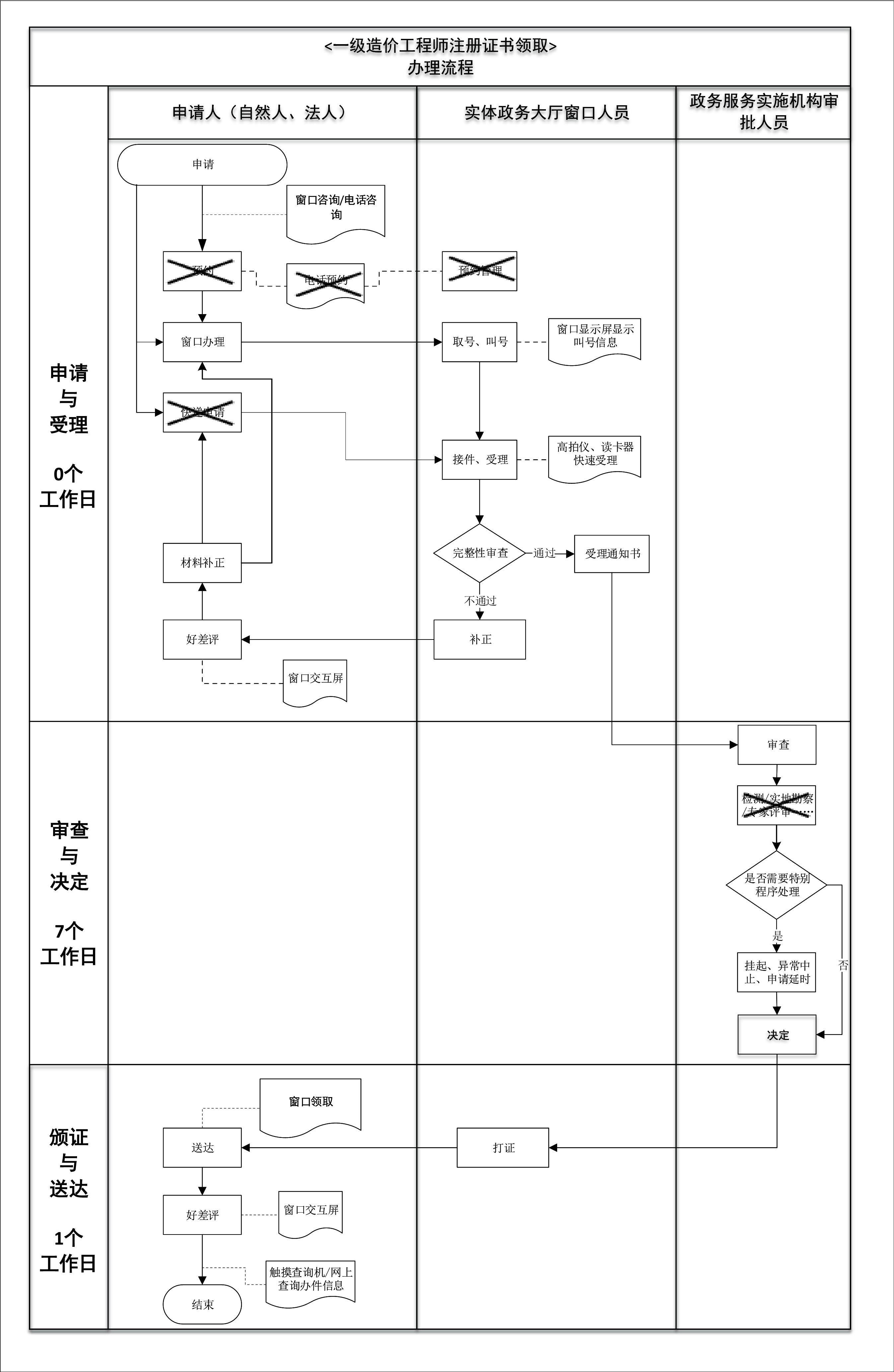
办件承诺办结时限说明:(承诺时限为办理流程中“审查与决定”环节的计时时限)

办件承诺办结时限说明:

(承诺时限为办理流程中“审查与决定”环节的计时时限)

基本信息

实施主体 北京市住房和城乡建设委员会 服务对象
事项类型 公共服务 办理形式
受理条件 自2025年1月20日起启用一级造价工程师电子注册证书,即日起不再发放纸质注册证书、停止办理遗失补办业务,咨询电话010-68331219。个人登录一级造价工程师注册管理信息系统上传签名图像、在住建部政务服务平台设定使用有效期申领电子注册证书、下载打印后手写签名使用。执业人员按照注册造价工程师执业专用章的统一要求和规定样式自行刻制执业印章。
办理时间 北京市政务服务中心:法定工作日: 上午: 08:30 - 12:00; 下午: 12:00 - 17:30; (延时服务时间: 周六上午08:30 - 12:30; ) 查看详情
办理地点 北京市政务服务中心:北京市丰台区西三环南路1号(六里桥西南角)综合窗口 查看详情
咨询方式

咨询电话:

(010)89150138【展开】

咨询窗口地址:

北京市政务服务中心:北京市丰台区西三环南路1号(六里桥西南角)综合窗口 【展开】

投诉监督方式
基本编码 112014035000 事项编码 11110000000021135M2112014035000
业务办理项编码 11110000000021135M211201403500003 进驻大厅类型
权力来源 法定本级行使 网上支付
所属机构 北京市建筑业执业资格注册中心、政务服务中心 委托部门
联办机构 实施主体性质 法定机关
办理进程查询途径
行使层级 市级 运行系统 国家级垂管系统
物流快递 办理方式 自办件
预约办理 数量限制
中介服务 权限划分
通办范围 全市 特殊程序
行使内容 市级受理、市级审批
必须现场办理原因说明 领取注册证书(2024年3月12日之后的延续注册不再发新证,持旧证加盖延续章)
显示更多

请选择情形:

提示:通过情形选择可引导出您办理该事项所需的材料,若要查看全部材料,请点击"查看全部材料"

查看全部材料 情形引导

收起
我选好了重选条件

序号 材料名称 材料来源 材料
必要性
数量要求 介质要求 表格及样例
下载
受理标准 提供材料
依据
其他要求
申请材料总要求自2025年1月20日起启用一级造价工程师电子注册证书,即日起不再发放纸质注册证书、停止办理遗失补办业务,咨询电话010-68331219。个人登录一级造价工程师注册管理信息系统上传签名图像、在住建部政务服务平台设定使用有效期申领电子注册证书、下载打印后手写签名使用。 2025年1月20日前批准的北京市注册的纸质证书领取方式(一)持证人本人领取方式:持证人持本人身份证件原件及一级造价工程师注册证书原件加盖延续章。(二)委托他人领取方式(选择其中一种即可):1.受托人持本人和持证人身份证件原件及复印件、双方签字的授权委托书原件及一级造价工程师注册证书原件加盖延续章。2.受托人持本人身份证件原件及复印件、加盖现聘用单位公章的持证人身份证件复印件、《单位领取申请》原件及一级造价工程师注册证书原件加盖延续章。领取一级注册造价工程师初始注册、补办证书的,请同时携带近期二寸彩色证件照一张。 温馨提示:1.身份证件应在有效期内,且含有姓名、照片、出生日期及身份证件号码。 2.如持证人、受托人未携带本人身份证件原件的,可通过实名认证出示有效电子身份证件供工作人员在线查验。3.因持证人长期在外省市或境外工作等原因无法提供身份证件原件的,可由受托人与持证人本人通过手机视频连线方式,在北京市政务服务中心综合窗口两名工作人员鉴证下,完成持证人委托意愿及身份证件原件的核验工作。4.《单位领取申请》中应包含单位名称、受托人姓名及身份证件号码、证书信息(持证人姓名、证书名称、注册类别、领取编号),加盖单位公章、受托人签字并注明日期。 领取编号:持证人、受托人请先登录北京市住房和城乡建设委员会网站(http://zjw.beijing.gov.cn → 取证信息),按申办事项查询相关通知,取得领取编号后,再按要求领证或加盖延续章。
序号 材料名称 材料来源 材料
必要性
数量要求 介质要求 表格及样例
下载
受理标准 提供材料
依据
其他要求
申请材料总要求自2025年1月20日起启用一级造价工程师电子注册证书,即日起不再发放纸质注册证书、停止办理遗失补办业务,咨询电话010-68331219。个人登录一级造价工程师注册管理信息系统上传签名图像、在住建部政务服务平台设定使用有效期申领电子注册证书、下载打印后手写签名使用。 2025年1月20日前批准的北京市注册的纸质证书领取方式(一)持证人本人领取方式:持证人持本人身份证件原件及一级造价工程师注册证书原件加盖延续章。(二)委托他人领取方式(选择其中一种即可):1.受托人持本人和持证人身份证件原件及复印件、双方签字的授权委托书原件及一级造价工程师注册证书原件加盖延续章。2.受托人持本人身份证件原件及复印件、加盖现聘用单位公章的持证人身份证件复印件、《单位领取申请》原件及一级造价工程师注册证书原件加盖延续章。领取一级注册造价工程师初始注册、补办证书的,请同时携带近期二寸彩色证件照一张。 温馨提示:1.身份证件应在有效期内,且含有姓名、照片、出生日期及身份证件号码。 2.如持证人、受托人未携带本人身份证件原件的,可通过实名认证出示有效电子身份证件供工作人员在线查验。3.因持证人长期在外省市或境外工作等原因无法提供身份证件原件的,可由受托人与持证人本人通过手机视频连线方式,在北京市政务服务中心综合窗口两名工作人员鉴证下,完成持证人委托意愿及身份证件原件的核验工作。4.《单位领取申请》中应包含单位名称、受托人姓名及身份证件号码、证书信息(持证人姓名、证书名称、注册类别、领取编号),加盖单位公章、受托人签字并注明日期。 领取编号:持证人、受托人请先登录北京市住房和城乡建设委员会网站(http://zjw.beijing.gov.cn → 取证信息),按申办事项查询相关通知,取得领取编号后,再按要求领证或加盖延续章。
显示更多

指南分享