2
07
11110000MB1503996K
北京市规划和自然资源委员会
抵押权转移登记
11110000MB1503996K200071500101401
11110000MB1503996K2000715001014
0
f2a2aec4-10aa-4cdf-a2c1-b7e5c0069043
4f464787-787d-4264-836a-d914ab23ea2e
2^3
07
市规划自然资源委
110000000000
北京市规划和自然资源委员会
法定工作日: 上午08:30 - 12:00、下午12:00 - 17:30; 周六:上午:08:30 - 12:30(需预约);法定节假日不对外服务。;法定工作日: 上午: 09:00 - 12:00; 下午: 12:00 - 17:00; (延时服务时间: 工作日上午08:30 - 09:00; 下午17:00 - 17:30; 周六上午09:00 - 13:00; )...
北京市政务服务中心:北京市丰台区西三环南路1号(六里桥西南角)综合窗口 北京城市副中心政务服务中心:北京市通州区新华东街48号二区(东南角)综合窗口
1.因主债权转让导致抵押权转让的,当事人可以持不动产权属证书、不动产登记证明、被担保主债权的转让协议、债权人已经通知债务人的材料等相关材料,申请抵押权的转移登记。 2.申请登记事项在本登记部门的登记职责范围内; 3.申请材料形式符合要求; 4.申请人与依法应当提交的申请材料记载的主体一致; 5.申请登记的不动产权利与登记原因文件记载的不动产权利一致; 6.申请内容与询问记录不冲突。
{"IS_GUIDE":"1","ONLINE_DECLARE_SYSTEM_MODE":"99","ITEM_REALITY_USELEVEL":"","SERVICE_OBJCT":"","IS_CONSTRUCTION":"0","CL_SERVICE_TYPE":"","APP_CODE_ID":"","YESNO_CITY_UNICOM":"0^1","CROSS_AREA":"","ISSHOHCENTER":"0","WECHAT_CODE_ID":"","FINANCIAL":"","LITTLEPROGRAM_CODE_NAME":"","CROSS_AREA_ALL":"","CROSS_PROVINCE":"","ALIAS_NAME":"[\"抵押权登记\"]","EAR_DISABILITY_GRAD":"","LIB_DISABILITY_GRAD":"","SPEAK_DISABILITY_GRAD":"","REGISTER":"","ONLINE_HANDLING_DEPTH_STANDARD":"05","APPROVAL_TYPE":"0","MIND_DISABILITY_GRAD":"","ACCEPTSERVICE":"99","YWBLX_ID":"e3fd25b4-2323-4a70-87a7-48c440d0f768","ONLINE_DECLARE_SYSTEM_DEPT":"","CONSTRUCTION_EXPANSION":"0","EMPOWER":"0","EXEMPT_MATERIALS":"","LITTLEPROGRAM_CODE_ID":"","EYE_DISABILITY_GRAD":"","ISMONVEINCENTER":"1","DATA_FLAG":"","BUSINESS_APPROVAL_DEPT":"北京市规划和自然资源委员会","POWER_NAME":"不动产统一登记","ITEM_ATTRIBUTE":"04^05^11^13","CROSS_AREA_ATEXT":"","AGE":"","BGSYSTEM_APPROVAL_OTHER":"北京市不动产登记信息系统v2.0","WIT_DISABILITY_GRAD":"","WECHAT_CODE_NAME":"","POWER_CODE":"H1202810","DISABILITY_TYPE":"","IS_ENABLE_CERTIFICATE_SHARE":"","POWER_ATTRIBUTE":"1","ONLY_ID":"2254b2f0-81ed-11ea-8de7-fa163e4f9ad9","YES_NO_OPEN":"1","BGSYSTEM_APPROVAL_NAME":"其他","APP_CODE_NAME":"","HOLDER":"","VERSION":"20241125"}
[{"ID":7855749,"TASKGUID":"f2a2aec4-10aa-4cdf-a2c1-b7e5c0069043","T_ID":"a35811f9-d0ab-4af1-b6bf-41b89c0e5f7f","P_ID":"","NAME":"申请人身份","NODE_LEVEL":1,"NODE_PATH":"/a35811f9-d0ab-4af1-b6bf-41b89c0e5f7f","CHILD_COUNT":12,"ORDER_NUM":1,"SERIAL_NUMBER":"1","CONDITION_ATTR":"01","IS_RADIO":"1","IS_SUPPORT":"","SUMMARY":"1 申请人身份\n\t1.1 境内自然人\n\t\t1.1.1 是否成年\n\t\t\t1.1.1.1 是\n\t\t\t1.1.1.2 否\n\t\t1.1.2 是否为个体工商户或农村承包经营户\n\t\t\t1.1.2.1 是\n\t\t\t1.1.2.2 否\n\t1.10 香港特别行政区、澳门特别行政区、台湾地区的法人或非法人组织\n\t1.11 境外法人或非法人组织\n\t1.12 外国驻华使(领)馆和外国驻华办事机构、国际组织驻华代表机构\n\t1.2 香港、澳门特别行政区自然人\n\t1.3 台湾地区自然人\n\t1.4 华侨\n\t1.5 外籍自然人\n\t1.6 境内营利法人\n\t1.7 境内非营利法人\n\t1.8 境内特别法人\n\t1.9 境内非法人组织","CD_TIME":"Dec 5, 2025 11:52:18 AM","CD_BATCH":"2025120500015","DISTRIBUTETAG":"all-data^non-investment^11110000MB1503996K^110000000000^non-construction^11110000MB1503996K^non-construction_expansion","DATAJSONTEXT":"{\"VERSION\":\"20220810\",\"TREE_TYPE\":\"\",\"CONSULTATION_QA\":\"\"}","parOrder":"","proOrder":"1","newOrderNum":"001","itemGuideConditionRelatedList":[]},{"ID":7855756,"TASKGUID":"f2a2aec4-10aa-4cdf-a2c1-b7e5c0069043","T_ID":"f6a5b9f3-b90d-4a0a-b2b7-d242bf550909","P_ID":"a35811f9-d0ab-4af1-b6bf-41b89c0e5f7f","NAME":"境内自然人","NODE_LEVEL":2,"NODE_PATH":"/a35811f9-d0ab-4af1-b6bf-41b89c0e5f7f/f6a5b9f3-b90d-4a0a-b2b7-d242bf550909","CHILD_COUNT":2,"ORDER_NUM":1,"SERIAL_NUMBER":"1.1","CONDITION_ATTR":"02","IS_RADIO":"","IS_SUPPORT":"","SUMMARY":"","CD_TIME":"Dec 5, 2025 11:52:18 AM","CD_BATCH":"2025120500015","DISTRIBUTETAG":"all-data^non-investment^11110000MB1503996K^110000000000^non-construction^11110000MB1503996K^non-construction_expansion","DATAJSONTEXT":"{\"VERSION\":\"20220810\",\"TREE_TYPE\":\"\",\"CONSULTATION_QA\":\"\"}","parOrder":"","proOrder":"","newOrderNum":"001.001","itemGuideConditionRelatedList":[]},{"ID":7855753,"TASKGUID":"f2a2aec4-10aa-4cdf-a2c1-b7e5c0069043","T_ID":"d683b079-5cef-4434-a914-09f2693eba64","P_ID":"f6a5b9f3-b90d-4a0a-b2b7-d242bf550909","NAME":"是否成年","NODE_LEVEL":3,"NODE_PATH":"/a35811f9-d0ab-4af1-b6bf-41b89c0e5f7f/f6a5b9f3-b90d-4a0a-b2b7-d242bf550909/d683b079-5cef-4434-a914-09f2693eba64","CHILD_COUNT":2,"ORDER_NUM":1,"SERIAL_NUMBER":"1.1.1","CONDITION_ATTR":"01","IS_RADIO":"1","IS_SUPPORT":"","SUMMARY":"","CD_TIME":"Dec 5, 2025 11:52:18 AM","CD_BATCH":"2025120500015","DISTRIBUTETAG":"all-data^non-investment^11110000MB1503996K^110000000000^non-construction^11110000MB1503996K^non-construction_expansion","DATAJSONTEXT":"{\"VERSION\":\"20220810\",\"TREE_TYPE\":\"\",\"CONSULTATION_QA\":\"\"}","parOrder":"1","proOrder":"1","newOrderNum":"001.001.001","itemGuideConditionRelatedList":[]},{"ID":7855744,"TASKGUID":"f2a2aec4-10aa-4cdf-a2c1-b7e5c0069043","T_ID":"64009567-6de5-4809-ab24-12b6347a393b","P_ID":"d683b079-5cef-4434-a914-09f2693eba64","NAME":"是","NODE_LEVEL":4,"NODE_PATH":"/a35811f9-d0ab-4af1-b6bf-41b89c0e5f7f/f6a5b9f3-b90d-4a0a-b2b7-d242bf550909/d683b079-5cef-4434-a914-09f2693eba64/64009567-6de5-4809-ab24-12b6347a393b","CHILD_COUNT":0,"ORDER_NUM":1,"SERIAL_NUMBER":"1.1.1.1","CONDITION_ATTR":"02","IS_RADIO":"","IS_SUPPORT":"","SUMMARY":"","CD_TIME":"Dec 5, 2025 11:52:18 AM","CD_BATCH":"2025120500015","DISTRIBUTETAG":"all-data^non-investment^11110000MB1503996K^110000000000^non-construction^11110000MB1503996K^non-construction_expansion","DATAJSONTEXT":"{\"VERSION\":\"20220810\",\"TREE_TYPE\":\"\",\"CONSULTATION_QA\":\"\"}","parOrder":"","proOrder":"","newOrderNum":"001.001.001.001","itemGuideConditionRelatedList":[{"ID":26486755,"TASKGUID":"f2a2aec4-10aa-4cdf-a2c1-b7e5c0069043","T_ID":"64009567-6de5-4809-ab24-12b6347a393b","G_ID":"fbb7dd11-9ced-4433-984b-16bc8ed9a0c2","M_CODE":"320006","MATERIAL_ID":"25d4e896-4820-42d3-9eb4-bc9bed0211ba","CD_TIME":"Dec 5, 2025 11:52:18 AM","CD_BATCH":"2025120500015","DISTRIBUTETAG":"all-data^non-investment^11110000MB1503996K^110000000000^non-construction^11110000MB1503996K^non-construction_expansion","DATAJSONTEXT":"{\"VERSION\":\"20210903\"}"}]},{"ID":7855742,"TASKGUID":"f2a2aec4-10aa-4cdf-a2c1-b7e5c0069043","T_ID":"5be44109-8be7-4c92-8634-5058ad77b596","P_ID":"d683b079-5cef-4434-a914-09f2693eba64","NAME":"否","NODE_LEVEL":4,"NODE_PATH":"/a35811f9-d0ab-4af1-b6bf-41b89c0e5f7f/f6a5b9f3-b90d-4a0a-b2b7-d242bf550909/d683b079-5cef-4434-a914-09f2693eba64/5be44109-8be7-4c92-8634-5058ad77b596","CHILD_COUNT":0,"ORDER_NUM":2,"SERIAL_NUMBER":"1.1.1.2","CONDITION_ATTR":"02","IS_RADIO":"","IS_SUPPORT":"","SUMMARY":"","CD_TIME":"Dec 5, 2025 11:52:18 AM","CD_BATCH":"2025120500015","DISTRIBUTETAG":"all-data^non-investment^11110000MB1503996K^110000000000^non-construction^11110000MB1503996K^non-construction_expansion","DATAJSONTEXT":"{\"VERSION\":\"20220810\",\"TREE_TYPE\":\"\",\"CONSULTATION_QA\":\"\"}","parOrder":"","proOrder":"","newOrderNum":"001.001.001.002","itemGuideConditionRelatedList":[{"ID":26486944,"TASKGUID":"f2a2aec4-10aa-4cdf-a2c1-b7e5c0069043","T_ID":"5be44109-8be7-4c92-8634-5058ad77b596","G_ID":"1a51ed54-095d-4099-905e-24c309986b58","M_CODE":"320006","MATERIAL_ID":"e50298d0-35be-47cb-b761-d28355b496f6","CD_TIME":"Dec 5, 2025 11:52:18 AM","CD_BATCH":"2025120500015","DISTRIBUTETAG":"all-data^non-investment^11110000MB1503996K^110000000000^non-construction^11110000MB1503996K^non-construction_expansion","DATAJSONTEXT":"{\"VERSION\":\"20210903\"}"},{"ID":26487530,"TASKGUID":"f2a2aec4-10aa-4cdf-a2c1-b7e5c0069043","T_ID":"5be44109-8be7-4c92-8634-5058ad77b596","G_ID":"16890714-bd7c-4c28-a8f6-3ed8f3d98d0f","M_CODE":"340593","MATERIAL_ID":"1a5f6828-62ac-4a13-bb97-332cd7aab5d0","CD_TIME":"Dec 5, 2025 11:52:18 AM","CD_BATCH":"2025120500015","DISTRIBUTETAG":"all-data^non-investment^11110000MB1503996K^110000000000^non-construction^11110000MB1503996K^non-construction_expansion","DATAJSONTEXT":"{\"VERSION\":\"20210903\"}"}]},{"ID":7855752,"TASKGUID":"f2a2aec4-10aa-4cdf-a2c1-b7e5c0069043","T_ID":"cef91026-d899-40e5-bfca-922a3171b50c","P_ID":"f6a5b9f3-b90d-4a0a-b2b7-d242bf550909","NAME":"是否为个体工商户或农村承包经营户","NODE_LEVEL":3,"NODE_PATH":"/a35811f9-d0ab-4af1-b6bf-41b89c0e5f7f/f6a5b9f3-b90d-4a0a-b2b7-d242bf550909/cef91026-d899-40e5-bfca-922a3171b50c","CHILD_COUNT":2,"ORDER_NUM":2,"SERIAL_NUMBER":"1.1.2","CONDITION_ATTR":"01","IS_RADIO":"1","IS_SUPPORT":"","SUMMARY":"","CD_TIME":"Dec 5, 2025 11:52:18 AM","CD_BATCH":"2025120500015","DISTRIBUTETAG":"all-data^non-investment^11110000MB1503996K^110000000000^non-construction^11110000MB1503996K^non-construction_expansion","DATAJSONTEXT":"{\"VERSION\":\"20220810\",\"TREE_TYPE\":\"\",\"CONSULTATION_QA\":\"\"}","parOrder":"1","proOrder":"2","newOrderNum":"001.001.002","itemGuideConditionRelatedList":[]},{"ID":7855755,"TASKGUID":"f2a2aec4-10aa-4cdf-a2c1-b7e5c0069043","T_ID":"f4b1c97c-d869-4b3e-a197-f7aaea82ff67","P_ID":"cef91026-d899-40e5-bfca-922a3171b50c","NAME":"是","NODE_LEVEL":4,"NODE_PATH":"/a35811f9-d0ab-4af1-b6bf-41b89c0e5f7f/f6a5b9f3-b90d-4a0a-b2b7-d242bf550909/cef91026-d899-40e5-bfca-922a3171b50c/f4b1c97c-d869-4b3e-a197-f7aaea82ff67","CHILD_COUNT":0,"ORDER_NUM":1,"SERIAL_NUMBER":"1.1.2.1","CONDITION_ATTR":"02","IS_RADIO":"","IS_SUPPORT":"","SUMMARY":"","CD_TIME":"Dec 5, 2025 11:52:18 AM","CD_BATCH":"2025120500015","DISTRIBUTETAG":"all-data^non-investment^11110000MB1503996K^110000000000^non-construction^11110000MB1503996K^non-construction_expansion","DATAJSONTEXT":"{\"VERSION\":\"20220810\",\"TREE_TYPE\":\"\",\"CONSULTATION_QA\":\"\"}","parOrder":"","proOrder":"","newOrderNum":"001.001.002.001","itemGuideConditionRelatedList":[{"ID":26486935,"TASKGUID":"f2a2aec4-10aa-4cdf-a2c1-b7e5c0069043","T_ID":"f4b1c97c-d869-4b3e-a197-f7aaea82ff67","G_ID":"b33459d1-8891-427f-9d1a-70f12a257dae","M_CODE":"209630","MATERIAL_ID":"790ffdb1-a278-439a-b0d8-1518328dfbbc","CD_TIME":"Dec 5, 2025 11:52:18 AM","CD_BATCH":"2025120500015","DISTRIBUTETAG":"all-data^non-investment^11110000MB1503996K^110000000000^non-construction^11110000MB1503996K^non-construction_expansion","DATAJSONTEXT":"{\"VERSION\":\"20210903\"}"}]},{"ID":7855748,"TASKGUID":"f2a2aec4-10aa-4cdf-a2c1-b7e5c0069043","T_ID":"a2bc0024-d806-4bf4-8c15-04b27ff5bef5","P_ID":"cef91026-d899-40e5-bfca-922a3171b50c","NAME":"否","NODE_LEVEL":4,"NODE_PATH":"/a35811f9-d0ab-4af1-b6bf-41b89c0e5f7f/f6a5b9f3-b90d-4a0a-b2b7-d242bf550909/cef91026-d899-40e5-bfca-922a3171b50c/a2bc0024-d806-4bf4-8c15-04b27ff5bef5","CHILD_COUNT":0,"ORDER_NUM":2,"SERIAL_NUMBER":"1.1.2.2","CONDITION_ATTR":"02","IS_RADIO":"","IS_SUPPORT":"","SUMMARY":"","CD_TIME":"Dec 5, 2025 11:52:18 AM","CD_BATCH":"2025120500015","DISTRIBUTETAG":"all-data^non-investment^11110000MB1503996K^110000000000^non-construction^11110000MB1503996K^non-construction_expansion","DATAJSONTEXT":"{\"VERSION\":\"20220810\",\"TREE_TYPE\":\"\",\"CONSULTATION_QA\":\"\"}","parOrder":"","proOrder":"","newOrderNum":"001.001.002.002","itemGuideConditionRelatedList":[]},{"ID":7855740,"TASKGUID":"f2a2aec4-10aa-4cdf-a2c1-b7e5c0069043","T_ID":"2f048448-f1cd-4724-9df2-2ccd68367639","P_ID":"a35811f9-d0ab-4af1-b6bf-41b89c0e5f7f","NAME":"香港、澳门特别行政区自然人","NODE_LEVEL":2,"NODE_PATH":"/a35811f9-d0ab-4af1-b6bf-41b89c0e5f7f/2f048448-f1cd-4724-9df2-2ccd68367639","CHILD_COUNT":0,"ORDER_NUM":2,"SERIAL_NUMBER":"1.2","CONDITION_ATTR":"02","IS_RADIO":"","IS_SUPPORT":"","SUMMARY":"","CD_TIME":"Dec 5, 2025 11:52:18 AM","CD_BATCH":"2025120500015","DISTRIBUTETAG":"all-data^non-investment^11110000MB1503996K^110000000000^non-construction^11110000MB1503996K^non-construction_expansion","DATAJSONTEXT":"{\"VERSION\":\"20220810\",\"TREE_TYPE\":\"\",\"CONSULTATION_QA\":\"\"}","parOrder":"","proOrder":"","newOrderNum":"001.002","itemGuideConditionRelatedList":[{"ID":26486757,"TASKGUID":"f2a2aec4-10aa-4cdf-a2c1-b7e5c0069043","T_ID":"2f048448-f1cd-4724-9df2-2ccd68367639","G_ID":"1cafbeb7-7962-4515-acad-096fdf345e2e","M_CODE":"347022","MATERIAL_ID":"1c040b96-3e71-49c9-aed5-be16d26feb56","CD_TIME":"Dec 5, 2025 11:52:18 AM","CD_BATCH":"2025120500015","DISTRIBUTETAG":"all-data^non-investment^11110000MB1503996K^110000000000^non-construction^11110000MB1503996K^non-construction_expansion","DATAJSONTEXT":"{\"VERSION\":\"20210903\"}"},{"ID":26486958,"TASKGUID":"f2a2aec4-10aa-4cdf-a2c1-b7e5c0069043","T_ID":"2f048448-f1cd-4724-9df2-2ccd68367639","G_ID":"767025ed-63d2-486e-ad01-392ec37d3566","M_CODE":"345889","MATERIAL_ID":"b4452a18-7452-42c3-8062-c2d8d1f4e330","CD_TIME":"Dec 5, 2025 11:52:18 AM","CD_BATCH":"2025120500015","DISTRIBUTETAG":"all-data^non-investment^11110000MB1503996K^110000000000^non-construction^11110000MB1503996K^non-construction_expansion","DATAJSONTEXT":"{\"VERSION\":\"20210903\"}"},{"ID":26486976,"TASKGUID":"f2a2aec4-10aa-4cdf-a2c1-b7e5c0069043","T_ID":"2f048448-f1cd-4724-9df2-2ccd68367639","G_ID":"a747a827-3b38-4f42-96d9-a7f8593b7012","M_CODE":"347360","MATERIAL_ID":"de521d4f-c69c-4a4d-abca-d74a3c234c53","CD_TIME":"Dec 5, 2025 11:52:18 AM","CD_BATCH":"2025120500015","DISTRIBUTETAG":"all-data^non-investment^11110000MB1503996K^110000000000^non-construction^11110000MB1503996K^non-construction_expansion","DATAJSONTEXT":"{\"VERSION\":\"20210903\"}"},{"ID":26487060,"TASKGUID":"f2a2aec4-10aa-4cdf-a2c1-b7e5c0069043","T_ID":"2f048448-f1cd-4724-9df2-2ccd68367639","G_ID":"2b439fe5-680d-4746-ad00-e1a40fe6769d","M_CODE":"346621","MATERIAL_ID":"032df8ee-9a85-4c17-a678-01df25f9f9e8","CD_TIME":"Dec 5, 2025 11:52:18 AM","CD_BATCH":"2025120500015","DISTRIBUTETAG":"all-data^non-investment^11110000MB1503996K^110000000000^non-construction^11110000MB1503996K^non-construction_expansion","DATAJSONTEXT":"{\"VERSION\":\"20210903\"}"},{"ID":26487129,"TASKGUID":"f2a2aec4-10aa-4cdf-a2c1-b7e5c0069043","T_ID":"2f048448-f1cd-4724-9df2-2ccd68367639","G_ID":"4bef8d3b-53f2-446a-8cd9-68ef7cc2963b","M_CODE":"206127","MATERIAL_ID":"e7ebf596-485c-42bd-a074-18a96c946602","CD_TIME":"Dec 5, 2025 11:52:18 AM","CD_BATCH":"2025120500015","DISTRIBUTETAG":"all-data^non-investment^11110000MB1503996K^110000000000^non-construction^11110000MB1503996K^non-construction_expansion","DATAJSONTEXT":"{\"VERSION\":\"20210903\"}"},{"ID":26487449,"TASKGUID":"f2a2aec4-10aa-4cdf-a2c1-b7e5c0069043","T_ID":"2f048448-f1cd-4724-9df2-2ccd68367639","G_ID":"00f4a5f2-ef3b-4c2f-8c02-56c38c402b24","M_CODE":"340580","MATERIAL_ID":"b5bd73c2-86d1-4122-b255-fe88866f363a","CD_TIME":"Dec 5, 2025 11:52:18 AM","CD_BATCH":"2025120500015","DISTRIBUTETAG":"all-data^non-investment^11110000MB1503996K^110000000000^non-construction^11110000MB1503996K^non-construction_expansion","DATAJSONTEXT":"{\"VERSION\":\"20210903\"}"}]},{"ID":7855743,"TASKGUID":"f2a2aec4-10aa-4cdf-a2c1-b7e5c0069043","T_ID":"5e613fd0-23b8-4cfa-a2b4-cdbf59ff2de7","P_ID":"a35811f9-d0ab-4af1-b6bf-41b89c0e5f7f","NAME":"台湾地区自然人","NODE_LEVEL":2,"NODE_PATH":"/a35811f9-d0ab-4af1-b6bf-41b89c0e5f7f/5e613fd0-23b8-4cfa-a2b4-cdbf59ff2de7","CHILD_COUNT":0,"ORDER_NUM":3,"SERIAL_NUMBER":"1.3","CONDITION_ATTR":"02","IS_RADIO":"","IS_SUPPORT":"","SUMMARY":"","CD_TIME":"Dec 5, 2025 11:52:18 AM","CD_BATCH":"2025120500015","DISTRIBUTETAG":"all-data^non-investment^11110000MB1503996K^110000000000^non-construction^11110000MB1503996K^non-construction_expansion","DATAJSONTEXT":"{\"VERSION\":\"20220810\",\"TREE_TYPE\":\"\",\"CONSULTATION_QA\":\"\"}","parOrder":"","proOrder":"","newOrderNum":"001.003","itemGuideConditionRelatedList":[{"ID":26486841,"TASKGUID":"f2a2aec4-10aa-4cdf-a2c1-b7e5c0069043","T_ID":"5e613fd0-23b8-4cfa-a2b4-cdbf59ff2de7","G_ID":"a7595ee9-1eda-47a6-8120-2652b7d1bed2","M_CODE":"345560","MATERIAL_ID":"63cc2c2a-5e3a-4b46-b2eb-d550c0d879d9","CD_TIME":"Dec 5, 2025 11:52:18 AM","CD_BATCH":"2025120500015","DISTRIBUTETAG":"all-data^non-investment^11110000MB1503996K^110000000000^non-construction^11110000MB1503996K^non-construction_expansion","DATAJSONTEXT":"{\"VERSION\":\"20210903\"}"},{"ID":26487471,"TASKGUID":"f2a2aec4-10aa-4cdf-a2c1-b7e5c0069043","T_ID":"5e613fd0-23b8-4cfa-a2b4-cdbf59ff2de7","G_ID":"24511d97-a2e9-427d-a018-79a43b976614","M_CODE":"340581","MATERIAL_ID":"53956eb9-a77e-49dc-bfa0-188a66edc451","CD_TIME":"Dec 5, 2025 11:52:18 AM","CD_BATCH":"2025120500015","DISTRIBUTETAG":"all-data^non-investment^11110000MB1503996K^110000000000^non-construction^11110000MB1503996K^non-construction_expansion","DATAJSONTEXT":"{\"VERSION\":\"20210903\"}"}]},{"ID":7855754,"TASKGUID":"f2a2aec4-10aa-4cdf-a2c1-b7e5c0069043","T_ID":"d7db309d-c7d6-4ddc-8023-5c24903e7705","P_ID":"a35811f9-d0ab-4af1-b6bf-41b89c0e5f7f","NAME":"华侨","NODE_LEVEL":2,"NODE_PATH":"/a35811f9-d0ab-4af1-b6bf-41b89c0e5f7f/d7db309d-c7d6-4ddc-8023-5c24903e7705","CHILD_COUNT":0,"ORDER_NUM":4,"SERIAL_NUMBER":"1.4","CONDITION_ATTR":"02","IS_RADIO":"","IS_SUPPORT":"","SUMMARY":"","CD_TIME":"Dec 5, 2025 11:52:18 AM","CD_BATCH":"2025120500015","DISTRIBUTETAG":"all-data^non-investment^11110000MB1503996K^110000000000^non-construction^11110000MB1503996K^non-construction_expansion","DATAJSONTEXT":"{\"VERSION\":\"20220810\",\"TREE_TYPE\":\"\",\"CONSULTATION_QA\":\"\"}","parOrder":"","proOrder":"","newOrderNum":"001.004","itemGuideConditionRelatedList":[{"ID":26486743,"TASKGUID":"f2a2aec4-10aa-4cdf-a2c1-b7e5c0069043","T_ID":"d7db309d-c7d6-4ddc-8023-5c24903e7705","G_ID":"fe0e35a4-4840-463b-a558-0176168ef99d","M_CODE":"209630","MATERIAL_ID":"6bbf24f8-4c79-4836-87b0-b9d81480b07d","CD_TIME":"Dec 5, 2025 11:52:18 AM","CD_BATCH":"2025120500015","DISTRIBUTETAG":"all-data^non-investment^11110000MB1503996K^110000000000^non-construction^11110000MB1503996K^non-construction_expansion","DATAJSONTEXT":"{\"VERSION\":\"20210903\"}"},{"ID":26486772,"TASKGUID":"f2a2aec4-10aa-4cdf-a2c1-b7e5c0069043","T_ID":"d7db309d-c7d6-4ddc-8023-5c24903e7705","G_ID":"b9f1822d-2ba6-4f19-a48a-991a38271a91","M_CODE":"340576","MATERIAL_ID":"baef6924-5461-474c-9891-d5d1f0ea20e0","CD_TIME":"Dec 5, 2025 11:52:18 AM","CD_BATCH":"2025120500015","DISTRIBUTETAG":"all-data^non-investment^11110000MB1503996K^110000000000^non-construction^11110000MB1503996K^non-construction_expansion","DATAJSONTEXT":"{\"VERSION\":\"20210903\"}"}]},{"ID":7855750,"TASKGUID":"f2a2aec4-10aa-4cdf-a2c1-b7e5c0069043","T_ID":"ac28decf-e84e-4662-be82-a5d2338d6663","P_ID":"a35811f9-d0ab-4af1-b6bf-41b89c0e5f7f","NAME":"外籍自然人","NODE_LEVEL":2,"NODE_PATH":"/a35811f9-d0ab-4af1-b6bf-41b89c0e5f7f/ac28decf-e84e-4662-be82-a5d2338d6663","CHILD_COUNT":0,"ORDER_NUM":5,"SERIAL_NUMBER":"1.5","CONDITION_ATTR":"02","IS_RADIO":"","IS_SUPPORT":"","SUMMARY":"","CD_TIME":"Dec 5, 2025 11:52:18 AM","CD_BATCH":"2025120500015","DISTRIBUTETAG":"all-data^non-investment^11110000MB1503996K^110000000000^non-construction^11110000MB1503996K^non-construction_expansion","DATAJSONTEXT":"{\"VERSION\":\"20220810\",\"TREE_TYPE\":\"\",\"CONSULTATION_QA\":\"\"}","parOrder":"","proOrder":"","newOrderNum":"001.005","itemGuideConditionRelatedList":[{"ID":26487000,"TASKGUID":"f2a2aec4-10aa-4cdf-a2c1-b7e5c0069043","T_ID":"ac28decf-e84e-4662-be82-a5d2338d6663","G_ID":"0a9a65bf-10d6-475c-8694-c5ed4efd106b","M_CODE":"344780","MATERIAL_ID":"e5d5cd33-900a-4284-bf9f-30b8417e236a","CD_TIME":"Dec 5, 2025 11:52:18 AM","CD_BATCH":"2025120500015","DISTRIBUTETAG":"all-data^non-investment^11110000MB1503996K^110000000000^non-construction^11110000MB1503996K^non-construction_expansion","DATAJSONTEXT":"{\"VERSION\":\"20210903\"}"},{"ID":26487399,"TASKGUID":"f2a2aec4-10aa-4cdf-a2c1-b7e5c0069043","T_ID":"ac28decf-e84e-4662-be82-a5d2338d6663","G_ID":"ccd92e9f-7b50-4ecf-8f13-60ed8bdf6a74","M_CODE":"345804","MATERIAL_ID":"7c0390ae-ede6-410f-804e-13d2a70d0400","CD_TIME":"Dec 5, 2025 11:52:18 AM","CD_BATCH":"2025120500015","DISTRIBUTETAG":"all-data^non-investment^11110000MB1503996K^110000000000^non-construction^11110000MB1503996K^non-construction_expansion","DATAJSONTEXT":"{\"VERSION\":\"20210903\"}"}]},{"ID":7855739,"TASKGUID":"f2a2aec4-10aa-4cdf-a2c1-b7e5c0069043","T_ID":"1e6c6592-ea27-4e7f-89b6-13e0ba4a54e5","P_ID":"a35811f9-d0ab-4af1-b6bf-41b89c0e5f7f","NAME":"境内营利法人","NODE_LEVEL":2,"NODE_PATH":"/a35811f9-d0ab-4af1-b6bf-41b89c0e5f7f/1e6c6592-ea27-4e7f-89b6-13e0ba4a54e5","CHILD_COUNT":0,"ORDER_NUM":6,"SERIAL_NUMBER":"1.6","CONDITION_ATTR":"02","IS_RADIO":"","IS_SUPPORT":"","SUMMARY":"","CD_TIME":"Dec 5, 2025 11:52:18 AM","CD_BATCH":"2025120500015","DISTRIBUTETAG":"all-data^non-investment^11110000MB1503996K^110000000000^non-construction^11110000MB1503996K^non-construction_expansion","DATAJSONTEXT":"{\"VERSION\":\"20220810\",\"TREE_TYPE\":\"\",\"CONSULTATION_QA\":\"\"}","parOrder":"","proOrder":"","newOrderNum":"001.006","itemGuideConditionRelatedList":[{"ID":26487477,"TASKGUID":"f2a2aec4-10aa-4cdf-a2c1-b7e5c0069043","T_ID":"1e6c6592-ea27-4e7f-89b6-13e0ba4a54e5","G_ID":"206cd8c0-3991-476e-9ab8-f6ec157c975a","M_CODE":"341898","MATERIAL_ID":"f141964b-9217-4749-bb0f-9aae71ac7922","CD_TIME":"Dec 5, 2025 11:52:18 AM","CD_BATCH":"2025120500015","DISTRIBUTETAG":"all-data^non-investment^11110000MB1503996K^110000000000^non-construction^11110000MB1503996K^non-construction_expansion","DATAJSONTEXT":"{\"VERSION\":\"20210903\"}"}]},{"ID":7855738,"TASKGUID":"f2a2aec4-10aa-4cdf-a2c1-b7e5c0069043","T_ID":"1ac01517-83ae-43a3-b91a-155ae06ec40d","P_ID":"a35811f9-d0ab-4af1-b6bf-41b89c0e5f7f","NAME":"境内非营利法人","NODE_LEVEL":2,"NODE_PATH":"/a35811f9-d0ab-4af1-b6bf-41b89c0e5f7f/1ac01517-83ae-43a3-b91a-155ae06ec40d","CHILD_COUNT":0,"ORDER_NUM":7,"SERIAL_NUMBER":"1.7","CONDITION_ATTR":"02","IS_RADIO":"","IS_SUPPORT":"","SUMMARY":"","CD_TIME":"Dec 5, 2025 11:52:18 AM","CD_BATCH":"2025120500015","DISTRIBUTETAG":"all-data^non-investment^11110000MB1503996K^110000000000^non-construction^11110000MB1503996K^non-construction_expansion","DATAJSONTEXT":"{\"VERSION\":\"20220810\",\"TREE_TYPE\":\"\",\"CONSULTATION_QA\":\"\"}","parOrder":"","proOrder":"","newOrderNum":"001.007","itemGuideConditionRelatedList":[{"ID":26486786,"TASKGUID":"f2a2aec4-10aa-4cdf-a2c1-b7e5c0069043","T_ID":"1ac01517-83ae-43a3-b91a-155ae06ec40d","G_ID":"b53ab04c-ab78-492d-bcc4-61c6b51292d8","M_CODE":"345025","MATERIAL_ID":"abeea682-ce87-470d-a66c-ba9af3379590","CD_TIME":"Dec 5, 2025 11:52:18 AM","CD_BATCH":"2025120500015","DISTRIBUTETAG":"all-data^non-investment^11110000MB1503996K^110000000000^non-construction^11110000MB1503996K^non-construction_expansion","DATAJSONTEXT":"{\"VERSION\":\"20210903\"}"},{"ID":26486870,"TASKGUID":"f2a2aec4-10aa-4cdf-a2c1-b7e5c0069043","T_ID":"1ac01517-83ae-43a3-b91a-155ae06ec40d","G_ID":"94532675-9f76-4593-851e-d249958ddde6","M_CODE":"340680","MATERIAL_ID":"0fcb25fa-256b-4226-afbf-fef9739fad14","CD_TIME":"Dec 5, 2025 11:52:18 AM","CD_BATCH":"2025120500015","DISTRIBUTETAG":"all-data^non-investment^11110000MB1503996K^110000000000^non-construction^11110000MB1503996K^non-construction_expansion","DATAJSONTEXT":"{\"VERSION\":\"20210903\"}"},{"ID":26486900,"TASKGUID":"f2a2aec4-10aa-4cdf-a2c1-b7e5c0069043","T_ID":"1ac01517-83ae-43a3-b91a-155ae06ec40d","G_ID":"89d12208-dc55-4611-9414-41990ba9978f","M_CODE":"209630","MATERIAL_ID":"93ed342e-5066-4fd5-9bcd-e89f74e8ab3a","CD_TIME":"Dec 5, 2025 11:52:18 AM","CD_BATCH":"2025120500015","DISTRIBUTETAG":"all-data^non-investment^11110000MB1503996K^110000000000^non-construction^11110000MB1503996K^non-construction_expansion","DATAJSONTEXT":"{\"VERSION\":\"20210903\"}"},{"ID":26487391,"TASKGUID":"f2a2aec4-10aa-4cdf-a2c1-b7e5c0069043","T_ID":"1ac01517-83ae-43a3-b91a-155ae06ec40d","G_ID":"aa53d1ca-7a1a-439c-a7ba-f74a0c3f170f","M_CODE":"340675","MATERIAL_ID":"aaa8fa5c-3919-46b7-b0c3-7551ebe227c7","CD_TIME":"Dec 5, 2025 11:52:18 AM","CD_BATCH":"2025120500015","DISTRIBUTETAG":"all-data^non-investment^11110000MB1503996K^110000000000^non-construction^11110000MB1503996K^non-construction_expansion","DATAJSONTEXT":"{\"VERSION\":\"20210903\"}"},{"ID":26487430,"TASKGUID":"f2a2aec4-10aa-4cdf-a2c1-b7e5c0069043","T_ID":"1ac01517-83ae-43a3-b91a-155ae06ec40d","G_ID":"c9b321f7-8b4e-4f5f-bdd4-0965f24b0483","M_CODE":"203760","MATERIAL_ID":"84e62d92-0e0d-4c1a-95d2-10c8dc49a348","CD_TIME":"Dec 5, 2025 11:52:18 AM","CD_BATCH":"2025120500015","DISTRIBUTETAG":"all-data^non-investment^11110000MB1503996K^110000000000^non-construction^11110000MB1503996K^non-construction_expansion","DATAJSONTEXT":"{\"VERSION\":\"20210903\"}"},{"ID":26487456,"TASKGUID":"f2a2aec4-10aa-4cdf-a2c1-b7e5c0069043","T_ID":"1ac01517-83ae-43a3-b91a-155ae06ec40d","G_ID":"f3471d7b-d176-43a9-b214-dbaae334254d","M_CODE":"344352","MATERIAL_ID":"b51a1fa4-c260-483c-9625-a3608d7a1621","CD_TIME":"Dec 5, 2025 11:52:18 AM","CD_BATCH":"2025120500015","DISTRIBUTETAG":"all-data^non-investment^11110000MB1503996K^110000000000^non-construction^11110000MB1503996K^non-construction_expansion","DATAJSONTEXT":"{\"VERSION\":\"20210903\"}"}]},{"ID":7855747,"TASKGUID":"f2a2aec4-10aa-4cdf-a2c1-b7e5c0069043","T_ID":"a17ae37e-65b2-47ca-b44c-bf535b5f70ed","P_ID":"a35811f9-d0ab-4af1-b6bf-41b89c0e5f7f","NAME":"境内特别法人","NODE_LEVEL":2,"NODE_PATH":"/a35811f9-d0ab-4af1-b6bf-41b89c0e5f7f/a17ae37e-65b2-47ca-b44c-bf535b5f70ed","CHILD_COUNT":0,"ORDER_NUM":8,"SERIAL_NUMBER":"1.8","CONDITION_ATTR":"02","IS_RADIO":"","IS_SUPPORT":"","SUMMARY":"","CD_TIME":"Dec 5, 2025 11:52:18 AM","CD_BATCH":"2025120500015","DISTRIBUTETAG":"all-data^non-investment^11110000MB1503996K^110000000000^non-construction^11110000MB1503996K^non-construction_expansion","DATAJSONTEXT":"{\"VERSION\":\"20220810\",\"TREE_TYPE\":\"\",\"CONSULTATION_QA\":\"\"}","parOrder":"","proOrder":"","newOrderNum":"001.008","itemGuideConditionRelatedList":[{"ID":26486656,"TASKGUID":"f2a2aec4-10aa-4cdf-a2c1-b7e5c0069043","T_ID":"a17ae37e-65b2-47ca-b44c-bf535b5f70ed","G_ID":"32a70035-c408-441c-8a18-8b234c457e87","M_CODE":"345097","MATERIAL_ID":"5e3dd0c7-3b0a-4be7-a578-09beea555ed4","CD_TIME":"Dec 5, 2025 11:52:18 AM","CD_BATCH":"2025120500015","DISTRIBUTETAG":"all-data^non-investment^11110000MB1503996K^110000000000^non-construction^11110000MB1503996K^non-construction_expansion","DATAJSONTEXT":"{\"VERSION\":\"20210903\"}"},{"ID":26486733,"TASKGUID":"f2a2aec4-10aa-4cdf-a2c1-b7e5c0069043","T_ID":"a17ae37e-65b2-47ca-b44c-bf535b5f70ed","G_ID":"36ca6e2d-0f37-4554-9df6-9b557577bbe7","M_CODE":"320084","MATERIAL_ID":"aea75e21-ab39-45dd-b95a-8de030a98eee","CD_TIME":"Dec 5, 2025 11:52:18 AM","CD_BATCH":"2025120500015","DISTRIBUTETAG":"all-data^non-investment^11110000MB1503996K^110000000000^non-construction^11110000MB1503996K^non-construction_expansion","DATAJSONTEXT":"{\"VERSION\":\"20210903\"}"},{"ID":26486887,"TASKGUID":"f2a2aec4-10aa-4cdf-a2c1-b7e5c0069043","T_ID":"a17ae37e-65b2-47ca-b44c-bf535b5f70ed","G_ID":"82b4b963-5c99-4124-9ef5-0ab9ce05159f","M_CODE":"203376","MATERIAL_ID":"a7f67394-d6d2-4f42-b1cb-1bcc544063ac","CD_TIME":"Dec 5, 2025 11:52:18 AM","CD_BATCH":"2025120500015","DISTRIBUTETAG":"all-data^non-investment^11110000MB1503996K^110000000000^non-construction^11110000MB1503996K^non-construction_expansion","DATAJSONTEXT":"{\"VERSION\":\"20210903\"}"},{"ID":26486895,"TASKGUID":"f2a2aec4-10aa-4cdf-a2c1-b7e5c0069043","T_ID":"a17ae37e-65b2-47ca-b44c-bf535b5f70ed","G_ID":"7aa6914c-fec2-459a-bd69-df5e7e6cf1e5","M_CODE":"346737","MATERIAL_ID":"63196c89-fd59-4676-9e49-6a7109e91791","CD_TIME":"Dec 5, 2025 11:52:18 AM","CD_BATCH":"2025120500015","DISTRIBUTETAG":"all-data^non-investment^11110000MB1503996K^110000000000^non-construction^11110000MB1503996K^non-construction_expansion","DATAJSONTEXT":"{\"VERSION\":\"20210903\"}"},{"ID":26487498,"TASKGUID":"f2a2aec4-10aa-4cdf-a2c1-b7e5c0069043","T_ID":"a17ae37e-65b2-47ca-b44c-bf535b5f70ed","G_ID":"e5ee5953-4338-4ce3-9d48-4f26bc86f1fe","M_CODE":"346738","MATERIAL_ID":"f5dd1659-4bd2-44b8-829f-dcf8a6f7c55e","CD_TIME":"Dec 5, 2025 11:52:18 AM","CD_BATCH":"2025120500015","DISTRIBUTETAG":"all-data^non-investment^11110000MB1503996K^110000000000^non-construction^11110000MB1503996K^non-construction_expansion","DATAJSONTEXT":"{\"VERSION\":\"20210903\"}"}]},{"ID":7855737,"TASKGUID":"f2a2aec4-10aa-4cdf-a2c1-b7e5c0069043","T_ID":"03981ed3-d860-4223-a4fa-2707759c9732","P_ID":"a35811f9-d0ab-4af1-b6bf-41b89c0e5f7f","NAME":"境内非法人组织","NODE_LEVEL":2,"NODE_PATH":"/a35811f9-d0ab-4af1-b6bf-41b89c0e5f7f/03981ed3-d860-4223-a4fa-2707759c9732","CHILD_COUNT":0,"ORDER_NUM":9,"SERIAL_NUMBER":"1.9","CONDITION_ATTR":"02","IS_RADIO":"","IS_SUPPORT":"","SUMMARY":"","CD_TIME":"Dec 5, 2025 11:52:18 AM","CD_BATCH":"2025120500015","DISTRIBUTETAG":"all-data^non-investment^11110000MB1503996K^110000000000^non-construction^11110000MB1503996K^non-construction_expansion","DATAJSONTEXT":"{\"VERSION\":\"20220810\",\"TREE_TYPE\":\"\",\"CONSULTATION_QA\":\"\"}","parOrder":"","proOrder":"","newOrderNum":"001.009","itemGuideConditionRelatedList":[{"ID":26486686,"TASKGUID":"f2a2aec4-10aa-4cdf-a2c1-b7e5c0069043","T_ID":"03981ed3-d860-4223-a4fa-2707759c9732","G_ID":"920ff7c9-bad7-44df-b501-7bbd2a7401d8","M_CODE":"341898","MATERIAL_ID":"c220a835-a19d-4ea2-ad72-e108b61a3163","CD_TIME":"Dec 5, 2025 11:52:18 AM","CD_BATCH":"2025120500015","DISTRIBUTETAG":"all-data^non-investment^11110000MB1503996K^110000000000^non-construction^11110000MB1503996K^non-construction_expansion","DATAJSONTEXT":"{\"VERSION\":\"20210903\"}"},{"ID":26487242,"TASKGUID":"f2a2aec4-10aa-4cdf-a2c1-b7e5c0069043","T_ID":"03981ed3-d860-4223-a4fa-2707759c9732","G_ID":"1c42ecc7-c674-48fd-a39d-c18d2f508d0b","M_CODE":"209630","MATERIAL_ID":"cf2c5566-01b7-431e-9407-ea9cb0295e6c","CD_TIME":"Dec 5, 2025 11:52:18 AM","CD_BATCH":"2025120500015","DISTRIBUTETAG":"all-data^non-investment^11110000MB1503996K^110000000000^non-construction^11110000MB1503996K^non-construction_expansion","DATAJSONTEXT":"{\"VERSION\":\"20210903\"}"}]},{"ID":7855745,"TASKGUID":"f2a2aec4-10aa-4cdf-a2c1-b7e5c0069043","T_ID":"70909315-7f0d-4e0a-814b-aee03e53cbcf","P_ID":"a35811f9-d0ab-4af1-b6bf-41b89c0e5f7f","NAME":"香港特别行政区、澳门特别行政区、台湾地区的法人或非法人组织","NODE_LEVEL":2,"NODE_PATH":"/a35811f9-d0ab-4af1-b6bf-41b89c0e5f7f/70909315-7f0d-4e0a-814b-aee03e53cbcf","CHILD_COUNT":0,"ORDER_NUM":10,"SERIAL_NUMBER":"1.10","CONDITION_ATTR":"02","IS_RADIO":"","IS_SUPPORT":"","SUMMARY":"","CD_TIME":"Dec 5, 2025 11:52:18 AM","CD_BATCH":"2025120500015","DISTRIBUTETAG":"all-data^non-investment^11110000MB1503996K^110000000000^non-construction^11110000MB1503996K^non-construction_expansion","DATAJSONTEXT":"{\"VERSION\":\"20220810\",\"TREE_TYPE\":\"\",\"CONSULTATION_QA\":\"\"}","parOrder":"","proOrder":"","newOrderNum":"001.010","itemGuideConditionRelatedList":[{"ID":26487141,"TASKGUID":"f2a2aec4-10aa-4cdf-a2c1-b7e5c0069043","T_ID":"70909315-7f0d-4e0a-814b-aee03e53cbcf","G_ID":"a9188c1e-c137-4108-82f6-9f3fc88db8b7","M_CODE":"203379","MATERIAL_ID":"3c51c230-b131-4501-a94c-984e72bb9f1e","CD_TIME":"Dec 5, 2025 11:52:18 AM","CD_BATCH":"2025120500015","DISTRIBUTETAG":"all-data^non-investment^11110000MB1503996K^110000000000^non-construction^11110000MB1503996K^non-construction_expansion","DATAJSONTEXT":"{\"VERSION\":\"20210903\"}"},{"ID":26487228,"TASKGUID":"f2a2aec4-10aa-4cdf-a2c1-b7e5c0069043","T_ID":"70909315-7f0d-4e0a-814b-aee03e53cbcf","G_ID":"0af2a840-7d12-4485-bfc1-208a74f2fc56","M_CODE":"203426","MATERIAL_ID":"ccc4ac46-a56e-4431-991f-4267860badc2","CD_TIME":"Dec 5, 2025 11:52:18 AM","CD_BATCH":"2025120500015","DISTRIBUTETAG":"all-data^non-investment^11110000MB1503996K^110000000000^non-construction^11110000MB1503996K^non-construction_expansion","DATAJSONTEXT":"{\"VERSION\":\"20210903\"}"},{"ID":26487349,"TASKGUID":"f2a2aec4-10aa-4cdf-a2c1-b7e5c0069043","T_ID":"70909315-7f0d-4e0a-814b-aee03e53cbcf","G_ID":"f24902e1-0824-43ea-b224-3e9762c07e14","M_CODE":"203425","MATERIAL_ID":"6f95917d-b010-40d7-a68c-77e6b38fd33a","CD_TIME":"Dec 5, 2025 11:52:18 AM","CD_BATCH":"2025120500015","DISTRIBUTETAG":"all-data^non-investment^11110000MB1503996K^110000000000^non-construction^11110000MB1503996K^non-construction_expansion","DATAJSONTEXT":"{\"VERSION\":\"20210903\"}"}]},{"ID":7855751,"TASKGUID":"f2a2aec4-10aa-4cdf-a2c1-b7e5c0069043","T_ID":"b05c544d-6777-4b27-b04e-8e28e36019fd","P_ID":"a35811f9-d0ab-4af1-b6bf-41b89c0e5f7f","NAME":"境外法人或非法人组织","NODE_LEVEL":2,"NODE_PATH":"/a35811f9-d0ab-4af1-b6bf-41b89c0e5f7f/b05c544d-6777-4b27-b04e-8e28e36019fd","CHILD_COUNT":0,"ORDER_NUM":11,"SERIAL_NUMBER":"1.11","CONDITION_ATTR":"02","IS_RADIO":"","IS_SUPPORT":"","SUMMARY":"","CD_TIME":"Dec 5, 2025 11:52:18 AM","CD_BATCH":"2025120500015","DISTRIBUTETAG":"all-data^non-investment^11110000MB1503996K^110000000000^non-construction^11110000MB1503996K^non-construction_expansion","DATAJSONTEXT":"{\"VERSION\":\"20220810\",\"TREE_TYPE\":\"\",\"CONSULTATION_QA\":\"\"}","parOrder":"","proOrder":"","newOrderNum":"001.011","itemGuideConditionRelatedList":[{"ID":26487205,"TASKGUID":"f2a2aec4-10aa-4cdf-a2c1-b7e5c0069043","T_ID":"b05c544d-6777-4b27-b04e-8e28e36019fd","G_ID":"b256b87e-ff81-4b3b-a72a-338febb5bdde","M_CODE":"203426","MATERIAL_ID":"a4b1c072-0726-4165-a5dd-8caec589212f","CD_TIME":"Dec 5, 2025 11:52:18 AM","CD_BATCH":"2025120500015","DISTRIBUTETAG":"all-data^non-investment^11110000MB1503996K^110000000000^non-construction^11110000MB1503996K^non-construction_expansion","DATAJSONTEXT":"{\"VERSION\":\"20210903\"}"},{"ID":26487331,"TASKGUID":"f2a2aec4-10aa-4cdf-a2c1-b7e5c0069043","T_ID":"b05c544d-6777-4b27-b04e-8e28e36019fd","G_ID":"34c5b310-da07-4671-a567-99d40c46475a","M_CODE":"203425","MATERIAL_ID":"9489004b-5495-412d-a378-f726d4f37ad2","CD_TIME":"Dec 5, 2025 11:52:18 AM","CD_BATCH":"2025120500015","DISTRIBUTETAG":"all-data^non-investment^11110000MB1503996K^110000000000^non-construction^11110000MB1503996K^non-construction_expansion","DATAJSONTEXT":"{\"VERSION\":\"20210903\"}"},{"ID":26487404,"TASKGUID":"f2a2aec4-10aa-4cdf-a2c1-b7e5c0069043","T_ID":"b05c544d-6777-4b27-b04e-8e28e36019fd","G_ID":"95ea902d-52a3-4c9d-8740-549ee524ed8a","M_CODE":"203378","MATERIAL_ID":"536daab4-aae4-443a-98ca-7365116ed710","CD_TIME":"Dec 5, 2025 11:52:18 AM","CD_BATCH":"2025120500015","DISTRIBUTETAG":"all-data^non-investment^11110000MB1503996K^110000000000^non-construction^11110000MB1503996K^non-construction_expansion","DATAJSONTEXT":"{\"VERSION\":\"20210903\"}"}]},{"ID":7855758,"TASKGUID":"f2a2aec4-10aa-4cdf-a2c1-b7e5c0069043","T_ID":"ff20a2f2-2299-4597-ad20-14dcbec13203","P_ID":"a35811f9-d0ab-4af1-b6bf-41b89c0e5f7f","NAME":"外国驻华使(领)馆和外国驻华办事机构、国际组织驻华代表机构","NODE_LEVEL":2,"NODE_PATH":"/a35811f9-d0ab-4af1-b6bf-41b89c0e5f7f/ff20a2f2-2299-4597-ad20-14dcbec13203","CHILD_COUNT":0,"ORDER_NUM":12,"SERIAL_NUMBER":"1.12","CONDITION_ATTR":"02","IS_RADIO":"","IS_SUPPORT":"","SUMMARY":"","CD_TIME":"Dec 5, 2025 11:52:18 AM","CD_BATCH":"2025120500015","DISTRIBUTETAG":"all-data^non-investment^11110000MB1503996K^110000000000^non-construction^11110000MB1503996K^non-construction_expansion","DATAJSONTEXT":"{\"VERSION\":\"20220810\",\"TREE_TYPE\":\"\",\"CONSULTATION_QA\":\"\"}","parOrder":"","proOrder":"","newOrderNum":"001.012","itemGuideConditionRelatedList":[{"ID":26487022,"TASKGUID":"f2a2aec4-10aa-4cdf-a2c1-b7e5c0069043","T_ID":"ff20a2f2-2299-4597-ad20-14dcbec13203","G_ID":"1711b942-b3a9-4dd5-bc48-b86fe3e1abd3","M_CODE":"209630","MATERIAL_ID":"d2d093ff-0820-4b35-ab0c-525e7af735e8","CD_TIME":"Dec 5, 2025 11:52:18 AM","CD_BATCH":"2025120500015","DISTRIBUTETAG":"all-data^non-investment^11110000MB1503996K^110000000000^non-construction^11110000MB1503996K^non-construction_expansion","DATAJSONTEXT":"{\"VERSION\":\"20210903\"}"}]},{"ID":7855741,"TASKGUID":"f2a2aec4-10aa-4cdf-a2c1-b7e5c0069043","T_ID":"44063a92-ac8d-4477-8c75-77ee9d875455","P_ID":"","NAME":"抵押权转移的类型","NODE_LEVEL":1,"NODE_PATH":"/44063a92-ac8d-4477-8c75-77ee9d875455","CHILD_COUNT":2,"ORDER_NUM":2,"SERIAL_NUMBER":"2","CONDITION_ATTR":"01","IS_RADIO":"1","IS_SUPPORT":"","SUMMARY":"2 抵押权转移的类型\n\t2.1 申请一般抵押权转移登记\n\t2.2 申请最高额抵押权转移登记","CD_TIME":"Dec 5, 2025 11:52:18 AM","CD_BATCH":"2025120500015","DISTRIBUTETAG":"all-data^non-investment^11110000MB1503996K^110000000000^non-construction^11110000MB1503996K^non-construction_expansion","DATAJSONTEXT":"{\"VERSION\":\"20220810\",\"TREE_TYPE\":\"\",\"CONSULTATION_QA\":\"\"}","parOrder":"","proOrder":"2","newOrderNum":"002","itemGuideConditionRelatedList":[]},{"ID":7855746,"TASKGUID":"f2a2aec4-10aa-4cdf-a2c1-b7e5c0069043","T_ID":"9d71e299-c09a-46eb-b7c7-96fe667223b7","P_ID":"44063a92-ac8d-4477-8c75-77ee9d875455","NAME":"申请一般抵押权转移登记","NODE_LEVEL":2,"NODE_PATH":"/44063a92-ac8d-4477-8c75-77ee9d875455/9d71e299-c09a-46eb-b7c7-96fe667223b7","CHILD_COUNT":0,"ORDER_NUM":1,"SERIAL_NUMBER":"2.1","CONDITION_ATTR":"02","IS_RADIO":"","IS_SUPPORT":"","SUMMARY":"","CD_TIME":"Dec 5, 2025 11:52:18 AM","CD_BATCH":"2025120500015","DISTRIBUTETAG":"all-data^non-investment^11110000MB1503996K^110000000000^non-construction^11110000MB1503996K^non-construction_expansion","DATAJSONTEXT":"{\"VERSION\":\"20220810\",\"TREE_TYPE\":\"\",\"CONSULTATION_QA\":\"\"}","parOrder":"","proOrder":"","newOrderNum":"002.001","itemGuideConditionRelatedList":[{"ID":26486996,"TASKGUID":"f2a2aec4-10aa-4cdf-a2c1-b7e5c0069043","T_ID":"9d71e299-c09a-46eb-b7c7-96fe667223b7","G_ID":"19dc6d24-a04b-4e67-9fa1-d6524124ec7e","M_CODE":"203801","MATERIAL_ID":"4e74bee3-6ada-4ad0-a40d-280c9422b508","CD_TIME":"Dec 5, 2025 11:52:18 AM","CD_BATCH":"2025120500015","DISTRIBUTETAG":"all-data^non-investment^11110000MB1503996K^110000000000^non-construction^11110000MB1503996K^non-construction_expansion","DATAJSONTEXT":"{\"VERSION\":\"20210903\"}"}]},{"ID":7855757,"TASKGUID":"f2a2aec4-10aa-4cdf-a2c1-b7e5c0069043","T_ID":"f984d598-db10-4f0e-bf0c-911e067a9ff9","P_ID":"44063a92-ac8d-4477-8c75-77ee9d875455","NAME":"申请最高额抵押权转移登记","NODE_LEVEL":2,"NODE_PATH":"/44063a92-ac8d-4477-8c75-77ee9d875455/f984d598-db10-4f0e-bf0c-911e067a9ff9","CHILD_COUNT":0,"ORDER_NUM":2,"SERIAL_NUMBER":"2.2","CONDITION_ATTR":"02","IS_RADIO":"","IS_SUPPORT":"","SUMMARY":"","CD_TIME":"Dec 5, 2025 11:52:18 AM","CD_BATCH":"2025120500015","DISTRIBUTETAG":"all-data^non-investment^11110000MB1503996K^110000000000^non-construction^11110000MB1503996K^non-construction_expansion","DATAJSONTEXT":"{\"VERSION\":\"20220810\",\"TREE_TYPE\":\"\",\"CONSULTATION_QA\":\"\"}","parOrder":"","proOrder":"","newOrderNum":"002.002","itemGuideConditionRelatedList":[{"ID":26486657,"TASKGUID":"f2a2aec4-10aa-4cdf-a2c1-b7e5c0069043","T_ID":"f984d598-db10-4f0e-bf0c-911e067a9ff9","G_ID":"f35b0cfa-ca4c-48bf-849e-184edfb0acbf","M_CODE":"203782","MATERIAL_ID":"7944327d-24f1-4a7d-b261-6301d3bdda80","CD_TIME":"Dec 5, 2025 11:52:18 AM","CD_BATCH":"2025120500015","DISTRIBUTETAG":"all-data^non-investment^11110000MB1503996K^110000000000^non-construction^11110000MB1503996K^non-construction_expansion","DATAJSONTEXT":"{\"VERSION\":\"20210903\"}"},{"ID":26487260,"TASKGUID":"f2a2aec4-10aa-4cdf-a2c1-b7e5c0069043","T_ID":"f984d598-db10-4f0e-bf0c-911e067a9ff9","G_ID":"dfbe771a-e9d3-484a-90e1-6de5cf3855ce","M_CODE":"203732","MATERIAL_ID":"a76346c4-938b-41f0-86a4-66ac8c4c41c9","CD_TIME":"Dec 5, 2025 11:52:18 AM","CD_BATCH":"2025120500015","DISTRIBUTETAG":"all-data^non-investment^11110000MB1503996K^110000000000^non-construction^11110000MB1503996K^non-construction_expansion","DATAJSONTEXT":"{\"VERSION\":\"20210903\"}"}]}]
2
1^2^3^4^5^6^9
https://bjt.beijing.gov.cn/renzheng/open/login/goUserLogin?client_id=100100000228&redirect_uri=http://bdc.ghzrzyw.beijing.gov.cn/eo/user/bjtLogin&state=PC_140000001&response_type=code&scope=user_info;https://yzt.beijing.gov.cn/am/oauth2/authorize?service=bjzwService&response_type=code&client_id=000026681_04&scope=cn+uid+idCardNumber+reserve3+extProperties+credenceClass&redirect_uri=http%3A%2F%2Fbdc.ghzrzyw.beijing.gov.cn%2Feo%2Fuser%2FyztLogin%3Fstate%3D140000001

政务服务> 办事指南

抵押权转移登记

北京市

切换简洁版

  • 承诺件

    办件类型

  • 0

    到现场次数

  • 30工作日

    法定办结时限

  • 5工作日

    承诺办结时限

好差评

5.0

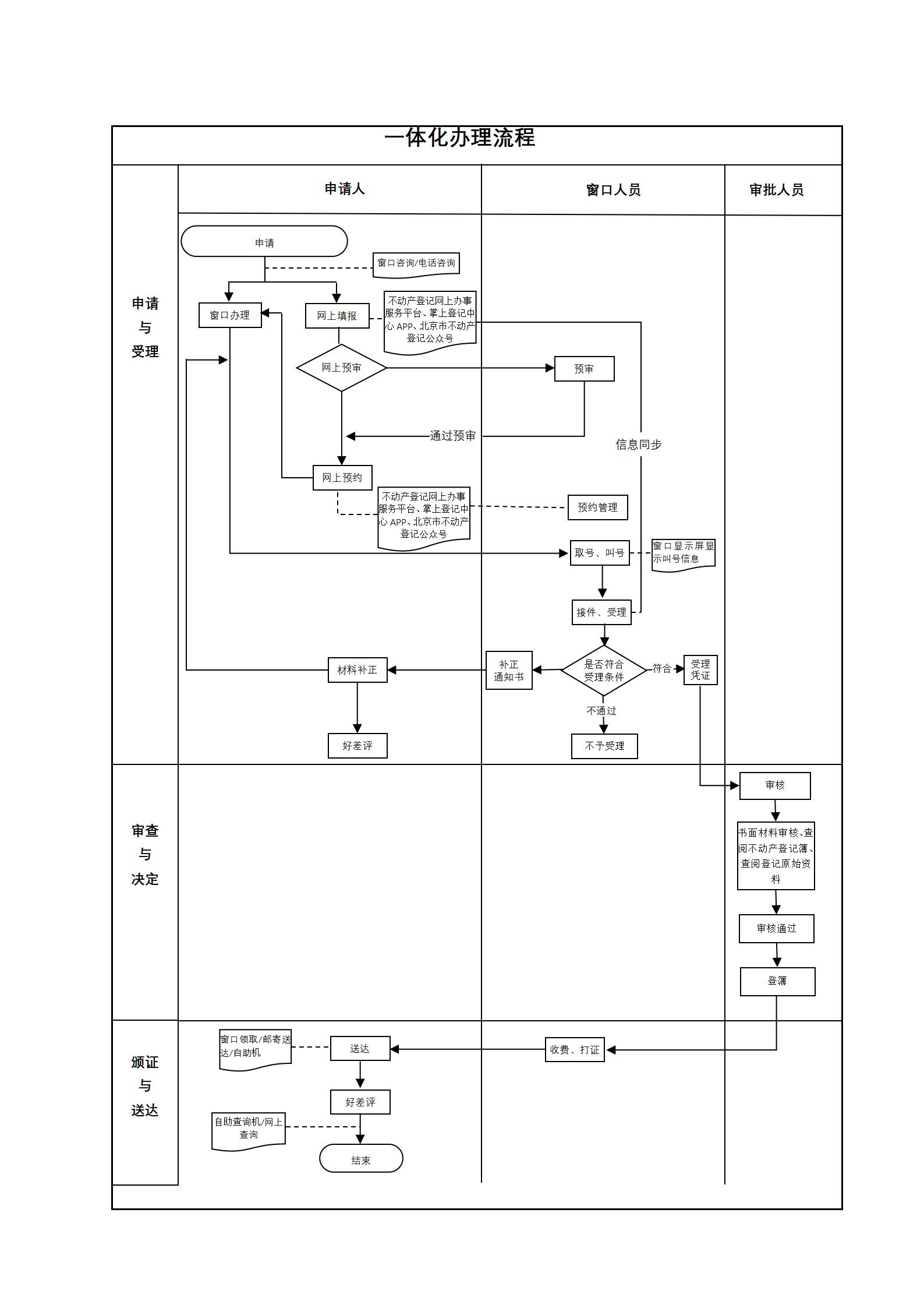
办件承诺办结时限说明:(承诺时限为办理流程中“审查与决定”环节的计时时限)

办件承诺办结时限说明:

(承诺时限为办理流程中“审查与决定”环节的计时时限)

基本信息

实施主体 北京市规划和自然资源委员会 服务对象
事项类型 行政确认 办理形式
受理条件 1.因主债权转让导致抵押权转让的,当事人可以持不动产权属证书、不动产登记证明、被担保主债权的转让协议、债权人已经通知债务人的材料等相关材料,申请抵押权的转移登记。 2.申请登记事项在本登记部门的登记职责范围内; 3.申请材料形式符合要求; 4.申请人与依法应当提交的申请材料记载的主体一致; 5.申请登记的不动产权利与登记原因文件记载的不动产权利一致; 6.申请内容与询问记录不冲突。
办理时间 法定工作日: 上午08:30 - 12:00、下午12:00 - 17:30; 周六:上午:08:30 - 12:30(需预约);法定节假日不对外服务。;法定工作日: 上午: 09:00 - 12:00; 下午: 12:00 - 17:00; (延时服务时间: 工作日上午08:30 - 09:00; 下午17:00 - 17:30; 周六上午09:00 - 13:00; )... 查看详情
办理地点 北京市政务服务中心:北京市丰台区西三环南路1号(六里桥西南角)综合窗口 北京城市副中心政务服务中心:北京市通州区新华东街48号二区(东南角)综合窗口 查看详情
咨询方式

咨询电话:

(010)89150318【展开】

咨询窗口地址:

北京市政务服务中心:北京市丰台区西三环南路1号(六里桥西南角)2层C岛综合窗口 北京城市副中心政务服务中心:北京市通州区新华东街48号二区(东南角)(综合窗口)【展开】

投诉监督方式
基本编码 000715001014 事项编码 11110000MB1503996K2000715001014
业务办理项编码 11110000MB1503996K200071500101401 进驻大厅类型
权力来源 法定本级行使 网上支付
所属机构 北京市规划和自然资源委员会 委托部门
联办机构 实施主体性质 法定机关
办理进程查询途径
行使层级 市级 运行系统 市级自建(垂管)
物流快递 办理方式 自办件
预约办理 数量限制 无数量限制
中介服务 权限划分
通办范围 全区 特殊程序
行使内容 对涉及在京中央和国家机关、驻京部队、保密单位的业务为市级办理 ,其余的登记业务在不动产所在地的各区不动产登记中心办理
显示更多

请选择情形:

提示:通过情形选择可引导出您办理该事项所需的材料,若要查看全部材料,请点击"查看全部材料"

查看全部材料 情形引导

收起
我选好了重选条件

序号 材料名称 材料来源 材料
必要性
数量要求 介质要求 表格及样例
下载
受理标准 提供材料
依据
其他要求
申请材料总要求委托办理的:提交授权委托书(原件1份)、受托人身份材料(原件1份,复印件1份);无、限制民事行为能力人申请登记的:提交证实被监护人为无、限制民事行为能力人的材料(原件1份,复印件1份)、监护关系材料(原件1份,复印件1份)、监护人的身份材料(原件1份,复印件1份)
序号 材料名称 材料来源 材料
必要性
数量要求 介质要求 表格及样例
下载
受理标准 提供材料
依据
其他要求
申请材料总要求委托办理的:提交授权委托书(原件1份)、受托人身份材料(原件1份,复印件1份);无、限制民事行为能力人申请登记的:提交证实被监护人为无、限制民事行为能力人的材料(原件1份,复印件1份)、监护关系材料(原件1份,复印件1份)、监护人的身份材料(原件1份,复印件1份)
显示更多

指南分享