政务服务> 办事指南
北京市
切换简洁版
基本信息
| 实施主体 | 北京市公安局公安交通管理局西城交通支队 | 服务对象 | |
| 事项类型 | 公共服务 | 办理形式 | |
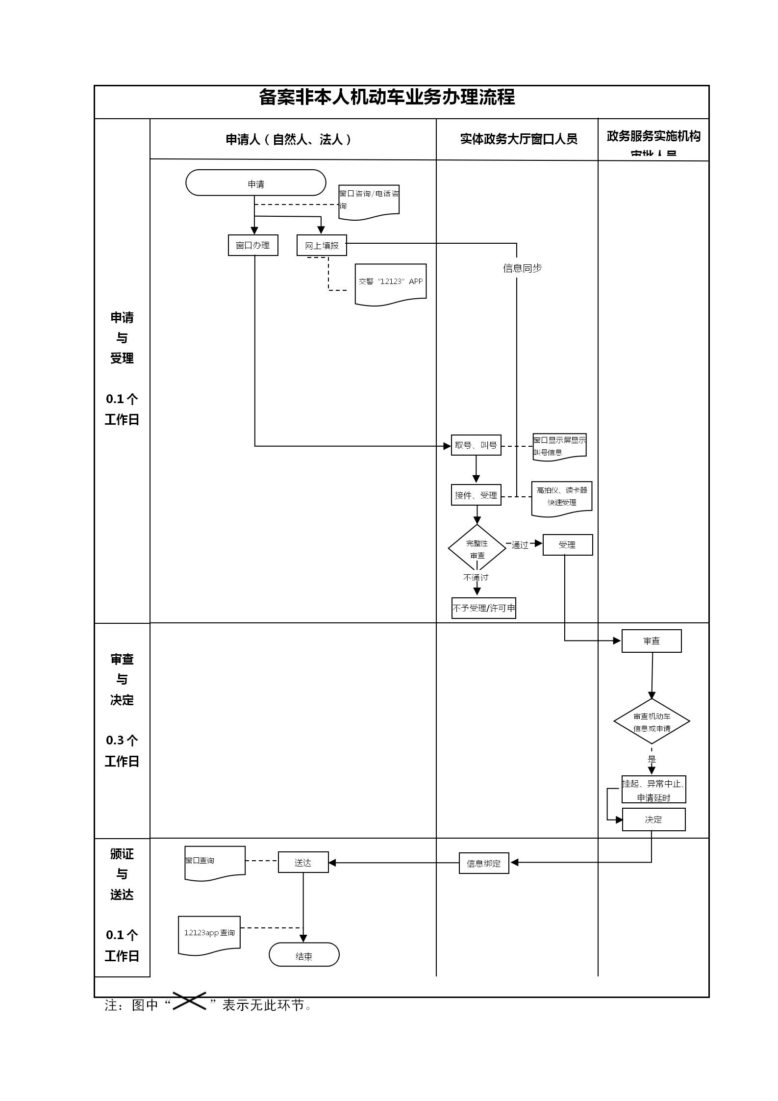
| 受理条件 | 驾驶人、车辆所有人登陆“交管12123”手机APP,通过填写信息、上传照片、验证手机号,自助办理驾驶人与非本人名下机动车的绑定业务。不便进行网上自助绑定,也可前往公安交通管理部门互联网业务受理窗口(本市交管局各车管分所及各交通支、大队车管站),提交相关证件材料现场办理绑定业务,其中《互联网个人用户注册/变更申请表》由窗口工作人员打印后,由驾驶人签字。 公安机关交通管理部门对机动车驾驶人的道路交通安全违法行为,除依法给予行政处罚外,实行道路交通安全违法行为累积记分制度,记分周期为12个月,满分为12分。(来源:《机动车驾驶证申领和使用规定》第七十一条 (公安部令第162号)) 机动车驾驶人联系电话、联系地址等信息发生变化的,应当在信息变更后三十日内,向驾驶证核发地车辆管理所备案。 机动车驾驶人可以一次性处理完毕同一辆机动车的多起交通违法行为记录,记分分值累积计算。累积记分未满12分的,可以处理其驾驶的其他机动车的交通违法行为记录;累积记分满12分的,不得再处理其他机动车的交通违法行为记录。 (来源:《道路交通安全违法行为记分管理办法》 第十四条 (公安部令第163号)) | ||
| 办理时间 | 西城区政务服务中心:法定工作日: 上午: 09:00 - 12:00; 下午: 13:30 - 17:00; (延时服务时间: 工作日上午08:30 - 09:00; 中午12:00 - 13:30; 下午17:00 - 17:30; 周六上午08:30 - 12:30; ); 查看详情 | ||
| 办理地点 | 西城区政务服务中心:北京市西城区西直门内大街275号140-147; 查看详情 | ||
| 咨询方式 |
咨询电话: (010)12123【展开】 |
||
| 投诉监督方式 | |||
| 基本编码 | 112007083000 | 事项编码 | TE12345678909876523112007083000 |
| 业务办理项编码 | TE1234567890987652311200708300001 | 进驻大厅类型 | |
| 权力来源 | 上级下放 | 网上支付 | 否 |
| 所属机构 | 北京市公安局公安交通管理局西城交通支队 | 委托部门 | 无 |
| 联办机构 | 无 | 实施主体性质 | 法定机关 |
| 办理进程查询途径 | |||
| 行使层级 | 区级 | 运行系统 | 国家级垂管系统 |
| 物流快递 | 否 | 办理方式 | 自办件 |
| 预约办理 | 数量限制 | 无 | |
| 中介服务 | 无 | 权限划分 | |
| 通办范围 | 全市 | 特殊程序 | 无 |
| 行使内容 | 1、同一用户同时绑定的非本人名下机动车不超过3辆;2、同一用户历时累计绑定的非本人名下机动车所有人不超过5个;3、同一机动车同时绑定的用户不超过3个。 | ||

指南分享