3
01
11110105K00116666C
中共北京市朝阳区委机构编制委员会办公室
注销登记
11110105K00116666C300017910100303
11110105K00116666C3000179101003
0
f5f7d5e1-86ca-4947-acb7-315a2d1ee6b0
10917fa9-8907-4a21-a9f6-91a088217fc9
3
01
朝阳区委编办
110105000000
中共北京市朝阳区委机构编制委员会办公室
中共北京市朝阳区委机构编制委员会办公室:法定工作日: 上午: 09:00 - 11:30; 下午: 13:30 - 17:30; ;朝阳区政务服务中心:法定工作日: 上午: 09:00 - 12:00; 下午: 13:30 - 17:00; (延时服务时间: 工作日上午08:00 - 09:00; 中午12:00 - 13:30; 下午17:00 - 18:00; 周六上午09:00 - 11:30; 下午13:30 - 16:30; )
中共北京市朝阳区委机构编制委员会办公室:北京市朝阳区日坛北街33号南楼331室 朝阳区政务服务中心:北京市朝阳区霄云路霄云里1号综合窗口
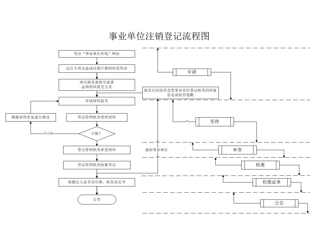
为便于事业单位办理注销业务,请先登录“机关赋码和事业单位登记管理平台”进行线上填报,线上审核通过后,事业单位办理人员将收到线下复核短信,按照短信提示内容,持相关材料进行线下材料复核。1.有举办单位或编制管理部门的撤销、解散、分立等相关文件;2.清算已经完成,清算报告经清算组成员签字,举办单位出具确认证明;3.发布注销公告(符合条件的可以上传权利义务承接证明)需期满后申请方可受理;4.其他登记管理机关要求提交的文件
{"IS_GUIDE":"1","ONLINE_DECLARE_SYSTEM_MODE":"99","ITEM_REALITY_USELEVEL":"","SERVICE_OBJCT":"","IS_CONSTRUCTION":"0","CL_SERVICE_TYPE":"","APP_CODE_ID":"4e5c2f79-c5f0-48b0-b928-30d9162b79ba","YESNO_CITY_UNICOM":"","CROSS_AREA":"","ISSHOHCENTER":"0","WECHAT_CODE_ID":"","FINANCIAL":"","LITTLEPROGRAM_CODE_NAME":"","CROSS_AREA_ALL":"","CROSS_PROVINCE":"","systemDocumentAPP":{"ID":90871070,"TASKGUID":"f5f7d5e1-86ca-4947-acb7-315a2d1ee6b0","DOC_ID":"4e5c2f79-c5f0-48b0-b928-30d9162b79ba","DOC_NAME":"电子证照app二维码.png","DOC_EXT":"png","DOC_LASTMODIFIED":"Jan 10, 2024 4:59:38 PM","DOC_TYPE":"DOC_APPCODE","CD_TIME":"Feb 25, 2026 10:52:35 AM","CD_BATCH":"2026022500012","DISTRIBUTETAG":"all-data^non-investment^11110105K00116666C^110105000000^non-construction^11110000000021258N^non-construction_expansion","DATAJSONTEXT":"{\"VERSION\":\"20191230\"}"},"ALIAS_NAME":"[\"事业单位登记\", \"登记注销\", \"事业单位法人注销登记\"]","EAR_DISABILITY_GRAD":"","LIB_DISABILITY_GRAD":"","SPEAK_DISABILITY_GRAD":"","REGISTER":"","ONLINE_HANDLING_DEPTH_STANDARD":"05","APPROVAL_TYPE":"1","MIND_DISABILITY_GRAD":"","ACCEPTSERVICE":"03","YWBLX_ID":"e507d40f-34b8-4cc7-a145-f1c83d452688","ONLINE_DECLARE_SYSTEM_DEPT":"","CONSTRUCTION_EXPANSION":"0","EMPOWER":"0","EXEMPT_MATERIALS":"","LITTLEPROGRAM_CODE_ID":"","EYE_DISABILITY_GRAD":"","ISMONVEINCENTER":"","DATA_FLAG":"XZXK_NEW","BUSINESS_APPROVAL_DEPT":"","POWER_NAME":"事业单位登记","ITEM_ATTRIBUTE":"04^05^06^10^11","CROSS_AREA_ATEXT":"","AGE":"","BGSYSTEM_APPROVAL_OTHER":"","WIT_DISABILITY_GRAD":"","WECHAT_CODE_NAME":"","POWER_CODE":"B6100202","DISABILITY_TYPE":"","IS_ENABLE_CERTIFICATE_SHARE":"0","POWER_ATTRIBUTE":"1","ONLY_ID":"1bdfc518-0053-4ccd-b353-e96438fd3531","YES_NO_OPEN":"1","BGSYSTEM_APPROVAL_NAME":"","APP_CODE_NAME":"电子证照app二维码.png","HOLDER":"","VERSION":"20241125"}
[{"ID":8274043,"TASKGUID":"f5f7d5e1-86ca-4947-acb7-315a2d1ee6b0","T_ID":"40d135cc-8055-4322-8ada-21eb6c121077","P_ID":"","NAME":"属于下列那种情况","NODE_LEVEL":1,"NODE_PATH":"/40d135cc-8055-4322-8ada-21eb6c121077","CHILD_COUNT":2,"ORDER_NUM":1,"SERIAL_NUMBER":"1","CONDITION_ATTR":"01","IS_RADIO":"1","IS_SUPPORT":"1","SUMMARY":"1 属于下列那种情况\n\t1.1 有编制管理部门发文合并或分立\n\t1.2 举办单位发文撤销、解散或编制管理部门发文撤销解散","CD_TIME":"Feb 25, 2026 10:52:35 AM","CD_BATCH":"2026022500012","DISTRIBUTETAG":"all-data^non-investment^11110105K00116666C^110105000000^non-construction^11110000000021258N^non-construction_expansion","DATAJSONTEXT":"{\"VERSION\":\"20220810\",\"TREE_TYPE\":\"0\",\"CONSULTATION_QA\":\"\"}","parOrder":"","proOrder":"1","newOrderNum":"001","itemGuideConditionRelatedList":[]},{"ID":8274044,"TASKGUID":"f5f7d5e1-86ca-4947-acb7-315a2d1ee6b0","T_ID":"5fef8a00-1cac-46f4-a601-67fb31dc5100","P_ID":"40d135cc-8055-4322-8ada-21eb6c121077","NAME":"有编制管理部门发文合并或分立","NODE_LEVEL":2,"NODE_PATH":"/40d135cc-8055-4322-8ada-21eb6c121077/5fef8a00-1cac-46f4-a601-67fb31dc5100","CHILD_COUNT":0,"ORDER_NUM":1,"SERIAL_NUMBER":"1.1","CONDITION_ATTR":"02","IS_RADIO":"","IS_SUPPORT":"","CD_TIME":"Feb 25, 2026 10:52:35 AM","CD_BATCH":"2026022500012","DISTRIBUTETAG":"all-data^non-investment^11110105K00116666C^110105000000^non-construction^11110000000021258N^non-construction_expansion","DATAJSONTEXT":"{\"VERSION\":\"20220810\",\"TREE_TYPE\":\"0\",\"CONSULTATION_QA\":\"\"}","parOrder":"","proOrder":"","newOrderNum":"001.001","itemGuideConditionRelatedList":[]},{"ID":8274045,"TASKGUID":"f5f7d5e1-86ca-4947-acb7-315a2d1ee6b0","T_ID":"9a4c0a49-734e-4caf-9dcb-553beb455186","P_ID":"40d135cc-8055-4322-8ada-21eb6c121077","NAME":"举办单位发文撤销、解散或编制管理部门发文撤销解散","NODE_LEVEL":2,"NODE_PATH":"/40d135cc-8055-4322-8ada-21eb6c121077/9a4c0a49-734e-4caf-9dcb-553beb455186","CHILD_COUNT":0,"ORDER_NUM":2,"SERIAL_NUMBER":"1.2","CONDITION_ATTR":"02","IS_RADIO":"","IS_SUPPORT":"","CD_TIME":"Feb 25, 2026 10:52:35 AM","CD_BATCH":"2026022500012","DISTRIBUTETAG":"all-data^non-investment^11110105K00116666C^110105000000^non-construction^11110000000021258N^non-construction_expansion","DATAJSONTEXT":"{\"VERSION\":\"20220810\",\"TREE_TYPE\":\"0\",\"CONSULTATION_QA\":\"\"}","parOrder":"","proOrder":"","newOrderNum":"001.002","itemGuideConditionRelatedList":[]}]
0
3

政务服务> 办事指南

注销登记

北京市

切换简洁版

  • 承诺件

    办件类型

  • 0

    到现场次数

  • 30工作日

    法定办结时限

  • 5工作日

    承诺办结时限

好差评

5.0

办件承诺办结时限说明:5日为线上提交材料符合条件,至收到短信通知办理注销手续的时间。该时间不包括事业单位提交材料不合格更改、补正、咨询时间,或发生其他不可抗力导致时间中断的时间。5日中如遇节假日,顺延至节假日结束后第一天开始起算剩余时间。(承诺时限为办理流程中“审查与决定”环节的计时时限)

办件承诺办结时限说明:

5日为线上提交材料符合条件,至收到短信通知办理注销手续的时间。该时间不包括事业单位提交材料不合格更改、补正、咨询时间,或发生其他不可抗力导致时间中断的时间。5日中如遇节假日,顺延至节假日结束后第一天开始起算剩余时间。(承诺时限为办理流程中“审查与决定”环节的计时时限)

基本信息

实施主体 中共北京市朝阳区委机构编制委员会办公室 服务对象
事项类型 行政许可 办理形式
受理条件 为便于事业单位办理注销业务,请先登录“机关赋码和事业单位登记管理平台”进行线上填报,线上审核通过后,事业单位办理人员将收到线下复核短信,按照短信提示内容,持相关材料进行线下材料复核。1.有举办单位或编制管理部门的撤销、解散、分立等相关文件;2.清算已经完成,清算报告经清算组成员签字,举办单位出具确认证明;3.发布注销公告(符合条件的可以上传权利义务承接证明)需期满后申请方可受理;4.其他登记管理机关要求提交的文件
办理时间 中共北京市朝阳区委机构编制委员会办公室:法定工作日: 上午: 09:00 - 11:30; 下午: 13:30 - 17:30; ;朝阳区政务服务中心:法定工作日: 上午: 09:00 - 12:00; 下午: 13:30 - 17:00; (延时服务时间: 工作日上午08:00 - 09:00; 中午12:00 - 13:30; 下午17:00 - 18:00; 周六上午09:00 - 11:30; 下午13:30 - 16:30; ) 查看详情
办理地点 中共北京市朝阳区委机构编制委员会办公室:北京市朝阳区日坛北街33号南楼331室 朝阳区政务服务中心:北京市朝阳区霄云路霄云里1号综合窗口 查看详情
咨询方式

咨询电话:

(010)65099146【展开】

咨询窗口地址:

北京市朝阳区日坛北街33号朝阳区政府南楼331室【展开】

投诉监督方式
基本编码 000179101003 事项编码 11110105K00116666C3000179101003
业务办理项编码 11110105K00116666C300017910100303 进驻大厅类型
权力来源 法定本级行使 网上支付
所属机构 中共北京市朝阳区委机构编制委员会办公室 委托部门
联办机构 实施主体性质 法定机关
办理进程查询途径
行使层级 区级 运行系统
物流快递 办理方式 自办件
预约办理 数量限制
中介服务 权限划分
通办范围 全区 特殊程序
行使内容 《事业单位登记管理暂行条例》第五条第二款:事业单位实行分级登记管理。
显示更多

请选择情形:

提示:通过情形选择可引导出您办理该事项所需的材料,若要查看全部材料,请点击"查看全部材料"

查看全部材料 情形引导

收起
我选好了重选条件

序号 材料名称 材料来源 材料
必要性
数量要求 介质要求 表格及样例
下载
受理标准 提供材料
依据
其他要求
申请材料总要求1.线上、线下提交的全部复印件材料均需加盖公章;2.申请书首页法定代表人签字处需证书登记的法定代表人签字;3.办事单位需对其提交的全部材料真实性负责,不得提交虚假材料。
序号 材料名称 材料来源 材料
必要性
数量要求 介质要求 表格及样例
下载
受理标准 提供材料
依据
其他要求
申请材料总要求1.线上、线下提交的全部复印件材料均需加盖公章;2.申请书首页法定代表人签字处需证书登记的法定代表人签字;3.办事单位需对其提交的全部材料真实性负责,不得提交虚假材料。
显示更多

指南分享