3
07
11110000660504319Y
北京市规划和自然资源委员会海淀分局
换证登记
11110000660504319Y311071203300002
11110000660504319Y3110712033000
0
08d206bd-48d9-471b-ac8c-f0a517dfc71b
696b2c88-ff75-49b2-b11a-692cc1431cca
2^3
07
市规划自然委海淀区分局
110108000000
北京市规划和自然资源委员会海淀分局
海淀区政务服务中心(航天桥办公区):工作日上午09:00-12:00,下午13:30-17:00(延时服务时间:工作日早08:30-9:00,中午12:00-13:30,下午17:00-17:30,周六提供预约或非预约服务8:30-12:30)
海淀区政务服务中心(航天桥办公区):北京市海淀区阜成路67号银都大厦三层63-91窗口
1.申请登记事项在本不动产登记机构的登记职责范围内; 2.申请材料形式符合要求; 3.申请人与依法应当提交的申请材料记载的主体一致; 4.申请登记的不动产权利与登记原因文件记载的不动产权利一致; 5.申请内容与询问记录不冲突;(来源:《北京市不动产登记工作规范(试行)》3.5.1) 6.法律、行政法规等规定的其他条件。
{"IS_GUIDE":"1","ONLINE_DECLARE_SYSTEM_MODE":"99","ITEM_REALITY_USELEVEL":"","SERVICE_OBJCT":"","IS_CONSTRUCTION":"0","CL_SERVICE_TYPE":"","APP_CODE_ID":"","YESNO_CITY_UNICOM":"0^1","CROSS_AREA":"","ISSHOHCENTER":"0","WECHAT_CODE_ID":"","FINANCIAL":"","LITTLEPROGRAM_CODE_NAME":"","CROSS_AREA_ALL":"","CROSS_PROVINCE":"","ALIAS_NAME":"[\"不动产换证\"]","EAR_DISABILITY_GRAD":"","LIB_DISABILITY_GRAD":"","SPEAK_DISABILITY_GRAD":"","REGISTER":"","ONLINE_HANDLING_DEPTH_STANDARD":"05","APPROVAL_TYPE":"1","MIND_DISABILITY_GRAD":"","ACCEPTSERVICE":"99","YWBLX_ID":"5c0b4f7d-9edd-49cb-bbc6-2e495ad24074","ONLINE_DECLARE_SYSTEM_DEPT":"","CONSTRUCTION_EXPANSION":"0","EMPOWER":"0","EXEMPT_MATERIALS":"","LITTLEPROGRAM_CODE_ID":"","EYE_DISABILITY_GRAD":"","ISMONVEINCENTER":"0","DATA_FLAG":"","BUSINESS_APPROVAL_DEPT":"北京市规划和自然资源委员会","POWER_NAME":"不动产补证、换证登记","ITEM_ATTRIBUTE":"01^04^05^11^13","CROSS_AREA_ATEXT":"","AGE":"","BGSYSTEM_APPROVAL_OTHER":"北京市不动产登记信息系统v2.0","WIT_DISABILITY_GRAD":"","WECHAT_CODE_NAME":"","POWER_CODE":"H1203700","DISABILITY_TYPE":"","IS_ENABLE_CERTIFICATE_SHARE":"","POWER_ATTRIBUTE":"1","ONLY_ID":"210976a5-81ed-11ea-8de7-fa163e4f9ad9","YES_NO_OPEN":"1","BGSYSTEM_APPROVAL_NAME":"其他","APP_CODE_NAME":"","HOLDER":"","VERSION":"20241125"}
[{"ID":7847946,"TASKGUID":"08d206bd-48d9-471b-ac8c-f0a517dfc71b","T_ID":"b8d03c4d-6f6b-4a10-9b46-ee2314340924","P_ID":"","NAME":"申请人身份","NODE_LEVEL":1,"NODE_PATH":"/b8d03c4d-6f6b-4a10-9b46-ee2314340924","CHILD_COUNT":12,"ORDER_NUM":1,"SERIAL_NUMBER":"1","CONDITION_ATTR":"01","IS_RADIO":"1","IS_SUPPORT":"1","SUMMARY":"1 申请人身份\n\t1.1 境内自然人\n\t\t1.1.1 是否成年\n\t\t\t1.1.1.1 是\n\t\t\t1.1.1.2 否\n\t\t1.1.2 是否为个体工商户\n\t\t\t1.1.2.1 是\n\t\t\t1.1.2.2 否\n\t1.10 香港特别行政区、澳门特别行政区、台湾地区的法人或非法人组织\n\t1.11 境外法人或非法人组织\n\t1.12 外国驻华使(领)馆和外国驻华办事机构、国际组织驻华代表机构\n\t1.2 香港、澳门特别行政区自然人\n\t1.3 台湾地区自然人\n\t1.4 华侨\n\t1.5 外籍自然人\n\t1.6 境内营利法人\n\t1.7 境内非营利法人\n\t1.8 境内特别法人\n\t1.9 境内非法人组织","CD_TIME":"Dec 5, 2025 11:48:13 AM","CD_BATCH":"2025120500014","DISTRIBUTETAG":"all-data^non-investment^11110000660504319Y^110108000000^non-construction^11110000MB1503996K^non-construction_expansion","DATAJSONTEXT":"{\"VERSION\":\"20220810\",\"TREE_TYPE\":\"\",\"CONSULTATION_QA\":\"\"}","parOrder":"","proOrder":"1","newOrderNum":"001","itemGuideConditionRelatedList":[]},{"ID":7847945,"TASKGUID":"08d206bd-48d9-471b-ac8c-f0a517dfc71b","T_ID":"ad6929d9-a4c2-4557-aa9c-6e79d50e4ca8","P_ID":"b8d03c4d-6f6b-4a10-9b46-ee2314340924","NAME":"境内自然人","NODE_LEVEL":2,"NODE_PATH":"/b8d03c4d-6f6b-4a10-9b46-ee2314340924/ad6929d9-a4c2-4557-aa9c-6e79d50e4ca8","CHILD_COUNT":2,"ORDER_NUM":1,"SERIAL_NUMBER":"1.1","CONDITION_ATTR":"02","IS_RADIO":"","IS_SUPPORT":"","SUMMARY":"","CD_TIME":"Dec 5, 2025 11:48:13 AM","CD_BATCH":"2025120500014","DISTRIBUTETAG":"all-data^non-investment^11110000660504319Y^110108000000^non-construction^11110000MB1503996K^non-construction_expansion","DATAJSONTEXT":"{\"VERSION\":\"20220810\",\"TREE_TYPE\":\"\",\"CONSULTATION_QA\":\"\"}","parOrder":"","proOrder":"","newOrderNum":"001.001","itemGuideConditionRelatedList":[]},{"ID":7847936,"TASKGUID":"08d206bd-48d9-471b-ac8c-f0a517dfc71b","T_ID":"58072676-1f86-42e7-99a8-76664ca4ad63","P_ID":"ad6929d9-a4c2-4557-aa9c-6e79d50e4ca8","NAME":"是否成年","NODE_LEVEL":3,"NODE_PATH":"/b8d03c4d-6f6b-4a10-9b46-ee2314340924/ad6929d9-a4c2-4557-aa9c-6e79d50e4ca8/58072676-1f86-42e7-99a8-76664ca4ad63","CHILD_COUNT":2,"ORDER_NUM":1,"SERIAL_NUMBER":"1.1.1","CONDITION_ATTR":"01","IS_RADIO":"1","IS_SUPPORT":"1","SUMMARY":"","CD_TIME":"Dec 5, 2025 11:48:13 AM","CD_BATCH":"2025120500014","DISTRIBUTETAG":"all-data^non-investment^11110000660504319Y^110108000000^non-construction^11110000MB1503996K^non-construction_expansion","DATAJSONTEXT":"{\"VERSION\":\"20220810\",\"TREE_TYPE\":\"\",\"CONSULTATION_QA\":\"\"}","parOrder":"1","proOrder":"1","newOrderNum":"001.001.001","itemGuideConditionRelatedList":[]},{"ID":7847941,"TASKGUID":"08d206bd-48d9-471b-ac8c-f0a517dfc71b","T_ID":"8e8a2bed-bfc2-4de7-ae14-0369eec489f9","P_ID":"58072676-1f86-42e7-99a8-76664ca4ad63","NAME":"是","NODE_LEVEL":4,"NODE_PATH":"/b8d03c4d-6f6b-4a10-9b46-ee2314340924/ad6929d9-a4c2-4557-aa9c-6e79d50e4ca8/58072676-1f86-42e7-99a8-76664ca4ad63/8e8a2bed-bfc2-4de7-ae14-0369eec489f9","CHILD_COUNT":0,"ORDER_NUM":1,"SERIAL_NUMBER":"1.1.1.1","CONDITION_ATTR":"02","IS_RADIO":"","IS_SUPPORT":"","SUMMARY":"","CD_TIME":"Dec 5, 2025 11:48:13 AM","CD_BATCH":"2025120500014","DISTRIBUTETAG":"all-data^non-investment^11110000660504319Y^110108000000^non-construction^11110000MB1503996K^non-construction_expansion","DATAJSONTEXT":"{\"VERSION\":\"20220810\",\"TREE_TYPE\":\"\",\"CONSULTATION_QA\":\"\"}","parOrder":"","proOrder":"","newOrderNum":"001.001.001.001","itemGuideConditionRelatedList":[{"ID":26479288,"TASKGUID":"08d206bd-48d9-471b-ac8c-f0a517dfc71b","T_ID":"8e8a2bed-bfc2-4de7-ae14-0369eec489f9","G_ID":"6a17c8cc-67de-4262-a7ce-5c4a120f2542","M_CODE":"320006","MATERIAL_ID":"74ed2891-8d5c-4324-a429-8f61df8afc8d","CD_TIME":"Dec 5, 2025 11:48:13 AM","CD_BATCH":"2025120500014","DISTRIBUTETAG":"all-data^non-investment^11110000660504319Y^110108000000^non-construction^11110000MB1503996K^non-construction_expansion","DATAJSONTEXT":"{\"VERSION\":\"20210903\"}"}]},{"ID":7847940,"TASKGUID":"08d206bd-48d9-471b-ac8c-f0a517dfc71b","T_ID":"87641eab-50e0-44e9-8c8d-919e0c5f0996","P_ID":"58072676-1f86-42e7-99a8-76664ca4ad63","NAME":"否","NODE_LEVEL":4,"NODE_PATH":"/b8d03c4d-6f6b-4a10-9b46-ee2314340924/ad6929d9-a4c2-4557-aa9c-6e79d50e4ca8/58072676-1f86-42e7-99a8-76664ca4ad63/87641eab-50e0-44e9-8c8d-919e0c5f0996","CHILD_COUNT":0,"ORDER_NUM":2,"SERIAL_NUMBER":"1.1.1.2","CONDITION_ATTR":"02","IS_RADIO":"","IS_SUPPORT":"","SUMMARY":"","CD_TIME":"Dec 5, 2025 11:48:13 AM","CD_BATCH":"2025120500014","DISTRIBUTETAG":"all-data^non-investment^11110000660504319Y^110108000000^non-construction^11110000MB1503996K^non-construction_expansion","DATAJSONTEXT":"{\"VERSION\":\"20220810\",\"TREE_TYPE\":\"\",\"CONSULTATION_QA\":\"\"}","parOrder":"","proOrder":"","newOrderNum":"001.001.001.002","itemGuideConditionRelatedList":[{"ID":26478660,"TASKGUID":"08d206bd-48d9-471b-ac8c-f0a517dfc71b","T_ID":"87641eab-50e0-44e9-8c8d-919e0c5f0996","G_ID":"6f98d535-69b4-490c-85c9-c0fdbc08e928","M_CODE":"320006","MATERIAL_ID":"eab3d329-60ce-4e7d-be5e-1ac2fb1a9bca","CD_TIME":"Dec 5, 2025 11:48:13 AM","CD_BATCH":"2025120500014","DISTRIBUTETAG":"all-data^non-investment^11110000660504319Y^110108000000^non-construction^11110000MB1503996K^non-construction_expansion","DATAJSONTEXT":"{\"VERSION\":\"20210903\"}"},{"ID":26479626,"TASKGUID":"08d206bd-48d9-471b-ac8c-f0a517dfc71b","T_ID":"87641eab-50e0-44e9-8c8d-919e0c5f0996","G_ID":"6c32798d-8e50-4252-ba08-da73e5f6d7ff","M_CODE":"340593","MATERIAL_ID":"ca88140a-5912-42ec-b6b8-892b1c629bcc","CD_TIME":"Dec 5, 2025 11:48:13 AM","CD_BATCH":"2025120500014","DISTRIBUTETAG":"all-data^non-investment^11110000660504319Y^110108000000^non-construction^11110000MB1503996K^non-construction_expansion","DATAJSONTEXT":"{\"VERSION\":\"20210903\"}"}]},{"ID":7847943,"TASKGUID":"08d206bd-48d9-471b-ac8c-f0a517dfc71b","T_ID":"9ca57a32-baee-4f35-aa61-15b592f6e0c1","P_ID":"ad6929d9-a4c2-4557-aa9c-6e79d50e4ca8","NAME":"是否为个体工商户","NODE_LEVEL":3,"NODE_PATH":"/b8d03c4d-6f6b-4a10-9b46-ee2314340924/ad6929d9-a4c2-4557-aa9c-6e79d50e4ca8/9ca57a32-baee-4f35-aa61-15b592f6e0c1","CHILD_COUNT":2,"ORDER_NUM":2,"SERIAL_NUMBER":"1.1.2","CONDITION_ATTR":"02","IS_RADIO":"","IS_SUPPORT":"","CD_TIME":"Dec 5, 2025 11:48:13 AM","CD_BATCH":"2025120500014","DISTRIBUTETAG":"all-data^non-investment^11110000660504319Y^110108000000^non-construction^11110000MB1503996K^non-construction_expansion","DATAJSONTEXT":"{\"VERSION\":\"20220810\",\"TREE_TYPE\":\"\",\"CONSULTATION_QA\":\"\"}","parOrder":"","proOrder":"","newOrderNum":"001.001.002","itemGuideConditionRelatedList":[]},{"ID":7847938,"TASKGUID":"08d206bd-48d9-471b-ac8c-f0a517dfc71b","T_ID":"7842098d-6c49-4bbb-8c9f-44211fae4c15","P_ID":"9ca57a32-baee-4f35-aa61-15b592f6e0c1","NAME":"是","NODE_LEVEL":4,"NODE_PATH":"/b8d03c4d-6f6b-4a10-9b46-ee2314340924/ad6929d9-a4c2-4557-aa9c-6e79d50e4ca8/9ca57a32-baee-4f35-aa61-15b592f6e0c1/7842098d-6c49-4bbb-8c9f-44211fae4c15","CHILD_COUNT":0,"ORDER_NUM":1,"SERIAL_NUMBER":"1.1.2.1","CONDITION_ATTR":"02","IS_RADIO":"","IS_SUPPORT":"","CD_TIME":"Dec 5, 2025 11:48:13 AM","CD_BATCH":"2025120500014","DISTRIBUTETAG":"all-data^non-investment^11110000660504319Y^110108000000^non-construction^11110000MB1503996K^non-construction_expansion","DATAJSONTEXT":"{\"VERSION\":\"20220810\",\"TREE_TYPE\":\"\",\"CONSULTATION_QA\":\"\"}","parOrder":"","proOrder":"","newOrderNum":"001.001.002.001","itemGuideConditionRelatedList":[{"ID":26479579,"TASKGUID":"08d206bd-48d9-471b-ac8c-f0a517dfc71b","T_ID":"7842098d-6c49-4bbb-8c9f-44211fae4c15","G_ID":"6df97b44-c60f-4450-b3ff-ad6abdde35c2","M_CODE":"346614","MATERIAL_ID":"00a79bc7-f0a8-4e13-a1ca-fed368ad1a96","CD_TIME":"Dec 5, 2025 11:48:13 AM","CD_BATCH":"2025120500014","DISTRIBUTETAG":"all-data^non-investment^11110000660504319Y^110108000000^non-construction^11110000MB1503996K^non-construction_expansion","DATAJSONTEXT":"{\"VERSION\":\"20210903\"}"}]},{"ID":7847949,"TASKGUID":"08d206bd-48d9-471b-ac8c-f0a517dfc71b","T_ID":"d7443510-ef46-4a5a-8a28-685d9d290b84","P_ID":"9ca57a32-baee-4f35-aa61-15b592f6e0c1","NAME":"否","NODE_LEVEL":4,"NODE_PATH":"/b8d03c4d-6f6b-4a10-9b46-ee2314340924/ad6929d9-a4c2-4557-aa9c-6e79d50e4ca8/9ca57a32-baee-4f35-aa61-15b592f6e0c1/d7443510-ef46-4a5a-8a28-685d9d290b84","CHILD_COUNT":0,"ORDER_NUM":2,"SERIAL_NUMBER":"1.1.2.2","CONDITION_ATTR":"02","IS_RADIO":"","IS_SUPPORT":"","CD_TIME":"Dec 5, 2025 11:48:13 AM","CD_BATCH":"2025120500014","DISTRIBUTETAG":"all-data^non-investment^11110000660504319Y^110108000000^non-construction^11110000MB1503996K^non-construction_expansion","DATAJSONTEXT":"{\"VERSION\":\"20220810\",\"TREE_TYPE\":\"\",\"CONSULTATION_QA\":\"\"}","parOrder":"","proOrder":"","newOrderNum":"001.001.002.002","itemGuideConditionRelatedList":[]},{"ID":7847932,"TASKGUID":"08d206bd-48d9-471b-ac8c-f0a517dfc71b","T_ID":"1ac73e95-457f-4d98-80f7-f1446ebfa921","P_ID":"b8d03c4d-6f6b-4a10-9b46-ee2314340924","NAME":"香港、澳门特别行政区自然人","NODE_LEVEL":2,"NODE_PATH":"/b8d03c4d-6f6b-4a10-9b46-ee2314340924/1ac73e95-457f-4d98-80f7-f1446ebfa921","CHILD_COUNT":0,"ORDER_NUM":2,"SERIAL_NUMBER":"1.2","CONDITION_ATTR":"02","IS_RADIO":"","IS_SUPPORT":"","SUMMARY":"","CD_TIME":"Dec 5, 2025 11:48:13 AM","CD_BATCH":"2025120500014","DISTRIBUTETAG":"all-data^non-investment^11110000660504319Y^110108000000^non-construction^11110000MB1503996K^non-construction_expansion","DATAJSONTEXT":"{\"VERSION\":\"20220810\",\"TREE_TYPE\":\"\",\"CONSULTATION_QA\":\"\"}","parOrder":"","proOrder":"","newOrderNum":"001.002","itemGuideConditionRelatedList":[{"ID":26478933,"TASKGUID":"08d206bd-48d9-471b-ac8c-f0a517dfc71b","T_ID":"1ac73e95-457f-4d98-80f7-f1446ebfa921","G_ID":"fec1644a-9c3b-436b-9ff9-bbc146125a2a","M_CODE":"330962","MATERIAL_ID":"3d7959e0-3042-4c30-897f-3b41c7dc828a","CD_TIME":"Dec 5, 2025 11:48:13 AM","CD_BATCH":"2025120500014","DISTRIBUTETAG":"all-data^non-investment^11110000660504319Y^110108000000^non-construction^11110000MB1503996K^non-construction_expansion","DATAJSONTEXT":"{\"VERSION\":\"20210903\"}"},{"ID":26479170,"TASKGUID":"08d206bd-48d9-471b-ac8c-f0a517dfc71b","T_ID":"1ac73e95-457f-4d98-80f7-f1446ebfa921","G_ID":"f9dc7744-fb22-4276-a6a7-6543f4124e89","M_CODE":"346621","MATERIAL_ID":"2604e247-a3d3-453a-88dc-c3025dc18ee1","CD_TIME":"Dec 5, 2025 11:48:13 AM","CD_BATCH":"2025120500014","DISTRIBUTETAG":"all-data^non-investment^11110000660504319Y^110108000000^non-construction^11110000MB1503996K^non-construction_expansion","DATAJSONTEXT":"{\"VERSION\":\"20210903\"}"},{"ID":26479255,"TASKGUID":"08d206bd-48d9-471b-ac8c-f0a517dfc71b","T_ID":"1ac73e95-457f-4d98-80f7-f1446ebfa921","G_ID":"3ba4d4dd-c6bb-4333-b5f3-5629e583720b","M_CODE":"347360","MATERIAL_ID":"a80d4a45-8f3a-4cde-aa43-1d6b4db793a4","CD_TIME":"Dec 5, 2025 11:48:13 AM","CD_BATCH":"2025120500014","DISTRIBUTETAG":"all-data^non-investment^11110000660504319Y^110108000000^non-construction^11110000MB1503996K^non-construction_expansion","DATAJSONTEXT":"{\"VERSION\":\"20210903\"}"},{"ID":26479310,"TASKGUID":"08d206bd-48d9-471b-ac8c-f0a517dfc71b","T_ID":"1ac73e95-457f-4d98-80f7-f1446ebfa921","G_ID":"9d33f611-42b4-4665-b596-aa876ac99170","M_CODE":"206127","MATERIAL_ID":"2ac6a654-ff2e-41da-9849-bab79d504b8a","CD_TIME":"Dec 5, 2025 11:48:13 AM","CD_BATCH":"2025120500014","DISTRIBUTETAG":"all-data^non-investment^11110000660504319Y^110108000000^non-construction^11110000MB1503996K^non-construction_expansion","DATAJSONTEXT":"{\"VERSION\":\"20210903\"}"},{"ID":26479334,"TASKGUID":"08d206bd-48d9-471b-ac8c-f0a517dfc71b","T_ID":"1ac73e95-457f-4d98-80f7-f1446ebfa921","G_ID":"b009645a-43ff-4e59-85ad-e2261e7a3a52","M_CODE":"340580","MATERIAL_ID":"ef723f74-6b5c-4908-823a-f3a19ab27450","CD_TIME":"Dec 5, 2025 11:48:13 AM","CD_BATCH":"2025120500014","DISTRIBUTETAG":"all-data^non-investment^11110000660504319Y^110108000000^non-construction^11110000MB1503996K^non-construction_expansion","DATAJSONTEXT":"{\"VERSION\":\"20210903\"}"},{"ID":26479521,"TASKGUID":"08d206bd-48d9-471b-ac8c-f0a517dfc71b","T_ID":"1ac73e95-457f-4d98-80f7-f1446ebfa921","G_ID":"e70d04a5-692f-4bfa-b49d-391e5ea58675","M_CODE":"345889","MATERIAL_ID":"453e364c-aac2-4765-b4d2-02073aacbd4a","CD_TIME":"Dec 5, 2025 11:48:13 AM","CD_BATCH":"2025120500014","DISTRIBUTETAG":"all-data^non-investment^11110000660504319Y^110108000000^non-construction^11110000MB1503996K^non-construction_expansion","DATAJSONTEXT":"{\"VERSION\":\"20210903\"}"}]},{"ID":7847942,"TASKGUID":"08d206bd-48d9-471b-ac8c-f0a517dfc71b","T_ID":"90bb4a73-d765-4582-a964-0cf110b8c5d7","P_ID":"b8d03c4d-6f6b-4a10-9b46-ee2314340924","NAME":"台湾地区自然人","NODE_LEVEL":2,"NODE_PATH":"/b8d03c4d-6f6b-4a10-9b46-ee2314340924/90bb4a73-d765-4582-a964-0cf110b8c5d7","CHILD_COUNT":0,"ORDER_NUM":3,"SERIAL_NUMBER":"1.3","CONDITION_ATTR":"02","IS_RADIO":"","IS_SUPPORT":"","SUMMARY":"","CD_TIME":"Dec 5, 2025 11:48:13 AM","CD_BATCH":"2025120500014","DISTRIBUTETAG":"all-data^non-investment^11110000660504319Y^110108000000^non-construction^11110000MB1503996K^non-construction_expansion","DATAJSONTEXT":"{\"VERSION\":\"20220810\",\"TREE_TYPE\":\"\",\"CONSULTATION_QA\":\"\"}","parOrder":"","proOrder":"","newOrderNum":"001.003","itemGuideConditionRelatedList":[{"ID":26479570,"TASKGUID":"08d206bd-48d9-471b-ac8c-f0a517dfc71b","T_ID":"90bb4a73-d765-4582-a964-0cf110b8c5d7","G_ID":"97301953-a9db-4f41-8759-8d678649dff1","M_CODE":"345560","MATERIAL_ID":"6ff4eb9c-820e-4d41-a0be-48d273326155","CD_TIME":"Dec 5, 2025 11:48:13 AM","CD_BATCH":"2025120500014","DISTRIBUTETAG":"all-data^non-investment^11110000660504319Y^110108000000^non-construction^11110000MB1503996K^non-construction_expansion","DATAJSONTEXT":"{\"VERSION\":\"20210903\"}"},{"ID":26479788,"TASKGUID":"08d206bd-48d9-471b-ac8c-f0a517dfc71b","T_ID":"90bb4a73-d765-4582-a964-0cf110b8c5d7","G_ID":"c7ab7c43-b299-48ff-b364-e9a40275f54f","M_CODE":"340581","MATERIAL_ID":"6d6bc70f-7219-46c7-a75d-6b4d4c7b93c7","CD_TIME":"Dec 5, 2025 11:48:13 AM","CD_BATCH":"2025120500014","DISTRIBUTETAG":"all-data^non-investment^11110000660504319Y^110108000000^non-construction^11110000MB1503996K^non-construction_expansion","DATAJSONTEXT":"{\"VERSION\":\"20210903\"}"}]},{"ID":7847939,"TASKGUID":"08d206bd-48d9-471b-ac8c-f0a517dfc71b","T_ID":"84e9f7cb-f8e9-45d1-ae2a-c87d06c0cf15","P_ID":"b8d03c4d-6f6b-4a10-9b46-ee2314340924","NAME":"华侨","NODE_LEVEL":2,"NODE_PATH":"/b8d03c4d-6f6b-4a10-9b46-ee2314340924/84e9f7cb-f8e9-45d1-ae2a-c87d06c0cf15","CHILD_COUNT":0,"ORDER_NUM":4,"SERIAL_NUMBER":"1.4","CONDITION_ATTR":"02","IS_RADIO":"","IS_SUPPORT":"","SUMMARY":"","CD_TIME":"Dec 5, 2025 11:48:13 AM","CD_BATCH":"2025120500014","DISTRIBUTETAG":"all-data^non-investment^11110000660504319Y^110108000000^non-construction^11110000MB1503996K^non-construction_expansion","DATAJSONTEXT":"{\"VERSION\":\"20220810\",\"TREE_TYPE\":\"\",\"CONSULTATION_QA\":\"\"}","parOrder":"","proOrder":"","newOrderNum":"001.004","itemGuideConditionRelatedList":[{"ID":26479388,"TASKGUID":"08d206bd-48d9-471b-ac8c-f0a517dfc71b","T_ID":"84e9f7cb-f8e9-45d1-ae2a-c87d06c0cf15","G_ID":"a8df4070-2fb9-471c-bb9f-61ad88a39015","M_CODE":"340576","MATERIAL_ID":"8b4a5fb6-9717-4887-b398-152c0cc2394f","CD_TIME":"Dec 5, 2025 11:48:13 AM","CD_BATCH":"2025120500014","DISTRIBUTETAG":"all-data^non-investment^11110000660504319Y^110108000000^non-construction^11110000MB1503996K^non-construction_expansion","DATAJSONTEXT":"{\"VERSION\":\"20210903\"}"},{"ID":26479731,"TASKGUID":"08d206bd-48d9-471b-ac8c-f0a517dfc71b","T_ID":"84e9f7cb-f8e9-45d1-ae2a-c87d06c0cf15","G_ID":"484b965e-c717-4ee0-8ba7-d7ecc4d5e1a0","M_CODE":"346614","MATERIAL_ID":"c8da2600-7a8b-42b8-bfee-44ff68d9968e","CD_TIME":"Dec 5, 2025 11:48:13 AM","CD_BATCH":"2025120500014","DISTRIBUTETAG":"all-data^non-investment^11110000660504319Y^110108000000^non-construction^11110000MB1503996K^non-construction_expansion","DATAJSONTEXT":"{\"VERSION\":\"20210903\"}"}]},{"ID":7847931,"TASKGUID":"08d206bd-48d9-471b-ac8c-f0a517dfc71b","T_ID":"105e74bf-f1e2-449c-b71f-02db9ca81cea","P_ID":"b8d03c4d-6f6b-4a10-9b46-ee2314340924","NAME":"外籍自然人","NODE_LEVEL":2,"NODE_PATH":"/b8d03c4d-6f6b-4a10-9b46-ee2314340924/105e74bf-f1e2-449c-b71f-02db9ca81cea","CHILD_COUNT":0,"ORDER_NUM":5,"SERIAL_NUMBER":"1.5","CONDITION_ATTR":"02","IS_RADIO":"","IS_SUPPORT":"","SUMMARY":"","CD_TIME":"Dec 5, 2025 11:48:13 AM","CD_BATCH":"2025120500014","DISTRIBUTETAG":"all-data^non-investment^11110000660504319Y^110108000000^non-construction^11110000MB1503996K^non-construction_expansion","DATAJSONTEXT":"{\"VERSION\":\"20220810\",\"TREE_TYPE\":\"\",\"CONSULTATION_QA\":\"\"}","parOrder":"","proOrder":"","newOrderNum":"001.005","itemGuideConditionRelatedList":[{"ID":26478991,"TASKGUID":"08d206bd-48d9-471b-ac8c-f0a517dfc71b","T_ID":"105e74bf-f1e2-449c-b71f-02db9ca81cea","G_ID":"91b3041e-48ac-476d-a1c0-d7528033f3d0","M_CODE":"344736","MATERIAL_ID":"f59d99fd-3072-49b5-b5fd-82ca971ec740","CD_TIME":"Dec 5, 2025 11:48:13 AM","CD_BATCH":"2025120500014","DISTRIBUTETAG":"all-data^non-investment^11110000660504319Y^110108000000^non-construction^11110000MB1503996K^non-construction_expansion","DATAJSONTEXT":"{\"VERSION\":\"20210903\"}"},{"ID":26479835,"TASKGUID":"08d206bd-48d9-471b-ac8c-f0a517dfc71b","T_ID":"105e74bf-f1e2-449c-b71f-02db9ca81cea","G_ID":"c1bbaa89-bbcd-4030-af7c-5aba8fd4a759","M_CODE":"344780","MATERIAL_ID":"07a9f58e-c972-41c4-a63a-dfd234663af5","CD_TIME":"Dec 5, 2025 11:48:13 AM","CD_BATCH":"2025120500014","DISTRIBUTETAG":"all-data^non-investment^11110000660504319Y^110108000000^non-construction^11110000MB1503996K^non-construction_expansion","DATAJSONTEXT":"{\"VERSION\":\"20210903\"}"}]},{"ID":7847937,"TASKGUID":"08d206bd-48d9-471b-ac8c-f0a517dfc71b","T_ID":"6c80af5a-6562-426e-96b8-ba07bd2884ae","P_ID":"b8d03c4d-6f6b-4a10-9b46-ee2314340924","NAME":"境内营利法人","NODE_LEVEL":2,"NODE_PATH":"/b8d03c4d-6f6b-4a10-9b46-ee2314340924/6c80af5a-6562-426e-96b8-ba07bd2884ae","CHILD_COUNT":0,"ORDER_NUM":6,"SERIAL_NUMBER":"1.6","CONDITION_ATTR":"02","IS_RADIO":"","IS_SUPPORT":"","SUMMARY":"","CD_TIME":"Dec 5, 2025 11:48:13 AM","CD_BATCH":"2025120500014","DISTRIBUTETAG":"all-data^non-investment^11110000660504319Y^110108000000^non-construction^11110000MB1503996K^non-construction_expansion","DATAJSONTEXT":"{\"VERSION\":\"20220810\",\"TREE_TYPE\":\"\",\"CONSULTATION_QA\":\"\"}","parOrder":"","proOrder":"","newOrderNum":"001.006","itemGuideConditionRelatedList":[{"ID":26479179,"TASKGUID":"08d206bd-48d9-471b-ac8c-f0a517dfc71b","T_ID":"6c80af5a-6562-426e-96b8-ba07bd2884ae","G_ID":"21785d57-4ccc-4f39-bc9d-a4a150b80c3d","M_CODE":"209630","MATERIAL_ID":"9789b5c4-185e-406f-9245-635a6a75275f","CD_TIME":"Dec 5, 2025 11:48:13 AM","CD_BATCH":"2025120500014","DISTRIBUTETAG":"all-data^non-investment^11110000660504319Y^110108000000^non-construction^11110000MB1503996K^non-construction_expansion","DATAJSONTEXT":"{\"VERSION\":\"20210903\"}"},{"ID":26479802,"TASKGUID":"08d206bd-48d9-471b-ac8c-f0a517dfc71b","T_ID":"6c80af5a-6562-426e-96b8-ba07bd2884ae","G_ID":"62573bd6-c80e-49a4-ab52-9799e5e4618f","M_CODE":"341898","MATERIAL_ID":"99866b45-d5fd-4483-980e-ce55ef609ecf","CD_TIME":"Dec 5, 2025 11:48:13 AM","CD_BATCH":"2025120500014","DISTRIBUTETAG":"all-data^non-investment^11110000660504319Y^110108000000^non-construction^11110000MB1503996K^non-construction_expansion","DATAJSONTEXT":"{\"VERSION\":\"20210903\"}"}]},{"ID":7847933,"TASKGUID":"08d206bd-48d9-471b-ac8c-f0a517dfc71b","T_ID":"25917ddd-4843-479d-86c4-df9bb489a648","P_ID":"b8d03c4d-6f6b-4a10-9b46-ee2314340924","NAME":"境内非营利法人","NODE_LEVEL":2,"NODE_PATH":"/b8d03c4d-6f6b-4a10-9b46-ee2314340924/25917ddd-4843-479d-86c4-df9bb489a648","CHILD_COUNT":0,"ORDER_NUM":7,"SERIAL_NUMBER":"1.7","CONDITION_ATTR":"02","IS_RADIO":"","IS_SUPPORT":"","SUMMARY":"","CD_TIME":"Dec 5, 2025 11:48:13 AM","CD_BATCH":"2025120500014","DISTRIBUTETAG":"all-data^non-investment^11110000660504319Y^110108000000^non-construction^11110000MB1503996K^non-construction_expansion","DATAJSONTEXT":"{\"VERSION\":\"20220810\",\"TREE_TYPE\":\"\",\"CONSULTATION_QA\":\"\"}","parOrder":"","proOrder":"","newOrderNum":"001.007","itemGuideConditionRelatedList":[{"ID":26478677,"TASKGUID":"08d206bd-48d9-471b-ac8c-f0a517dfc71b","T_ID":"25917ddd-4843-479d-86c4-df9bb489a648","G_ID":"bbc6289f-3792-4286-9544-1863f07aabfb","M_CODE":"340675","MATERIAL_ID":"29ba9312-a83e-47f2-adbc-6be434bf061d","CD_TIME":"Dec 5, 2025 11:48:13 AM","CD_BATCH":"2025120500014","DISTRIBUTETAG":"all-data^non-investment^11110000660504319Y^110108000000^non-construction^11110000MB1503996K^non-construction_expansion","DATAJSONTEXT":"{\"VERSION\":\"20210903\"}"},{"ID":26478734,"TASKGUID":"08d206bd-48d9-471b-ac8c-f0a517dfc71b","T_ID":"25917ddd-4843-479d-86c4-df9bb489a648","G_ID":"72b77e10-db6f-43e9-964a-71d2514d5fbc","M_CODE":"340680","MATERIAL_ID":"aa819b9d-a68a-4d69-8f7f-671ea5069e7e","CD_TIME":"Dec 5, 2025 11:48:13 AM","CD_BATCH":"2025120500014","DISTRIBUTETAG":"all-data^non-investment^11110000660504319Y^110108000000^non-construction^11110000MB1503996K^non-construction_expansion","DATAJSONTEXT":"{\"VERSION\":\"20210903\"}"},{"ID":26478966,"TASKGUID":"08d206bd-48d9-471b-ac8c-f0a517dfc71b","T_ID":"25917ddd-4843-479d-86c4-df9bb489a648","G_ID":"c0c31535-0ea9-459c-a143-f12592be3e55","M_CODE":"209630","MATERIAL_ID":"e3937d9f-d37c-40ad-8826-52b8006486c7","CD_TIME":"Dec 5, 2025 11:48:13 AM","CD_BATCH":"2025120500014","DISTRIBUTETAG":"all-data^non-investment^11110000660504319Y^110108000000^non-construction^11110000MB1503996K^non-construction_expansion","DATAJSONTEXT":"{\"VERSION\":\"20210903\"}"},{"ID":26479315,"TASKGUID":"08d206bd-48d9-471b-ac8c-f0a517dfc71b","T_ID":"25917ddd-4843-479d-86c4-df9bb489a648","G_ID":"5edf1b6b-21b8-4596-8ef3-98b8a23ddcb1","M_CODE":"344352","MATERIAL_ID":"616461a1-eee7-4641-9d97-3a65f696003b","CD_TIME":"Dec 5, 2025 11:48:13 AM","CD_BATCH":"2025120500014","DISTRIBUTETAG":"all-data^non-investment^11110000660504319Y^110108000000^non-construction^11110000MB1503996K^non-construction_expansion","DATAJSONTEXT":"{\"VERSION\":\"20210903\"}"},{"ID":26479584,"TASKGUID":"08d206bd-48d9-471b-ac8c-f0a517dfc71b","T_ID":"25917ddd-4843-479d-86c4-df9bb489a648","G_ID":"392f1733-6de1-47df-a6b7-280bcd80d0bb","M_CODE":"345025","MATERIAL_ID":"fec41a8d-8a76-4493-91d5-aca94e44f951","CD_TIME":"Dec 5, 2025 11:48:13 AM","CD_BATCH":"2025120500014","DISTRIBUTETAG":"all-data^non-investment^11110000660504319Y^110108000000^non-construction^11110000MB1503996K^non-construction_expansion","DATAJSONTEXT":"{\"VERSION\":\"20210903\"}"}]},{"ID":7847947,"TASKGUID":"08d206bd-48d9-471b-ac8c-f0a517dfc71b","T_ID":"bb61d39b-1f41-4822-babc-bcaa47ab116f","P_ID":"b8d03c4d-6f6b-4a10-9b46-ee2314340924","NAME":"境内特别法人","NODE_LEVEL":2,"NODE_PATH":"/b8d03c4d-6f6b-4a10-9b46-ee2314340924/bb61d39b-1f41-4822-babc-bcaa47ab116f","CHILD_COUNT":0,"ORDER_NUM":8,"SERIAL_NUMBER":"1.8","CONDITION_ATTR":"02","IS_RADIO":"","IS_SUPPORT":"","SUMMARY":"","CD_TIME":"Dec 5, 2025 11:48:13 AM","CD_BATCH":"2025120500014","DISTRIBUTETAG":"all-data^non-investment^11110000660504319Y^110108000000^non-construction^11110000MB1503996K^non-construction_expansion","DATAJSONTEXT":"{\"VERSION\":\"20220810\",\"TREE_TYPE\":\"\",\"CONSULTATION_QA\":\"\"}","parOrder":"","proOrder":"","newOrderNum":"001.008","itemGuideConditionRelatedList":[{"ID":26478651,"TASKGUID":"08d206bd-48d9-471b-ac8c-f0a517dfc71b","T_ID":"bb61d39b-1f41-4822-babc-bcaa47ab116f","G_ID":"07876df0-faed-43d6-8384-a9c56afa6814","M_CODE":"346737","MATERIAL_ID":"a6ebc5da-c1bc-4fd7-8b2d-b53e54c92e61","CD_TIME":"Dec 5, 2025 11:48:13 AM","CD_BATCH":"2025120500014","DISTRIBUTETAG":"all-data^non-investment^11110000660504319Y^110108000000^non-construction^11110000MB1503996K^non-construction_expansion","DATAJSONTEXT":"{\"VERSION\":\"20210903\"}"},{"ID":26478655,"TASKGUID":"08d206bd-48d9-471b-ac8c-f0a517dfc71b","T_ID":"bb61d39b-1f41-4822-babc-bcaa47ab116f","G_ID":"897ceb2e-bc13-4b5e-b8f5-8a3edc1662d7","M_CODE":"320084","MATERIAL_ID":"365fc818-ce46-4af2-8da6-48a9dce25f34","CD_TIME":"Dec 5, 2025 11:48:13 AM","CD_BATCH":"2025120500014","DISTRIBUTETAG":"all-data^non-investment^11110000660504319Y^110108000000^non-construction^11110000MB1503996K^non-construction_expansion","DATAJSONTEXT":"{\"VERSION\":\"20210903\"}"},{"ID":26478838,"TASKGUID":"08d206bd-48d9-471b-ac8c-f0a517dfc71b","T_ID":"bb61d39b-1f41-4822-babc-bcaa47ab116f","G_ID":"5a9d1e5f-97ac-463f-a562-c5cde8cb3070","M_CODE":"203376","MATERIAL_ID":"346b8bfd-67bb-4c98-afdc-f37e697a9d24","CD_TIME":"Dec 5, 2025 11:48:13 AM","CD_BATCH":"2025120500014","DISTRIBUTETAG":"all-data^non-investment^11110000660504319Y^110108000000^non-construction^11110000MB1503996K^non-construction_expansion","DATAJSONTEXT":"{\"VERSION\":\"20210903\"}"},{"ID":26478874,"TASKGUID":"08d206bd-48d9-471b-ac8c-f0a517dfc71b","T_ID":"bb61d39b-1f41-4822-babc-bcaa47ab116f","G_ID":"0bfefd15-267c-42cd-bf57-70ed774d5aea","M_CODE":"346738","MATERIAL_ID":"a08c391e-bab5-4754-9ff7-bdf465ae4b4c","CD_TIME":"Dec 5, 2025 11:48:13 AM","CD_BATCH":"2025120500014","DISTRIBUTETAG":"all-data^non-investment^11110000660504319Y^110108000000^non-construction^11110000MB1503996K^non-construction_expansion","DATAJSONTEXT":"{\"VERSION\":\"20210903\"}"},{"ID":26479453,"TASKGUID":"08d206bd-48d9-471b-ac8c-f0a517dfc71b","T_ID":"bb61d39b-1f41-4822-babc-bcaa47ab116f","G_ID":"60639c64-4ff5-4d76-bd5d-41bcabd18deb","M_CODE":"345097","MATERIAL_ID":"0cf2bc66-cfeb-4702-9d00-c33f63ba34fc","CD_TIME":"Dec 5, 2025 11:48:13 AM","CD_BATCH":"2025120500014","DISTRIBUTETAG":"all-data^non-investment^11110000660504319Y^110108000000^non-construction^11110000MB1503996K^non-construction_expansion","DATAJSONTEXT":"{\"VERSION\":\"20210903\"}"}]},{"ID":7847934,"TASKGUID":"08d206bd-48d9-471b-ac8c-f0a517dfc71b","T_ID":"2dbec9cd-4d3d-4687-997c-c7934d7b960e","P_ID":"b8d03c4d-6f6b-4a10-9b46-ee2314340924","NAME":"境内非法人组织","NODE_LEVEL":2,"NODE_PATH":"/b8d03c4d-6f6b-4a10-9b46-ee2314340924/2dbec9cd-4d3d-4687-997c-c7934d7b960e","CHILD_COUNT":0,"ORDER_NUM":9,"SERIAL_NUMBER":"1.9","CONDITION_ATTR":"02","IS_RADIO":"","IS_SUPPORT":"","SUMMARY":"","CD_TIME":"Dec 5, 2025 11:48:13 AM","CD_BATCH":"2025120500014","DISTRIBUTETAG":"all-data^non-investment^11110000660504319Y^110108000000^non-construction^11110000MB1503996K^non-construction_expansion","DATAJSONTEXT":"{\"VERSION\":\"20220810\",\"TREE_TYPE\":\"\",\"CONSULTATION_QA\":\"\"}","parOrder":"","proOrder":"","newOrderNum":"001.009","itemGuideConditionRelatedList":[{"ID":26478827,"TASKGUID":"08d206bd-48d9-471b-ac8c-f0a517dfc71b","T_ID":"2dbec9cd-4d3d-4687-997c-c7934d7b960e","G_ID":"db15ad05-d4c7-465c-8a69-dd7053c256af","M_CODE":"341898","MATERIAL_ID":"f5fdd800-edd3-4355-9841-341eb572ac88","CD_TIME":"Dec 5, 2025 11:48:13 AM","CD_BATCH":"2025120500014","DISTRIBUTETAG":"all-data^non-investment^11110000660504319Y^110108000000^non-construction^11110000MB1503996K^non-construction_expansion","DATAJSONTEXT":"{\"VERSION\":\"20210903\"}"},{"ID":26479614,"TASKGUID":"08d206bd-48d9-471b-ac8c-f0a517dfc71b","T_ID":"2dbec9cd-4d3d-4687-997c-c7934d7b960e","G_ID":"bf4cbf92-d765-4b0d-82fd-edb9237f3748","M_CODE":"209630","MATERIAL_ID":"d5d28b9f-8352-4ec5-ba39-6c00891dfe0e","CD_TIME":"Dec 5, 2025 11:48:13 AM","CD_BATCH":"2025120500014","DISTRIBUTETAG":"all-data^non-investment^11110000660504319Y^110108000000^non-construction^11110000MB1503996K^non-construction_expansion","DATAJSONTEXT":"{\"VERSION\":\"20210903\"}"}]},{"ID":7847948,"TASKGUID":"08d206bd-48d9-471b-ac8c-f0a517dfc71b","T_ID":"d4dd4433-05fc-4d03-a41a-eb6321125871","P_ID":"b8d03c4d-6f6b-4a10-9b46-ee2314340924","NAME":"香港特别行政区、澳门特别行政区、台湾地区的法人或非法人组织","NODE_LEVEL":2,"NODE_PATH":"/b8d03c4d-6f6b-4a10-9b46-ee2314340924/d4dd4433-05fc-4d03-a41a-eb6321125871","CHILD_COUNT":0,"ORDER_NUM":10,"SERIAL_NUMBER":"1.10","CONDITION_ATTR":"02","IS_RADIO":"","IS_SUPPORT":"","SUMMARY":"","CD_TIME":"Dec 5, 2025 11:48:13 AM","CD_BATCH":"2025120500014","DISTRIBUTETAG":"all-data^non-investment^11110000660504319Y^110108000000^non-construction^11110000MB1503996K^non-construction_expansion","DATAJSONTEXT":"{\"VERSION\":\"20220810\",\"TREE_TYPE\":\"\",\"CONSULTATION_QA\":\"\"}","parOrder":"","proOrder":"","newOrderNum":"001.010","itemGuideConditionRelatedList":[{"ID":26479062,"TASKGUID":"08d206bd-48d9-471b-ac8c-f0a517dfc71b","T_ID":"d4dd4433-05fc-4d03-a41a-eb6321125871","G_ID":"33f848b9-0664-4386-8989-a5f88b6fa0c3","M_CODE":"203425","MATERIAL_ID":"d00ba414-b8a9-4d7d-8b38-d2f331059551","CD_TIME":"Dec 5, 2025 11:48:13 AM","CD_BATCH":"2025120500014","DISTRIBUTETAG":"all-data^non-investment^11110000660504319Y^110108000000^non-construction^11110000MB1503996K^non-construction_expansion","DATAJSONTEXT":"{\"VERSION\":\"20210903\"}"},{"ID":26479237,"TASKGUID":"08d206bd-48d9-471b-ac8c-f0a517dfc71b","T_ID":"d4dd4433-05fc-4d03-a41a-eb6321125871","G_ID":"77e94687-ae75-452f-883a-3a9d170d7f42","M_CODE":"203379","MATERIAL_ID":"022ac413-8487-4c2c-a833-ddfce8c3e7f5","CD_TIME":"Dec 5, 2025 11:48:13 AM","CD_BATCH":"2025120500014","DISTRIBUTETAG":"all-data^non-investment^11110000660504319Y^110108000000^non-construction^11110000MB1503996K^non-construction_expansion","DATAJSONTEXT":"{\"VERSION\":\"20210903\"}"},{"ID":26479435,"TASKGUID":"08d206bd-48d9-471b-ac8c-f0a517dfc71b","T_ID":"d4dd4433-05fc-4d03-a41a-eb6321125871","G_ID":"66eca9bd-334b-4bab-9eb3-c216dee779ff","M_CODE":"203426","MATERIAL_ID":"035930a6-7d30-4e26-a992-fcdae4c838b9","CD_TIME":"Dec 5, 2025 11:48:13 AM","CD_BATCH":"2025120500014","DISTRIBUTETAG":"all-data^non-investment^11110000660504319Y^110108000000^non-construction^11110000MB1503996K^non-construction_expansion","DATAJSONTEXT":"{\"VERSION\":\"20210903\"}"}]},{"ID":7847935,"TASKGUID":"08d206bd-48d9-471b-ac8c-f0a517dfc71b","T_ID":"51de3f1d-fb58-4bad-bbcd-cc8819805e8b","P_ID":"b8d03c4d-6f6b-4a10-9b46-ee2314340924","NAME":"境外法人或非法人组织","NODE_LEVEL":2,"NODE_PATH":"/b8d03c4d-6f6b-4a10-9b46-ee2314340924/51de3f1d-fb58-4bad-bbcd-cc8819805e8b","CHILD_COUNT":0,"ORDER_NUM":11,"SERIAL_NUMBER":"1.11","CONDITION_ATTR":"02","IS_RADIO":"","IS_SUPPORT":"","SUMMARY":"","CD_TIME":"Dec 5, 2025 11:48:13 AM","CD_BATCH":"2025120500014","DISTRIBUTETAG":"all-data^non-investment^11110000660504319Y^110108000000^non-construction^11110000MB1503996K^non-construction_expansion","DATAJSONTEXT":"{\"VERSION\":\"20220810\",\"TREE_TYPE\":\"\",\"CONSULTATION_QA\":\"\"}","parOrder":"","proOrder":"","newOrderNum":"001.011","itemGuideConditionRelatedList":[{"ID":26478669,"TASKGUID":"08d206bd-48d9-471b-ac8c-f0a517dfc71b","T_ID":"51de3f1d-fb58-4bad-bbcd-cc8819805e8b","G_ID":"53615b88-8d2e-4efc-af75-f537b29bd734","M_CODE":"203378","MATERIAL_ID":"64b05373-c33d-4347-b371-ca20e93faabf","CD_TIME":"Dec 5, 2025 11:48:13 AM","CD_BATCH":"2025120500014","DISTRIBUTETAG":"all-data^non-investment^11110000660504319Y^110108000000^non-construction^11110000MB1503996K^non-construction_expansion","DATAJSONTEXT":"{\"VERSION\":\"20210903\"}"},{"ID":26479077,"TASKGUID":"08d206bd-48d9-471b-ac8c-f0a517dfc71b","T_ID":"51de3f1d-fb58-4bad-bbcd-cc8819805e8b","G_ID":"54edbee3-0586-485a-8656-8ac06c05078b","M_CODE":"203425","MATERIAL_ID":"3494a0b2-f758-47cd-baab-8394750be8c8","CD_TIME":"Dec 5, 2025 11:48:13 AM","CD_BATCH":"2025120500014","DISTRIBUTETAG":"all-data^non-investment^11110000660504319Y^110108000000^non-construction^11110000MB1503996K^non-construction_expansion","DATAJSONTEXT":"{\"VERSION\":\"20210903\"}"},{"ID":26479328,"TASKGUID":"08d206bd-48d9-471b-ac8c-f0a517dfc71b","T_ID":"51de3f1d-fb58-4bad-bbcd-cc8819805e8b","G_ID":"1f697859-c443-4a6b-8ab4-fe68aca58103","M_CODE":"203426","MATERIAL_ID":"3638bfd7-8bd8-4ab0-938f-d93f04c832ba","CD_TIME":"Dec 5, 2025 11:48:13 AM","CD_BATCH":"2025120500014","DISTRIBUTETAG":"all-data^non-investment^11110000660504319Y^110108000000^non-construction^11110000MB1503996K^non-construction_expansion","DATAJSONTEXT":"{\"VERSION\":\"20210903\"}"}]},{"ID":7847944,"TASKGUID":"08d206bd-48d9-471b-ac8c-f0a517dfc71b","T_ID":"9ca99e4d-6e2b-4ea4-a76f-98ca7f4bd39d","P_ID":"b8d03c4d-6f6b-4a10-9b46-ee2314340924","NAME":"外国驻华使(领)馆和外国驻华办事机构、国际组织驻华代表机构","NODE_LEVEL":2,"NODE_PATH":"/b8d03c4d-6f6b-4a10-9b46-ee2314340924/9ca99e4d-6e2b-4ea4-a76f-98ca7f4bd39d","CHILD_COUNT":0,"ORDER_NUM":12,"SERIAL_NUMBER":"1.12","CONDITION_ATTR":"02","IS_RADIO":"","IS_SUPPORT":"","SUMMARY":"","CD_TIME":"Dec 5, 2025 11:48:13 AM","CD_BATCH":"2025120500014","DISTRIBUTETAG":"all-data^non-investment^11110000660504319Y^110108000000^non-construction^11110000MB1503996K^non-construction_expansion","DATAJSONTEXT":"{\"VERSION\":\"20220810\",\"TREE_TYPE\":\"\",\"CONSULTATION_QA\":\"\"}","parOrder":"","proOrder":"","newOrderNum":"001.012","itemGuideConditionRelatedList":[{"ID":26479514,"TASKGUID":"08d206bd-48d9-471b-ac8c-f0a517dfc71b","T_ID":"9ca99e4d-6e2b-4ea4-a76f-98ca7f4bd39d","G_ID":"6a9165a8-d0fd-4783-8ba9-273fa02cc710","M_CODE":"209630","MATERIAL_ID":"393b97d2-9bf1-4eb5-adf3-1e024b332181","CD_TIME":"Dec 5, 2025 11:48:13 AM","CD_BATCH":"2025120500014","DISTRIBUTETAG":"all-data^non-investment^11110000660504319Y^110108000000^non-construction^11110000MB1503996K^non-construction_expansion","DATAJSONTEXT":"{\"VERSION\":\"20210903\"}"}]}]
2
1^2^3^4^5^6^9
https://bjt.beijing.gov.cn/renzheng/open/login/goUserLogin?client_id=100100000228&redirect_uri=http://bdc.ghzrzyw.beijing.gov.cn/eo/user/bjtLogin&state=PC_1016280002&response_type=code&scope=user_info;https://yzt.beijing.gov.cn/am/oauth2/authorize?service=bjzwService&response_type=code&client_id=000026681_04&scope=cn+uid+idCardNumber+reserve3+extProperties+credenceClass&redirect_uri=http%3A%2F%2Fbdc.ghzrzyw.beijing.gov.cn%2Feo%2Fuser%2FyztLogin%3Fstate%3D1016280002

政务服务> 办事指南

换证登记

北京市

切换简洁版

  • 即办件

    办件类型

  • 0

    到现场次数

  • 30工作日

    法定办结时限

  • 1工作日

    承诺办结时限

好差评

5.0

办件承诺办结时限说明:(承诺时限为办理流程中“审查与决定”环节的计时时限)

办件承诺办结时限说明:

(承诺时限为办理流程中“审查与决定”环节的计时时限)

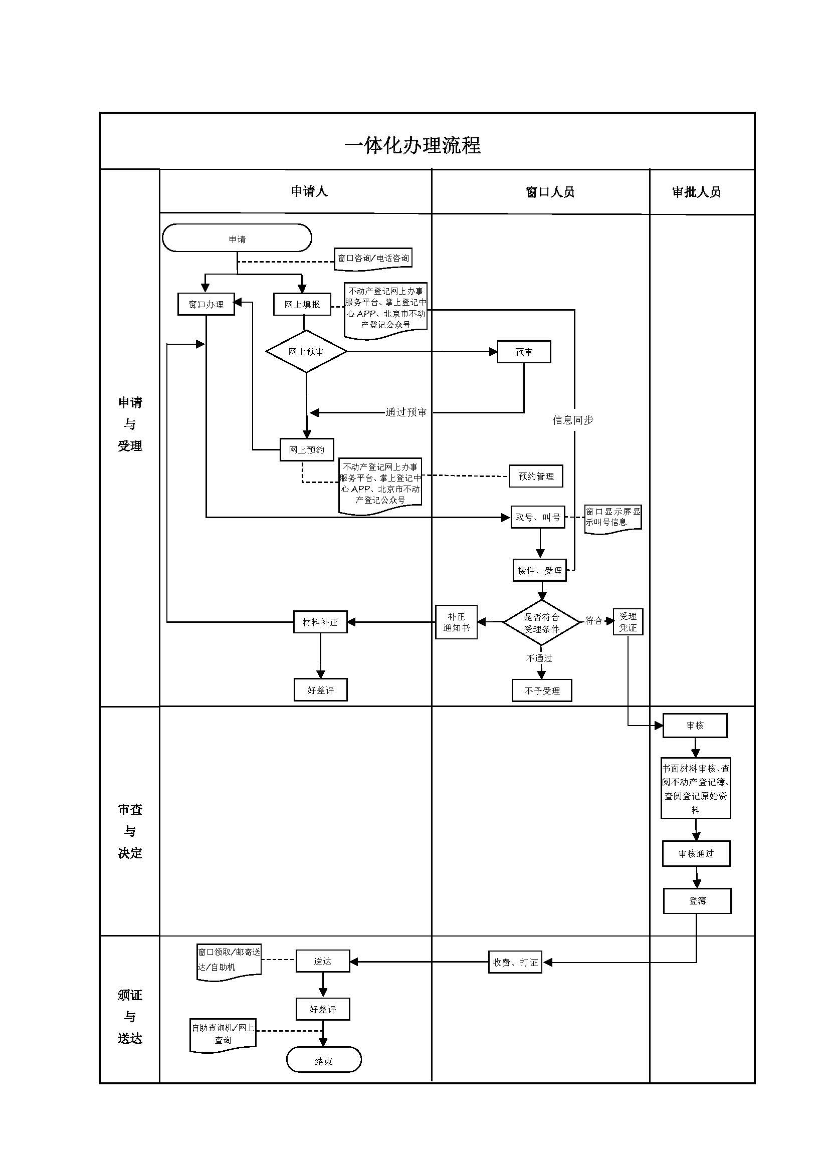
基本信息

实施主体 北京市规划和自然资源委员会海淀分局 服务对象
事项类型 行政确认 办理形式
受理条件 1.申请登记事项在本不动产登记机构的登记职责范围内; 2.申请材料形式符合要求; 3.申请人与依法应当提交的申请材料记载的主体一致; 4.申请登记的不动产权利与登记原因文件记载的不动产权利一致; 5.申请内容与询问记录不冲突;(来源:《北京市不动产登记工作规范(试行)》3.5.1) 6.法律、行政法规等规定的其他条件。
办理时间 海淀区政务服务中心(航天桥办公区):工作日上午09:00-12:00,下午13:30-17:00(延时服务时间:工作日早08:30-9:00,中午12:00-13:30,下午17:00-17:30,周六提供预约或非预约服务8:30-12:30) 查看详情
办理地点 海淀区政务服务中心(航天桥办公区):北京市海淀区阜成路67号银都大厦三层63-91窗口 查看详情
咨询方式

咨询电话:

(010)60609304【展开】

咨询窗口地址:

北京市海淀区阜成路67号银都大厦(海淀政务服务中心航天桥分中心)三层咨询台【展开】

网上咨询:

http://hdbdc.bjhd.gov.cn/AsDeclare/service/wx/wechatweb/toCenterIndexList【展开】

咨询信件地址:

北京市海淀区阜成路67号银都大厦(海淀政务服务中心航天桥分中心)三层咨询台【展开】

投诉监督方式
基本编码 110712033000 事项编码 11110000660504319Y3110712033000
业务办理项编码 11110000660504319Y311071203300002 进驻大厅类型
权力来源 法定本级行使 网上支付
所属机构 北京市规划和自然资源委员会海淀分局 委托部门 北京市规划和自然资源委员会
联办机构 实施主体性质 法定机关
办理进程查询途径
行使层级 区级 运行系统 市级自建(垂管)
物流快递 办理方式 自办件
预约办理 数量限制 无数量限制
中介服务 权限划分
通办范围 特殊程序
行使内容 对涉及在京中央和国家机关、驻京部队、保密单位的业务为市级办理 ,其余的登记业务在不动产所在地的各区不动产登记中心办理
显示更多

请选择情形:

提示:通过情形选择可引导出您办理该事项所需的材料,若要查看全部材料,请点击"查看全部材料"

查看全部材料 情形引导

收起
我选好了重选条件

序号 材料名称 材料来源 材料
必要性
数量要求 介质要求 表格及样例
下载
受理标准 提供材料
依据
其他要求
申请材料总要求委托办理的:提交授权委托书(原件1份)、受托人身份材料(原件1份,复印件1份);无、限制民事行为能力人申请登记的:提交证实被监护人为无、限制民事行为能力人的材料(原件1份,复印件1份)、监护关系材料(原件1份,复印件1份)、监护人的身份材料(原件1份,复印件1份)
序号 材料名称 材料来源 材料
必要性
数量要求 介质要求 表格及样例
下载
受理标准 提供材料
依据
其他要求
申请材料总要求委托办理的:提交授权委托书(原件1份)、受托人身份材料(原件1份,复印件1份);无、限制民事行为能力人申请登记的:提交证实被监护人为无、限制民事行为能力人的材料(原件1份,复印件1份)、监护关系材料(原件1份,复印件1份)、监护人的身份材料(原件1份,复印件1份)
显示更多

指南分享