3
07
11110000660504319Y
北京市规划和自然资源委员会海淀分局
抵押权变更登记
11110000660504319Y300071500101404
11110000660504319Y3000715001014
0
49964ced-ebf7-4415-98b3-c3cb3707c306
4f464787-787d-4264-836a-d914ab23ea2e
2^3
07
市规划自然委海淀区分局
110108000000
北京市规划和自然资源委员会海淀分局
海淀区政务服务中心(航天桥办公区):法定工作日: 上午: 08:30 - 12:00; 下午: 12:00 - 17:30; (延时服务时间: 周六上午08:30 - 12:30; );
海淀区政务服务中心(航天桥办公区):北京市海淀区阜成路67号银都大厦3层综合窗口;
已经登记的抵押权,因下列情形发生变更的,当事人可以申请抵押权变更登记: 1.权利人姓名或者名称、身份证件类型或者身份证件号码发生变化的; 2.担保范围发生变化的; 3.抵押权顺位发生变更的; 4.被担保的主债权种类或者数额发生变化的; 5.债务履行期限发生变化的; 6.最高债权额发生变化的; 7.最高额抵押权债权确定的期间发生变化的; 8.不动产发生转移导致抵押人发生变化的; 9.对抵押不动产转移禁止或限制性约定发生变化的; 10.法律、行政法规规定的其他情形。
{"IS_GUIDE":"1","ONLINE_DECLARE_SYSTEM_MODE":"99","ITEM_REALITY_USELEVEL":"","SERVICE_OBJCT":"","IS_CONSTRUCTION":"0","CL_SERVICE_TYPE":"","APP_CODE_ID":"","YESNO_CITY_UNICOM":"0^1","CROSS_AREA":"","ISSHOHCENTER":"0","WECHAT_CODE_ID":"","FINANCIAL":"","LITTLEPROGRAM_CODE_NAME":"","CROSS_AREA_ALL":"","CROSS_PROVINCE":"","ALIAS_NAME":"[\"抵押权登记\"]","EAR_DISABILITY_GRAD":"","LIB_DISABILITY_GRAD":"","SPEAK_DISABILITY_GRAD":"","REGISTER":"","ONLINE_HANDLING_DEPTH_STANDARD":"05","APPROVAL_TYPE":"1","MIND_DISABILITY_GRAD":"","ACCEPTSERVICE":"99","YWBLX_ID":"69e95832-8648-4d19-9e57-5403ffb6de2d","ONLINE_DECLARE_SYSTEM_DEPT":"","CONSTRUCTION_EXPANSION":"0","EMPOWER":"0","EXEMPT_MATERIALS":"","LITTLEPROGRAM_CODE_ID":"","EYE_DISABILITY_GRAD":"","ISMONVEINCENTER":"0","DATA_FLAG":"","BUSINESS_APPROVAL_DEPT":"北京市规划和自然资源委员会","POWER_NAME":"不动产统一登记","ITEM_ATTRIBUTE":"04^05^06^11^13","CROSS_AREA_ATEXT":"","AGE":"","BGSYSTEM_APPROVAL_OTHER":"北京市不动产登记信息系统v2.0","WIT_DISABILITY_GRAD":"","WECHAT_CODE_NAME":"","POWER_CODE":"H1202810","DISABILITY_TYPE":"","IS_ENABLE_CERTIFICATE_SHARE":"","POWER_ATTRIBUTE":"1","ONLY_ID":"167e0031-81ed-11ea-8de7-fa163e4f9ad9","YES_NO_OPEN":"1","BGSYSTEM_APPROVAL_NAME":"其他","APP_CODE_NAME":"","HOLDER":"","VERSION":"20241125"}
[{"ID":8589400,"TASKGUID":"49964ced-ebf7-4415-98b3-c3cb3707c306","T_ID":"03e864ad-9ea6-45d1-a503-fb5408b54054","P_ID":"","NAME":"申请人身份","NODE_LEVEL":1,"NODE_PATH":"/03e864ad-9ea6-45d1-a503-fb5408b54054","CHILD_COUNT":12,"ORDER_NUM":1,"SERIAL_NUMBER":"1","CONDITION_ATTR":"01","IS_RADIO":"1","IS_SUPPORT":"","SUMMARY":"1 申请人身份\n\t1.1 境内自然人\n\t\t1.1.1 是否成年\n\t\t\t1.1.1.1 是\n\t\t\t1.1.1.2 否\n\t\t1.1.2 是否为个体工商户或农村承包经营户\n\t\t\t1.1.2.1 是\n\t\t\t1.1.2.2 否\n\t1.10 香港特别行政区、澳门特别行政区、台湾地区的法人或非法人组织\n\t1.11 境外法人或非法人组织\n\t1.12 外国驻华使(领)馆和外国驻华办事机构、国际组织驻华代表机构\n\t1.2 香港、澳门特别行政区自然人\n\t1.3 台湾地区自然人\n\t1.4 华侨\n\t1.5 外籍自然人\n\t1.6 境内营利法人\n\t1.7 境内非营利法人\n\t1.8 境内特别法人\n\t1.9 境内非法人组织","CD_TIME":"Apr 21, 2026 5:51:35 PM","CD_BATCH":"2026042100045","DISTRIBUTETAG":"all-data^non-investment^11110000660504319Y^110108000000^non-construction^11110000MB1503996K^non-construction_expansion","DATAJSONTEXT":"{\"VERSION\":\"20220810\",\"TREE_TYPE\":\"\",\"CONSULTATION_QA\":\"\"}","parOrder":"","proOrder":"1","newOrderNum":"001","itemGuideConditionRelatedList":[]},{"ID":8589408,"TASKGUID":"49964ced-ebf7-4415-98b3-c3cb3707c306","T_ID":"5e10628e-0839-4cbb-824c-409e8eda2967","P_ID":"03e864ad-9ea6-45d1-a503-fb5408b54054","NAME":"境内自然人","NODE_LEVEL":2,"NODE_PATH":"/03e864ad-9ea6-45d1-a503-fb5408b54054/5e10628e-0839-4cbb-824c-409e8eda2967","CHILD_COUNT":2,"ORDER_NUM":1,"SERIAL_NUMBER":"1.1","CONDITION_ATTR":"02","IS_RADIO":"","IS_SUPPORT":"","SUMMARY":"","CD_TIME":"Apr 21, 2026 5:51:35 PM","CD_BATCH":"2026042100045","DISTRIBUTETAG":"all-data^non-investment^11110000660504319Y^110108000000^non-construction^11110000MB1503996K^non-construction_expansion","DATAJSONTEXT":"{\"VERSION\":\"20220810\",\"TREE_TYPE\":\"\",\"CONSULTATION_QA\":\"\"}","parOrder":"","proOrder":"","newOrderNum":"001.001","itemGuideConditionRelatedList":[]},{"ID":8589416,"TASKGUID":"49964ced-ebf7-4415-98b3-c3cb3707c306","T_ID":"a463f624-1174-4cc9-a328-3cf9dcb93808","P_ID":"5e10628e-0839-4cbb-824c-409e8eda2967","NAME":"是否成年","NODE_LEVEL":3,"NODE_PATH":"/03e864ad-9ea6-45d1-a503-fb5408b54054/5e10628e-0839-4cbb-824c-409e8eda2967/a463f624-1174-4cc9-a328-3cf9dcb93808","CHILD_COUNT":2,"ORDER_NUM":1,"SERIAL_NUMBER":"1.1.1","CONDITION_ATTR":"01","IS_RADIO":"1","IS_SUPPORT":"","SUMMARY":"","CD_TIME":"Apr 21, 2026 5:51:35 PM","CD_BATCH":"2026042100045","DISTRIBUTETAG":"all-data^non-investment^11110000660504319Y^110108000000^non-construction^11110000MB1503996K^non-construction_expansion","DATAJSONTEXT":"{\"VERSION\":\"20220810\",\"TREE_TYPE\":\"\",\"CONSULTATION_QA\":\"\"}","parOrder":"1","proOrder":"1","newOrderNum":"001.001.001","itemGuideConditionRelatedList":[]},{"ID":8589404,"TASKGUID":"49964ced-ebf7-4415-98b3-c3cb3707c306","T_ID":"50c5684c-8fc7-4537-ad6a-103b49a4f23c","P_ID":"a463f624-1174-4cc9-a328-3cf9dcb93808","NAME":"是","NODE_LEVEL":4,"NODE_PATH":"/03e864ad-9ea6-45d1-a503-fb5408b54054/5e10628e-0839-4cbb-824c-409e8eda2967/a463f624-1174-4cc9-a328-3cf9dcb93808/50c5684c-8fc7-4537-ad6a-103b49a4f23c","CHILD_COUNT":0,"ORDER_NUM":1,"SERIAL_NUMBER":"1.1.1.1","CONDITION_ATTR":"02","IS_RADIO":"","IS_SUPPORT":"","SUMMARY":"","CD_TIME":"Apr 21, 2026 5:51:35 PM","CD_BATCH":"2026042100045","DISTRIBUTETAG":"all-data^non-investment^11110000660504319Y^110108000000^non-construction^11110000MB1503996K^non-construction_expansion","DATAJSONTEXT":"{\"VERSION\":\"20220810\",\"TREE_TYPE\":\"\",\"CONSULTATION_QA\":\"\"}","parOrder":"","proOrder":"","newOrderNum":"001.001.001.001","itemGuideConditionRelatedList":[{"ID":27039459,"TASKGUID":"49964ced-ebf7-4415-98b3-c3cb3707c306","T_ID":"50c5684c-8fc7-4537-ad6a-103b49a4f23c","G_ID":"cd7c0b31-783d-4f98-be85-96681e533e76","M_CODE":"320006","MATERIAL_ID":"d205863e-a4e8-4e89-88f7-56fb46a59eff","CD_TIME":"Apr 21, 2026 5:51:35 PM","CD_BATCH":"2026042100045","DISTRIBUTETAG":"all-data^non-investment^11110000660504319Y^110108000000^non-construction^11110000MB1503996K^non-construction_expansion","DATAJSONTEXT":"{\"VERSION\":\"20210903\"}"}]},{"ID":8589411,"TASKGUID":"49964ced-ebf7-4415-98b3-c3cb3707c306","T_ID":"7a48386f-9c5b-4006-aca2-67c4c38c7cf3","P_ID":"a463f624-1174-4cc9-a328-3cf9dcb93808","NAME":"否","NODE_LEVEL":4,"NODE_PATH":"/03e864ad-9ea6-45d1-a503-fb5408b54054/5e10628e-0839-4cbb-824c-409e8eda2967/a463f624-1174-4cc9-a328-3cf9dcb93808/7a48386f-9c5b-4006-aca2-67c4c38c7cf3","CHILD_COUNT":0,"ORDER_NUM":2,"SERIAL_NUMBER":"1.1.1.2","CONDITION_ATTR":"02","IS_RADIO":"","IS_SUPPORT":"","SUMMARY":"","CD_TIME":"Apr 21, 2026 5:51:35 PM","CD_BATCH":"2026042100045","DISTRIBUTETAG":"all-data^non-investment^11110000660504319Y^110108000000^non-construction^11110000MB1503996K^non-construction_expansion","DATAJSONTEXT":"{\"VERSION\":\"20220810\",\"TREE_TYPE\":\"\",\"CONSULTATION_QA\":\"\"}","parOrder":"","proOrder":"","newOrderNum":"001.001.001.002","itemGuideConditionRelatedList":[{"ID":27039328,"TASKGUID":"49964ced-ebf7-4415-98b3-c3cb3707c306","T_ID":"7a48386f-9c5b-4006-aca2-67c4c38c7cf3","G_ID":"9da55f52-fe6f-48f3-a849-b5aa58455f2f","M_CODE":"340593","MATERIAL_ID":"b7625cc6-3593-4b8d-8b3f-74ee3e4f4cf4","CD_TIME":"Apr 21, 2026 5:51:35 PM","CD_BATCH":"2026042100045","DISTRIBUTETAG":"all-data^non-investment^11110000660504319Y^110108000000^non-construction^11110000MB1503996K^non-construction_expansion","DATAJSONTEXT":"{\"VERSION\":\"20210903\"}"},{"ID":27039521,"TASKGUID":"49964ced-ebf7-4415-98b3-c3cb3707c306","T_ID":"7a48386f-9c5b-4006-aca2-67c4c38c7cf3","G_ID":"b994846c-607c-4998-a5dc-e3ffcb55cbb1","M_CODE":"320006","MATERIAL_ID":"827a5d8a-9e8d-4424-b184-6d00040d90f1","CD_TIME":"Apr 21, 2026 5:51:35 PM","CD_BATCH":"2026042100045","DISTRIBUTETAG":"all-data^non-investment^11110000660504319Y^110108000000^non-construction^11110000MB1503996K^non-construction_expansion","DATAJSONTEXT":"{\"VERSION\":\"20210903\"}"}]},{"ID":8589409,"TASKGUID":"49964ced-ebf7-4415-98b3-c3cb3707c306","T_ID":"5ebb8a54-b46c-493a-9e0f-fe2ff22a43b6","P_ID":"5e10628e-0839-4cbb-824c-409e8eda2967","NAME":"是否为个体工商户或农村承包经营户","NODE_LEVEL":3,"NODE_PATH":"/03e864ad-9ea6-45d1-a503-fb5408b54054/5e10628e-0839-4cbb-824c-409e8eda2967/5ebb8a54-b46c-493a-9e0f-fe2ff22a43b6","CHILD_COUNT":2,"ORDER_NUM":2,"SERIAL_NUMBER":"1.1.2","CONDITION_ATTR":"01","IS_RADIO":"1","IS_SUPPORT":"","SUMMARY":"","CD_TIME":"Apr 21, 2026 5:51:35 PM","CD_BATCH":"2026042100045","DISTRIBUTETAG":"all-data^non-investment^11110000660504319Y^110108000000^non-construction^11110000MB1503996K^non-construction_expansion","DATAJSONTEXT":"{\"VERSION\":\"20220810\",\"TREE_TYPE\":\"\",\"CONSULTATION_QA\":\"\"}","parOrder":"1","proOrder":"2","newOrderNum":"001.001.002","itemGuideConditionRelatedList":[]},{"ID":8589410,"TASKGUID":"49964ced-ebf7-4415-98b3-c3cb3707c306","T_ID":"62bc2236-6d23-4046-a064-12ce76c20e9b","P_ID":"5ebb8a54-b46c-493a-9e0f-fe2ff22a43b6","NAME":"是","NODE_LEVEL":4,"NODE_PATH":"/03e864ad-9ea6-45d1-a503-fb5408b54054/5e10628e-0839-4cbb-824c-409e8eda2967/5ebb8a54-b46c-493a-9e0f-fe2ff22a43b6/62bc2236-6d23-4046-a064-12ce76c20e9b","CHILD_COUNT":0,"ORDER_NUM":1,"SERIAL_NUMBER":"1.1.2.1","CONDITION_ATTR":"02","IS_RADIO":"","IS_SUPPORT":"","SUMMARY":"","CD_TIME":"Apr 21, 2026 5:51:35 PM","CD_BATCH":"2026042100045","DISTRIBUTETAG":"all-data^non-investment^11110000660504319Y^110108000000^non-construction^11110000MB1503996K^non-construction_expansion","DATAJSONTEXT":"{\"VERSION\":\"20220810\",\"TREE_TYPE\":\"\",\"CONSULTATION_QA\":\"\"}","parOrder":"","proOrder":"","newOrderNum":"001.001.002.001","itemGuideConditionRelatedList":[{"ID":27039494,"TASKGUID":"49964ced-ebf7-4415-98b3-c3cb3707c306","T_ID":"62bc2236-6d23-4046-a064-12ce76c20e9b","G_ID":"d3247777-3102-42e6-98a8-25e6faa937e8","M_CODE":"209630","MATERIAL_ID":"f296c043-1209-4e46-a8d3-054d5e093997","CD_TIME":"Apr 21, 2026 5:51:35 PM","CD_BATCH":"2026042100045","DISTRIBUTETAG":"all-data^non-investment^11110000660504319Y^110108000000^non-construction^11110000MB1503996K^non-construction_expansion","DATAJSONTEXT":"{\"VERSION\":\"20210903\"}"}]},{"ID":8589421,"TASKGUID":"49964ced-ebf7-4415-98b3-c3cb3707c306","T_ID":"ceda6fe0-b94a-444e-9d0f-ac84c62adbae","P_ID":"5ebb8a54-b46c-493a-9e0f-fe2ff22a43b6","NAME":"否","NODE_LEVEL":4,"NODE_PATH":"/03e864ad-9ea6-45d1-a503-fb5408b54054/5e10628e-0839-4cbb-824c-409e8eda2967/5ebb8a54-b46c-493a-9e0f-fe2ff22a43b6/ceda6fe0-b94a-444e-9d0f-ac84c62adbae","CHILD_COUNT":0,"ORDER_NUM":2,"SERIAL_NUMBER":"1.1.2.2","CONDITION_ATTR":"02","IS_RADIO":"","IS_SUPPORT":"","SUMMARY":"","CD_TIME":"Apr 21, 2026 5:51:35 PM","CD_BATCH":"2026042100045","DISTRIBUTETAG":"all-data^non-investment^11110000660504319Y^110108000000^non-construction^11110000MB1503996K^non-construction_expansion","DATAJSONTEXT":"{\"VERSION\":\"20220810\",\"TREE_TYPE\":\"\",\"CONSULTATION_QA\":\"\"}","parOrder":"","proOrder":"","newOrderNum":"001.001.002.002","itemGuideConditionRelatedList":[]},{"ID":8589420,"TASKGUID":"49964ced-ebf7-4415-98b3-c3cb3707c306","T_ID":"cb10e5cd-01c3-443d-9a5a-56dfb021fb6f","P_ID":"03e864ad-9ea6-45d1-a503-fb5408b54054","NAME":"香港、澳门特别行政区自然人","NODE_LEVEL":2,"NODE_PATH":"/03e864ad-9ea6-45d1-a503-fb5408b54054/cb10e5cd-01c3-443d-9a5a-56dfb021fb6f","CHILD_COUNT":0,"ORDER_NUM":2,"SERIAL_NUMBER":"1.2","CONDITION_ATTR":"02","IS_RADIO":"","IS_SUPPORT":"","SUMMARY":"","CD_TIME":"Apr 21, 2026 5:51:35 PM","CD_BATCH":"2026042100045","DISTRIBUTETAG":"all-data^non-investment^11110000660504319Y^110108000000^non-construction^11110000MB1503996K^non-construction_expansion","DATAJSONTEXT":"{\"VERSION\":\"20220810\",\"TREE_TYPE\":\"\",\"CONSULTATION_QA\":\"\"}","parOrder":"","proOrder":"","newOrderNum":"001.002","itemGuideConditionRelatedList":[{"ID":27039329,"TASKGUID":"49964ced-ebf7-4415-98b3-c3cb3707c306","T_ID":"cb10e5cd-01c3-443d-9a5a-56dfb021fb6f","G_ID":"41a3e614-40a1-4872-a279-bc7183941b8e","M_CODE":"340580","MATERIAL_ID":"25ff0067-3741-4785-be71-f6d585d2dc56","CD_TIME":"Apr 21, 2026 5:51:35 PM","CD_BATCH":"2026042100045","DISTRIBUTETAG":"all-data^non-investment^11110000660504319Y^110108000000^non-construction^11110000MB1503996K^non-construction_expansion","DATAJSONTEXT":"{\"VERSION\":\"20210903\"}"},{"ID":27039333,"TASKGUID":"49964ced-ebf7-4415-98b3-c3cb3707c306","T_ID":"cb10e5cd-01c3-443d-9a5a-56dfb021fb6f","G_ID":"4a1d37b7-daa3-48f0-acdf-cb6931167cb1","M_CODE":"206127","MATERIAL_ID":"720cc2cc-cf5a-4f13-9f35-b0b330cee082","CD_TIME":"Apr 21, 2026 5:51:35 PM","CD_BATCH":"2026042100045","DISTRIBUTETAG":"all-data^non-investment^11110000660504319Y^110108000000^non-construction^11110000MB1503996K^non-construction_expansion","DATAJSONTEXT":"{\"VERSION\":\"20210903\"}"},{"ID":27039351,"TASKGUID":"49964ced-ebf7-4415-98b3-c3cb3707c306","T_ID":"cb10e5cd-01c3-443d-9a5a-56dfb021fb6f","G_ID":"d05b0e20-5fa5-45b6-9e45-0454aea5248f","M_CODE":"345889","MATERIAL_ID":"e627f34a-2f5f-4fbd-bafb-b0d87e36e556","CD_TIME":"Apr 21, 2026 5:51:35 PM","CD_BATCH":"2026042100045","DISTRIBUTETAG":"all-data^non-investment^11110000660504319Y^110108000000^non-construction^11110000MB1503996K^non-construction_expansion","DATAJSONTEXT":"{\"VERSION\":\"20210903\"}"},{"ID":27039460,"TASKGUID":"49964ced-ebf7-4415-98b3-c3cb3707c306","T_ID":"cb10e5cd-01c3-443d-9a5a-56dfb021fb6f","G_ID":"45414d06-6928-447e-b5f7-af0b37979915","M_CODE":"347022","MATERIAL_ID":"76d68c4b-4a8c-4d6b-a8bd-0b4d070177e7","CD_TIME":"Apr 21, 2026 5:51:35 PM","CD_BATCH":"2026042100045","DISTRIBUTETAG":"all-data^non-investment^11110000660504319Y^110108000000^non-construction^11110000MB1503996K^non-construction_expansion","DATAJSONTEXT":"{\"VERSION\":\"20210903\"}"},{"ID":27039473,"TASKGUID":"49964ced-ebf7-4415-98b3-c3cb3707c306","T_ID":"cb10e5cd-01c3-443d-9a5a-56dfb021fb6f","G_ID":"64cc4d21-e810-4ef4-9fe1-ddb474f6890a","M_CODE":"346621","MATERIAL_ID":"9c59aa29-7841-4377-83d9-46fb0177416f","CD_TIME":"Apr 21, 2026 5:51:35 PM","CD_BATCH":"2026042100045","DISTRIBUTETAG":"all-data^non-investment^11110000660504319Y^110108000000^non-construction^11110000MB1503996K^non-construction_expansion","DATAJSONTEXT":"{\"VERSION\":\"20210903\"}"},{"ID":27039474,"TASKGUID":"49964ced-ebf7-4415-98b3-c3cb3707c306","T_ID":"cb10e5cd-01c3-443d-9a5a-56dfb021fb6f","G_ID":"772ea0a9-6e22-4963-95a6-2f26cbe3a73e","M_CODE":"347360","MATERIAL_ID":"4bc5b9f0-4bc5-4074-a1b4-91f6f69f0b61","CD_TIME":"Apr 21, 2026 5:51:35 PM","CD_BATCH":"2026042100045","DISTRIBUTETAG":"all-data^non-investment^11110000660504319Y^110108000000^non-construction^11110000MB1503996K^non-construction_expansion","DATAJSONTEXT":"{\"VERSION\":\"20210903\"}"}]},{"ID":8589424,"TASKGUID":"49964ced-ebf7-4415-98b3-c3cb3707c306","T_ID":"f64f08d2-b6e8-4d62-ae6d-16148571daf4","P_ID":"03e864ad-9ea6-45d1-a503-fb5408b54054","NAME":"台湾地区自然人","NODE_LEVEL":2,"NODE_PATH":"/03e864ad-9ea6-45d1-a503-fb5408b54054/f64f08d2-b6e8-4d62-ae6d-16148571daf4","CHILD_COUNT":0,"ORDER_NUM":3,"SERIAL_NUMBER":"1.3","CONDITION_ATTR":"02","IS_RADIO":"","IS_SUPPORT":"","SUMMARY":"","CD_TIME":"Apr 21, 2026 5:51:35 PM","CD_BATCH":"2026042100045","DISTRIBUTETAG":"all-data^non-investment^11110000660504319Y^110108000000^non-construction^11110000MB1503996K^non-construction_expansion","DATAJSONTEXT":"{\"VERSION\":\"20220810\",\"TREE_TYPE\":\"\",\"CONSULTATION_QA\":\"\"}","parOrder":"","proOrder":"","newOrderNum":"001.003","itemGuideConditionRelatedList":[{"ID":27039325,"TASKGUID":"49964ced-ebf7-4415-98b3-c3cb3707c306","T_ID":"f64f08d2-b6e8-4d62-ae6d-16148571daf4","G_ID":"074a3352-144b-4628-8dbf-fb2cb7583d4b","M_CODE":"345560","MATERIAL_ID":"d1133533-aa07-464b-b2ae-541ae7cbf808","CD_TIME":"Apr 21, 2026 5:51:35 PM","CD_BATCH":"2026042100045","DISTRIBUTETAG":"all-data^non-investment^11110000660504319Y^110108000000^non-construction^11110000MB1503996K^non-construction_expansion","DATAJSONTEXT":"{\"VERSION\":\"20210903\"}"},{"ID":27039515,"TASKGUID":"49964ced-ebf7-4415-98b3-c3cb3707c306","T_ID":"f64f08d2-b6e8-4d62-ae6d-16148571daf4","G_ID":"631b9a51-faae-4056-b2eb-898995f09f40","M_CODE":"340581","MATERIAL_ID":"7828882b-5673-415d-989b-47675af31c0e","CD_TIME":"Apr 21, 2026 5:51:35 PM","CD_BATCH":"2026042100045","DISTRIBUTETAG":"all-data^non-investment^11110000660504319Y^110108000000^non-construction^11110000MB1503996K^non-construction_expansion","DATAJSONTEXT":"{\"VERSION\":\"20210903\"}"}]},{"ID":8589412,"TASKGUID":"49964ced-ebf7-4415-98b3-c3cb3707c306","T_ID":"86be1d2c-cdeb-47a7-9e74-532e0374e2fc","P_ID":"03e864ad-9ea6-45d1-a503-fb5408b54054","NAME":"华侨","NODE_LEVEL":2,"NODE_PATH":"/03e864ad-9ea6-45d1-a503-fb5408b54054/86be1d2c-cdeb-47a7-9e74-532e0374e2fc","CHILD_COUNT":0,"ORDER_NUM":4,"SERIAL_NUMBER":"1.4","CONDITION_ATTR":"02","IS_RADIO":"","IS_SUPPORT":"","SUMMARY":"","CD_TIME":"Apr 21, 2026 5:51:35 PM","CD_BATCH":"2026042100045","DISTRIBUTETAG":"all-data^non-investment^11110000660504319Y^110108000000^non-construction^11110000MB1503996K^non-construction_expansion","DATAJSONTEXT":"{\"VERSION\":\"20220810\",\"TREE_TYPE\":\"\",\"CONSULTATION_QA\":\"\"}","parOrder":"","proOrder":"","newOrderNum":"001.004","itemGuideConditionRelatedList":[{"ID":27039479,"TASKGUID":"49964ced-ebf7-4415-98b3-c3cb3707c306","T_ID":"86be1d2c-cdeb-47a7-9e74-532e0374e2fc","G_ID":"e6c12b68-5624-4b09-9153-33a1dc3a7d63","M_CODE":"340576","MATERIAL_ID":"63be7c15-2d3f-46af-9853-288811e62514","CD_TIME":"Apr 21, 2026 5:51:35 PM","CD_BATCH":"2026042100045","DISTRIBUTETAG":"all-data^non-investment^11110000660504319Y^110108000000^non-construction^11110000MB1503996K^non-construction_expansion","DATAJSONTEXT":"{\"VERSION\":\"20210903\"}"},{"ID":27039514,"TASKGUID":"49964ced-ebf7-4415-98b3-c3cb3707c306","T_ID":"86be1d2c-cdeb-47a7-9e74-532e0374e2fc","G_ID":"88104bc4-5a90-4cf0-9383-ea8dbf1d1b05","M_CODE":"209630","MATERIAL_ID":"4d9722fe-22d7-4114-9afe-0311e0796aaf","CD_TIME":"Apr 21, 2026 5:51:35 PM","CD_BATCH":"2026042100045","DISTRIBUTETAG":"all-data^non-investment^11110000660504319Y^110108000000^non-construction^11110000MB1503996K^non-construction_expansion","DATAJSONTEXT":"{\"VERSION\":\"20210903\"}"}]},{"ID":8589418,"TASKGUID":"49964ced-ebf7-4415-98b3-c3cb3707c306","T_ID":"bf5a4e33-f627-4bbc-8593-034d0c95345c","P_ID":"03e864ad-9ea6-45d1-a503-fb5408b54054","NAME":"外籍自然人","NODE_LEVEL":2,"NODE_PATH":"/03e864ad-9ea6-45d1-a503-fb5408b54054/bf5a4e33-f627-4bbc-8593-034d0c95345c","CHILD_COUNT":0,"ORDER_NUM":5,"SERIAL_NUMBER":"1.5","CONDITION_ATTR":"02","IS_RADIO":"","IS_SUPPORT":"","SUMMARY":"","CD_TIME":"Apr 21, 2026 5:51:35 PM","CD_BATCH":"2026042100045","DISTRIBUTETAG":"all-data^non-investment^11110000660504319Y^110108000000^non-construction^11110000MB1503996K^non-construction_expansion","DATAJSONTEXT":"{\"VERSION\":\"20220810\",\"TREE_TYPE\":\"\",\"CONSULTATION_QA\":\"\"}","parOrder":"","proOrder":"","newOrderNum":"001.005","itemGuideConditionRelatedList":[{"ID":27039344,"TASKGUID":"49964ced-ebf7-4415-98b3-c3cb3707c306","T_ID":"bf5a4e33-f627-4bbc-8593-034d0c95345c","G_ID":"0e14e39f-817f-41a4-aa74-668bf9006d5a","M_CODE":"344780","MATERIAL_ID":"0220cfee-960d-420d-a371-45e4cc4776b9","CD_TIME":"Apr 21, 2026 5:51:35 PM","CD_BATCH":"2026042100045","DISTRIBUTETAG":"all-data^non-investment^11110000660504319Y^110108000000^non-construction^11110000MB1503996K^non-construction_expansion","DATAJSONTEXT":"{\"VERSION\":\"20210903\"}"},{"ID":27039355,"TASKGUID":"49964ced-ebf7-4415-98b3-c3cb3707c306","T_ID":"bf5a4e33-f627-4bbc-8593-034d0c95345c","G_ID":"6fc6cc28-bab3-4663-8fbc-b4c5e0b07870","M_CODE":"345804","MATERIAL_ID":"dea2f399-2ecb-4bff-85e6-ca476eed9a1e","CD_TIME":"Apr 21, 2026 5:51:35 PM","CD_BATCH":"2026042100045","DISTRIBUTETAG":"all-data^non-investment^11110000660504319Y^110108000000^non-construction^11110000MB1503996K^non-construction_expansion","DATAJSONTEXT":"{\"VERSION\":\"20210903\"}"}]},{"ID":8589413,"TASKGUID":"49964ced-ebf7-4415-98b3-c3cb3707c306","T_ID":"8d328f49-40f8-40b8-ae80-b2a4359f157c","P_ID":"03e864ad-9ea6-45d1-a503-fb5408b54054","NAME":"境内营利法人","NODE_LEVEL":2,"NODE_PATH":"/03e864ad-9ea6-45d1-a503-fb5408b54054/8d328f49-40f8-40b8-ae80-b2a4359f157c","CHILD_COUNT":0,"ORDER_NUM":6,"SERIAL_NUMBER":"1.6","CONDITION_ATTR":"02","IS_RADIO":"","IS_SUPPORT":"","SUMMARY":"","CD_TIME":"Apr 21, 2026 5:51:35 PM","CD_BATCH":"2026042100045","DISTRIBUTETAG":"all-data^non-investment^11110000660504319Y^110108000000^non-construction^11110000MB1503996K^non-construction_expansion","DATAJSONTEXT":"{\"VERSION\":\"20220810\",\"TREE_TYPE\":\"\",\"CONSULTATION_QA\":\"\"}","parOrder":"","proOrder":"","newOrderNum":"001.006","itemGuideConditionRelatedList":[{"ID":27039505,"TASKGUID":"49964ced-ebf7-4415-98b3-c3cb3707c306","T_ID":"8d328f49-40f8-40b8-ae80-b2a4359f157c","G_ID":"97d633d0-3cd3-4d9c-a8c8-390c0f349e34","M_CODE":"341898","MATERIAL_ID":"c4384032-6b16-4810-894c-4de4389ecf77","CD_TIME":"Apr 21, 2026 5:51:35 PM","CD_BATCH":"2026042100045","DISTRIBUTETAG":"all-data^non-investment^11110000660504319Y^110108000000^non-construction^11110000MB1503996K^non-construction_expansion","DATAJSONTEXT":"{\"VERSION\":\"20210903\"}"}]},{"ID":8589415,"TASKGUID":"49964ced-ebf7-4415-98b3-c3cb3707c306","T_ID":"a3ddf718-4167-41d6-a14c-b36d7a3802a1","P_ID":"03e864ad-9ea6-45d1-a503-fb5408b54054","NAME":"境内非营利法人","NODE_LEVEL":2,"NODE_PATH":"/03e864ad-9ea6-45d1-a503-fb5408b54054/a3ddf718-4167-41d6-a14c-b36d7a3802a1","CHILD_COUNT":0,"ORDER_NUM":7,"SERIAL_NUMBER":"1.7","CONDITION_ATTR":"02","IS_RADIO":"","IS_SUPPORT":"","SUMMARY":"","CD_TIME":"Apr 21, 2026 5:51:35 PM","CD_BATCH":"2026042100045","DISTRIBUTETAG":"all-data^non-investment^11110000660504319Y^110108000000^non-construction^11110000MB1503996K^non-construction_expansion","DATAJSONTEXT":"{\"VERSION\":\"20220810\",\"TREE_TYPE\":\"\",\"CONSULTATION_QA\":\"\"}","parOrder":"","proOrder":"","newOrderNum":"001.007","itemGuideConditionRelatedList":[{"ID":27039318,"TASKGUID":"49964ced-ebf7-4415-98b3-c3cb3707c306","T_ID":"a3ddf718-4167-41d6-a14c-b36d7a3802a1","G_ID":"cf636ac8-986f-4977-9b30-a15313eb6e3e","M_CODE":"345025","MATERIAL_ID":"96640d8d-e2f8-471a-9872-0517a23cdef4","CD_TIME":"Apr 21, 2026 5:51:35 PM","CD_BATCH":"2026042100045","DISTRIBUTETAG":"all-data^non-investment^11110000660504319Y^110108000000^non-construction^11110000MB1503996K^non-construction_expansion","DATAJSONTEXT":"{\"VERSION\":\"20210903\"}"},{"ID":27039340,"TASKGUID":"49964ced-ebf7-4415-98b3-c3cb3707c306","T_ID":"a3ddf718-4167-41d6-a14c-b36d7a3802a1","G_ID":"bb4b4a90-0288-4e42-88b7-4214ac061056","M_CODE":"209630","MATERIAL_ID":"b85b9d35-3548-4539-9976-d2a74bd259b0","CD_TIME":"Apr 21, 2026 5:51:35 PM","CD_BATCH":"2026042100045","DISTRIBUTETAG":"all-data^non-investment^11110000660504319Y^110108000000^non-construction^11110000MB1503996K^non-construction_expansion","DATAJSONTEXT":"{\"VERSION\":\"20210903\"}"},{"ID":27039358,"TASKGUID":"49964ced-ebf7-4415-98b3-c3cb3707c306","T_ID":"a3ddf718-4167-41d6-a14c-b36d7a3802a1","G_ID":"084cd727-c74f-4ec2-aad2-8c2019a2f560","M_CODE":"340675","MATERIAL_ID":"5a558949-7e8b-4f1b-9ee4-8c47b8c7619d","CD_TIME":"Apr 21, 2026 5:51:35 PM","CD_BATCH":"2026042100045","DISTRIBUTETAG":"all-data^non-investment^11110000660504319Y^110108000000^non-construction^11110000MB1503996K^non-construction_expansion","DATAJSONTEXT":"{\"VERSION\":\"20210903\"}"},{"ID":27039461,"TASKGUID":"49964ced-ebf7-4415-98b3-c3cb3707c306","T_ID":"a3ddf718-4167-41d6-a14c-b36d7a3802a1","G_ID":"817a334e-4c2f-4f25-aa91-e2c9efb9d577","M_CODE":"340680","MATERIAL_ID":"533b6964-d756-4f6d-aade-bcb25a0441a6","CD_TIME":"Apr 21, 2026 5:51:35 PM","CD_BATCH":"2026042100045","DISTRIBUTETAG":"all-data^non-investment^11110000660504319Y^110108000000^non-construction^11110000MB1503996K^non-construction_expansion","DATAJSONTEXT":"{\"VERSION\":\"20210903\"}"},{"ID":27039496,"TASKGUID":"49964ced-ebf7-4415-98b3-c3cb3707c306","T_ID":"a3ddf718-4167-41d6-a14c-b36d7a3802a1","G_ID":"b548f90d-a31a-4156-97cc-43af16e0aa34","M_CODE":"203760","MATERIAL_ID":"d39ae2c7-d8a9-4344-8f1e-0fdbf6e22cd4","CD_TIME":"Apr 21, 2026 5:51:35 PM","CD_BATCH":"2026042100045","DISTRIBUTETAG":"all-data^non-investment^11110000660504319Y^110108000000^non-construction^11110000MB1503996K^non-construction_expansion","DATAJSONTEXT":"{\"VERSION\":\"20210903\"}"},{"ID":27039501,"TASKGUID":"49964ced-ebf7-4415-98b3-c3cb3707c306","T_ID":"a3ddf718-4167-41d6-a14c-b36d7a3802a1","G_ID":"38847046-5618-4ee4-9360-89e9d746c059","M_CODE":"344352","MATERIAL_ID":"0dc29ffd-e237-4194-abce-8d77645b6d7a","CD_TIME":"Apr 21, 2026 5:51:35 PM","CD_BATCH":"2026042100045","DISTRIBUTETAG":"all-data^non-investment^11110000660504319Y^110108000000^non-construction^11110000MB1503996K^non-construction_expansion","DATAJSONTEXT":"{\"VERSION\":\"20210903\"}"}]},{"ID":8589403,"TASKGUID":"49964ced-ebf7-4415-98b3-c3cb3707c306","T_ID":"473f0b3a-9457-4130-825b-06b991268bf0","P_ID":"03e864ad-9ea6-45d1-a503-fb5408b54054","NAME":"境内特别法人","NODE_LEVEL":2,"NODE_PATH":"/03e864ad-9ea6-45d1-a503-fb5408b54054/473f0b3a-9457-4130-825b-06b991268bf0","CHILD_COUNT":0,"ORDER_NUM":8,"SERIAL_NUMBER":"1.8","CONDITION_ATTR":"02","IS_RADIO":"","IS_SUPPORT":"","SUMMARY":"","CD_TIME":"Apr 21, 2026 5:51:35 PM","CD_BATCH":"2026042100045","DISTRIBUTETAG":"all-data^non-investment^11110000660504319Y^110108000000^non-construction^11110000MB1503996K^non-construction_expansion","DATAJSONTEXT":"{\"VERSION\":\"20220810\",\"TREE_TYPE\":\"\",\"CONSULTATION_QA\":\"\"}","parOrder":"","proOrder":"","newOrderNum":"001.008","itemGuideConditionRelatedList":[{"ID":27039395,"TASKGUID":"49964ced-ebf7-4415-98b3-c3cb3707c306","T_ID":"473f0b3a-9457-4130-825b-06b991268bf0","G_ID":"669174e0-c049-483f-a624-17c3b894b5b1","M_CODE":"346737","MATERIAL_ID":"155a8524-5b25-4a20-9a12-e1c553f30ddd","CD_TIME":"Apr 21, 2026 5:51:35 PM","CD_BATCH":"2026042100045","DISTRIBUTETAG":"all-data^non-investment^11110000660504319Y^110108000000^non-construction^11110000MB1503996K^non-construction_expansion","DATAJSONTEXT":"{\"VERSION\":\"20210903\"}"},{"ID":27039431,"TASKGUID":"49964ced-ebf7-4415-98b3-c3cb3707c306","T_ID":"473f0b3a-9457-4130-825b-06b991268bf0","G_ID":"a1b18feb-fce2-4a77-9c3e-c6d57952cd40","M_CODE":"346738","MATERIAL_ID":"2a9c5a2c-41f7-4a37-90fd-c431b05aea18","CD_TIME":"Apr 21, 2026 5:51:35 PM","CD_BATCH":"2026042100045","DISTRIBUTETAG":"all-data^non-investment^11110000660504319Y^110108000000^non-construction^11110000MB1503996K^non-construction_expansion","DATAJSONTEXT":"{\"VERSION\":\"20210903\"}"},{"ID":27039448,"TASKGUID":"49964ced-ebf7-4415-98b3-c3cb3707c306","T_ID":"473f0b3a-9457-4130-825b-06b991268bf0","G_ID":"8a65e84f-96d7-4613-a681-aa4f8aa997d3","M_CODE":"345097","MATERIAL_ID":"ae68f184-a3fb-47ba-beb7-f5461d367970","CD_TIME":"Apr 21, 2026 5:51:35 PM","CD_BATCH":"2026042100045","DISTRIBUTETAG":"all-data^non-investment^11110000660504319Y^110108000000^non-construction^11110000MB1503996K^non-construction_expansion","DATAJSONTEXT":"{\"VERSION\":\"20210903\"}"},{"ID":27039455,"TASKGUID":"49964ced-ebf7-4415-98b3-c3cb3707c306","T_ID":"473f0b3a-9457-4130-825b-06b991268bf0","G_ID":"fcb94a24-f0fd-4b2f-9dca-f2a67768ff37","M_CODE":"320084","MATERIAL_ID":"467192e6-d6e8-4c7f-a745-ffe6b636cb50","CD_TIME":"Apr 21, 2026 5:51:35 PM","CD_BATCH":"2026042100045","DISTRIBUTETAG":"all-data^non-investment^11110000660504319Y^110108000000^non-construction^11110000MB1503996K^non-construction_expansion","DATAJSONTEXT":"{\"VERSION\":\"20210903\"}"},{"ID":27039489,"TASKGUID":"49964ced-ebf7-4415-98b3-c3cb3707c306","T_ID":"473f0b3a-9457-4130-825b-06b991268bf0","G_ID":"60f2ad1d-6c9e-4a1f-a089-e01d1c5b483d","M_CODE":"203376","MATERIAL_ID":"3c87b041-facb-4629-a405-42e96a54b46c","CD_TIME":"Apr 21, 2026 5:51:35 PM","CD_BATCH":"2026042100045","DISTRIBUTETAG":"all-data^non-investment^11110000660504319Y^110108000000^non-construction^11110000MB1503996K^non-construction_expansion","DATAJSONTEXT":"{\"VERSION\":\"20210903\"}"}]},{"ID":8589402,"TASKGUID":"49964ced-ebf7-4415-98b3-c3cb3707c306","T_ID":"2afeaf09-5b84-45ba-9122-4dde236a05d1","P_ID":"03e864ad-9ea6-45d1-a503-fb5408b54054","NAME":"境内非法人组织","NODE_LEVEL":2,"NODE_PATH":"/03e864ad-9ea6-45d1-a503-fb5408b54054/2afeaf09-5b84-45ba-9122-4dde236a05d1","CHILD_COUNT":0,"ORDER_NUM":9,"SERIAL_NUMBER":"1.9","CONDITION_ATTR":"02","IS_RADIO":"","IS_SUPPORT":"","SUMMARY":"","CD_TIME":"Apr 21, 2026 5:51:35 PM","CD_BATCH":"2026042100045","DISTRIBUTETAG":"all-data^non-investment^11110000660504319Y^110108000000^non-construction^11110000MB1503996K^non-construction_expansion","DATAJSONTEXT":"{\"VERSION\":\"20220810\",\"TREE_TYPE\":\"\",\"CONSULTATION_QA\":\"\"}","parOrder":"","proOrder":"","newOrderNum":"001.009","itemGuideConditionRelatedList":[{"ID":27039377,"TASKGUID":"49964ced-ebf7-4415-98b3-c3cb3707c306","T_ID":"2afeaf09-5b84-45ba-9122-4dde236a05d1","G_ID":"8f5d35c1-5264-43b4-9461-243bab24bde1","M_CODE":"341898","MATERIAL_ID":"02b4e2ce-665f-4e52-b395-55af32626f10","CD_TIME":"Apr 21, 2026 5:51:35 PM","CD_BATCH":"2026042100045","DISTRIBUTETAG":"all-data^non-investment^11110000660504319Y^110108000000^non-construction^11110000MB1503996K^non-construction_expansion","DATAJSONTEXT":"{\"VERSION\":\"20210903\"}"},{"ID":27039425,"TASKGUID":"49964ced-ebf7-4415-98b3-c3cb3707c306","T_ID":"2afeaf09-5b84-45ba-9122-4dde236a05d1","G_ID":"9d531b2a-45e4-4577-9715-9f00c4d28584","M_CODE":"209630","MATERIAL_ID":"cc1345cd-90fd-4dcd-89bc-2b0c9799a842","CD_TIME":"Apr 21, 2026 5:51:35 PM","CD_BATCH":"2026042100045","DISTRIBUTETAG":"all-data^non-investment^11110000660504319Y^110108000000^non-construction^11110000MB1503996K^non-construction_expansion","DATAJSONTEXT":"{\"VERSION\":\"20210903\"}"}]},{"ID":8589414,"TASKGUID":"49964ced-ebf7-4415-98b3-c3cb3707c306","T_ID":"998cbf8f-1219-413d-8b3c-15c2485345e1","P_ID":"03e864ad-9ea6-45d1-a503-fb5408b54054","NAME":"香港特别行政区、澳门特别行政区、台湾地区的法人或非法人组织","NODE_LEVEL":2,"NODE_PATH":"/03e864ad-9ea6-45d1-a503-fb5408b54054/998cbf8f-1219-413d-8b3c-15c2485345e1","CHILD_COUNT":0,"ORDER_NUM":10,"SERIAL_NUMBER":"1.10","CONDITION_ATTR":"02","IS_RADIO":"","IS_SUPPORT":"","SUMMARY":"","CD_TIME":"Apr 21, 2026 5:51:35 PM","CD_BATCH":"2026042100045","DISTRIBUTETAG":"all-data^non-investment^11110000660504319Y^110108000000^non-construction^11110000MB1503996K^non-construction_expansion","DATAJSONTEXT":"{\"VERSION\":\"20220810\",\"TREE_TYPE\":\"\",\"CONSULTATION_QA\":\"\"}","parOrder":"","proOrder":"","newOrderNum":"001.010","itemGuideConditionRelatedList":[{"ID":27039353,"TASKGUID":"49964ced-ebf7-4415-98b3-c3cb3707c306","T_ID":"998cbf8f-1219-413d-8b3c-15c2485345e1","G_ID":"79b05278-1e6d-4aa2-abea-033f47cee3fe","M_CODE":"203425","MATERIAL_ID":"73b006b4-7a19-4ccf-a6f3-2fdb778653b4","CD_TIME":"Apr 21, 2026 5:51:35 PM","CD_BATCH":"2026042100045","DISTRIBUTETAG":"all-data^non-investment^11110000660504319Y^110108000000^non-construction^11110000MB1503996K^non-construction_expansion","DATAJSONTEXT":"{\"VERSION\":\"20210903\"}"},{"ID":27039372,"TASKGUID":"49964ced-ebf7-4415-98b3-c3cb3707c306","T_ID":"998cbf8f-1219-413d-8b3c-15c2485345e1","G_ID":"eab64627-a5b0-4a45-a02f-ca17b9200322","M_CODE":"203379","MATERIAL_ID":"104b0b04-b7df-41a4-b88e-080173cd32e2","CD_TIME":"Apr 21, 2026 5:51:35 PM","CD_BATCH":"2026042100045","DISTRIBUTETAG":"all-data^non-investment^11110000660504319Y^110108000000^non-construction^11110000MB1503996K^non-construction_expansion","DATAJSONTEXT":"{\"VERSION\":\"20210903\"}"},{"ID":27039394,"TASKGUID":"49964ced-ebf7-4415-98b3-c3cb3707c306","T_ID":"998cbf8f-1219-413d-8b3c-15c2485345e1","G_ID":"32375f34-f1ca-4d85-ae96-6e83a33e08a9","M_CODE":"203426","MATERIAL_ID":"6a1b4ce1-6ada-4b5d-b330-6a46cbdb148b","CD_TIME":"Apr 21, 2026 5:51:35 PM","CD_BATCH":"2026042100045","DISTRIBUTETAG":"all-data^non-investment^11110000660504319Y^110108000000^non-construction^11110000MB1503996K^non-construction_expansion","DATAJSONTEXT":"{\"VERSION\":\"20210903\"}"}]},{"ID":8589405,"TASKGUID":"49964ced-ebf7-4415-98b3-c3cb3707c306","T_ID":"5a1905ca-b73a-4faa-b03e-7b64752bd4cb","P_ID":"03e864ad-9ea6-45d1-a503-fb5408b54054","NAME":"境外法人或非法人组织","NODE_LEVEL":2,"NODE_PATH":"/03e864ad-9ea6-45d1-a503-fb5408b54054/5a1905ca-b73a-4faa-b03e-7b64752bd4cb","CHILD_COUNT":0,"ORDER_NUM":11,"SERIAL_NUMBER":"1.11","CONDITION_ATTR":"02","IS_RADIO":"","IS_SUPPORT":"","SUMMARY":"","CD_TIME":"Apr 21, 2026 5:51:35 PM","CD_BATCH":"2026042100045","DISTRIBUTETAG":"all-data^non-investment^11110000660504319Y^110108000000^non-construction^11110000MB1503996K^non-construction_expansion","DATAJSONTEXT":"{\"VERSION\":\"20220810\",\"TREE_TYPE\":\"\",\"CONSULTATION_QA\":\"\"}","parOrder":"","proOrder":"","newOrderNum":"001.011","itemGuideConditionRelatedList":[{"ID":27039327,"TASKGUID":"49964ced-ebf7-4415-98b3-c3cb3707c306","T_ID":"5a1905ca-b73a-4faa-b03e-7b64752bd4cb","G_ID":"8af79783-fef4-47b8-ab12-bae8d8cf02ac","M_CODE":"203426","MATERIAL_ID":"58ca8474-b38d-4ece-804e-366f0ea5fa26","CD_TIME":"Apr 21, 2026 5:51:35 PM","CD_BATCH":"2026042100045","DISTRIBUTETAG":"all-data^non-investment^11110000660504319Y^110108000000^non-construction^11110000MB1503996K^non-construction_expansion","DATAJSONTEXT":"{\"VERSION\":\"20210903\"}"},{"ID":27039433,"TASKGUID":"49964ced-ebf7-4415-98b3-c3cb3707c306","T_ID":"5a1905ca-b73a-4faa-b03e-7b64752bd4cb","G_ID":"c9b3ea8e-c037-401e-8850-0eb85d7cf405","M_CODE":"203378","MATERIAL_ID":"23fb8c4c-f2a8-48c4-a742-6fc64d061fcb","CD_TIME":"Apr 21, 2026 5:51:35 PM","CD_BATCH":"2026042100045","DISTRIBUTETAG":"all-data^non-investment^11110000660504319Y^110108000000^non-construction^11110000MB1503996K^non-construction_expansion","DATAJSONTEXT":"{\"VERSION\":\"20210903\"}"},{"ID":27039519,"TASKGUID":"49964ced-ebf7-4415-98b3-c3cb3707c306","T_ID":"5a1905ca-b73a-4faa-b03e-7b64752bd4cb","G_ID":"8f2716b4-0d3e-4da2-93ae-71bb91e19eab","M_CODE":"203425","MATERIAL_ID":"717a22ae-96c1-434f-b933-07d33a564ea3","CD_TIME":"Apr 21, 2026 5:51:35 PM","CD_BATCH":"2026042100045","DISTRIBUTETAG":"all-data^non-investment^11110000660504319Y^110108000000^non-construction^11110000MB1503996K^non-construction_expansion","DATAJSONTEXT":"{\"VERSION\":\"20210903\"}"}]},{"ID":8589423,"TASKGUID":"49964ced-ebf7-4415-98b3-c3cb3707c306","T_ID":"e7215a2d-ec02-414a-b81c-6fb0bb6150cb","P_ID":"03e864ad-9ea6-45d1-a503-fb5408b54054","NAME":"外国驻华使(领)馆和外国驻华办事机构、国际组织驻华代表机构","NODE_LEVEL":2,"NODE_PATH":"/03e864ad-9ea6-45d1-a503-fb5408b54054/e7215a2d-ec02-414a-b81c-6fb0bb6150cb","CHILD_COUNT":0,"ORDER_NUM":12,"SERIAL_NUMBER":"1.12","CONDITION_ATTR":"02","IS_RADIO":"","IS_SUPPORT":"","SUMMARY":"","CD_TIME":"Apr 21, 2026 5:51:35 PM","CD_BATCH":"2026042100045","DISTRIBUTETAG":"all-data^non-investment^11110000660504319Y^110108000000^non-construction^11110000MB1503996K^non-construction_expansion","DATAJSONTEXT":"{\"VERSION\":\"20220810\",\"TREE_TYPE\":\"\",\"CONSULTATION_QA\":\"\"}","parOrder":"","proOrder":"","newOrderNum":"001.012","itemGuideConditionRelatedList":[{"ID":27039400,"TASKGUID":"49964ced-ebf7-4415-98b3-c3cb3707c306","T_ID":"e7215a2d-ec02-414a-b81c-6fb0bb6150cb","G_ID":"701eb320-ba4c-4424-ba25-1a6307da272c","M_CODE":"209630","MATERIAL_ID":"64a59fce-9d89-4b00-8210-e542abf76844","CD_TIME":"Apr 21, 2026 5:51:35 PM","CD_BATCH":"2026042100045","DISTRIBUTETAG":"all-data^non-investment^11110000660504319Y^110108000000^non-construction^11110000MB1503996K^non-construction_expansion","DATAJSONTEXT":"{\"VERSION\":\"20210903\"}"}]},{"ID":8589406,"TASKGUID":"49964ced-ebf7-4415-98b3-c3cb3707c306","T_ID":"5ae8078c-dab7-4874-a9b4-1c94a7912426","P_ID":"","NAME":"抵押权变更登记的类型","NODE_LEVEL":1,"NODE_PATH":"/5ae8078c-dab7-4874-a9b4-1c94a7912426","CHILD_COUNT":2,"ORDER_NUM":2,"SERIAL_NUMBER":"2","CONDITION_ATTR":"01","IS_RADIO":"1","IS_SUPPORT":"","SUMMARY":"2 抵押权变更登记的类型\n\t2.1 抵押权人或者抵押人姓名、名称变更\n\t2.2 担保范围、抵押权顺位、被担保债权种类或者数额、债务履行期限、最高债权额、债权确定期间等发生变更\n\t\t2.2.1 是否对其他抵押权人(含预告登记权利人)产生不利影响\n\t\t\t2.2.1.1 是\n\t\t\t2.2.1.2 否","CD_TIME":"Apr 21, 2026 5:51:35 PM","CD_BATCH":"2026042100045","DISTRIBUTETAG":"all-data^non-investment^11110000660504319Y^110108000000^non-construction^11110000MB1503996K^non-construction_expansion","DATAJSONTEXT":"{\"VERSION\":\"20220810\",\"TREE_TYPE\":\"\",\"CONSULTATION_QA\":\"\"}","parOrder":"","proOrder":"2","newOrderNum":"002","itemGuideConditionRelatedList":[]},{"ID":8589407,"TASKGUID":"49964ced-ebf7-4415-98b3-c3cb3707c306","T_ID":"5cc9667f-2b52-455e-bd30-334704b32425","P_ID":"5ae8078c-dab7-4874-a9b4-1c94a7912426","NAME":"抵押权人或者抵押人姓名、名称变更","NODE_LEVEL":2,"NODE_PATH":"/5ae8078c-dab7-4874-a9b4-1c94a7912426/5cc9667f-2b52-455e-bd30-334704b32425","CHILD_COUNT":0,"ORDER_NUM":1,"SERIAL_NUMBER":"2.1","CONDITION_ATTR":"02","IS_RADIO":"","IS_SUPPORT":"","SUMMARY":"","CD_TIME":"Apr 21, 2026 5:51:35 PM","CD_BATCH":"2026042100045","DISTRIBUTETAG":"all-data^non-investment^11110000660504319Y^110108000000^non-construction^11110000MB1503996K^non-construction_expansion","DATAJSONTEXT":"{\"VERSION\":\"20220810\",\"TREE_TYPE\":\"\",\"CONSULTATION_QA\":\"\"}","parOrder":"","proOrder":"","newOrderNum":"002.001","itemGuideConditionRelatedList":[{"ID":27039386,"TASKGUID":"49964ced-ebf7-4415-98b3-c3cb3707c306","T_ID":"5cc9667f-2b52-455e-bd30-334704b32425","G_ID":"a3046aa4-2abf-4e82-9385-0fa2199ffade","M_CODE":"209088","MATERIAL_ID":"6321bdc7-5d4a-4de5-a81e-ed4cd8f2f9cf","CD_TIME":"Apr 21, 2026 5:51:35 PM","CD_BATCH":"2026042100045","DISTRIBUTETAG":"all-data^non-investment^11110000660504319Y^110108000000^non-construction^11110000MB1503996K^non-construction_expansion","DATAJSONTEXT":"{\"VERSION\":\"20210903\"}"}]},{"ID":8589401,"TASKGUID":"49964ced-ebf7-4415-98b3-c3cb3707c306","T_ID":"196fca93-3ea3-4191-8114-7df9c3ffe055","P_ID":"5ae8078c-dab7-4874-a9b4-1c94a7912426","NAME":"担保范围、抵押权顺位、被担保债权种类或者数额、债务履行期限、最高债权额、债权确定期间等发生变更","NODE_LEVEL":2,"NODE_PATH":"/5ae8078c-dab7-4874-a9b4-1c94a7912426/196fca93-3ea3-4191-8114-7df9c3ffe055","CHILD_COUNT":1,"ORDER_NUM":2,"SERIAL_NUMBER":"2.2","CONDITION_ATTR":"02","IS_RADIO":"","IS_SUPPORT":"","SUMMARY":"","CD_TIME":"Apr 21, 2026 5:51:35 PM","CD_BATCH":"2026042100045","DISTRIBUTETAG":"all-data^non-investment^11110000660504319Y^110108000000^non-construction^11110000MB1503996K^non-construction_expansion","DATAJSONTEXT":"{\"VERSION\":\"20220810\",\"TREE_TYPE\":\"\",\"CONSULTATION_QA\":\"\"}","parOrder":"","proOrder":"","newOrderNum":"002.002","itemGuideConditionRelatedList":[{"ID":27039481,"TASKGUID":"49964ced-ebf7-4415-98b3-c3cb3707c306","T_ID":"196fca93-3ea3-4191-8114-7df9c3ffe055","G_ID":"7b6d352f-d344-4eab-8c27-a95a14eb5e1e","M_CODE":"203710","MATERIAL_ID":"73aa6300-9bdb-4563-9211-d0ddf2c6622a","CD_TIME":"Apr 21, 2026 5:51:35 PM","CD_BATCH":"2026042100045","DISTRIBUTETAG":"all-data^non-investment^11110000660504319Y^110108000000^non-construction^11110000MB1503996K^non-construction_expansion","DATAJSONTEXT":"{\"VERSION\":\"20210903\"}"}]},{"ID":8589417,"TASKGUID":"49964ced-ebf7-4415-98b3-c3cb3707c306","T_ID":"bb769eb0-3962-450a-acbe-3b2de30d9815","P_ID":"196fca93-3ea3-4191-8114-7df9c3ffe055","NAME":"是否对其他抵押权人(含预告登记权利人)产生不利影响","NODE_LEVEL":3,"NODE_PATH":"/5ae8078c-dab7-4874-a9b4-1c94a7912426/196fca93-3ea3-4191-8114-7df9c3ffe055/bb769eb0-3962-450a-acbe-3b2de30d9815","CHILD_COUNT":2,"ORDER_NUM":1,"SERIAL_NUMBER":"2.2.1","CONDITION_ATTR":"01","IS_RADIO":"1","IS_SUPPORT":"","SUMMARY":"","CD_TIME":"Apr 21, 2026 5:51:35 PM","CD_BATCH":"2026042100045","DISTRIBUTETAG":"all-data^non-investment^11110000660504319Y^110108000000^non-construction^11110000MB1503996K^non-construction_expansion","DATAJSONTEXT":"{\"VERSION\":\"20220810\",\"TREE_TYPE\":\"\",\"CONSULTATION_QA\":\"\"}","parOrder":"2","proOrder":"1","newOrderNum":"002.002.001","itemGuideConditionRelatedList":[]},{"ID":8589422,"TASKGUID":"49964ced-ebf7-4415-98b3-c3cb3707c306","T_ID":"cedd589b-bfac-4fdb-a166-37f5c735c5bf","P_ID":"bb769eb0-3962-450a-acbe-3b2de30d9815","NAME":"是","NODE_LEVEL":4,"NODE_PATH":"/5ae8078c-dab7-4874-a9b4-1c94a7912426/196fca93-3ea3-4191-8114-7df9c3ffe055/bb769eb0-3962-450a-acbe-3b2de30d9815/cedd589b-bfac-4fdb-a166-37f5c735c5bf","CHILD_COUNT":0,"ORDER_NUM":1,"SERIAL_NUMBER":"2.2.1.1","CONDITION_ATTR":"02","IS_RADIO":"","IS_SUPPORT":"","SUMMARY":"","CD_TIME":"Apr 21, 2026 5:51:35 PM","CD_BATCH":"2026042100045","DISTRIBUTETAG":"all-data^non-investment^11110000660504319Y^110108000000^non-construction^11110000MB1503996K^non-construction_expansion","DATAJSONTEXT":"{\"VERSION\":\"20220810\",\"TREE_TYPE\":\"\",\"CONSULTATION_QA\":\"\"}","parOrder":"","proOrder":"","newOrderNum":"002.002.001.001","itemGuideConditionRelatedList":[{"ID":27039343,"TASKGUID":"49964ced-ebf7-4415-98b3-c3cb3707c306","T_ID":"cedd589b-bfac-4fdb-a166-37f5c735c5bf","G_ID":"81049270-8826-49f8-8444-41b3d30c09e4","M_CODE":"209630","MATERIAL_ID":"03f8ca32-e707-4f0c-89b1-b12c82f2aa80","CD_TIME":"Apr 21, 2026 5:51:35 PM","CD_BATCH":"2026042100045","DISTRIBUTETAG":"all-data^non-investment^11110000660504319Y^110108000000^non-construction^11110000MB1503996K^non-construction_expansion","DATAJSONTEXT":"{\"VERSION\":\"20210903\"}"},{"ID":27039382,"TASKGUID":"49964ced-ebf7-4415-98b3-c3cb3707c306","T_ID":"cedd589b-bfac-4fdb-a166-37f5c735c5bf","G_ID":"ac8fb428-abe1-4f5c-a42f-3d4e750bd14a","M_CODE":"203571","MATERIAL_ID":"5c5b3370-cd8b-468f-9b2a-f2f87309c494","CD_TIME":"Apr 21, 2026 5:51:35 PM","CD_BATCH":"2026042100045","DISTRIBUTETAG":"all-data^non-investment^11110000660504319Y^110108000000^non-construction^11110000MB1503996K^non-construction_expansion","DATAJSONTEXT":"{\"VERSION\":\"20210903\"}"}]},{"ID":8589419,"TASKGUID":"49964ced-ebf7-4415-98b3-c3cb3707c306","T_ID":"c199fe54-0a7d-4a66-9080-5d5a84507083","P_ID":"bb769eb0-3962-450a-acbe-3b2de30d9815","NAME":"否","NODE_LEVEL":4,"NODE_PATH":"/5ae8078c-dab7-4874-a9b4-1c94a7912426/196fca93-3ea3-4191-8114-7df9c3ffe055/bb769eb0-3962-450a-acbe-3b2de30d9815/c199fe54-0a7d-4a66-9080-5d5a84507083","CHILD_COUNT":0,"ORDER_NUM":2,"SERIAL_NUMBER":"2.2.1.2","CONDITION_ATTR":"02","IS_RADIO":"","IS_SUPPORT":"","SUMMARY":"","CD_TIME":"Apr 21, 2026 5:51:35 PM","CD_BATCH":"2026042100045","DISTRIBUTETAG":"all-data^non-investment^11110000660504319Y^110108000000^non-construction^11110000MB1503996K^non-construction_expansion","DATAJSONTEXT":"{\"VERSION\":\"20220810\",\"TREE_TYPE\":\"\",\"CONSULTATION_QA\":\"\"}","parOrder":"","proOrder":"","newOrderNum":"002.002.001.002","itemGuideConditionRelatedList":[]}]
2
1^2^3^4^5^6^9
https://bjt.beijing.gov.cn/renzheng/open/login/goUserLogin?client_id=100100000228&redirect_uri=http://bdc.ghzrzyw.beijing.gov.cn/eo/user/bjtLogin&state=PC_140000001&response_type=code&scope=user_info;https://yzt.beijing.gov.cn/am/oauth2/authorize?service=bjzwService&response_type=code&client_id=000026681_04&scope=cn+uid+idCardNumber+reserve3+extProperties+credenceClass&redirect_uri=http%3A%2F%2Fbdc.ghzrzyw.beijing.gov.cn%2Feo%2Fuser%2FyztLogin%3Fstate%3D140000001

政务服务> 办事指南

抵押权变更登记

北京市

切换简洁版

  • 承诺件

    办件类型

  • 0

    到现场次数

  • 30工作日

    法定办结时限

  • 5工作日

    承诺办结时限

好差评

5.0

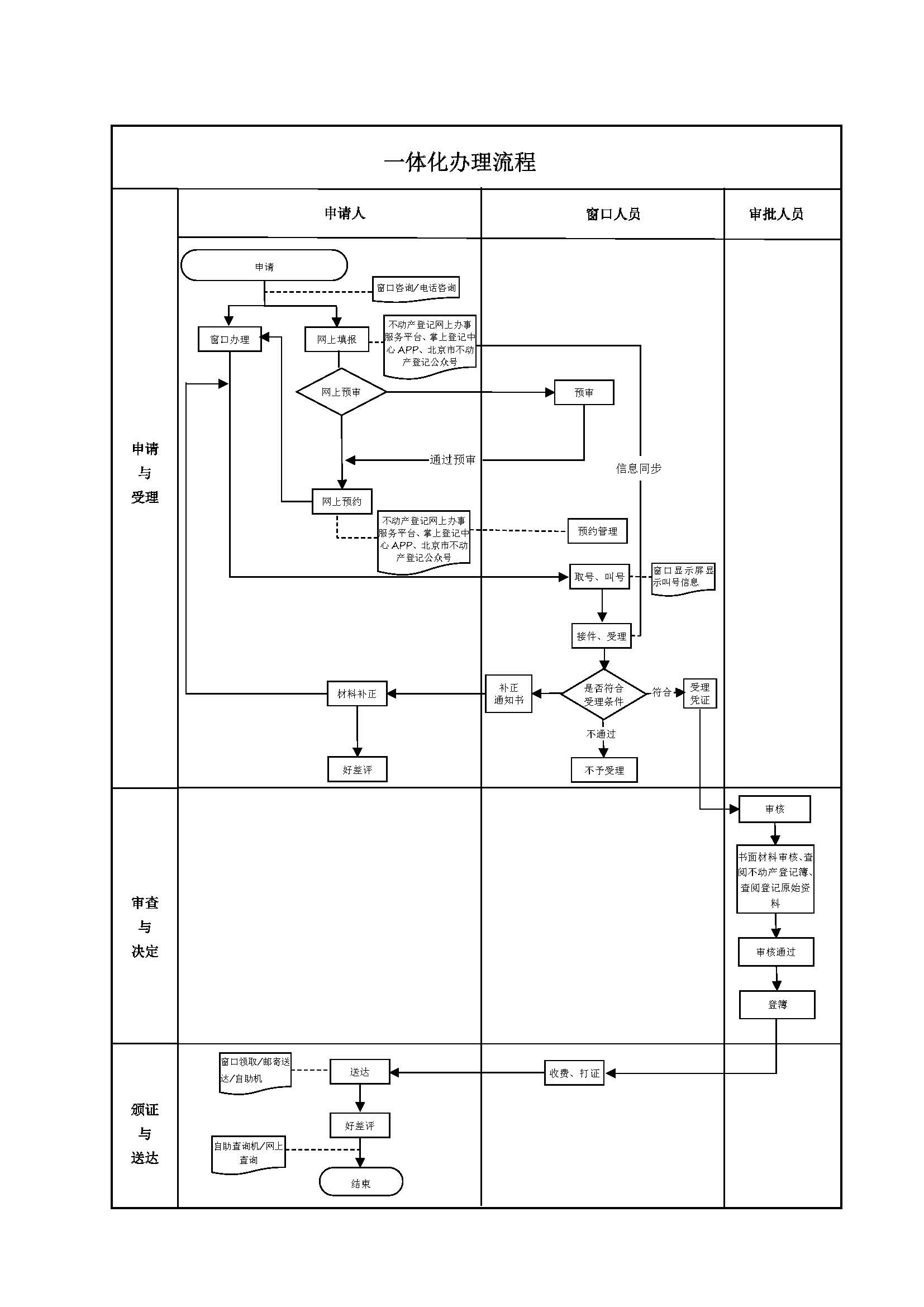
办件承诺办结时限说明:(承诺时限为办理流程中“审查与决定”环节的计时时限)

办件承诺办结时限说明:

(承诺时限为办理流程中“审查与决定”环节的计时时限)

基本信息

实施主体 北京市规划和自然资源委员会海淀分局 服务对象
事项类型 行政确认 办理形式
受理条件 已经登记的抵押权,因下列情形发生变更的,当事人可以申请抵押权变更登记: 1.权利人姓名或者名称、身份证件类型或者身份证件号码发生变化的; 2.担保范围发生变化的; 3.抵押权顺位发生变更的; 4.被担保的主债权种类或者数额发生变化的; 5.债务履行期限发生变化的; 6.最高债权额发生变化的; 7.最高额抵押权债权确定的期间发生变化的; 8.不动产发生转移导致抵押人发生变化的; 9.对抵押不动产转移禁止或限制性约定发生变化的; 10.法律、行政法规规定的其他情形。
办理时间 海淀区政务服务中心(航天桥办公区):法定工作日: 上午: 08:30 - 12:00; 下午: 12:00 - 17:30; (延时服务时间: 周六上午08:30 - 12:30; ); 查看详情
办理地点 海淀区政务服务中心(航天桥办公区):北京市海淀区阜成路67号银都大厦3层综合窗口; 查看详情
咨询方式

咨询电话:

(010)60609304【展开】

咨询窗口地址:

北京市海淀区阜成路67号银都大厦(海淀政务服务中心航天桥分中心)三层咨询台【展开】

咨询信件地址:

北京市海淀区阜成路67号银都大厦(海淀政务服务中心航天桥分中心)三层咨询台【展开】

投诉监督方式
基本编码 000715001014 事项编码 11110000660504319Y3000715001014
业务办理项编码 11110000660504319Y300071500101404 进驻大厅类型
权力来源 上级委托 网上支付
所属机构 北京市规划和自然资源委员会海淀分局 委托部门 北京市规划和自然资源委员会
联办机构 实施主体性质 受委托组织
办理进程查询途径
行使层级 区级 运行系统 市级自建(垂管)
物流快递 办理方式 自办件
预约办理 数量限制 无数量限制
中介服务 权限划分
通办范围 全区 特殊程序
行使内容 对涉及在京中央和国家机关、驻京部队、保密单位的业务为市级办理 ,其余的登记业务在不动产所在地的各区不动产登记中心办理
显示更多

请选择情形:

提示:通过情形选择可引导出您办理该事项所需的材料,若要查看全部材料,请点击"查看全部材料"

查看全部材料 情形引导

收起
我选好了重选条件

序号 材料名称 材料来源 材料
必要性
数量要求 介质要求 表格及样例
下载
受理标准 提供材料
依据
其他要求
申请材料总要求委托办理的:提交授权委托书(原件1份)、受托人身份材料(原件1份,复印件1份);无、限制民事行为能力人申请登记的:提交证实被监护人为无、限制民事行为能力人的材料(原件1份,复印件1份)、监护关系材料(原件1份,复印件1份)、监护人的身份材料(原件1份,复印件1份)。提交原件的,应提交原件;未要求提交申请材料原件的,提交与原件核验一致的复印件,并经登记部门工作人员比对后,由登记部门工作人员签字并加盖原件相符章。
序号 材料名称 材料来源 材料
必要性
数量要求 介质要求 表格及样例
下载
受理标准 提供材料
依据
其他要求
申请材料总要求委托办理的:提交授权委托书(原件1份)、受托人身份材料(原件1份,复印件1份);无、限制民事行为能力人申请登记的:提交证实被监护人为无、限制民事行为能力人的材料(原件1份,复印件1份)、监护关系材料(原件1份,复印件1份)、监护人的身份材料(原件1份,复印件1份)。提交原件的,应提交原件;未要求提交申请材料原件的,提交与原件核验一致的复印件,并经登记部门工作人员比对后,由登记部门工作人员签字并加盖原件相符章。
显示更多

指南分享