3
07
11110000660504319Y
北京市规划和自然资源委员会海淀分局
土地承包经营权变更登记
11110000660504319Y300071500100903
11110000660504319Y3000715001009
0
ee324aec-5a5d-4fa5-a8af-b178422311f2
10d2dd93-c0d5-4eea-9e4f-3f32ac17488d
2^3
07
市规划自然委海淀区分局
110108000000
北京市规划和自然资源委员会海淀分局
海淀区政务服务中心(航天桥办公区):工作日上午09:00-12:00,下午13:30-17:00(延时服务时间:工作日早08:30-9:00,中午12:00-13:30,下午17:00-17:30,周六提供预约或非预约服务8:30-12:30)
海淀区政务服务中心(航天桥办公区):北京市海淀区阜成路67号银都大厦224
关于土地承包经营权的职责划分和登记划转问题正在与市农业农村局对接
{"IS_GUIDE":"1","ONLINE_DECLARE_SYSTEM_MODE":"03","ITEM_REALITY_USELEVEL":"","SERVICE_OBJCT":"","IS_CONSTRUCTION":"0","CL_SERVICE_TYPE":"","APP_CODE_ID":"","YESNO_CITY_UNICOM":"0^1","CROSS_AREA":"","ISSHOHCENTER":"0","WECHAT_CODE_ID":"","FINANCIAL":"","LITTLEPROGRAM_CODE_NAME":"","CROSS_AREA_ALL":"","CROSS_PROVINCE":"","ALIAS_NAME":"[\"土地承包经营权变更\"]","EAR_DISABILITY_GRAD":"","LIB_DISABILITY_GRAD":"","SPEAK_DISABILITY_GRAD":"","REGISTER":"","ONLINE_HANDLING_DEPTH_STANDARD":"05","APPROVAL_TYPE":"1","MIND_DISABILITY_GRAD":"","ACCEPTSERVICE":"99","YWBLX_ID":"e5c5d26d-5f92-48fd-b331-e57acff12a95","ONLINE_DECLARE_SYSTEM_DEPT":"北京市规划和自然资源委员会","CONSTRUCTION_EXPANSION":"0","EMPOWER":"0","EXEMPT_MATERIALS":"","LITTLEPROGRAM_CODE_ID":"","EYE_DISABILITY_GRAD":"","ISMONVEINCENTER":"0","DATA_FLAG":"","BUSINESS_APPROVAL_DEPT":"北京市规划和自然资源委员会","POWER_NAME":"不动产统一登记","ITEM_ATTRIBUTE":"04^05^06^11","CROSS_AREA_ATEXT":"","AGE":"","BGSYSTEM_APPROVAL_OTHER":"北京市不动产登记信息系统v2.0","WIT_DISABILITY_GRAD":"","WECHAT_CODE_NAME":"","POWER_CODE":"H1202806","DISABILITY_TYPE":"","IS_ENABLE_CERTIFICATE_SHARE":"","POWER_ATTRIBUTE":"1","ONLY_ID":"250478f8-81ed-11ea-8de7-fa163e4f9ad9","YES_NO_OPEN":"1","BGSYSTEM_APPROVAL_NAME":"其他","APP_CODE_NAME":"","HOLDER":"","VERSION":"20241125"}
[{"ID":7848532,"TASKGUID":"ee324aec-5a5d-4fa5-a8af-b178422311f2","T_ID":"0e6c4ddd-ab01-4267-8cbf-847c9fe3c3ce","P_ID":"","NAME":"土地承包经营权(及森林、林木所有权)是否发生变更","NODE_LEVEL":1,"NODE_PATH":"/0e6c4ddd-ab01-4267-8cbf-847c9fe3c3ce","CHILD_COUNT":2,"ORDER_NUM":1,"SERIAL_NUMBER":"1","CONDITION_ATTR":"01","IS_RADIO":"1","IS_SUPPORT":"1","SUMMARY":"1 土地承包经营权(及森林、林木所有权)是否发生变更\n\t1.1 是\n\t1.2 否","CD_TIME":"Dec 5, 2025 11:48:13 AM","CD_BATCH":"2025120500014","DISTRIBUTETAG":"all-data^non-investment^11110000660504319Y^110108000000^non-construction^11110000MB1503996K^non-construction_expansion","DATAJSONTEXT":"{\"VERSION\":\"20220810\",\"TREE_TYPE\":\"\",\"CONSULTATION_QA\":\"\"}","parOrder":"","proOrder":"1","newOrderNum":"001","itemGuideConditionRelatedList":[]},{"ID":7848531,"TASKGUID":"ee324aec-5a5d-4fa5-a8af-b178422311f2","T_ID":"00a8d708-e9d5-4ac6-ac38-683286f794e5","P_ID":"0e6c4ddd-ab01-4267-8cbf-847c9fe3c3ce","NAME":"是","NODE_LEVEL":2,"NODE_PATH":"/0e6c4ddd-ab01-4267-8cbf-847c9fe3c3ce/00a8d708-e9d5-4ac6-ac38-683286f794e5","CHILD_COUNT":0,"ORDER_NUM":1,"SERIAL_NUMBER":"1.1","CONDITION_ATTR":"02","IS_RADIO":"","IS_SUPPORT":"","CD_TIME":"Dec 5, 2025 11:48:13 AM","CD_BATCH":"2025120500014","DISTRIBUTETAG":"all-data^non-investment^11110000660504319Y^110108000000^non-construction^11110000MB1503996K^non-construction_expansion","DATAJSONTEXT":"{\"VERSION\":\"20220810\",\"TREE_TYPE\":\"\",\"CONSULTATION_QA\":\"\"}","parOrder":"","proOrder":"","newOrderNum":"001.001","itemGuideConditionRelatedList":[{"ID":26478875,"TASKGUID":"ee324aec-5a5d-4fa5-a8af-b178422311f2","T_ID":"00a8d708-e9d5-4ac6-ac38-683286f794e5","G_ID":"c0819728-9f02-4dc2-b565-f66afbd64295","M_CODE":"209080","MATERIAL_ID":"fd5d5772-6efa-4e68-95d7-5e4a9beb04c7","CD_TIME":"Dec 5, 2025 11:48:13 AM","CD_BATCH":"2025120500014","DISTRIBUTETAG":"all-data^non-investment^11110000660504319Y^110108000000^non-construction^11110000MB1503996K^non-construction_expansion","DATAJSONTEXT":"{\"VERSION\":\"20210903\"}"}]},{"ID":7848536,"TASKGUID":"ee324aec-5a5d-4fa5-a8af-b178422311f2","T_ID":"fd7007b2-65d2-4207-bc8f-870c2a6475b2","P_ID":"0e6c4ddd-ab01-4267-8cbf-847c9fe3c3ce","NAME":"否","NODE_LEVEL":2,"NODE_PATH":"/0e6c4ddd-ab01-4267-8cbf-847c9fe3c3ce/fd7007b2-65d2-4207-bc8f-870c2a6475b2","CHILD_COUNT":0,"ORDER_NUM":2,"SERIAL_NUMBER":"1.2","CONDITION_ATTR":"02","IS_RADIO":"","IS_SUPPORT":"","CD_TIME":"Dec 5, 2025 11:48:13 AM","CD_BATCH":"2025120500014","DISTRIBUTETAG":"all-data^non-investment^11110000660504319Y^110108000000^non-construction^11110000MB1503996K^non-construction_expansion","DATAJSONTEXT":"{\"VERSION\":\"20220810\",\"TREE_TYPE\":\"\",\"CONSULTATION_QA\":\"\"}","parOrder":"","proOrder":"","newOrderNum":"001.002","itemGuideConditionRelatedList":[]},{"ID":7848533,"TASKGUID":"ee324aec-5a5d-4fa5-a8af-b178422311f2","T_ID":"2a99d443-a6c6-474e-ad36-993ae37950fd","P_ID":"","NAME":"是否因土地面积、界址,森林、林木种类等发生变化","NODE_LEVEL":1,"NODE_PATH":"/2a99d443-a6c6-474e-ad36-993ae37950fd","CHILD_COUNT":2,"ORDER_NUM":2,"SERIAL_NUMBER":"2","CONDITION_ATTR":"01","IS_RADIO":"1","IS_SUPPORT":"1","SUMMARY":"2 是否因土地面积、界址,森林、林木种类等发生变化\n\t2.1 是\n\t2.2 否","CD_TIME":"Dec 5, 2025 11:48:13 AM","CD_BATCH":"2025120500014","DISTRIBUTETAG":"all-data^non-investment^11110000660504319Y^110108000000^non-construction^11110000MB1503996K^non-construction_expansion","DATAJSONTEXT":"{\"VERSION\":\"20220810\",\"TREE_TYPE\":\"\",\"CONSULTATION_QA\":\"\"}","parOrder":"","proOrder":"2","newOrderNum":"002","itemGuideConditionRelatedList":[]},{"ID":7848535,"TASKGUID":"ee324aec-5a5d-4fa5-a8af-b178422311f2","T_ID":"e8e10a92-e079-4760-a70d-91aec8cf2c1d","P_ID":"2a99d443-a6c6-474e-ad36-993ae37950fd","NAME":"是","NODE_LEVEL":2,"NODE_PATH":"/2a99d443-a6c6-474e-ad36-993ae37950fd/e8e10a92-e079-4760-a70d-91aec8cf2c1d","CHILD_COUNT":0,"ORDER_NUM":1,"SERIAL_NUMBER":"2.1","CONDITION_ATTR":"02","IS_RADIO":"","IS_SUPPORT":"","CD_TIME":"Dec 5, 2025 11:48:13 AM","CD_BATCH":"2025120500014","DISTRIBUTETAG":"all-data^non-investment^11110000660504319Y^110108000000^non-construction^11110000MB1503996K^non-construction_expansion","DATAJSONTEXT":"{\"VERSION\":\"20220810\",\"TREE_TYPE\":\"\",\"CONSULTATION_QA\":\"\"}","parOrder":"","proOrder":"","newOrderNum":"002.001","itemGuideConditionRelatedList":[{"ID":26479664,"TASKGUID":"ee324aec-5a5d-4fa5-a8af-b178422311f2","T_ID":"e8e10a92-e079-4760-a70d-91aec8cf2c1d","G_ID":"8f8a58ec-9ebf-469e-90f6-c767ab312104","M_CODE":"203790","MATERIAL_ID":"4fcaea49-8621-4b9f-8733-a8776a292476","CD_TIME":"Dec 5, 2025 11:48:13 AM","CD_BATCH":"2025120500014","DISTRIBUTETAG":"all-data^non-investment^11110000660504319Y^110108000000^non-construction^11110000MB1503996K^non-construction_expansion","DATAJSONTEXT":"{\"VERSION\":\"20210903\"}"}]},{"ID":7848534,"TASKGUID":"ee324aec-5a5d-4fa5-a8af-b178422311f2","T_ID":"b56d90db-6936-49c6-9b7a-e89320506e89","P_ID":"2a99d443-a6c6-474e-ad36-993ae37950fd","NAME":"否","NODE_LEVEL":2,"NODE_PATH":"/2a99d443-a6c6-474e-ad36-993ae37950fd/b56d90db-6936-49c6-9b7a-e89320506e89","CHILD_COUNT":0,"ORDER_NUM":2,"SERIAL_NUMBER":"2.2","CONDITION_ATTR":"02","IS_RADIO":"","IS_SUPPORT":"","CD_TIME":"Dec 5, 2025 11:48:13 AM","CD_BATCH":"2025120500014","DISTRIBUTETAG":"all-data^non-investment^11110000660504319Y^110108000000^non-construction^11110000MB1503996K^non-construction_expansion","DATAJSONTEXT":"{\"VERSION\":\"20220810\",\"TREE_TYPE\":\"\",\"CONSULTATION_QA\":\"\"}","parOrder":"","proOrder":"","newOrderNum":"002.002","itemGuideConditionRelatedList":[]}]
2
1^9
https://bjt.beijing.gov.cn/renzheng/open/login/goUserLogin?client_id=100100000228&redirect_uri=http://bdc.ghzrzyw.beijing.gov.cn/eo/user/bjtLogin&state=PC_&response_type=code&scope=user_info

政务服务> 办事指南

土地承包经营权变更登记

北京市

切换简洁版

  • 承诺件

    办件类型

  • 0

    到现场次数

  • 30工作日

    法定办结时限

  • 5工作日

    承诺办结时限

好差评

5.0

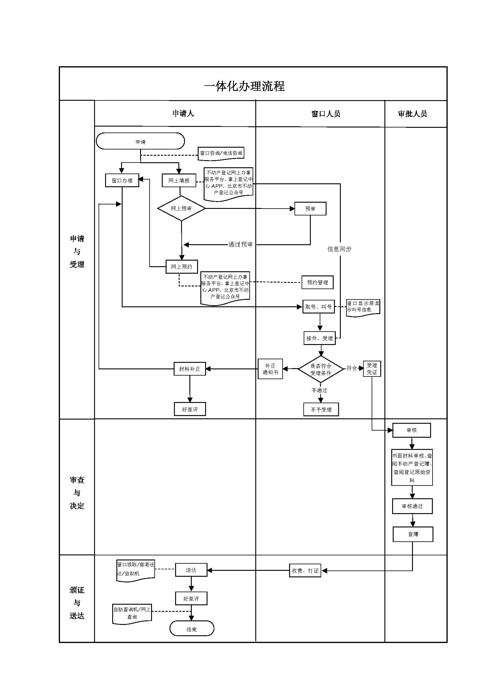
办件承诺办结时限说明:(承诺时限为办理流程中“审查与决定”环节的计时时限)

办件承诺办结时限说明:

(承诺时限为办理流程中“审查与决定”环节的计时时限)

基本信息

实施主体 北京市规划和自然资源委员会海淀分局 服务对象
事项类型 行政确认 办理形式
受理条件 关于土地承包经营权的职责划分和登记划转问题正在与市农业农村局对接
办理时间 海淀区政务服务中心(航天桥办公区):工作日上午09:00-12:00,下午13:30-17:00(延时服务时间:工作日早08:30-9:00,中午12:00-13:30,下午17:00-17:30,周六提供预约或非预约服务8:30-12:30) 查看详情
办理地点 海淀区政务服务中心(航天桥办公区):北京市海淀区阜成路67号银都大厦224 查看详情
咨询方式

咨询电话:

(010)60609304【展开】

咨询窗口地址:

北京市海淀区阜成路67号银都大厦(海淀政务服务中心航天桥分中心)三层咨询台【展开】

网上咨询:

http://hdbdc.bjhd.gov.cn/AsDeclare/service/wx/wechatweb/toCenterIndexList【展开】

咨询信件地址:

北京市海淀区阜成路67号银都大厦(海淀政务服务中心航天桥分中心)三层咨询台【展开】

投诉监督方式
基本编码 000715001009 事项编码 11110000660504319Y3000715001009
业务办理项编码 11110000660504319Y300071500100903 进驻大厅类型
权力来源 上级委托 网上支付
所属机构 北京市规划和自然资源委员会海淀分局 委托部门 北京市规划和自然资源委员会
联办机构 实施主体性质 受委托组织
办理进程查询途径
行使层级 区级 运行系统 市级自建(垂管)
物流快递 办理方式 自办件
预约办理 数量限制
中介服务 权限划分
通办范围 全区 特殊程序
行使内容
显示更多

请选择情形:

提示:通过情形选择可引导出您办理该事项所需的材料,若要查看全部材料,请点击"查看全部材料"

查看全部材料 情形引导

收起
我选好了重选条件

序号 材料名称 材料来源 材料
必要性
数量要求 介质要求 表格及样例
下载
受理标准 提供材料
依据
其他要求
申请材料总要求委托办理的:提交授权委托书(原件1份)、受托人身份材料(原件1份,复印件1份);无、限制民事行为能力人申请登记的:提交证实被监护人为无、限制民事行为能力人的材料(原件1份,复印件1份)、监护关系材料(原件1份,复印件1份)、监护人的身份材料(原件1份,复印件1份)
序号 材料名称 材料来源 材料
必要性
数量要求 介质要求 表格及样例
下载
受理标准 提供材料
依据
其他要求
申请材料总要求委托办理的:提交授权委托书(原件1份)、受托人身份材料(原件1份,复印件1份);无、限制民事行为能力人申请登记的:提交证实被监护人为无、限制民事行为能力人的材料(原件1份,复印件1份)、监护关系材料(原件1份,复印件1份)、监护人的身份材料(原件1份,复印件1份)
显示更多

指南分享