3
20
13110108000058114W
北京市海淀区残疾人联合会
盲人医疗按摩人员从事医疗按摩资格证书注销
13110108000058114W311207303700007
13110108000058114W3112073037000
0
f976ff5c-39e0-478b-8b8e-6395088e6bd5
0ef043ae-2d04-4cec-92f6-9f7d41f85c4c
2^3
20
海淀区残联
110108000000
北京市海淀区残疾人联合会
工作日,上午09:00-12:00,下午13:30-17:00
北京市海淀区政务服务中心:北京市海淀区东北旺南路29号四层中厅151-154窗口
根据《盲人医疗按摩人员从事医疗按摩资格证书管理办法》属于以下情况的: 一、为申请“资格证书”的盲人医疗按摩人员出具虚假证明文件或者资料,以及违反规定出具审核证明的,由发证部门取消其盲人医疗按摩人员从事医疗按摩资格,并收回其“资格证书”。 二、盲人医疗按摩人员在执业过程中违反相关法律法规的,由发证部门收回其“资格证书”。材料的基本要求:材料齐全、真实有效、填写完整清晰、加盖区残联公章。
{"IS_GUIDE":"0","ONLINE_DECLARE_SYSTEM_MODE":"99","SERVICE_OBJCT":"","IS_CONSTRUCTION":"0","CL_SERVICE_TYPE":"","APP_CODE_ID":"","YESNO_CITY_UNICOM":"99","CROSS_AREA":"","ISSHOHCENTER":"0","WECHAT_CODE_ID":"","FINANCIAL":"","LITTLEPROGRAM_CODE_NAME":"","CROSS_AREA_ALL":"","CROSS_PROVINCE":"","ALIAS_NAME":"[\"医疗按摩资格证书\"]","EAR_DISABILITY_GRAD":"","LIB_DISABILITY_GRAD":"","SPEAK_DISABILITY_GRAD":"","REGISTER":"","ONLINE_HANDLING_DEPTH_STANDARD":"05","APPROVAL_TYPE":"1","MIND_DISABILITY_GRAD":"","ACCEPTSERVICE":"99","YWBLX_ID":"2b7b539a-4036-41c0-bbfd-646b92fab47c","ONLINE_DECLARE_SYSTEM_DEPT":"","CONSTRUCTION_EXPANSION":"0","EMPOWER":"0","EXEMPT_MATERIALS":"","LITTLEPROGRAM_CODE_ID":"","EYE_DISABILITY_GRAD":"","ISMONVEINCENTER":"0","BUSINESS_APPROVAL_DEPT":"中国残疾人联合会","ITEM_ATTRIBUTE":"01^04^05^06^08^09^11","CROSS_AREA_ATEXT":"","AGE":"1","BGSYSTEM_APPROVAL_OTHER":"","WIT_DISABILITY_GRAD":"","WECHAT_CODE_NAME":"","DISABILITY_TYPE":"1","IS_ENABLE_CERTIFICATE_SHARE":"","ONLY_ID":"7ea7b24c-030d-443d-b0b2-948f7020437e","YES_NO_OPEN":"1","BGSYSTEM_APPROVAL_NAME":"盲人医疗按摩人员管理系统","APP_CODE_NAME":"","HOLDER":"1","VERSION":"20241125"}
[]
0
1

政务服务> 办事指南

盲人医疗按摩人员从事医疗按摩资格证书注销

北京市

切换简洁版

  • 即办件

    办件类型

  • 0

    到现场次数

  • 20工作日

    法定办结时限

  • 1工作日

    承诺办结时限

好差评

5.0

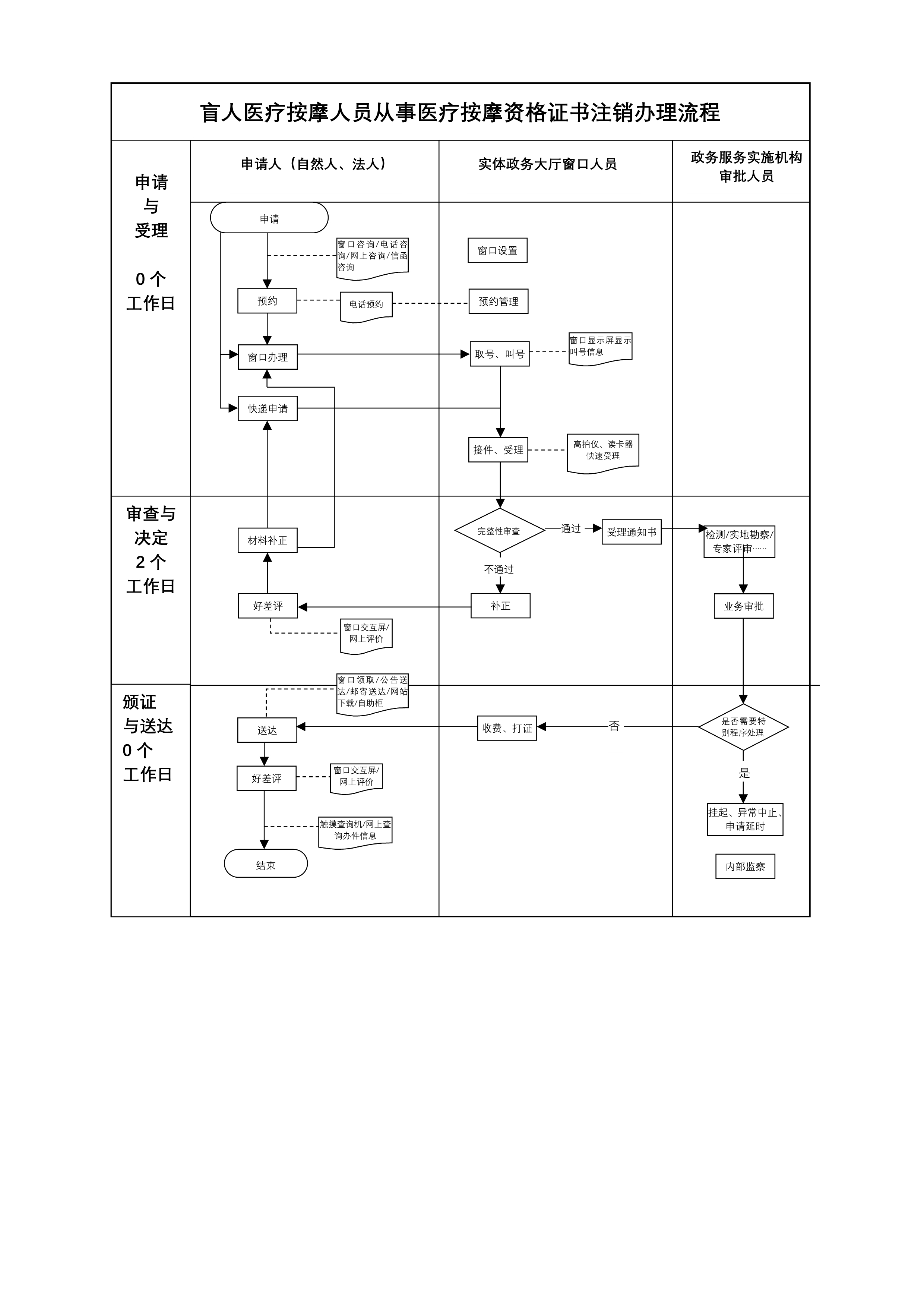
办件承诺办结时限说明:(承诺时限为办理流程中“审查与决定”环节的计时时限)

办件承诺办结时限说明:

(承诺时限为办理流程中“审查与决定”环节的计时时限)

基本信息

实施主体 北京市海淀区残疾人联合会 服务对象
事项类型 公共服务 办理形式
受理条件 根据《盲人医疗按摩人员从事医疗按摩资格证书管理办法》属于以下情况的: 一、为申请“资格证书”的盲人医疗按摩人员出具虚假证明文件或者资料,以及违反规定出具审核证明的,由发证部门取消其盲人医疗按摩人员从事医疗按摩资格,并收回其“资格证书”。 二、盲人医疗按摩人员在执业过程中违反相关法律法规的,由发证部门收回其“资格证书”。材料的基本要求:材料齐全、真实有效、填写完整清晰、加盖区残联公章。
办理时间 工作日,上午09:00-12:00,下午13:30-17:00 查看详情
办理地点 北京市海淀区政务服务中心:北京市海淀区东北旺南路29号四层中厅151-154窗口 查看详情
咨询方式

咨询电话:

(010)88466319【展开】

投诉监督方式
基本编码 112073037000 事项编码 13110108000058114W3112073037000
业务办理项编码 13110108000058114W311207303700007 进驻大厅类型
权力来源 上级下放 网上支付
所属机构 北京市海淀区残疾人联合会 委托部门
联办机构 实施主体性质 授权组织
办理进程查询途径
行使层级 区级 运行系统 国家级垂管系统
物流快递 办理方式 转办件
预约办理 数量限制
中介服务 权限划分
通办范围 全区 特殊程序
行使内容
显示更多

请选择情形:

提示:通过情形选择可引导出您办理该事项所需的材料,若要查看全部材料,请点击"查看全部材料"

查看全部材料 情形引导

收起
我选好了重选条件

序号 材料名称 材料来源 材料
必要性
数量要求 介质要求 表格及样例
下载
受理标准 提供材料
依据
其他要求
申请材料总要求
序号 材料名称 材料来源 材料
必要性
数量要求 介质要求 表格及样例
下载
受理标准 提供材料
依据
其他要求
申请材料总要求
显示更多

指南分享