政务服务> 办事指南
北京市
切换简洁版
基本信息
| 实施主体 | 北京市门头沟区人力资源和社会保障局 | 服务对象 | |
| 事项类型 | 公共服务 | 办理形式 | |
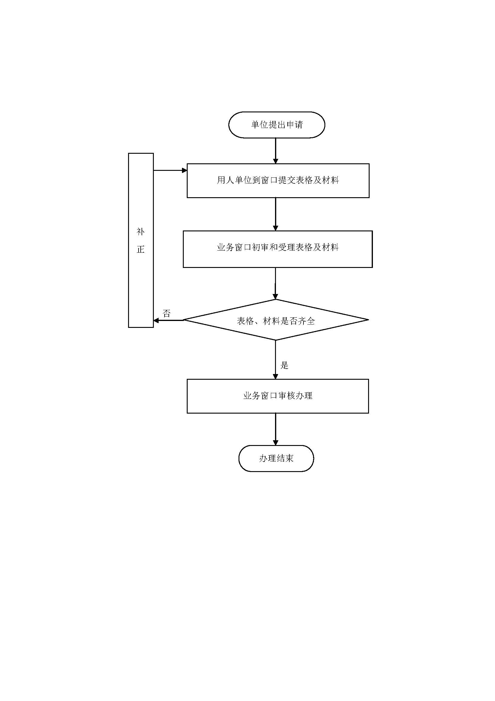
| 受理条件 | 1.按规定参加工伤保险的参保职工发生工伤事故或被确诊为职业病后,经社会保险行政部门认定为工伤或职业病,劳动能力鉴定伤残等级达到5-10级的,伤残等级达到1-4级的,经鉴定达到完全护理依赖、大部分护理依赖或部分护理依赖程度的,可办理此事项。(来源:《关于修改〈中华人民共和国社会保险法〉的决定》第三十八条 因工伤发生的下列费用,按照国家规定从工伤保险基金中支付: (一)治疗工伤的医疗费用和康复费用; (二)住院伙食补助费; (三)到统筹地区以外就医的交通食宿费; (四)安装配置伤残辅助器具所需费用; (五)生活不能自理的,经劳动能力鉴定委员会确认的生活护理费; (六)一次性伤残补助金和一至四级伤残职工按月领取的伤残津贴; (七)终止或者解除劳动合同时,应当享受的一次性医疗补助金; (八)因工死亡的,其遗属领取的丧葬补助金、供养亲属抚恤金和因工死亡补助金; (九)劳动能力鉴定费。)2.若需提供材料,则材料需齐全;若有需手工填写的,请填写完整、字迹工整。 3.若需提供申请材料,材料按要求签字、盖章,且签章内容与申请材料所载内容、提交的证照证件或批复文件所载内容一致。4.提交申请材料上所载信息需要与提交的证件证照或批复文件所载内容一致。 | ||
| 办理时间 | 门头沟区潭柘寺镇政务服务中心:工作日上午9:00-11:30,下午 13:30-17:00{延时服务时间:工作日早上8:30-9:00(需预约),中午11:30-13:30,下午17:00-17:30(需预约);每周六8:30-12:30(法定节假日除外)}; 查看详情 | ||
| 办理地点 | 门头沟区潭柘寺镇政务服务中心:北京市门头沟区潭柘寺镇人民政府西50米政务服务大厅院内; 查看详情 | ||
| 咨询方式 |
咨询电话: (010)69842953【展开】 咨询窗口地址: 北京市门头沟区中门寺街16号一层12-16号支付综合窗口【展开】 |
||
| 投诉监督方式 | |||
| 基本编码 | 002014007026 | 事项编码 | 11110109696379986N3002014007026 |
| 业务办理项编码 | 11110109696379986N300201400702601 | 进驻大厅类型 | |
| 权力来源 | 上级授权 | 网上支付 | 否 |
| 所属机构 | 北京市门头沟区人力资源和社会保障局 | 委托部门 | 无 |
| 联办机构 | 无 | 实施主体性质 | 法定机关 |
| 办理进程查询途径 | |||
| 行使层级 | 镇(乡、街道)级 | 运行系统 | 市级自建(垂管) |
| 物流快递 | 是 | 办理方式 | 自办件 |
| 预约办理 | 数量限制 | 无 | |
| 中介服务 | 无 | 权限划分 | |
| 通办范围 | 全区 | 特殊程序 | 无 |
| 行使内容 | 无 | ||

指南分享